Интерфейс пользователя с системой
МОСКОВСКИЙ ГОСУДАРСТВЕННЫЙ ИНСТИТУТ РАДИОТЕХНИКИ ЭЛЕКТРОНИКИ И АВТОМАТИКИ (ТЕХНИЧЕСКИЙ УНИВЕРСИТЕТ)
Кафедра №239 НИИ “ВОСХОД”
Курсовая работа на тему:
“Интерфейс пользователя системой”
-
Студент:
Позднеев И.А.
Группа:
АП-5-92
Преподаватель:
Шемакин Ю.И.
МОСКВА - 1996г
ВВЕДЕНИЕ
Современные методы проектирования деятельности пользователей АСУ сложились в рамках системотехнической концепции проектирования, в силу чего учет человеческого фактора ограничился решением проблем согласования “входов” и “выходов” человека и машины. Вместе с тем при анализе неудовлетворенности пользователей АСУ удается выявить, что она часто объясняется отсутствием единого, комплексного подхода к проектированию систем взаимодействия.
Использование системного подхода позволяет принять во внимание множество факторов самого различного характера, выделить из них те, которые оказывают самое большое влияние с точки зрения имеющихся общесистемных целей и критериев, и найти пути и методы эффективного воздействия на них. Системный подход основан на применении ряда основных понятий и положений, среди которых можно выделить понятия системы, подчиненности целей и критериев подсистем общесистемным целям и критериям и т.д. Системный подход позволяет рассматривать анализ и синтез различных по своей природе и сложности объектов с единой точки зрения, выявляя при этом важнейшие характерные черты функционирования системы и учитывая наиболее существенные для всей системы факторы. Значение системного подхода особенно велико при проектировании и эксплуатации таких систем, как автоматизированные системы управления (АСУ), которые по существу являются человеко-машинными системами, где человек выполняет роль субъекта управления.
Системный подход при проектировании представляет собой комплексное, взаимосвязанное, пропорциональное рассмотрение всех факторов, путей и методов решения сложной многофакторной и многовариантной задачи проектирования интерфейса взаимодействия. В отличие от классического инженерно-технического проектирования при использовании системного подхода учитываются все факторы проектируемой системы - функциональные, психологические, социальные и даже эстетические.
Автоматизация управления неизбежно влечет за собой осуществление системного подхода, так как она предполагает наличие саморегулирующейся системы, обладающей входами, выходами и механизмом управлением. Уже само понятие системы взаимодействия указывает на необходимость рассмотрения окружающей среды, в которой она должна функционировать. Таким образом, система взаимодействия должна рассматриваться как часть более обширной системы - АСУ реального времени, тогда как последняя - системы управляемой среды.
В настоящее время можно считать доказанным, что главная задача проектирования интерфейса пользователя заключается не в том, чтобы рационально “вписать” человека в контур управления, а в том, чтобы, исходя из задач управления объектом, разработать систему взаимодействия двух равноправных партнеров (человек-оператор и аппаратно-программный комплекс АСУ), рационально управляющих объектом управления.
ПРЕДМЕТНАЯ ОБЛАСТЬ
Итак, очевидно, что человек-оператор является замыкающим звеном системы управления, т.е. субъектом управления, а АПК (аппаратно-программный комплекс) АСУ является инструментальным средством реализации его управленческой (оперативной) деятельности, т.е. объектом управления. По определению В.Ф.Венды, АСУ представляет собой гибридный интеллект, в котором оперативный (управленческий) состав и АПК АСУ являются равноправными партнерами при решении сложных задач управления.
Рациональная организация труда операторов АСУ является одним из важнейших факторов, определяющих эффективное функционирование системы в целом. В подавляющем большинстве случаев управленческий труд - опосредованная деятельность человека, поскольку в условиях АСУ он ведет управление, “не видя” реального объекта. Между реальным объектом управления и человеком-оператором находится информационная модель объекта (средства отображения информации). Поэтому возникает проблема проектирования не только средств отображения информации, но и средств взаимодействия человека-оператора с техническими средствами АСУ, т.е. проблема проектирования системы, которую нам следует назвать интерфейс пользователя.
Интерфейс взаимодействия человека с техническими средствами АСУ может быть структурно изображен (см. на рис.1.). Он состоит из АПК и протоколов взаимодействия. Аппаратно-программный комплекс обеспечивает выполнение функций:
преобразование данных, циркулирующих в АПК АСУ, в информационные модели, отображаемые на мониторах (СОИ - средства отображения информации);
регенерация информационных моделей (ИМ);
обеспечение диалогового взаимодействия человека с ТС АСУ;
преобразование воздействий, поступающих от ЧО (человека-оператора), в данные, используемые системой управления;
физическая реализация протоколов взаимодействия (согласование форматов данных, контроль ошибок и т.п.).
Назначение протоколов состоит в том, чтобы обеспечить механизм достоверной и надежной доставки сообщений между человеком-оператором и СОИ, а следовательно, между ЧО и системой управления. Протокол - это правило, определяющее взаимодействие, набор процедур обмена информацией между параллельно выполняемыми процессами в реальном масштабе времени. Эти процессы (функционирование АПК АСУ и оперативная деятельность субъекта управления) характеризуются, во-первых, отсутствием фиксированных временных соотношений между наступлением событий и, во-вторых, отсутствием взаимозависимости между событиями и действиями при их наступлении.
Функции протокола связаны с обменом сообщениями между этими процессами. Формат, содержание этих сообщений образуют логические характеристики протокола. Правила же выполнения процедур определяют те действия, которые выполняют процессы, совместно участвующие в реализации протокола. Набор этих правил является процедурной характеристикой протокола. Используя эти понятия, мы можем теперь формально определить протокол как совокупность логических и процедурных характеристик механизма связи между процессами. Логическое определение составляет синтаксис, а процедурное - семантику протокола.
Генерирование изображения с помощью АПК позволяет получать не только двумерные спроецированные на плоскость изображения, но и реализовать картинную трехмерную графику с использованием плоскостей и поверхностей второго порядка с передачей текстуры поверхности изображения.
В зависимости от вида воспроизводимого изображения следует выделить требования по алфавиту ИМ, по способу формирования символов и по разновидности использования элементов изображения. Используемый алфавит характеризует тип модели, её изобразительные возможности. Он определяется классом решаемых задач, задается числом и типом знаков, количеством градаций яркости, ориентацией символов, частотой мерцания изображения и др.
Алфавит должен обеспечивать построение любых информационных моделей в пределах отображаемого класса. Необходимо также стремиться к уменьшению избыточности алфавита.
Способы формирования знака классифицируются в соответствии с используемыми элементами изображения и делятся на моделирующие, синтезирующие и генерирующие. Для знака, который формируется на экране ЭЛТ, предподчительным является матричный формат.
Наблюдение за монитором позволяет пользователю построить изображение режима системы, которое формируется на основе обученности, тренировки и опыта (концептуальная модель), следовательно, возможно сравнение этого изображения с изображением теоретическим в соответствии с ситуацией. Требование адекватности, изоморфизма, сходства пространственно-временной структуры отображаемых объектов управления и окружающей среды определяет эффективность модели.
Частота регенерации, определяющая быстродействие формирования ИМ, а следовательно, и возможность функционирования системы в интерактивном режиме, влияет на все компоненты системы, связанные с обработкой и отображением информации. Воспроизведение изображения осуществляется на основе его цифрового представления, которое содержится в блоке памяти, называемом буфером регенерации.


Рис. 1. Информационно-логическая схема интерфейса взаимодействия.
ИНФОРМАЦИОННАЯ МОДЕЛЬ: ВХОДНАЯ И ВЫХОДНАЯ ИНФОРМАЦИЯ
ПРОЦЕСС ПРЕОБРАЗОВАНИЯ СЛОЖНОЙ ГРАФИЧЕСКОЙ ИНФОРМАЦИИ
Информационная модель, являясь для оператора источником информации, на основе которой он формирует образ реальной обстановки, как правило, включает большое количество элементов. Учитывая различный семантический характер используемых элементов, информационную модель можно представить как совокупность взаимосвязанных элементов:
D ={D>n>}
,
>
>
где R>j> - множество элементов информационной модели j-й группы, n=1,...N; k=1,...K.
Количество групп элементов информационной модели определяется степенью детализации описания состояний и условий функционирования объекта управления. Как правило, элемент информационной модели связан с каким-либо параметром объекта управления.
Наряду с этим информационная модель графического типа может рассматриваться как сложное графическое изображение. Элементы информационной модели здесь выступают как элементы изображения.
Любое изображение состоит из некоторого набора графических примитивов, представляющих собой произвольный графический элемент, обладающий геометрическими свойствами. В качестве примитивов могут выступать и литеры (алфавитно-цифровые и любые другие символы).
Совокупность графических примитивов, которой оператор может манипулировать как единым целым, называют сегментом отображаемой информации. Наряду с сегментом часто используется понятие графический объект, под которым понимают множество примитивов, обладающих одинаковыми визуальными свойствами и статусом, а также идентифицированных одним именем.
При организации процесса переработки информации в системах отображения будем манипулировать следующими понятиями:
Статическая информация - относительно стабильная по содержанию информация, используемая в качестве фона. Например, координатная сетка, план, изображение местности и т.д.
Динамическая информация - информация, переменная в определенном интервале времени по содержанию или положению на экране. Реально динамическая информация часто является функцией некоторых случайных параметров.
Такое деление считается сильно условным. Несмотря на это, при проектировании реальных систем отображения информации решается без затруднений.
АНАЛИЗ СИСТЕМЫ ОТОБРАЖЕНИЯ ИНФОРМАЦИИ
Системы отображения информации рассматриваемого класса АСУ используют особую область растровой графики - синтез изображения в реальном масштабе времени. Основным показателем, характеризующим подобные системы, является производительность, т.е. количество графических примитивов, обрабатываемых за время формирования кадра. Повышение производительности таких систем дает возможность отображать за время раскадровки больший объем информации, что приведет к возможности решения качественно новых задач.
Непосредственному синтезу изображения в системах реального времени предшествует разработка базы данных моделей сцены. Синтез изображения заключается в формировании последовательности кадров изображения в результате выполнения алгоритма визуализации. Исходными данными являются поступающие в реальном режиме времени параметры, а также информация из базы данных модели сцены.
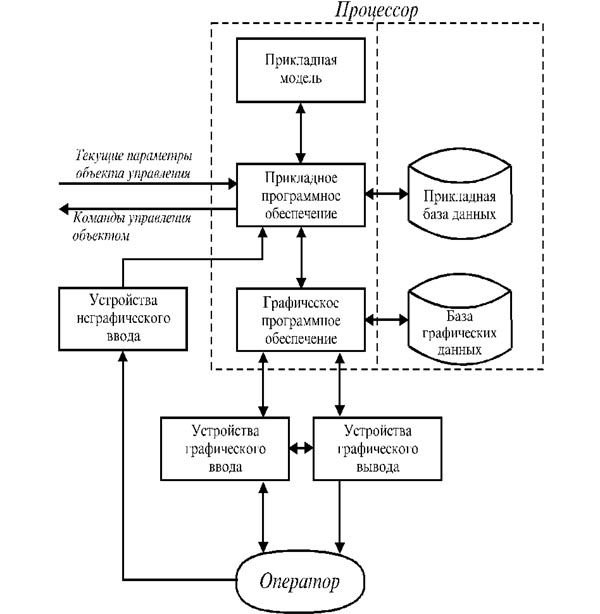
Обобщенная структурная схема системы отображения информации, обеспечивающая формирование поликодовых информационных моделей визуального типа, приведена на рис. 2.
Рис.
2. Структурная схема системы отображения
информации.
Прикладная модель представляет собой математическое описание объекта управления, позволяющее моделировать его текущие и прогнозируемые состояния на основе знания совокупности отдельных параметров.
Прикладная база данных реализует хранение параметров управляемого объекта, необходимых для формирования требуемых информационных моделей, и обеспечивает их выбор по запросам прикладного программного обеспечения.
Прикладное программное обеспечение выполняет следующие основные функции:
производит обработку запросов оператора по выбору и модификации информационных моделей;
формирует исходные данные для программного обеспечения визуализации информации, которые включают перечень графических объектов, соответствующих элементам формируемой информационной модели, а также параметры, определяющие совокупность и характеристики геометрических преобразований, процесса визуализации и привязки отдельных графических объектов к поверхности изображения;
обеспечивает прием параметров объекта управления и управляет прикладной базой данных;
осуществляет прием команд управления объектом от оператора, их обработку и передачу системе управления.
База графических данных служит для организации хранения графических объектов, соответствующих элементам формируемых информационных моделей, реализуя их выбор по запросам графического программного обеспечения.
Основные функции графического программного обеспечения:
выполнение графических или геометрических преобразований;
управление базой графических данных;
реализация интерфейсной части диалога компьютер - пользователь;
формирование запросов к прикладному программному обеспечению в процессе диалога компьютер - пользователь;
управление вводом-выводом визуализированной информации.
Устройства графического ввода выполняют функции обеспечения интерфейсной части диалога по вводу запросов в систему, а также функции обеспечения процессов измерений. Кроме того, эти устройства реализуют отображение информационных моделей, выполняя при этом в ряде случаев частичные графические и геометрические преобразования, а также обеспечивают поддержание графического диалога с оператором.
Устройства неграфического ввода обеспечивают передачу команд управления объектом от оператора прикладному программному обеспечению. Необходимо отметить, что данные устройства могут отсутствовать, если в системе отображения информации передача команд управления объектом реализуется с использованием средств графического диалога.
ФУНКЦИОНАЛЬНЫЕ ЗАДАЧИ, КОТОРЫЕ ДОЛЖНА РЕШАТЬ СИСТЕМА
При создании сложных АСУ велико значение разработки программного обеспечения, т.к. именно программные средства создают интеллект компьютера, решающий сложные научные задачи, управляющий сложнейшими технологическими процессами. В настоящее время при создании подобных систем значительно возрастает роль человеческого фактора, а следовательно, эргономического обеспечения системы. Основной задачей эргономического обеспечения является оптимизация взаимодействия между человеком и машиной не только в период эксплуатации, но и при изготовлении, и при утилизации технических компонентов. Таким образом, при систематизации подхода проектирования интерфейса пользователя, можно привести некоторые основные функциональные задачи и принципы построения, которые должна решать система.
Принцип минимального рабочего усилия, имеющий два аспекта:
минимизация затрат ресурсов со стороны разработчика ПО, что достигается путем создания определенной методики и технологии создания, свойственной обычным производственным процессам;
минимизация затрат ресурсов со стороны пользователя, т.е. ЧО должен выполнять только ту работу, которая необходима и не может быть выполнена системой, не должно быть повторений уже сделанной работы и т.д.
Задача максимального взаимопонимания. Т.е. ЧО не должен заниматься, например, поиском информации, или выдаваемая на видеоконтрольное устройство информация не должна требовать перекодировки или дополнительной интерпретации пользователем.
Пользователь должен запоминать как можно меньшее количество информации, так как это снижает свойство ЧО принимать оперативные решения.
Принцип максимальной концентрации поьзователя на решаемой задачи и локализация сообщений об ошибках.
Принцип учета профессиональных навыков человека-оператора. Это значит, что при разработке системы на основе некоторых задаваемых в техническом задании исходных данных о возможном контингенте кандидатов проектируется “человеческий компонент” с учетом требований и особенностей всей системы и её подсистем. Формирование же концептуальной модели взаимодействия человека и технических средств АСУ означает осознание и овладение алгоритмами функционирования подсистемы “человек - техническое средство” и овладение профессиональными навыками взаимодействия с ЭВМ.
ЧТО ПОНИМАТЬ ПОД ИНТЕРФЕЙСОМ
Пользовательский интерфейс - в данной главе это значит общение между человеком и компьютером.
Во многих определениях, интерфейс отождествляется с диалогом, который подобен диалогу или взаимодействию между двумя людьми. И точно как наука и культура нуждается в правилах общения людей и взаимодействия их друг с другом в диалоге, также и человеко-машинный диалог также нуждается в правилах.
Общий Пользовательский Доступ - это правила, которые объясняют диалог в терминах общих элементов, таких как правила представления информации на экране, и правила интерактивной технологии такие, как правила реагирования человека-оператора на то, что представлено на экране. В данном курсовом проекте мы рассмотрим стандарт ОПД фирмы IBM разработанный совместно с компанией MICROSOFT для класса машин “АТ”.
КОМПОНЕНТЫ ИНТЕРФЕЙСА
На практическом уровне, интерфейс это набор стандартных приемов взаимодействия с техникой. На теоретическом уровне интерфейс имеет три основных компоненты:
Способ общения машины с человеком-оператором.
Способ общения человека-оператора с машиной.
Способ пользовательского представления интерфейса.
МАШИНА К ПОЛЬЗОВАТЕЛЮ
Способ общения машины с пользователем (язык представления) определяется машинным приложением (прикладной программной системой). Приложение управляет доступом к информации, обработкой информации, представлением информации в виде понятном для пользователя.
ПОЛЬЗОВАТЕЛЬ К МАШИНЕ
Пользователь должен распознать информацию, которую представляет компьютер, понять (проанализировать) ее, и переходить к ответу. Ответ реализуется через интерактивную технологию, элементами которой могут быть такие действия как выбор объекта при помощи клавиши или мыши. Все это составляет вторую часть интерфейса, а именно язык действий.
КАК ПОЛЬЗОВАТЕЛЬ ДУМАЕТ
Первым двум компонентам интерфейса соответствуют правила ОПД для проектирования панели и интерактивных действий. Третью часть интерфейса составляет комплекс представлений пользователя о приложении в целом, что называется пользовательской концептуальной моделью.
Пользователи могут иметь представление о машинном интерфейсе, что он делает и как им работать. Некоторые из этих представлений формируются у пользователей в результате опыта работы другими машинами, такими как печатающее устройство, калькулятор, видеоигры, а также компьютерная система. Хороший пользовательский интерфейс использует этот опыт. Более развитые представления формируются от опыта работы пользователей с самим интерфейсом. Интерфейс помогает пользователям развивать представления, которые могут в дальнейшем использоваться при работе с другими прикладными интерфейсами.
СОГЛАСОВАННЫЙ ИНТЕРФЕЙС
Ключ для создания эффективного интерфейса заключается в быстром, насколько это возможно, развитии у операторов простой концептуальной модели интерфейса. Общий Пользовательский Доступ осуществляет это через согласованность. Концепция согласованности состоит в том, что при работе с компьютером у пользователя формируется система ожидания одинаковых реакций на одинаковые действия, что постоянно подкрепляет пользовательскую модель интерфейса. Согласованность, обеспечивая диалог между компьютером и человеком-оператором, может снизить количество времени, требуемого пользователем как для того, чтобы изучить интерфейс, так и для того чтобы использовать его для выполнения работы.
Согласованность является свойством интерфейса по усилению пользовательских представлений. Другой составляющей интерфейса является свойство его конкретности и наглядности. Это осуществляется применением плана панели, использованием цветов и другой выразительной техники. Идеи и концепции затем обретают физическое выражение на экране, с которым непосредственно общается пользователь.
СОГЛАСОВАННОСТЬ - ТРИ РАЗМЕРНОСТИ:
Говорить что интерфейс согласован - это все равно что говорить, что что-то есть больше чего-то. Мы вынуждены спросить: "Больше чем что?". Когда мы говорим, что интерфейс согласован, мы вынуждены спросить: "Согласован с чем?". Необходимо упомянуть некоторую размерность.
Интерфейс может быть согласован с тремя широкими категориями или размерностями: физической, синтаксической и семантической.
Физическая согласованность относится к аппаратному обеспечению: схемы клавиатуры, расположения клавиш, использованию мыши. Например, будет иметь место физическая согласованность для клавиши F3, если она всегда находиться в одном и том же месте независимо от использования системы. Аналогично, будет физически согласованным выбор кнопки на мышке, если она всегда будет располагаться под указательным пальцем.
Синтаксическая согласованность относится к последовательности и порядку появления элементов на экране (язык представлений) и последовательности запросов действий требований (язык действий). Например: будет иметь место синтаксическая согласованность, если всегда размещать заголовок панели в центре и на верху панели.
Семантическая согласованность относится к значению элементов, которые составляют интерфейс. Например, что означает "Выход"? Где пользователи делают "Выход" и что затем происходит?
МЕЖСИСТЕМНАЯ СОГЛАСОВАННОСТЬ
Общий Пользовательский Доступ содержит определения всех элементов и интерактивной технологии. Но эти определения могут быть выполнены по разному из-за технических возможностей специфических систем. Итак, общий интерфейс не может быть идентичным для всех систем.
Интерфейс на непрограммируемом терминале обеспечивает возможности, которые являются составляющими тех, которые обеспечивают интерфейс программируемых рабочих станций, из-за технических различий между двумя типами устройств.
Согласованность составных систем является балансом между согласованностью физической, синтаксической, семантической и стремлением получить преимущества оптимальных возможностей системы.
ПРЕИМУЩЕСТВА СОГЛАСОВАННОГО ИНТЕРФЕЙСА ПОЛЬЗОВАТЕЛЯ
Согласованный интерфейс приносит пользователям и разработчикам экономию времени и средств. Пользователи выигрывают от того, если им понадобится меньше времени, чтобы научиться использовать приложения, а затем при функционировании понадобится меньше времени для выполнения работы. Дополнительные выгоды для пользователя будут отражены в их отношении к приложениям.
Согласованный интерфейс сокращает уровень ошибок пользователя, повышает их чувство удовлетворенности от выполнения задачи и способствует тому, чтобы пользователь чувствовал себя более комфортно с системой.
Согласованный пользовательский интерфейс приносит выгоды и разработчикам приложений, позволяя выделить общие блоки элементов для интерфейса через стандартизацию элементов интерфейса и интерактивной технологии. Эти строительные блоки могут позволить программистам создавать и изменять приложения более просто и быстро. Например, из-за того, что одна и также панель может быть использована во многих системах, разработчики приложений могут использовать одни и те же панели в различных проектах.
Хотя пользовательский интерфейс устанавливает правила для элементов интерфейса и интерактивной технологии, он допускает довольно высокую степень гибкости. Например, для интерфейса определены пять типов панелей, но допускается, что могут быть использованы панели специфического применения. Общий Пользовательский Доступ рекомендует использование определенных панелей но, если это невозможно, то следует использовать специфические элементы определенных панелей.
ПРОГРАММНО-ТЕХНИЧЕСКИЕ СРЕДСТВА: РЕАЛИЗАЦИЯ И СОЗДАНИЕ ПОЛЬЗОВАТЕЛЬСКОГО ИНТЕРФЕЙСА
Три основные части разработки интерфейса следующие: проектирование панели, проектирование диалога и представление окон. Для Общего Пользовательского Доступа также должны учитываться условия применения Архитектуры Прикладных Систем. Существуют также другие условия: являются ли входные устройства на терминалах клавишными или указательными и будут ли являться приложения символьными или графическими.
РАЗРАБОТКА ДИЗАЙНА ПАНЕЛИ
Установим основные термины, относящиеся к разработке панели.
Экран - это поверхность компьютерной рабочей станции или терминала, на которой располагается информация предназначенная для пользователя.
Панель - это предопределенная группированная информация, которая структурирована специфическим способом и расположена на экране. Общий Пользовательский Доступ устанавливает пять панельных схем, называющихся панельными типами. Необходимо использовать различные панельные типы, чтобы представить различные виды информации.
Пять панельных типов следующие:
Меню;
Вход;
Информация;
Список;
Логическое.
Можно также смешивать части этих панельных типов, чтобы создавать смешанные панели.
Следует представлять каждую панель как некоторое пространство, разделенное на три основные части, каждая из которых содержит отдельный тип информации.
Эти три основных типа информации таковы:
Меню действий и нисходящее меню;
Тело панели;
Область функциональных клавиш.
На рис. 3 представлено положение трех областей панели.
|
Меню действий |
|
Тело панели |
|
Область функциональных клавиш |
Меню действий возникает на верху панели. Это дает пользователям доступ к группе действий, которые поддерживает приложение. Меню действий содержит в себе список выбора возможных действий. Когда пользователи делают выбор, в форме спускающегося меню появляется на экране список возможных действий. Спускающееся меню является расширением меню действий.
Слово "действия" в "меню действий" не подразумевает, что все команды должны быть глаголами. Существительные также допустимы. Значение действия в термине "меню действий" происходит от того факта, что выбор элемента меню действий выполняется приложением через действия пользователей. Например, в текстовом редакторе выбор "Шрифты" меню действий является существительным и разрешает пользователю потребовать действий выбора шрифтов.
Некоторые панели будут иметь меню действий, а другие нет.
Меню действий и нисходящее меню обеспечивают два замечательных преимущества для пользователей.
Первое преимущество состоит в том, что эти действия становятся для пользователей видимыми и могут быть затребованы на выполнение посредством простой интерактивной техники. "Запрос" означает инициацию действия. Способ, с помощью которого человек-оператор инициирует действие, состоит в нажатии функциональной клавиши, в выполнении выбора в нисходящем меню или печати (вводе) команды. Меню действий и нисходящее меню обеспечивают визуальность, что помогает пользователям находить требуемые действия без необходимости запоминания и печати имени действия.
Второе преимущество заключается в том, что выбор в меню действий приводит к вызову нисходящего меню, т.е. они никогда не служат причиной немедленного действия. Пользователи видят, что реализация таких действий не приводит к неисправимым последствиям, и у них не возникает страх от неправильного действия.
Меню действий и нисходящее меню обеспечивает двухуровневую иерархию действий. Вы можете обеспечить дополнительный уровень, используя всплывающие окна, которые появляются, когда оператором делается выбор в нисходящем меню. Затем, когда оператор делает выбор во всплывающем окне, может появиться серия всплывающих окон по мере выполнения действий. Общий Пользовательский Доступ рекомендует вам ограничить число уровней всплывающих окон до трех, поскольку многие пользователи испытывают трудности в понимании иерархии меню, имеющих много уровней.
Тело панели находится под меню действий и над областью функциональных клавиш. Каждая панель, которую вы создаете, будет иметь тело, которое может быть разделено на несколько областей, если вашему приложению необходимо показать пользователям больше, чем одну группу информации одновременно, или пользователям разрешается вводить или обновлять более чем одну группу информации в один и тот же момент времени.
Тело панели может содержать также командную область, в которой пользователи печатают прикладные или системные команды, и область сообщений, в которой сообщения появляются.
Командная область является средством предоставления пользователям командного интерфейса, который является альтернативой запросам действиям через меню действий и нисходящее меню. Область сообщений дают вам место для размещения сообщений на экране, иное, чем для окон, так как важно, чтобы сообщения не сталкивались с информацией на панели или с запросом действием.
Область функциональных клавиш располагается в нижней части панели и оператор может выбрать размещение ее в короткой или длинной форме или вообще не размещать. Она содержит список функциональных клавиш. Некоторые панели могут содержать как меню действий, так и заголовок функциональных клавиш. Необходимо обеспечить включение области функциональных клавиш для всех панелей, хотя пользователь может отказаться от их экранирования. См. рис. 4 где представлен общий вид панели пользователя системой.
|
Выбор Связи |
||
|
Выбрать один из следующих видов связи: 1. Прием почты 2. Прием сообщений 3. Отправление почты 4. Почтовый журнал 5. Операции 6. Почтовый статус |
||
|
Esc=Отмена |
F1=Помощь |
F3=Выход |
Панельные элементы являются наименьшими частями панельного дизайна. Некоторые элементы относяться исключительно к определенным областям панели, тогда как другие могут быть использованы в разных областях.
Общий Пользовательский Доступ обеспечивает определенное количество символов и визуальных обозначений, таких как псевдокнопки и контактные кнопки, которые вы можете, применять для указания пользователям, с какими из полей выбора или действий они работают.
ПРИНЦИПЫ ПРОЕКТИРОВАНИЯ: ОБЪЕКТ - ДЕЙСТВИЕ
Разбиение панели на области, которые содержат информационные объекты или выборы действий, основано на принципе объект-действие панельного дизайна. Этот принцип разрешает пользователям сначала сделать выбор объекта на теле панели, а затем выбрать соответсвующее действие для работы с выбранным объектом из меню действий или из области функциональных клавиш.
Это объектно-действенное соответствие позволяет вам формировать из действия меню действий и нисходящие меню, включая в них только те, которые действительны для соответствующих объектов. Применение концепции объект-действия способствует минимизации числа режимов, большое число которых иногда доставляет пользователям неудобства и делает приложение сложным для изучения и использования. Принцип объект-действие предпочтительнее, но в большинстве случаев также может быть применена связь действие-объект, при которой оператор выбирает объекты и действия в обратном порядке.
РАБОТА ПОЛЬЗОВАТЕЛЯ С ПАНЕЛЬЮ
Пользователь работает с элементами панели с помощью курсора выбора, одной из форм выделения которого является цветовая полоска, используемая для высвечивания полей выбора и полей ввода. Курсор выбора показывает, где и с чем пользователь собирается работать. Пользователи передвигают курсор по панели с помощью клавиатуры или мышки.
ПРЯМОЕ ВЗАИМОДЕЙСТВИЕ
В Общий Пользовательский Доступ входят такие концепции дизайна как концепция пошаговой подсказки, визуальной реплики и интерактивной техники. Однако опытные пользователи могут и не потребовать такого уровня простоты в эксплуатации. Они могут потребовать более прямого взаимодействия с приложением. Для таких пользователей Общий Пользовательский Доступ также содержит быстрые интерактивные технологии, такие как:
Назначение действиям функциональных клавиш.
Ускоренный выход из действий высокого уровня.
Использование мнемоники и номеров для выбора объектов и действий.
Командная область позволяет пользователю войти в приложение и системные команды.
Применение мышки ускоряет выбор действий.
ПОСТРОЕНИЕ ДИАЛОГА
Диалог - это последовательность запросов между пользователем и компьютером: запрос пользователя, ответ и запрос компьютера, окончательное действие компьютера.
В то время как пользователь и компьютер обмениваются сообщениями, диалог под контролем оператора движется по одному из путей обеспечиваемых приложением. По существу, пользователь продвигается через приложение, используя конкретные действия, которые являются частью диалога. Эти диалоговые действия не обязательно требуют от компьютера обработки информации; они могут лишь послужить причиной перехода от одной панели к другой или от одного приложения к другому, если работает более чем одно приложение. Диалоговые действия также контролируют, что происходит с информацией, которую пользователи печатают на конкретной панели; следует ли ее сохранить или запомнить, когда пользователи решают перейти к другой панели приложения.
Итак, диалог состоит из двух частей:
запросы на обработку информации и
запросы навигации через приложение.
Каждому шагу диалога сопутствует решение сохранять или не сохранять новую информацию.
С помощью нескольких направлений хода диалога оператору предоставляется возможность альтернативного продвижения в своих решениях, включая такие общие диалоговые действия, как вход, отмена и выход. Общие диалоговые действия представляют собой набор таких действий, определенных в Общем Пользовательском Доступе, которые имеют общее значение во всех приложениях. С некоторыми из этих режимов пользователь может продвигаться:
Вперед на один шаг (действие входа);
Назад на один шаг (действие отмены);
Назад на конкретную точку приложения (действие функционального выхода);
Покинуть приложение (режим выхода из приложения).
Действия входа и отмены, как шаги диалога, обычно представляют оператору новую панель или могут представлять ту же самую панель, но со значительными изменениями. В различных точках диалога действия снятия и выхода выполняются одинаково независимо от того, как много точек выхода имеет приложение. Некоторые приложения имеют только одну точку выхода, а другие несколько. Совокупность нескольких общих диалоговых действий иллюстрируется на рис. 5.
Здесь иллюстрируются возможности навигации типичного диалога при переходах от панели к панели, которые изображены прямоугольниками. Операции Вперед и Назад являются операциями прокрутки, а не навигационными, и используются для передвижения внутри панелей.
Рис.
5. Диалоговые действия.
УДЕРЖАНИЕ И СОХРАНЕНИЕ ИНФОРМАЦИИ
В то время как пользователи выполняют навигацию приложения, что-то должно происходить с информацией изменяемой на панели. Она может удерживаться на уровне панели или может быть сохранена.
Удерживаемая информация принадлежит к информации на панельном уровне приложения. Когда пользователи возвращаются в диалог через отмену панели, приложение аннулирует или сохраняет любые изменения информации на панели. Удерживаемая информация может быть экранирована в виде значений по умолчанию, когда пользователь будет просматривать эту панель в следующий раз. Но это не значит, что информация будет сохранена.
Каждое приложение решает удерживать или сохранять подобную информацию.
Сохранение информации означает помещение ее в область памяти задаваемой оператором. Действия навигации, ведущие пользователя по приложению, не сохраняют информацию до тех пор, пока пользователь не укажет точно, что эти действия должны заканчиваться сохранением информации.
Если действия пользователя могут привести к потере определенной информации, Общий Пользовательский Доступ рекомендует потребовать от пользователя подтверждения, что они не хотят сохранять информацию, или разрешить им сохранить информацию, или аннулировать последний запрос и вернуться на один шаг назад.
ОКНА
Ваше приложение может работать в режиме окон. Это значит, что панель располагается в отдельных ограниченных частях экрана, которые называются окнами. В компьютерных системах, функционирующих без окон, экран предоставляет собой полноразмерное окно, которое не может быть передвинуто или изменено в размерах. Система, имеющая режим окон, разрешает пользователю делить экран на окна, содержащие свою собственную панель. Используя сразу несколько окон, пользователь может одновременно наблюдать на экране несколько панелей одного или разных приложений.
Если экран содержит одно или два окна, пользователь может и не видеть всю панель целиком в каждом окне. Это зависит от размеров окна. Пользователь может подвинуть или изменить размер каждого окна, чтобы вместить необходимую ему информацию. Также, пользователи могут прокручивать содержание окон, перемещая информацию на панели внутри области экрана, ограниченной окном.
Возможности режима окон обеспечиваются операционной системой или ее сервисными и инструментальными средствами, а иначе приложения сами должны реализовать этот режим.
ТРИ ТИПА ОКОН
Рассмотрим три типа окон:
первичные,
вторичные и
всплывающие.
Первичное окно- это окно, с которого пользователь и компьютер начинают свой диалог. Например, в текстовом редакторе, первичное окно содержит текст, подлежащий редактированию. В редакторе электронных таблиц, первичное окно содержит таблицу. В системах без возможности создания окон, следует считать весь экран первичным окном.
Каждое первичное окно может содержать столько панелей, сколько необходимо, одну за другой, чтобы вести диалог. Пользователи могут переключать первичное окно на другое первичное или вторичное окно.
Вторичные окна вызываются из первичных окон. Это такие окна, в которых пользователи и компьютер ведут диалог параллельно диалогу в первичном окне. Например, в текстовом редакторе, вторичное окно может содержать панель, с помощью которой пользователь изменяет формат документа, а в первичном окне содержится редактируемая информация. Вторичные окна также используются чтобы предоставлять вспомогательную информацию, которая относится к диалогу в первичных окнах. Пользователи могут переключаться с первичных окон на вторичные окна и наоборот.
Первичные и вторичные окна имеют заглавные полосы в верхней части окна. Заголовок соотносится с окном через приложения.
Всплывающие окна представляют собой участок экрана, в котором располагается экранируемая панель, которая расширяет диалог пользователя через первичные и вторичные окна. Всплывающие окна связываются с другими окнами и появляются, когда приложение желает расширить диалог с другим окном. Одно из применений всплывающих окна состоит в передаче различных сообщений.
Перед тем как продолжить диалог с некоторым окном пользователь должен завершить свою работу со связанным с ним всплывающим окном.
Устройства Ввода: клавиатура, мышка и другие
Общий Пользовательский Доступ поддерживает согласованное использование клавиатуры и мышки, или любого другого устройства, действующего как мышка. Будем далее считать, что мышка является основным указывающим устройством.
Пользователям следует быть готовыми переключаться между клавиатурой и мышкой практически на любой стадии диалога без необходимости изменения режимов приложения. Одно устройство может быть более эффективно, чем другое в известной ситуации, следовательно, пользовательский интерфейс позволяет дать пользователям возможность легко переключаться с одного устройства на другое.
Все персональные компьютерные приложения, должны учитывать использование мышки. Однако приложения на непрограммируемых терминалах не могут поддерживать мышку. На этих терминалах поддержка мышки не обязательна.
Поддержка Клавиатуры
Примем за стандарт де-факто Общий Пользовательский Доступ, разработанный с учетом одного типа клавиатуры, а именно, расширенной клавиатуры фирмы IBM.
Необходимо назначить функциям приложения клавиши согласно правилам и спецификациям стандарта IBM. Назначение клавиш относятся к клавиатуре IBM Enhanced Keyboard. Для клавиатур других типов используется соответствующая техническая документация, например, изменяемая клавиатура IBM Modifiable Keyboard.
Правила назначения клавиш:
В приложениях могут быть использованы любые клавиши, включая как клавиши, нажимаемые без Shift, а также сочетания с Shift+, Ctrl+ и Alt+, если программируемая рабочая станция или непрограммируемый терминал допускают доступ приложения к этим клавишам. Следует избегать использования каких-либо клавиш, назначенных операционной системой, под управлением которой будет выполняться приложение.
Если приложение будет переведено на другие языки, не следует назначать сочетаниям алфавитно-цифровых клавиш с Alt. Однако, если это возможно, пользователи могут назначать этим клавишам различные функции.
Для изменения исходного значения клавиш используйте их в сочетании с клавишами Alt, Ctrl и Shift. Клавиши Alt, Ctrl и Shift самостоятельно не используются.
Не следует переназначать или дублировать назначение клавиш.
Пользователям предоставляется возможность изменения назначения клавиш, как дополнительную функцию приложения. Пользователи должны иметь возможность назначить действия и параметры любым функциональным клавишам, а также изменять их обозначение на экране.
Если некоторая функция назначена функциональной клавише одинаково в нескольких приложениях, то следует назначать этой клавише именно данную функцию во всех приложениях.
Если пользователи нажимают неназначенную на уровне текущей панели клавишу, то никакого эффекта не должно быть, если не указано что-либо иное.
Символьные и Графические приложения
Символьные приложения - это такие приложения, которые ограничивают себя использованием только символьной информации в пользовательском интерфейсе.
Графические приложения - это такие приложения, в которых используются графические элементы, такие как псевдокнопки, графический указатель, кнопка и линейка прокрутки.
В Общем Пользовательском Доступе не разрешается смешивать элементы Символьных и Графических режимов.
Пользовательские Права
Общий Пользовательский Доступ позволяет давать пользователям некоторые возможности самостоятельно распоряжаться некоторыми частями интерфейса. Эта возможность позволяет в определенных пределах повысить производительность пользователей.
Пользовательские режимы для персонализации интерфейса могут оставаться эффективными при перенесении их из одного приложения в другое. Иногда приложения могут иметь пользовательские режимы, которые применимы только для него. Например, режимы содержательные для электронной таблицы, могут быть неприменимы для текстового редактора или другого вида приложений.
Поддержка Национальных Языков
Если приложение переводится на другой язык, требования Общего Пользовательского Доступа по согласованности должны учитываться в переводной версии вашего приложения. Должна учитываться эта согласованность с начального момента проектирования интерфейса и приложения.
Правила локализации (перевода) приложения на другой язык:
Информацию диалога следует хранить отдельно от кода логики программы. Это поможет переводчикам при переводе вашего приложения на другие национальные языки. Кроме того, это упрощает изменение кодовой части программы, в связи переводом символов и знаков на языки других стран.
Следует предусматривать дополнительное место для отдельных слов при переводе на другие языки.
ЗАКЛЮЧЕНИЕ
В современных условиях поиск оптимального решения проблемы организации интерфейса взаимодействия приобретает характер комплексной задачи, решение которой существенно осложняется необходимостью оптимизации функционального взаимодействия операторов между собой и с техническими средствами АСУ в условиях изменяющегося характера их профессиональной деятельности.
В этой связи хотелось бы подчеркнуть особую актуальность проблемы моделирования взаимодействия ЧО с техническими средствами АСУ. Сегодня появилась реальная возможность с помощью моделирования на современных или разрабатываемых многофункциональных средствах обработки и отображения информации конкретизировать тип и характеристики используемых информационных моделей, выявить основные особенности будущей деятельности операторов, сформулировать требования к параметрам аппаратно-программных средств интерфейса взаимодействия и т.д.
Говоря о проблемах взаимодействия человека с ТС АСУ и практической реализации интерфейса взаимодействия, нельзя опустить такой важный вопрос, как унификация и стандартизация. Использование типовых решений, модульного принципа проектирования систем отображения и обработки информации приобретает всё более широкие масштабы, что, впрочем, вполне естественно. Однако наряду с несомненными позитивными аспектами, необходимо констатировать и некоторые нежелательные результаты. В частности сближение представляемой оператору информационной модели обстановки с его концептуальной моделью не всегда может быть достигнуто с помощью унифицированных многофункциональных средств, например машинной графики. Мне представляется, что в рассматриваемой области к вопросам унификации и стандартизации необходимо подходить с особой осторожностью и тщательным осмыслением, не забывать о роли оптимизации взаимодействия человека с ТС при решении им оперативных задач управления конкретного класса и типов. Можно указать и ряд других, не менее актуальных проблем в области проектирования интерфейса взаимодействия, которые находятся в стадии решения или ждут своей постановки.
ЛИТЕРАТУРА
Ю.И.Шемакин. “ТЕОРЕТИЧЕСКАЯ ИНФОРМАТИКА” - Учебное пособие. 1996 г.
Организация взаимодействия человека с техническими средствами АСУ, том 4: “Отображение информации”, редакция В.Н.Четверикова, Москва, “Высшая Школа” 1993.
Организация взаимодействия человека с техническими средствами АСУ, том 7: “Системное проектирование взаимодействия человека с техническими средствами”, редакция В.Н.Четверикова, Москва, “Высшая Школа” 1993.
“Кибернетические диалоговые системы”, И.П.Кузнецов.
“Рекоммендации по общепользовательскому интерфейсу”, Microsoft, редакция 1995г.
Инна Носова
Интерфейс пользователя с правовой точки зрения представляет собой достаточно интересный объект. С одной стороны, мы имеем его аудиовизуальное отображение, а именно то, что видим на экране компьютера. С другой стороны, — внутреннее представление в виде объектных кодов (в соответствии с законом компьютерная программа в объектных кодах охраняется так же, как и исходный текст), записанных в память компьютера. Если рассматривать интерфейс пользователя с позиции его внутреннего представления, то при таком подходе он ничем не будет отличаться от программы для ЭВМ по отношению к правовой охране. Следовательно, как программа для ЭВМ, пользовательский интерфейс будет охраняться без каких-либо исключений или дополнений законом РФ "О правовой охране программ для ЭВМ и БД". Таким образом в соответствии с данным законом нарушением права на пользовательский интерфейс будет считаться неправомерное использование компьютерной программы как таковой, реализующей интерфейс. Действие закона при этом не распространяется на идеи и принципы организации интерфейса (п. 5 ст. 3 Закона РФ "О правовой охране программ для ЭВМ и БД"). Закон РФ "Об авторском праве и смежных правах" также указывает (п. 4 ст. 6), что на идеи и принципы авторское право не распространяется. Однако представляется, что наиболее ценным в пользовательском интерфейсе являются именно идеи, заложенные в нем и воплощенные в виде определенного экранного образа, позволяющего организовать удобное общение человека с компьютером. Наличие "дружественного" интерфейса способствует успешному продвижению программного продукта на рынке, поэтому производитель, вложивший деньги в его разработку, заинтересован в том, чтобы конкуренты не смогли беспрепятственно воспользоваться преимуществами, полученными в результате применения подобного интерфейса.
Какими же правовыми нормами можно защитить свои права при создании оригинального пользовательского интерфейса?
Как отмечалось выше, пр01рамма для ЭВМ, реализующая интерфейс, охраняется нормами законов "О правовой охране программ для ЭВМ и БД" и "Об авторском праве и смежных правах". Причем в трактовке этих законов аудиовизуальные отображения, порождаемые программой для ЭВМ, также считаются программой для ЭВМ и, следовательно, подпадают под их действие. Более того, при регистрации программы для ЭВМ в Российском агентстве по правовой охране программ для ЭВМ, БД и топологий ИМС в качестве идентифицирующего материала в состав заявки могут быть включены копии экранов с отображением оригинальных изображений, являющихся объектами авторского права. Согласно упо-мя1гутым выше законам, нарушением авторского права должно считаться не только копирование исходного (соответственно — объектных кодов) текста программы, реализующей интерфейс, но и копирование самого экранного образа, без непосредственного копирования реализующей его программы.
Однако возникает вопрос, а насколько все-таки надежна подобная охрана? Где граница между идеей, неохраноспособной в соответствии с нормами авторского права (см. выше), и ее выражением, подпадающим под действие законодательства об авторском праве. Считается ли копирование структуры интерфейса и последовательности вывода на экран информации нарушением авторского права? Что это в большей степени — идея или ее выражение? В решении по делу Lotus Development Corp v. Paperback Software International (США) суд отметил, что охраноспособными по нормам авторского права являются:
1) общая структура команды;
2) порядок команд в каждой строке меню;
3) выбор букв, слов или пиктограмм для представления каждой команды;
4) тип используемой системы меню;
5) выбор и проверка, включающая длинные подсказки.
При этом если число вариантов выражения одной и той же идеи существенно ограничено, то каждый из таких вариантов неохраноспособен в смысле авторского права.
Законодательство не дает четкого ответа на вопрос, где находится грань между идеей и ее выражением. Каждый раз этот вопрос должен решаться в зависимости от конкретных обстоятельств дела, а такой подход является не очень надежным для разработчиков, так как при этом исход дела нельзя предсказать с большой степенью вероятности.
Наиболее надежным видом правовой охраны объектов интеллектуальной собственности является патентная охрана. Возможна ли охрана нормами патентного права пользовательского интерфейса? При создании пользовательского интерфейса решаются задачи эстетического и эргономического характера, т. с. решаются нетехнические задачи и, следовательно, интерфейс не может быть защищен патентом как изобретение. Однако можно рассмотреть возможность охраны пользовательского интерфейса как промышленного образца. В патентном законе РФ (п. 1 ст. 6) сказано: "К промышленным образцам относится художественно-конструкторское решение изделия, определяющее его внешний вид". Очевидно, что в качестве объекта в случае пользовательского интерфейса следует понимать изображение на экране компьютера, имеющее определенный внешний вид в результате действия программы пользовательского интерфейса.
В законе и дополняющих его актах понятие "художественно-конструкторское решение" детально не раскрывается, однако оно подразумевает наличие во внешнем виде изделия одновременно художественных и конструкторских элементов. Пользовательский интерфейс, если рассматривать его как решение, определяющее внешний вид изображения на экране компьютера, отвечает этим требованиям. В таком смысле экран компьютера с отображенным на нем пользовательским интерфейсом может считаться промышленным образцом, при условии соблюдения остальных требований, предъявляемых к данному объекту патентным законом РФ (новизна, оригинальность, промышленная применимость). Объем правовой охраны, предоставляемый патентом на промышленный образец, определяется совокупностью существенных признаков решения, отображенных на фотографии вышеуказанного промышленного образца, что позволяет расширить по сравнению с авторским правом действие правовой охраны на идеи, заложенные в интерфейсе. Однако следует учитывать, что в данном случае совокупность существенных признаков, характеризующих промышленный образец, должна включать наличие компьютерного экрана. То есть подобно изобретениям, связанным с программным обеспечением ЭВМ, компьютерный интерфейс может рассматриваться как промышленный образец только в совокупности с компьютером, что накладывает определенные ограничения на возможности борьбы с нарушителями прав на пользовательский интерфейс (см. PC Week/RE, № 6/97, с. 55).
Итак, что же следует предпринять разработчикам пользовательского интерфейса, чтобы максимально успешно бороться с нарушениями своих прав и, более того, предупреждать эти нарушения.
Рекомендуется зарегистрировать программу для ЭВМ, реализующую пользовательский интерфейс, в РосАПО, сдав в качестве идентифицирующих материалов копии экранов с изображениями пользовательского интерфейса. Это действие не является обязательным (см. PC Week/RE, № 3/97, с. 54), однако наличие "Свидетельства о регистрации программы для ЭВМ" поможет при доказательстве законности прав на пользовательский интерфейс.
Если пользовательский интерфейс является новым и оригинальным, то имеет смысл подать в Патентное ведомство РФ заявку на выдачу патента на промышленный образец. Наличие патента будет однозначно определять исключительные нрава на пользовательский интерфейс в рамках представленной совокупности существенных признаков.
Например, ЗАО "ИА ИнфоТехСер-вис", разрабатывающее оригинальное программное обеспечение, предназначенное для визуализации информационных продуктов, подало заявку о выдаче патента на промышленный образец пользовательского интерфейса, созданного с учетом специфики предметной области. Подобные заявки пока не являются общепринятой практикой. Я постараюсь проследить за судьбой данной заявки и рассказать о ней читателям.