Автоматическая система регулирования промышленного кондиционера
Содержание
Вступление
Задание
Краткое описание технологического процесса
Математическая модель установки и преобразование ее в пространство состояний.
Преобразование математической модели в дискретное время и ее проверка с помощью построения разгонных характеристик.
Синтез многомерного ПИ-регулятора.
Моделирование замкнутой системы и оценка качества переходных процессов.
Преобразование модели регулятора в форму, отвечающую ее реализации в программном обеспечении.
Выбор технических средств реализации системы управления.
Выводы
Литература
Приложение А – текст программы
Приложение 1 – Блок-схема системы
Приложение 2 – Развёрнутая схема системы с учётом запаздывания
Вступление
Целью данного курсового проектирования является создание программно математического обеспечения для промышленного кондиционера, а также подбор технических средств для ее реализации в программе обеспечения АСУТП. Все математические расчеты были произведены с помощью пакета MATLAB7. Выбраны технические средства автоматизации для реализации спроектированной системы управления.
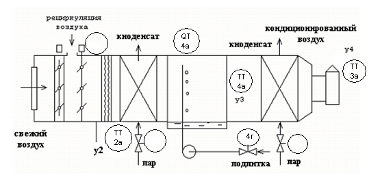
Промышленный кондиционер

Рисунок 3.- Схема промышленного кондиционера
Таблица 3.-Матрица передаточных функций объекта
|
u1 |
u2 |
u3 |
u4 |
|
|
y1 |
|
|
|
|
|
y2 |
- |
|
|
|
|
y3 |
|
|
|
|
|
y4 |
|
|
|
|
Номинальные значения параметров:
y>1>=70 %
y>2>=8 0C
y>3>=15 0C
y>4>=28 0C
у1,…, у4 – управляемые переменные (измерения), u1,…,u4 – управляющие воздействия, %хим, время в секундах
Краткое описание технологического процесса
Кондиционе́р — это устройство для поддержания оптимальных климатических условий в квартирах, домах, офисах, автомобилях, а также для очистки воздуха в помещении от нежелательных частиц. Предназначен для снижения температуры воздуха в помещении при жаре, или (реже) — повышении температуры воздуха в холодное время года в помещении.
На сегодняшний день трудно найти современное помещение промышленного или бытового назначения, где не была бы организована вентиляция или кондиционирование. Но если устройство микроклимата жилых помещений процесс типовой и отлаженный, то с промышленными объектами дело обстоит сложнее. Промышленное оборудование на порядок сложнее бытового и зачастую требует разработки индивидуальных проектов по выбору типа, мощности и размещению в инфраструктуре здания. Как правило, размещение промышленного климатического оборудования закладывается еще на стадии архитектурного проекта, потому как монтаж таких систем уже в готовом здании «по месту» не всегда является возможным и сопряжен с определенными техническими трудностями. Однако существует ряд оборудования, которое не требует проведения работ, связанных с перепланировкой помещений и разводкой коммуникаций
Принцип работы
Компрессор, конденсатор, дроссель (капиллярная трубка, ТРВ и др.) и испаритель соединены тонкостенными медными трубками (в последнее время иногда и алюминиевыми) и образуют холодильный контур, внутри которого циркулирует хладагент. (Традиционно в кондиционерах используется смесь фреона с небольшим количеством компрессорного масла, однако в соответствии с международными соглашениями производство и использование старых сортов, разрушающих озоновый слой, постепенно прекращается.)
В процессе работы кондиционера происходит следующее. На вход компрессора из испарителя поступает газообразный хладагент под низким давлением в 3 — 5 атмосфер и температурой 10 — 20 °C. Компрессор кондиционера сжимает хладагент до давления 15 — 25 атмосфер, в результате чего хладагент нагревается до 70 — 90 °C, после чего поступает в конденсатор.
Благодаря интенсивному обдуву конденсатора, хладагент остывает и переходит из газообразной фазы в жидкую с выделением дополнительного тепла. Соответственно, воздух, проходящий через конденсатор, нагревается.
На выходе конденсатора хладагент находится в жидком состоянии, под высоким давлением и с температурой на 10 — 20 °C выше температуры атмосферного (наружного) воздуха. Из конденсатора теплый хладагент попадает в терморегулирующий вентиль (ТРВ), который в простейшем случае представляет собой капилляр (длинную тонкую медную трубку, свитую в спираль). На выходе ТРВ давление и температура хладагента существенно понижаются, часть хладагента при этом может испариться.
После ТРВ смесь жидкого и газообразного хладагента с низким давлением поступает в испаритель. В испарителе жидкий хладагент переходит в газообразную фазу с поглощением тепла, соответственно, воздух, проходящий через испаритель, остывает. Далее газообразный хладагент с низким давлением поступает на вход компрессора и весь цикл повторяется. Этот процесс лежит в основе работы любого кондиционера и не зависит от его типа, модели или производителя.
Работа кондиционера (холодильника) без отвода тепла от конденсатора (или горячего спая элемента Пельтье) принципиально невозможна. Это фундаментальное ограничение, вытекающее из второго закона термодинамики. В обычных бытовых установках это тепло является бросовым и отводится в окружающую среду, причём его количество значительно превышает величину, поглощённую при охлаждении помещения (камеры). В более сложных устройствах это тепло утилизуется для бытовых целей: горячее водоснабжение, и др.
Устройство кондиционера
Компрессор — сжимает рабочую среду — хладагент (как правило — фреон) и поддерживает его движение по холодильному контуру.
Конденсатор — радиатор, расположенный во внешнем блоке. Название отражает процесс, происходящий при работе кондиционера — переход фреона из газообразной фазы в жидкую (конденсация). Для высокой эффективности и длительной эксплуатации преимущественно изготавливается из меди и алюминия.
Испаритель — радиатор, расположенный во внутреннем блоке. В испарителе фреон переходит из жидкой фазы в газообразную (испарение). Также в основном изготавливается из меди и алюминия.
ТРВ (терморегулирующий вентиль) — трубопроводный дроссель, который понижает давление фреона перед испарителем.
Вентиляторы — создают поток воздуха, обдувающего испаритель и конденсатор. Используются для более интенсивного теплообмена с окружающим воздухом.

1 — конденсатор
2 — терморегулирующий вентиль
3 — испаритель
4 — компрессор
Рассмотрим некоторые системы промышленного кондиционирования.
Мультизональные VRF и VRV системы

Мультизональные системы кондиционирования подразумевают подключение нескольких внутренних блоков к одному наружному. Мультизональные промышленные кондиционеры по сравнению с обычными сплит-системами обладают целым рядом преимуществ. Обычная бытовая сплит-система кондиционирования может насчитывать до 4 внутренних блоков, при этом расстояние от внутренних блоков до наружного обычно не превышает 25 метров, если же это расстояние увеличивается, то это приводит к падению мощности всей установки и снижению ее КПД.
Мультизональные промышленные кондиционеры позволяют подключать к одному наружному блоку до 30 внутренних. При этом длина соединяющей трассы может достигать 100 метров при перепадах по высоте до 50 м. Каждый внутренний блок промышленного мультизонального кондиционера может настраиваться на поддержание заданных параметров воздушной среды индивидуально. Внутренние блоки могут быть настенного, напольного или кассетного типа. При этом подключение внутренних блоков происходит не к внешнему, а к центральной трассе, что позволяет значительно экономить на трубопроводах, повысить монтажную готовность системы, а также дает возможность легко расширить систему кондиционирования в дальнейшем.
Мультизональная VRV система (Variable Refrigerant Volume, в переводе — переменный объем хладагента) при помощи электронных терморегуляторов позволяет внутренним блокам регулировать объемы поступающего хладагента из общей трассы. Промышленные кондиционеры VRV позволяют более ровно поддерживать заданную температуру в помещении, в отличие от систем кондиционирования, где регулировка температуры происходит путем периодического включения —выключения.
Мультизональная VRF система (Variable Refrigerant Flow, в переводе — переменный поток хладагента) — по факту является системой VRV. Смена названий произошла из-за авторского права на разработку. Идея и первая установка промышленного кондиционера VRV принадлежит фирме Daikin, тогда как аббревиатура VRF используется для систем прочих производителей.
Если к относительной влажности воздуха предъявляются повышенные требования, то наряду с мультизональной системой используют промышленные увлажнители или осушители воздуха.
Системы чиллер-фанкойл
Система чиллер-фанкойл является аналогом обычной сплит-системы, состоящей из одного наружного блока и нескольких внутренних. Главное отличие состоит в том, что по коммуникациям перемещается не хладагент, как в сплит-системах, а охлажденная жидкость, как правило — вода.
Вода охлаждается в наружном блоке — чиллере и по системе трубопроводов подается на радиаторы фанкойлов (внутренних блоков). Промышленные кондиционеры системы чиллер-фанкойл имеют следующие преимущества перед аналогами, работающими с хладагентами:
используя в качестве рабочей жидкости обычную воду, можно отказаться от дорогих коммуникаций, рассчитанных на работу с фреоном;
длина коммуникаций соединяющих чиллеры и фанкойлы может достигать нескольких сотен метров. Фактически длина трассы ограничивается только мощностью наружного блока;
промышленные кондиционеры чиллер-фанкойл работают не с агрессивными средами (фреоном или другими хладагентами), а с обычной водой. Фанкойлы располагаются в помещениях и могут иметь настенное, напольное или потолочное исполнение.
Различают фанкойлы с одним радиатором (двух трубные) и двумя радиаторами (четырех трубные). В последнем случае один из радиаторов подключается к чиллеру и работает на охлаждение, а второй может быть подключен к системе центрального отопления и работать на обогрев в холодное время года.
Система чиллер-фанкойл не обеспечивает притока внешнего воздуха, а работает только с внутренним, поэтому если требуется контроль и поддержание относительной влажности необходимо использовать промышленные увлажнители воздуха.
Центральный кондиционер
Центральные промышленные кондиционеры предназначены для обслуживания нескольких помещений или одного большого. Иногда несколько подобных кондиционеров обслуживают одно большое помещение — театральный зал, музей, гостиницу, закрытый стадион, производственный цех и т.д.
Центральные промышленные кондиционеры предназначены не только для охлаждения или нагрева воздуха, но также для его вентиляции, очистки и увлажнения. Такие кондиционеры не являются автономными агрегатами и для работы им требуются внешние источники холода или тепла (чиллеры, компрессорно-конденсационные блоки, системы центрального отопления и т.д.).
Центральные промышленные кондиционеры представляют собой набор модулей, за каждым из которых закреплена определенная функция.
К основным блокам центрального кондиционера можно отнести следующие:
водяной или фреоновый теплообменник — секция охлаждения;
водяной или электрический нагреватель (ТЭН) — секция нагрева;
вентиляторная секция, где вентиляторы производят забор воздуха и обеспечивают его транспортировку по сети воздуховодов в помещения;
секция шумопоглощения — устраняет вибрации и шумы, создаваемые вентиляторами;
секция увлажнения — при необходимости повышает относительную влажность подаваемого в помещения воздуха, поэтому применения промышленного увлажнителя не требуется;
секция фильтрации — очищает проходящий через промышленный кондиционер воздух от пыли, пуха, насекомых и т.д.;
теплоутилизаторы (рекуператоры) — позволяют использовать тепловую энергию утилизированного воздуха для подогрева свежего воздуха.
Используются для экономии энергии.
К недостаткам такой системы можно отнести сложность монтажа, связано это, прежде всего, с разводкой трубопроводов и каналов вентиляции.
Крышный кондиционер

Крышные промышленные кондиционеры имеют моноблочное исполнение и предназначены для установки на плоских крышах здания. Если же кровля имеет наклон, то крышные кондиционеры устанавливаются на специальной раме. Такие промышленные кондиционеры используются для охлаждения и вентиляции больших помещений — концертных залов, крытых стадионов, спортзалов, заводских цехов, супермаркетов, кафе и т.п.
Свежий воздух с улицы через заборную решетку поступает в кондиционеры, где проходит необходимую обработку (фильтрацию, нагрев или охлаждение, при необходимости — смешение с рециркуляционным воздухом) и далее распределяется по помещениям посредством сети воздуховодов.
В связи с более жесткими условиями эксплуатации (атмосферные осадки, большие перепады температур, ветровые нагрузки) промышленные крышные кондиционеры в качестве корпуса имеют усиленную раму, обшитую коррозионностойкими материалами — гальванизированной или оцинкованной сталью или материалами с нанесенными лакокрасочными покрытиями на основе эпоксидных смол и др. К стандартным узлам крышных промышленных кондиционеров можно отнести компрессор, конденсатор, испаритель и вентиляторы.При необходимости кондиционеры такой конструкции могут оснащаться системами рекуперации и подогрева воздуха.
Крышные промышленные кондиционеры могут быть изготовлены в широком размерном диапазоне — от большого телевизора до небольшого легкового автомобиля.
К преимуществам данного оборудования можно отнести простоту монтажа, компактность, а также высокую надежность и экономичность. В последнее время крышные промышленные кондиционеры широко применяются в коттеджном строительстве.
Шкафной кондиционер.
Шкафные промышленные кондиционеры выполняются в виде моноблочной конструкции и предназначены для напольной установки в помещениях (в основном производственного назначения), где требуется круглосуточное поддержание заданных температурных параметров. Помимо моноблочного исполнения промышленные кондиционеры данного класса могут изготавливаться с выносным конденсатором.
Шкафные кондиционеры обладают значительной хладотеплопроизводительностью (до 100 кВт) и большой производительностью по воздуху.
К преимуществам шкафных кондиционеров можно отнести:
простоту монтажа и удобство обслуживания благодаря моноблочному исполнению;
широкий диапазон рабочих температур. Шкафные промышленные кондиционеры располагаются внутри помещения, и перепад температур наружного воздуха не оказывает влияния на их работу, в отличие от традиционных сплит-систем;
охлажденный воздух раздается прямо в помещение, а при необходимости возможно использование небольшой сети воздуховодов.
Данный вид климатического оборудования может выполняться как с воздушным, так и с водяным охлаждением конденсатора. Промышленные кондиционеры с водяным охлаждением не имеют теплового насоса, однако режим обогрева может быть организован при помощи встраиваемых электронагревателей. Такие кондиционеры просты по конструкции и более мобильны. Они могут быть установлены в любой точке помещения, куда можно организовать подвод охлажденной воды. Кроме того, кондиционеры с водяным охлаждением конденсатора имеют меньшую стоимость по сравнению со шкафными кондиционерами с воздушным охлаждением. Основная проблема в случае применения моделей с водяным охлаждением — необходимость использования системы оборотного водоснабжения (системы охлаждения воды, циркулирующей через горячий конденсатор).
Шкафные промышленные кондиционеры также могут содержать и дополнительное оборудование, например электрические или водяные нагреватели, распределительную камеру, позволяющую перенаправлять потоки исходящего воздуха, увлажнители воздуха и т.д.

Прецизионный кондиционер
Прецизионные промышленные кондиционеры (от англ. «precision» — точность, четкость) можно считать разновидностью шкафных.
Прецизионные кондиционеры способны поддерживать с высокой точностью не только температурный режим внутри помещения, но и относительную влажность воздуха. Последнее достигается за счет встраивания в блок кондиционера гигростата (прибора, измеряющего влажность) и увлажнителя воздуха.
Такое климатическое оборудование имеет весьма узкую область применения — серверные, станции сотовой связи, сверхточные производства, фармацевтическая промышленность, музеи, помещения насыщенные дорогой электроникой и т.д.
Прецизионные кондиционеры могут быть моноблочной конструкции или выполняться виде двух блоков — наружного и внутреннего. В этом случае наружный блок содержит конденсатор с вентилятором, а внутренний — компрессор, испаритель с вентилятором, увлажнитель и систему автоматики.
Основные технические характеристики прецизионных промышленных кондиционеров:
точность контроля и поддержания температурных параметров в помещении — +/- 1С;
точность контроля и поддержания относительной влажности воздуха — +/-2%;
диапазон мощностей прецизионных кондиционеров — от 5 до 100 кВт;
возможность работы в широком диапазоне температур наружного воздуха (до -35С);
прецизионные кондиционеры отличаются повышенной надежностью и отказоустойчивостью при работе в любом режиме. Такие кондиционеры рассчитаны на круглогодичную работу 24/7 в течение 10 лет;
эффективная вентиляция и очищение воздуха от пыли.
Прецизионные кондиционеры могут производиться в широком диапазоне форм и габаритов, начиная от «кабинетных» систем и заканчивая огромными холодильными машинами.
2. Математическая модель установки и преобразование ее в пространство состояний
Математическая модель задана в виде матрицы передаточных функций.
|
u1 |
u2 |
u3 |
u4 |
|
|
y1 |
|
|
|
|
|
y2 |
- |
|
|
|
|
y3 |
|
|
|
|
|
y4 |
|
|
|
|
Блок-схема системы приведена в - Приложении 1.
Развёрнутая схема системы с учётом запаздывания приведена в - Приложении 2.
В исходных данных, модель дана как мы видим в виде матриц передаточных функций. Для преобразования передаточных функций в пространство состояний использовалась функция матлаба tf2ss. Для проверки правильности преобразования следует найти собственные значения матрицы А с помощью функции еig и убедиться, что или все собственные значения матрицы А имеют отрицательные действительные части, или число нулевых собственных значений совпадает с числом интегральных звеньев в исходной модели. Окончательно система должна быть представлена матрицами A,B,C,D
Ниже приведены матрицы модели в пространстве состояний

где х- состояние систем;
y- измеряемые входы;
f- возмущение;
u- управление.
Матрицы системы имеют вид:
A=[-1/118 0 0 0 0 0 0 0 0 0 0 0 0 0 0 0 0 0 0 0 0 0 0 0 0 0 0 0 0 0 0 0 0;
1/26.7 -1/26.7 0 0 0 0 0 0 0 0 0 0 0 0 0 0 0 0 0 0 0 0 0 0 0 0 0 0 0 0 0 0 0;
0 4/14 -2/14 0 0 0 0 0 0 0 0 0 0 0 0 0 0 0 0 0 0 0 0 0 0 0 0 0 0 0 0 0 0;
0 0 0 -1/1300 0 0 0 0 0 0 0 0 0 0 0 0 0 0 0 0 0 0 0 0 0 0 0 0 0 0 0 0 0;
0 0 0 4/80 -2/80 0 0 0 0 0 0 0 0 0 0 0 0 0 0 0 0 0 0 0 0 0 0 0 0 0 0 0 0;
0 0 0 0 0 -1/118 0 0 0 0 0 0 0 0 0 0 0 0 0 0 0 0 0 0 0 0 0 0 0 0 0 0 0;
0 0 0 0 0 1/26.7 -1/26.7 0 0 0 0 0 0 0 0 0 0 0 0 0 0 0 0 0 0 0 0 0 0 0 0 0 0;
0 0 0 0 0 0 4/-14 -2/14 0 0 0 0 0 0 0 0 0 0 0 0 0 0 0 0 0 0 0 0 0 0 0 0 0;
0 0 0 0 0 0 0 0 -1/118 0 0 0 0 0 0 0 0 0 0 0 0 0 0 0 0 0 0 0 0 0 0 0 0;
0 0 0 0 0 0 0 0 1/26.7 -1/26.7 0 0 0 0 0 0 0 0 0 0 0 0 0 0 0 0 0 0 0 0 0 0 0;
0 0 0 0 0 0 0 0 0 4/14 -2/14 0 0 0 0 0 0 0 0 0 0 0 0 0 0 0 0 0 0 0 0 0 0;
0 0 0 0 0 0 0 0 0 0 0 -1/430 0 0 0 0 0 0 0 0 0 0 0 0 0 0 0 0 0 0 0 0 0;
0 0 0 0 0 0 0 0 0 0 0 4/80 -2/80 0 0 0 0 0 0 0 0 0 0 0 0 0 0 0 0 0 0 0 0;
0 0 0 0 0 0 0 0 0 0 0 0 0 -1/470 0 0 0 0 0 0 0 0 0 0 0 0 0 0 0 0 0 0 0;
0 0 0 0 0 0 0 0 0 0 0 0 0 4/170 -2/170 0 0 0 0 0 0 0 0 0 0 0 0 0 0 0 0 0 0;
0 0 0 0 0 0 0 0 0 0 0 0 0 0 0 -1/480 0 0 0 0 0 0 0 0 0 0 0 0 0 0 0 0 0;
0 0 0 0 0 0 0 0 0 0 0 0 0 0 0 4/180 -2/180 0 0 0 0 0 0 0 0 0 0 0 0 0 0 0 0;
0 0 0 0 0 0 0 0 0 0 0 0 0 0 0 0 0 -1/430 0 0 0 0 0 0 0 0 0 0 0 0 0 0 0;
0 0 0 0 0 0 0 0 0 0 0 0 0 0 0 0 0 4/100 -2/100 0 0 0 0 0 0 0 0 0 0 0 0 0 0;
0 0 0 0 0 0 0 0 0 0 0 0 0 0 0 0 0 0 0 -1/840 0 0 0 0 0 0 0 0 0 0 0 0 0;
0 0 0 0 0 0 0 0 0 0 0 0 0 0 0 0 0 0 0 4/100 -2/100 0 0 0 0 0 0 0 0 0 0 0 0;
0 0 0 0 0 0 0 0 0 0 0 0 0 0 0 0 0 0 0 0 0 -1/800 0 0 0 0 0 0 0 0 0 0 0;
0 0 0 0 0 0 0 0 0 0 0 0 0 0 0 0 0 0 0 0 0 4/250 -2/250 0 0 0 0 0 0 0 0 0 0;
0 0 0 0 0 0 0 0 0 0 0 0 0 0 0 0 0 0 0 0 0 0 0 -1/570 0 0 0 0 0 0 0 0 0;
0 0 0 0 0 0 0 0 0 0 0 0 0 0 0 0 0 0 0 0 0 0 0 4/300 -2/300 0 0 0 0 0 0 0 0;
0 0 0 0 0 0 0 0 0 0 0 0 0 0 0 0 0 0 0 0 0 0 0 0 0 -1/450 0 0 0 0 0 0 0;
0 0 0 0 0 0 0 0 0 0 0 0 0 0 0 0 0 0 0 0 0 0 0 0 0 4/150 -2/150 0 0 0 0 0 0;
0 0 0 0 0 0 0 0 0 0 0 0 0 0 0 0 0 0 0 0 0 0 0 0 0 0 0 -1/640 0 0 0 0 0;
0 0 0 0 0 0 0 0 0 0 0 0 0 0 0 0 0 0 0 0 0 0 0 0 0 0 0 4/220 -2/220 0 0 0 0;
0 0 0 0 0 0 0 0 0 0 0 0 0 0 0 0 0 0 0 0 0 0 0 0 0 0 0 0 0 -1/540 0 0 0;
0 0 0 0 0 0 0 0 0 0 0 0 0 0 0 0 0 0 0 0 0 0 0 0 0 0 0 0 0 4/300 -2/300 0 0;
0 0 0 0 0 0 0 0 0 0 0 0 0 0 0 0 0 0 0 0 0 0 0 0 0 0 0 0 0 0 0 -1/950 0;
0 0 0 0 0 0 0 0 0 0 0 0 0 0 0 0 0 0 0 0 0 0 0 0 0 0 0 0 0 0 0 4/480 -2/480];
Матрица входа:
B=[6.5/118000;
0000;
0000;
0-6.1/130000;
0000;
006.5/1180;
0000;
0000;
0 006.5/118;
0 000;
0 000;
00.4/43000;
0000;
000.3/4700;
0000;
0000.9/480;
0000;
-0.7/430000;
0000;
00.2/84000;
0000;
000.9/8000;
0000;
0000.5/570;
0000;
-0.1/450000;
0000;
00.1/64000;
0000;
000.1/5400;
0000;
0000.2/950;
0000];
Матрица измерений:
C=[0 -1 1 -1 1 0 -1 -1 0 -1 1 0 0 0 0 0 0 0 0 0 0 0 0 0 0 0 0 0 0 0 0 0 0;
0 0 0 0 0 0 0 0 0 0 0 -1 1 -1 1 -1 1 0 0 0 0 0 0 0 0 0 0 0 0 0 0 0 0;
0 0 0 0 0 0 0 0 0 0 0 0 0 0 0 0 0 -1 1 -1 1 -1 1 -1 1 0 0 0 0 0 0 0 0;
0 0 0 0 0 0 0 0 0 0 0 0 0 0 0 0 0 0 0 0 0 0 0 0 0 -1 1 -1 1 -1 1 -1 1];
Преобразование математической модели в дискретное время и ее проверка с помощью построения разгонных характеристик
Для преобразования математической модели в дискретное время пользуется функция матлаба с2d. Шаг дискретизации может быть выбран с учетом того, что процессы в замкнутой системе будут где-то в 10 раз быстрее, чем в объекте. То есть:
dt=0.01/max(abs(eig(A)));
[Ad,Bd]=c2d(A,B,dt);
Проверить найденную модель в дискретном времени следует с помощью расчета разгонных характеристик. Для этого следует используем функцию dstep. Для вывода графиков используем функции: sub>plot, plot, grid.
Матрицы модели в дискретном времени:
Ad =
Columns 1 through 12
0.9941 0 0 0 0 0 0 0 0 0 0 0
0.0258 0.9741 0 0 0 0 0 0 0 0 0 0
0.0025 0.1878 0.9048 0 0 0 0 0 0 0 0 0
0 0 0 0.9995 0 0 0 0 0 0 0 0
0 0 0 0.0347 0.9827 0 0 0 0 0 0 0
0 0 0 0 0 0.9941 0 0 0 0 0 0
0 0 0 0 0 0.0258 0.9741 0 0 0 0 0
0 0 0 0 0 -0.0025 -0.1878 0.9048 0 0 0 0
0 0 0 0 0 0 0 0 0.9941 0 0 0
0 0 0 0 0 0 0 0 0.0258 0.9741 0 0
0 0 0 0 0 0 0 0 0.0025 0.1878 0.9048 0
0 0 0 0 0 0 0 0 0 0 0 0.9984
0 0 0 0 0 0 0 0 0 0 0 0.0347
0 0 0 0 0 0 0 0 0 0 0 0
0 0 0 0 0 0 0 0 0 0 0 0
0 0 0 0 0 0 0 0 0 0 0 0
0 0 0 0 0 0 0 0 0 0 0 0
0 0 0 0 0 0 0 0 0 0 0 0
0 0 0 0 0 0 0 0 0 0 0 0
0 0 0 0 0 0 0 0 0 0 0 0
0 0 0 0 0 0 0 0 0 0 0 0
0 0 0 0 0 0 0 0 0 0 0 0
0 0 0 0 0 0 0 0 0 0 0 0
0 0 0 0 0 0 0 0 0 0 0 0
0 0 0 0 0 0 0 0 0 0 0 0
0 0 0 0 0 0 0 0 0 0 0 0
0 0 0 0 0 0 0 0 0 0 0 0
0 0 0 0 0 0 0 0 0 0 0 0
0 0 0 0 0 0 0 0 0 0 0 0
0 0 0 0 0 0 0 0 0 0 0 0
0 0 0 0 0 0 0 0 0 0 0 0
0 0 0 0 0 0 0 0 0 0 0 0
0 0 0 0 0 0 0 0 0 0 0 0
Columns 13 through 24
0 0 0 0 0 0 0 0 0 0 0 0
0 0 0 0 0 0 0 0 0 0 0 0
0 0 0 0 0 0 0 0 0 0 0 0
0 0 0 0 0 0 0 0 0 0 0 0
0 0 0 0 0 0 0 0 0 0 0 0
0 0 0 0 0 0 0 0 0 0 0 0
0 0 0 0 0 0 0 0 0 0 0 0
0 0 0 0 0 0 0 0 0 0 0 0
0 0 0 0 0 0 0 0 0 0 0 0
0 0 0 0 0 0 0 0 0 0 0 0
0 0 0 0 0 0 0 0 0 0 0 0
0 0 0 0 0 0 0 0 0 0 0 0
0.9827 0 0 0 0 0 0 0 0 0 0 0
0 0.9985 0 0 0 0 0 0 0 0 0 0
0 0.0164 0.9918 0 0 0 0 0 0 0 0 0
0 0 0 0.9985 0 0 0 0 0 0 0 0
0 0 0 0.0155 0.9923 0 0 0 0 0 0 0
0 0 0 0 0 0.9984 0 0 0 0 0 0
0 0 0 0 0 0.0278 0.9861 0 0 0 0 0
0 0 0 0 0 0 0 0.9992 0 0 0 0
0 0 0 0 0 0 0 0.0278 0.9861 0 0 0
0 0 0 0 0 0 0 0 0 0.9991 0 0
0 0 0 0 0 0 0 0 0 0.0112 0.9944 0
0 0 0 0 0 0 0 0 0 0 0 0.9988
0 0 0 0 0 0 0 0 0 0 0 0.0093
0 0 0 0 0 0 0 0 0 0 0 0
0 0 0 0 0 0 0 0 0 0 0 0
0 0 0 0 0 0 0 0 0 0 0 0
0 0 0 0 0 0 0 0 0 0 0 0
0 0 0 0 0 0 0 0 0 0 0 0
0 0 0 0 0 0 0 0 0 0 0 0
0 0 0 0 0 0 0 0 0 0 0 0
0 0 0 0 0 0 0 0 0 0 0 0
Columns 25 through 33
0 0 0 0 0 0 0 0 0
0 0 0 0 0 0 0 0 0
0 0 0 0 0 0 0 0 0
0 0 0 0 0 0 0 0 0
0 0 0 0 0 0 0 0 0
0 0 0 0 0 0 0 0 0
0 0 0 0 0 0 0 0 0
0 0 0 0 0 0 0 0 0
0 0 0 0 0 0 0 0 0
0 0 0 0 0 0 0 0 0
0 0 0 0 0 0 0 0 0
0 0 0 0 0 0 0 0 0
0 0 0 0 0 0 0 0 0
0 0 0 0 0 0 0 0 0
0 0 0 0 0 0 0 0 0
0 0 0 0 0 0 0 0 0
0 0 0 0 0 0 0 0 0
0 0 0 0 0 0 0 0 0
0 0 0 0 0 0 0 0 0
0 0 0 0 0 0 0 0 0
0 0 0 0 0 0 0 0 0
0 0 0 0 0 0 0 0 0
0 0 0 0 0 0 0 0 0
0 0 0 0 0 0 0 0 0
0.9953 0 0 0 0 0 0 0 0
0 0.9984 0 0 0 0 0 0 0
0 0.0186 0.9907 0 0 0 0 0 0
0 0 0 0.9989 0 0 0 0 0
0 0 0 0.0127 0.9937 0 0 0 0
0 0 0 0 0 0.9987 0 0 0
0 0 0 0 0 0.0093 0.9953 0 0
0 0 0 0 0 0 0 0.9993 0
0 0 0 0 0 0 0 0.0058 0.9971
Bd =
0.0384 0 0 0
0.0005 0 0 0
0.0000 0 0 0
0 -0.0033 0 0
0 -0.0001 0 0
0 0 0.0384 0
0 0 0.0005 0
0 0 -0.0000 0
0 0 0 0.0384
0 0 0 0.0005
0 0 0 0.0000
0 0.0007 0 0
0 0.0000 0 0
0 0 0.0004 0
0 0 0.0000 0
0 0 0 0.0013
0 0 0 0.0000
-0.0011 0 0 0
-0.0000 0 0 0
0 0.0002 0 0
0 0.0000 0 0
0 0 0.0008 0
0 0 0.0000 0
0 0 0 0.0006
0 0 0 0.0000
-0.0002 0 0 0
-0.0000 0 0 0
0 0.0001 0 0
0 0.0000 0 0
0 0 0.0001 0
0 0 0.0000 0
0 0 0 0.0001
0 0 0 0.0000
Р
исунок.
Кривые разгона передаточных функций
Если сравнить матрицу передаточных функций и полученные разгонные характеристики(рисунок ), видно, что Кр из матрицы передаточных функций совпадают с Кр на графиках, можно сделать вывод: построение модели и преобразование выполнены верно.
4. Синтез многомерного ПИ-регулятора
Для синтеза ПИ-регулятора полученные матрицы должны быть расширены в матрицы A1, B1, C1:
A1=[Ad zeros(8,2); C eye(2)];
B1=[Bd;zeros(10)];
C1=[C eye(2)];
Матрицы параметров регулятора должны быть рассчитаны с помощью функции dlqr.
K=dlqr(A1,B1,Q,R)
L=dlqr(A1',C1',Q1,R1)'
Расширены матрицы имеют вид:
A1 =
Columns 1 through 12
0.9941 0 0 0 0 0 0 0 0 0 0 0
0.0258 0.9741 0 0 0 0 0 0 0 0 0 0
0.0025 0.1878 0.9048 0 0 0 0 0 0 0 0 0
0 0 0 0.9995 0 0 0 0 0 0 0 0
0 0 0 0.0347 0.9827 0 0 0 0 0 0 0
0 0 0 0 0 0.9941 0 0 0 0 0 0
0 0 0 0 0 0.0258 0.9741 0 0 0 0 0
0 0 0 0 0 -0.0025 -0.1878 0.9048 0 0 0 0
0 0 0 0 0 0 0 0 0.9941 0 0 0
0 0 0 0 0 0 0 0 0.0258 0.9741 0 0
0 0 0 0 0 0 0 0 0.0025 0.1878 0.9048 0
0 0 0 0 0 0 0 0 0 0 0 0.9984
0 0 0 0 0 0 0 0 0 0 0 0.0347
0 0 0 0 0 0 0 0 0 0 0 0
0 0 0 0 0 0 0 0 0 0 0 0
0 0 0 0 0 0 0 0 0 0 0 0
0 0 0 0 0 0 0 0 0 0 0 0
0 0 0 0 0 0 0 0 0 0 0 0
0 0 0 0 0 0 0 0 0 0 0 0
0 0 0 0 0 0 0 0 0 0 0 0
0 0 0 0 0 0 0 0 0 0 0 0
0 0 0 0 0 0 0 0 0 0 0 0
0 0 0 0 0 0 0 0 0 0 0 0
0 0 0 0 0 0 0 0 0 0 0 0
0 0 0 0 0 0 0 0 0 0 0 0
0 0 0 0 0 0 0 0 0 0 0 0
0 0 0 0 0 0 0 0 0 0 0 0
0 0 0 0 0 0 0 0 0 0 0 0
0 0 0 0 0 0 0 0 0 0 0 0
0 0 0 0 0 0 0 0 0 0 0 0
0 0 0 0 0 0 0 0 0 0 0 0
0 0 0 0 0 0 0 0 0 0 0 0
0 0 0 0 0 0 0 0 0 0 0 0
0 -1.0000 1.0000 -1.0000 1.0000 0 -1.0000 -1.0000 0 -1.0000 1.0000 0
0 0 0 0 0 0 0 0 0 0 0 -1.0000
0 0 0 0 0 0 0 0 0 0 0 0
0 0 0 0 0 0 0 0 0 0 0 0
Columns 13 through 24
0 0 0 0 0 0 0 0 0 0 0 0
0 0 0 0 0 0 0 0 0 0 0 0
0 0 0 0 0 0 0 0 0 0 0 0
0 0 0 0 0 0 0 0 0 0 0 0
0 0 0 0 0 0 0 0 0 0 0 0
0 0 0 0 0 0 0 0 0 0 0 0
0 0 0 0 0 0 0 0 0 0 0 0
0 0 0 0 0 0 0 0 0 0 0 0
0 0 0 0 0 0 0 0 0 0 0 0
0 0 0 0 0 0 0 0 0 0 0 0
0 0 0 0 0 0 0 0 0 0 0 0
0 0 0 0 0 0 0 0 0 0 0 0
0.9827 0 0 0 0 0 0 0 0 0 0 0
0 0.9985 0 0 0 0 0 0 0 0 0 0
0 0.0164 0.9918 0 0 0 0 0 0 0 0 0
0 0 0 0.9985 0 0 0 0 0 0 0 0
0 0 0 0.0155 0.9923 0 0 0 0 0 0 0
0 0 0 0 0 0.9984 0 0 0 0 0 0
0 0 0 0 0 0.0278 0.9861 0 0 0 0 0
0 0 0 0 0 0 0 0.9992 0 0 0 0
0 0 0 0 0 0 0 0.0278 0.9861 0 0 0
0 0 0 0 0 0 0 0 0 0.9991 0 0
0 0 0 0 0 0 0 0 0 0.0112 0.9944 0
0 0 0 0 0 0 0 0 0 0 0 0.9988
0 0 0 0 0 0 0 0 0 0 0 0.0093
0 0 0 0 0 0 0 0 0 0 0 0
0 0 0 0 0 0 0 0 0 0 0 0
0 0 0 0 0 0 0 0 0 0 0 0
0 0 0 0 0 0 0 0 0 0 0 0
0 0 0 0 0 0 0 0 0 0 0 0
0 0 0 0 0 0 0 0 0 0 0 0
0 0 0 0 0 0 0 0 0 0 0 0
0 0 0 0 0 0 0 0 0 0 0 0
0 0 0 0 0 0 0 0 0 0 0 0
1.0000 -1.0000 1.0000 -1.0000 1.0000 0 0 0 0 0 0 0
0 0 0 0 0 -1.0000 1.0000 -1.0000 1.0000 -1.0000 1.0000 -1.0000
0 0 0 0 0 0 0 0 0 0 0 0
Columns 25 through 36
0 0 0 0 0 0 0 0 0 0 0 0
0 0 0 0 0 0 0 0 0 0 0 0
0 0 0 0 0 0 0 0 0 0 0 0
0 0 0 0 0 0 0 0 0 0 0 0
0 0 0 0 0 0 0 0 0 0 0 0
0 0 0 0 0 0 0 0 0 0 0 0
0 0 0 0 0 0 0 0 0 0 0 0
0 0 0 0 0 0 0 0 0 0 0 0
0 0 0 0 0 0 0 0 0 0 0 0
0 0 0 0 0 0 0 0 0 0 0 0
0 0 0 0 0 0 0 0 0 0 0 0
0 0 0 0 0 0 0 0 0 0 0 0
0 0 0 0 0 0 0 0 0 0 0 0
0 0 0 0 0 0 0 0 0 0 0 0
0 0 0 0 0 0 0 0 0 0 0 0
0 0 0 0 0 0 0 0 0 0 0 0
0 0 0 0 0 0 0 0 0 0 0 0
0 0 0 0 0 0 0 0 0 0 0 0
0 0 0 0 0 0 0 0 0 0 0 0
0 0 0 0 0 0 0 0 0 0 0 0
0 0 0 0 0 0 0 0 0 0 0 0
0 0 0 0 0 0 0 0 0 0 0 0
0 0 0 0 0 0 0 0 0 0 0 0
0 0 0 0 0 0 0 0 0 0 0 0
0.9953 0 0 0 0 0 0 0 0 0 0 0
0 0.9984 0 0 0 0 0 0 0 0 0 0
0 0.0186 0.9907 0 0 0 0 0 0 0 0 0
0 0 0 0.9989 0 0 0 0 0 0 0 0
0 0 0 0.0127 0.9937 0 0 0 0 0 0 0
0 0 0 0 0 0.9987 0 0 0 0 0 0
0 0 0 0 0 0.0093 0.9953 0 0 0 0 0
0 0 0 0 0 0 0 0.9993 0 0 0 0
0 0 0 0 0 0 0 0.0058 0.9971 0 0 0
0 0 0 0 0 0 0 0 0 1.0000 0 0
0 0 0 0 0 0 0 0 0 0 1.0000 0
1.0000 0 0 0 0 0 0 0 0 0 0 1.0000
0 -1.0000 1.0000 -1.0000 1.0000 -1.0000 1.0000 -1.0000 1.0000 0 0 0
Column 37
0
0
0
0
0
0
0
0
0
0
0
0
0
0
0
0
0
0
0
0
0
0
0
0
0
0
0
0
0
0
0
0
0
0
0
0
1.0000
B1 =
0.0384 0 0 0
0.0005 0 0 0
0.0000 0 0 0
0 -0.0033 0 0
0 -0.0001 0 0
0 0 0.0384 0
0 0 0.0005 0
0 0 -0.0000 0
0 0 0 0.0384
0 0 0 0.0005
0 0 0 0.0000
0 0.0007 0 0
0 0.0000 0 0
0 0 0.0004 0
0 0 0.0000 0
0 0 0 0.0013
0 0 0 0.0000
-0.0011 0 0 0
-0.0000 0 0 0
0 0.0002 0 0
0 0.0000 0 0
0 0 0.0008 0
0 0 0.0000 0
0 0 0 0.0006
0 0 0 0.0000
-0.0002 0 0 0
-0.0000 0 0 0
0 0.0001 0 0
0 0.0000 0 0
0 0 0.0001 0
0 0 0.0000 0
0 0 0 0.0001
0 0 0 0.0000
0 0 0 0
0 0 0 0
0 0 0 0
0 0 0 0
C1 =
Columns 1 through 20
0 0 0 0 0 0 0 0 0 0 0 0 0 0 0 0 0 0 0 0
0 0 0 0 0 0 0 0 0 0 0 0 0 0 0 0 0 0 0 0
0 0 0 0 0 0 0 0 0 0 0 0 0 0 0 0 0 0 0 0
0 0 0 0 0 0 0 0 0 0 0 0 0 0 0 0 0 0 0 0
Columns 21 through 37
0 0 0 0 0 0 0 0 0 0 0 0 0 1 0 0 0
0 0 0 0 0 0 0 0 0 0 0 0 0 0 1 0 0
0 0 0 0 0 0 0 0 0 0 0 0 0 0 0 1 0
0 0 0 0 0 0 0 0 0 0 0 0 0 0 0 0 1
K =
1.0e+003 *
Columns 1 through 12
0.0004 0.0064 0.0046 -0.0111 0.0123 0.0006 0.0060 -0.0045 0.0004 0.0060 0.0045 0.0046
0.0006 0.0021 0.0055 -0.0062 0.0107 0.0005 0.0020 -0.0055 0.0007 0.0020 0.0055 0.0148
0.0021 0.0062 0.0043 -0.0115 0.0122 0.0021 0.0068 -0.0043 0.0016 0.0061 0.0043 0.0395
0.0023 0.0057 0.0037 -0.0011 0.0110 0.0021 0.0056 -0.0037 0.0027 0.0064 0.0038 -0.0981
Columns 13 through 24
-0.0165 0.0305 -0.0271 0.0328 -0.0278 -0.0629 -0.0589 -0.0539 -0.0589 0.0373 -0.1078 0.0462
0.0382 -0.0327 0.0614 -0.0367 0.0630 -0.0073 0.0034 -0.0202 0.0034 -0.0268 0.0053 -0.0211
-0.0126 0.0753 -0.0215 0.0795 -0.0221 0.1055 0.0455 0.1545 0.0455 0.0897 0.0883 0.0549
-0.0270 -0.0866 -0.0464 -0.0869 -0.0482 -0.0302 0.0153 -0.0766 0.0153 -0.1052 0.0240 -0.0859
Columns 25 through 36
-0.1173 -0.1704 -0.0363 -0.2339 -0.0512 -0.1978 -0.0673 -0.3134 -0.1028 0.0004 -0.0002 -0.0008
0.0054 0.1627 0.0338 0.2241 0.0479 0.1893 0.0633 0.3033 0.0968 0.0006 0.0007 0.0000
0.0982 -0.5156 -0.0681 -0.7405 -0.1021 -0.6439 -0.1429 -1.0379 -0.2414 0.0004 -0.0002 0.0006
0.0244 0.5344 0.0678 0.7721 0.1016 0.6741 0.1429 1.0857 0.2443 0.0003 -0.0006 0.0002
Column 37
-0.0003
0.0003
-0.0006
0.0006
L =
0.0623 -0.0000 -0.0000 0.0000
0.0771 -0.0000 -0.0000 0.0000
0.2162 -0.0000 -0.0000 0.0000
0.2181 0.0000 -0.0000 -0.0000
0.5175 0.0000 -0.0000 -0.0000
0.0623 -0.0000 0.0000 -0.0000
0.0771 -0.0000 0.0000 -0.0000
-0.2162 0.0000 -0.0000 0.0000
0.0623 0.0000 0.0000 0.0000
0.0771 0.0000 0.0000 0.0000
0.2162 0.0000 0.0000 0.0000
-0.0000 0.1229 0.0000 -0.0000
-0.0000 0.3421 0.0000 -0.0000
-0.0000 0.1079 0.0000 0.0000
-0.0000 0.3455 0.0000 0.0000
0.0000 0.1076 -0.0000 -0.0000
0.0000 0.3482 -0.0000 -0.0000
0.0000 0.0000 0.0789 -0.0000
0.0000 0.0000 0.2349 -0.0000
0.0000 -0.0000 0.1252 -0.0000
0.0000 -0.0000 0.3223 -0.0000
-0.0000 0.0000 0.1000 0.0000
-0.0000 0.0000 0.3037 0.0000
0.0000 0.0000 0.0665 0.0000
0.0000 0.0000 0.2504 0.0000
-0.0000 0.0000 0.0000 0.0709
-0.0000 0.0000 0.0000 0.2282
-0.0000 -0.0000 0.0000 0.0839
-0.0000 -0.0000 0.0000 0.2651
0.0000 -0.0000 0.0000 0.0613
0.0000 -0.0000 0.0000 0.2373
0.0000 0.0000 0.0000 0.0892
0.0000 0.0000 -0.0000 0.3165
1.6703 0.0000 -0.0000 -0.0000
0.0000 1.6189 0.0000 0.0000
-0.0000 0.0000 1.6746 0.0000
-0.0000 0.0000 0.0000 1.6746
5. Моделирование замкнутой системы и оценка качества переходных процессов
Для получения переходных процессов следует сформировать матрицы замкнутой системы и получить переходные процессы с помощью программы dstep.
Ar=[Ad-Bd*K1 -Bd*K2-L1 L1; C eye(2)-L2 L2; zeros(2,8) zeros(2) eye(2)];
Br=[zeros(8,2); zeros(2); eye(2)];
Cr=[-K zeros(2)];
При оценке качества переходных процессов необходимо чтоб отклонение управляющих воздействий не превышало 30% открытия.
Максимальное возмущение следует принять на уровне 10% номинального значения соответствующих параметров. Допустимое значение регулируемых переменных нужно принять равными 20% номинального значения.

Рисунок. Переходные процессы замкнутосистемы(f=[0.5;05;05;1];z=[7;0.8;1.5;2.8])
6. Преобразование модели регулятора в форму, отвечающую ее реализации в программном обеспечении
ПИ закон регулирования вычисляется по формулам:
y=C*x; x=Ad*x+Bd*(u+f);
e=-z+y;
u=Cr*xr; xr=Ar*xr+Br*e;
Где Ar,Br,Cr матрицы регулятора:
K1=K(:,1:n);K2=K(:,n+1:n+m);
L1=L(1:n,:);L2=L(n+1:n+l,:);
Ar2=[ Ad-Bd*K1 -Bd*K2-L1 L1;
C eye(l)-L2 L2;
zeros(l,n) zeros(l) eye(l)];
Br2=[Bd;zeros(l,m);eye(m)];
Cr2=[-K zeros(m,l)];
7. Выбор технических средств реализации системы управления
Технические средства реализации системы управления включают датчики регулированных параметров, исполнительные механизмы и регулирующие органы, преобразователи, рабочую станцию.
Общая структурная схема рабочей станции изображена на рисунке
Рабочая станция имеет вид:


processor


NVIDIA GeForce 8500 GT
Рисунок. Схема рабочей станции.
|
№ |
Наименование |
Количество |
|
1 |
Мат. плата Gigabyte GA-EG41MFT-US2H |
1 |
|
2 |
Процессор DualCore AMD Athlon 64 X2, 2200 MHz (11 x 200) 4200+ |
1 |
|
3 |
Модуль памяти DIMM2: Samsung M3 78T2863QZS-CF7 1Гб |
2 |
|
4 |
Жесткий диск SAMSUNG 500Гб |
1 |
|
5 |
Видеокарта NVIDIA GeForce 8500 GT 512мб. |
1 |
|
6 |
Монитор 19 LG TFT W1942SE PF |
1 |
|
7 |
Клавиатура Sven KB-2925 PS/2 |
1 |
|
8 |
МышьA4Tech A4Tech OP-50D Optical PS/2 |
1 |
|
9 |
Корпус Zalman MS1000-HS1 |
1 |
Таблица. Технические характеристики компьютера
|
№ |
Тип |
К-во |
Найменування |
|
1 |
БАЙКАЛ-МК |
1 |
Гигрометр кулометрический стационарный |
|
2 |
ADAM-4013 1 |
3 |
термометр сопротивления |
|
3 |
ADAM 4069 |
4 |
Модуль c релейными выходами, 8 реле с нормально разомкнутым контактом, нагрузочная способность контактов: 250 В/ 5 A для перем. тока, 30 В/ 5 A для пост. тока, время включения 5 мс , время выключения 5,6 мс |
|
4 |
МЭО 40/25-0,25 |
4 |
Механизм исполнительный одно-оборотный , номинальный крутя-щий момент 40кгс/м, номинальный ход выходного органа 0,25 оборота за 25с, Напряжение питания 220В. Частота 50Гц |
Таблица. Упрощённая спецификация технических средств.
Технические средства автоматизации
БАЙКАЛ-МК гигрометр кулонометрический стационарный

Предназначен для измерений объемной доли влаги в азоте, кислороде, водороде, углекислом газе, воздухе и их смесях, а также в инертных и других газах, не взаимодействующих с фосфорным ангидридом, и представляет собой стационарный прибор непрерывного действия. Принцип действия гигрометра основан на кулонометрическом методе измерения. Гигрометр выпускается в 3-х исполнениях:
- с датчиком на высокое давление (от 0,16 до 40 МПа);
- с датчиком на низкое давление (от 0,03 до 0,16 МПа);
- с датчиком на разрежение (от минус 0,005 до плюс 0,03 МПа).
Гигрометр используется в химической, нефтехимической промышленности, на предприятиях по производству полупроводников, микросхем, микроконтроллеров, полимерных материалов, легированных сталей, а также в атомной промышленности и наземных космических объектах. Показатели конкурентоспособности:
- выбор единиц измерений по влажности с отображением на дисплее: ppm, мг/м3, °С т.р.;
- наличие интерфейса RS-485 для связи с ЭВМ;
- наличие функции почасового и суточного архива с энергонезависимой памятью;
- дисплей повышенной яркости;
- автоматический выбор диапазонов измерений;
- высокая точность и надежность;
- устройство сигнализации о неисправности чувствительного элемента;
- устройство задания и сигнализации о превышении в анализируемом газе заданного значения объемной доли влаги;
- активная защита чувствительного элемента по напряжению и влажности;
- измерительная схема гигрометра выполнена на микроконтроллере;
- возможность реализации альтернативной независимой поверки при отсутствии эталонов;
- возможность размещения блоков гигрометра друг от друга на расстоянии до 300 м.


ADAM-4013 1-канальный модуль аналогового ввода сигнала стермосопротивления



Вывод
Разработан проект автоматической системы регулирования промышленного кондиционера. Данный проект включает следующие элементы:
Математическое обеспечение: разработана математическая модель объекта виде матриц входов, внутренних состояний и выходов; данные матрицы переведены в дискретное время; разработан многомерный ПИ регулятор. Все расчеты проведены автоматически в среде Matlab.
Техническое обеспечение: разработан функциональная схема автоматизации, подобрано оборудование для технической реализации данной системы.
Программное обеспечение: разработана программа, моделирующая поведение системы.
Испытание данной программы показало удовлетворительные результаты, что говорит о том что разработанное математическое обеспечение адекватно объекту автоматизации
Литература
Стопакевич А.А. Теория систем и системный анализ. Учебник для вузов.- Киев: ВИПОЛ, 1996.-200 с.
Стопакевич А.А. Сложные системы: анализ, синтез, управление. Монография. - Одесса: КРЕД, 2004.-278 с.
Демченко В.А. Автоматизация и моделирование технологических процессов АЭС и ТЭС.- Одесса: Астропринт, 2001.-308с.
Потемкин В.Г., Рудаков П.И. Matlab 5.0 для студентов. - М.: Диалог-МИФИ, 1999.-448с.
Стопакевич А.А. Matlab. Методические указания к лабораторным работам, курсового и дипломного проектирования. - Одесса, 2000.-18 с.
Каталог продукции фирмы ProSoft. - М.,2003.-178 с.
Чистяков В.С. Краткий справочник по теплофизическим измерениям. - М.: Энергоатомиздат, 1990.-320 с.
Приложение А
Текст программы
A=[-1/118 0 0 0 0 0 0 0 0 0 0 0 0 0 0 0 0 0 0 0 0 0 0 0 0 0 0 0 0 0 0 0 0;
1/26.7 -1/26.7 0 0 0 0 0 0 0 0 0 0 0 0 0 0 0 0 0 0 0 0 0 0 0 0 0 0 0 0 0 0 0;
0 4/14 -2/14 0 0 0 0 0 0 0 0 0 0 0 0 0 0 0 0 0 0 0 0 0 0 0 0 0 0 0 0 0 0;
0 0 0 -1/1300 0 0 0 0 0 0 0 0 0 0 0 0 0 0 0 0 0 0 0 0 0 0 0 0 0 0 0 0 0;
0 0 0 4/80 -2/80 0 0 0 0 0 0 0 0 0 0 0 0 0 0 0 0 0 0 0 0 0 0 0 0 0 0 0 0;
0 0 0 0 0 -1/118 0 0 0 0 0 0 0 0 0 0 0 0 0 0 0 0 0 0 0 0 0 0 0 0 0 0 0;
0 0 0 0 0 1/26.7 -1/26.7 0 0 0 0 0 0 0 0 0 0 0 0 0 0 0 0 0 0 0 0 0 0 0 0 0 0;
0 0 0 0 0 0 4/-14 -2/14 0 0 0 0 0 0 0 0 0 0 0 0 0 0 0 0 0 0 0 0 0 0 0 0 0;
0 0 0 0 0 0 0 0 -1/118 0 0 0 0 0 0 0 0 0 0 0 0 0 0 0 0 0 0 0 0 0 0 0 0;
0 0 0 0 0 0 0 0 1/26.7 -1/26.7 0 0 0 0 0 0 0 0 0 0 0 0 0 0 0 0 0 0 0 0 0 0 0;
0 0 0 0 0 0 0 0 0 4/14 -2/14 0 0 0 0 0 0 0 0 0 0 0 0 0 0 0 0 0 0 0 0 0 0;
0 0 0 0 0 0 0 0 0 0 0 -1/430 0 0 0 0 0 0 0 0 0 0 0 0 0 0 0 0 0 0 0 0 0;
0 0 0 0 0 0 0 0 0 0 0 4/80 -2/80 0 0 0 0 0 0 0 0 0 0 0 0 0 0 0 0 0 0 0 0;
0 0 0 0 0 0 0 0 0 0 0 0 0 -1/470 0 0 0 0 0 0 0 0 0 0 0 0 0 0 0 0 0 0 0;
0 0 0 0 0 0 0 0 0 0 0 0 0 4/170 -2/170 0 0 0 0 0 0 0 0 0 0 0 0 0 0 0 0 0 0;
0 0 0 0 0 0 0 0 0 0 0 0 0 0 0 -1/480 0 0 0 0 0 0 0 0 0 0 0 0 0 0 0 0 0;
0 0 0 0 0 0 0 0 0 0 0 0 0 0 0 4/180 -2/180 0 0 0 0 0 0 0 0 0 0 0 0 0 0 0 0;
0 0 0 0 0 0 0 0 0 0 0 0 0 0 0 0 0 -1/430 0 0 0 0 0 0 0 0 0 0 0 0 0 0 0;
0 0 0 0 0 0 0 0 0 0 0 0 0 0 0 0 0 4/100 -2/100 0 0 0 0 0 0 0 0 0 0 0 0 0 0;
0 0 0 0 0 0 0 0 0 0 0 0 0 0 0 0 0 0 0 -1/840 0 0 0 0 0 0 0 0 0 0 0 0 0;
0 0 0 0 0 0 0 0 0 0 0 0 0 0 0 0 0 0 0 4/100 -2/100 0 0 0 0 0 0 0 0 0 0 0 0;
0 0 0 0 0 0 0 0 0 0 0 0 0 0 0 0 0 0 0 0 0 -1/800 0 0 0 0 0 0 0 0 0 0 0;
0 0 0 0 0 0 0 0 0 0 0 0 0 0 0 0 0 0 0 0 0 4/250 -2/250 0 0 0 0 0 0 0 0 0 0;
0 0 0 0 0 0 0 0 0 0 0 0 0 0 0 0 0 0 0 0 0 0 0 -1/570 0 0 0 0 0 0 0 0 0;
0 0 0 0 0 0 0 0 0 0 0 0 0 0 0 0 0 0 0 0 0 0 0 4/300 -2/300 0 0 0 0 0 0 0 0;
0 0 0 0 0 0 0 0 0 0 0 0 0 0 0 0 0 0 0 0 0 0 0 0 0 -1/450 0 0 0 0 0 0 0;
0 0 0 0 0 0 0 0 0 0 0 0 0 0 0 0 0 0 0 0 0 0 0 0 0 4/150 -2/150 0 0 0 0 0 0;
0 0 0 0 0 0 0 0 0 0 0 0 0 0 0 0 0 0 0 0 0 0 0 0 0 0 0 -1/640 0 0 0 0 0;
0 0 0 0 0 0 0 0 0 0 0 0 0 0 0 0 0 0 0 0 0 0 0 0 0 0 0 4/220 -2/220 0 0 0 0;
0 0 0 0 0 0 0 0 0 0 0 0 0 0 0 0 0 0 0 0 0 0 0 0 0 0 0 0 0 -1/540 0 0 0;
0 0 0 0 0 0 0 0 0 0 0 0 0 0 0 0 0 0 0 0 0 0 0 0 0 0 0 0 0 4/300 -2/300 0 0;
0 0 0 0 0 0 0 0 0 0 0 0 0 0 0 0 0 0 0 0 0 0 0 0 0 0 0 0 0 0 0 -1/950 0;
0 0 0 0 0 0 0 0 0 0 0 0 0 0 0 0 0 0 0 0 0 0 0 0 0 0 0 0 0 0 0 4/480 -2/480];
B=[6.5/118000;
0000;
0000;
0-6.1/130000;
0000;
006.5/1180;
0000;
0000;
0 006.5/118;
0 000;
0 000;
00.4/43000;
0000;
000.3/4700;
0000;
0000.9/480;
0000;
-0.7/430000;
0000;
00.2/84000;
0000;
000.9/8000;
0000;
0000.5/570;
0000;
-0.1/450000;
0000;
00.1/64000;
0000;
000.1/5400;
0000;
0000.2/950;
0000];
%B=[ 0 0 0 0;0 0.4/430 0 0;0 0 0 0;0 0 0.3/470 0;0 0 0 0;0 0 0 0.9/480;0 0 0 0;-0.7/430 0 0 0;0 0 0 0;0 0.2/840 0 0;0 0 0 0;0 0 0.9/800 0;0 0 0 0;0 0 0 0.5/570;0 0 0 0;-0.1/450 0 0 0;0 0 0 0;0 0.1/640 0 0;0 0 0 0;0 0 0.1/540 0;0 0 0 0;0 0 0 0.2/950;0 0 0 0];
C=[0 -1 1 -1 1 0 -1 -1 0 -1 1 0 0 0 0 0 0 0 0 0 0 0 0 0 0 0 0 0 0 0 0 0 0;
0 0 0 0 0 0 0 0 0 0 0 -1 1 -1 1 -1 1 0 0 0 0 0 0 0 0 0 0 0 0 0 0 0 0;
0 0 0 0 0 0 0 0 0 0 0 0 0 0 0 0 0 -1 1 -1 1 -1 1 -1 1 0 0 0 0 0 0 0 0;
0 0 0 0 0 0 0 0 0 0 0 0 0 0 0 0 0 0 0 0 0 0 0 0 0 -1 1 -1 1 -1 1 -1 1];
%%%%%%%%%%%%%%%%%%%%%%%%%%%%%%%%%%%%%%%%%%%%%%%%%%%%%%%%%%%%%%%%%%%%%%%%%%%
dt=0.1/max(abs(eig(A))); %0.25
D=zeros(4);
t=[0:dt:5000];
[Ad Bd]=c2d(A,B,dt);
G=length(t);
y=dstep(Ad,Bd,C,D,1,G);
%%%%%%%%%%%%%%%%%%%%%%%%%%%%%%%%%%%%%%%%%%%%%%%%%%%%%%%%%%%%%%%%%%%%%%%%%%%
figure(1)
sub>plot(4,4,1); plot(t,y(:,1));grid;ylabel('y1,РЎ');title('Razgon u1,1%');
sub>plot(4,4,5); plot(t,y(:,2));grid;ylabel('y2,РЎ');
sub>plot(4,4,9); plot(t,y(:,3));grid;ylabel('y3,РЎ');
sub>plot(4,4,13); plot(t,y(:,4));grid;ylabel('y4,РЎ');
%%%%%%%%%%%%%%%%%%%%%%%%%%%%%%%%%%%%%%%%%%%%%%%%%%%%%%%%%%%%%%%%%%%%%%%%%%%
y=dstep(Ad,Bd,C,D,2,G);
sub>plot(4,4,2); plot(t,y(:,1));grid;ylabel('y1,РЎ');title('Razgon u2,1%');
sub>plot(4,4,6); plot(t,y(:,2));grid;ylabel('y2,РЎ');
sub>plot(4,4,10); plot(t,y(:,3));grid;ylabel('y3,РЎ');
sub>plot(4,4,14); plot(t,y(:,4));grid;ylabel('y4,РЎ');
%%%%%%%%%%%%%%%%%%%%%%%%%%%%%%%%%%%%%%%%%%%%%%%%%%%%%%%%%%%%%%%%%%%%%%%%%%%
y=dstep(Ad,Bd,C,D,3,G);
sub>plot(4,4,3); plot(t,y(:,1));grid;ylabel('y1,РЎ');title('Razgon u3,1%');
sub>plot(4,4,7); plot(t,y(:,2));grid;ylabel('y2,РЎ');
sub>plot(4,4,11); plot(t,y(:,3));grid;ylabel('y3,РЎ');
sub>plot(4,4,15); plot(t,y(:,4));grid;ylabel('y4,РЎ');
y=dstep(Ad,Bd,C,D,4,G);
sub>plot(4,4,4); plot(t,y(:,1));grid;ylabel('y1,РЎ');title('Razgon u4,1%');
sub>plot(4,4,8); plot(t,y(:,2));grid;ylabel('y2,РЎ');
sub>plot(4,4,12); plot(t,y(:,3));grid;ylabel('y3,РЎ');
sub>plot(4,4,16); plot(t,y(:,4));grid;ylabel('y4,РЎ');
%%%%%%%%%%%%%%%%%%%%%%%%%%%%%%%%%%%%%%%%%%%%%%%%%%%%%%%%%%%%%%%%%%%%%%%%%%%
A1=[Ad zeros(33,4); C eye(4)];
B1=[Bd;zeros(4)];
C1=[zeros(4,33) eye(4)];
Q=[eye(33) zeros(33,4);zeros(4,33) eye(4)];
R=eye(4);
Q1=eye(37);
R1=eye(4);
K=dlqr(A1,B1,Q,R);
L=dlqr(A1',C1',Q1,R1)';
K1=K(:,1:33);
K2=K(:,34:37);
L1=L(1:33,:);
L2=L(34:37,:);
Ar=[Ad-Bd*K1 -Bd*K2-L1 L1; C eye(4)-L2 L2; zeros(4,33) zeros(4) eye(4)];
Br=[zeros(33,4); zeros(4); eye(4)];
Cr=[-K zeros(4)];
x=zeros(33,1); xr=zeros(41,1); u=zeros(4,1);
yy=[]; uu=[];f=[0.5;0.5;0.5;1];z=[7;0.8;1.5;2.8];
%%%%%%%%%%%%%%%%%%%%%%%%%%%%%%%%%%%%%%%%%%%%%%%%%%%%%%%%%%%%%%%%%%%%%%%%%
for i=1:10000,
y=C*x; e=-z+y;
u=Cr*xr; xr=Ar*xr+Br*e;
y=C*x; x=Ad*x+Bd*(u+f);
yy=[yy; y']; uu=[uu; u'];
end
%%%%%%%%%%%%%%%%%%%%%%%%%%%%%%%%%%%%%%%%%%%%%%%%%%%%%%%%%%%%%%%%%%%%%%%%%
x1=x; xr1=xr; u1=u;
figure(2)
sub>plot(4,4,2); plot(yy(:,1));grid;ylabel('y1,C');title('y1');
sub>plot(4,4,4); plot(yy(:,2));grid;ylabel('y2,C');title('y2');
sub>plot(4,4,6); plot(yy(:,3));grid;ylabel('y3,C');title('y3');
sub>plot(4,4,8); plot(yy(:,4));grid;ylabel('y4,C');title('y4');
sub>plot(4,4,1); plot(uu(:,1));grid;ylabel('u1,%');title('u1');
sub>plot(4,4,3); plot(uu(:,2));grid;ylabel('u2,%');title('u2');
sub>plot(4,4,5); plot(uu(:,3));grid;ylabel('u3,%');title('u3');
sub>plot(4,4,7); plot(uu(:,4));grid;ylabel('u4,%');title('u4');
Функциональная схема автоматизации приведена на рисунке


Рисунок – Функциональная схема автоматизации












