Віртуальний вимірювальний комплекс на базі учбового лабораторного стенду EV 8031
МІНІСТЕРСТВО ОСВІТИ І НАУКИ УКРАЇНИ
НАЦІОНАЛЬНИЙ ТЕХНІЧНИЙ УНІВЕРСИТЕТ
“ХАРКІВСЬКИЙ ПОЛІТЕХНІЧНИЙ ІНСТИТУТ”
Факультет xxxx Кафедра Обчислювальна техніка та програмування__
Спеціальність Системне програмування xxxx___________
До захисту допускаю
Завідувач кафедри
________________проф._xxxxxxxx
(ініціали та прізвище)
_________________________________
(підпис, дата)
ДИПЛОМНИЙ ПРОЕКТ
Освітньо-каліфікаційного рівня спеціаліст__
Тема проекту: Віртуальний вимірювальний комплекс на базі учбового______ лабораторного стенду EV8031________________________________________
затверджена наказом по НТУ «ХПІ» від “21” листопада 2008 р. № xxxxx
Харків 2009
|
Найменування виробу, об'єкту або теми |
Найменування документу |
Фор- мат |
Кільк. арк. |
При-мітка |
|||
|
Документи загальні |
|||||||
|
Завдання |
А4 |
2 |
|||||
|
Звіт |
А4 |
91 |
|||||
|
Програмні документи |
|||||||
|
Документи дипломного проекту |
Технічне завдання |
А4 |
8 |
||||
|
Специфікація |
А4 |
2 |
|||||
|
Текст програми |
А4 |
48 |
|||||
|
Опис програми |
А4 |
8 |
|||||
|
Керівництво оператора |
А4 |
7 |
|||||
|
Плакати |
|||||||
|
Тема проекту |
А1 |
1 |
|||||
|
Структурна схема стенду, та розподілення його ресурсів |
А1 |
1 |
|||||
|
Результати роботи |
А1 |
1 |
|||||
|
Протокол обміну з COM портом |
А1 |
1 |
|||||
|
Формули для розрахунків |
А1 |
1 |
|||||
|
Схема алгоритму |
А4 |
8 |
|||||
|
XXXXX-23А 03077.13 ВД |
|||||||
|
Прізвище |
Підп |
Дата |
|||||
|
Розроб. |
Xxxxx |
Віртуальний висірювальний комплекс на базі учбового лабораторного стенду EV8031 Відомість документів |
Літ. |
Аркуш |
Аркушів |
||
|
Перев. |
Xxxxx |
ДПС |
1 |
1 |
|||
|
НТУ «ХПІ» Кафедра ОТП |
|||||||
|
Н. конт. |
Xxxxx |
||||||
|
Затв. |
Домнін |
НАЦІОНАЛЬНИЙ ТЕХНІЧНИЙ УНІВЕРСИТЕТ “ХПІ”
Факультет XX Кафедра Обчислювальна техніка та програмування_____________
Спеціальність Системне програмування xxx_
ЗАТВЕРДЖУЮ
Завідувач кафедри
_____________________________
(підпис, ініціали та прізвище)
ЗАВДАННЯ
на виконання дипломного проекту
освітньо-кваліфікаційного рівня спеціаліст__
Студенту ______________________________________________
1. Тема проекту Віртуальний вимірювальний комплекс на базі учбового лабораторного стенду EV8031__________________
2. Зміст завдання Розробка програмного забеспечення віртуального вимірювального комплексу, який містить логічний аналізатор та генератор слів. Інтерфейс користувача повинен надавати можливість налагодження швидкості, ввод та відображення данних, керування режимами пуску, остановом, запуском по каналу, режимами циклічної генерації, маштабуванням проаналізованої послідовності, наявність та керування глибиною передпускової реєстрації.
3. Вихідні дані для виконання проекту Апаратна частина – учбовий лабораторний стенд EV8031 з мікроконтролером AVR ATMega8515, зв’язок між ПК і апаратурою реалізувати за допомогою послідовного порту RS-232. Програмна частина повинна мати інтерфейс користувача, як у аналогічних віртуальних пристроїв програми Electronic Workbench. Мова програмування для ПК Delphi.
4. Скласти звіт і виконати необхідні документи (програмні, плакати) відповідно до плану виконання дипломної роботи
Програмні документи (текст програми, керівництво оператора, опис програми, пояснювальна записка)___
План виконання дипломного проекту
|
Етап |
Найменування |
Термін виконання |
Прізвище консультанта |
|
1 |
Аналіз поставленої задачі. |
05.09.2008 |
Xxxxx М.В. |
|
2 |
Розробка архітектури системи. |
10.09.2008 |
Xxxxx М.В. |
|
3 |
Розробка структур та данних. |
05.10.2008 |
Xxxxx М.В. |
|
4 |
Ознайомлення з питаннями охорони праці |
15.10.2008 |
Фомін А.Й. |
|
5 |
Розробка бізнес-плану |
11.11.2008 |
Погорєлов С.М. |
|
6 |
Створення коду ПЗ |
07.01.2009 |
Xxxxx М.В. |
|
7 |
Тестування і налагодження системи |
10.01.2009 |
Xxxxx М.В. |
|
8 |
Оформлення пояснювальної записки |
01.02.2009 |
Xxxxx М.В. |
|
9 |
Підготовка плакатів та доповіді |
07.02.2009 |
Xxxxx М.В. |
Керівник ДП _______________________________М.В. Xxxxx___
(підпис і дата) (ініціали та прізвище)
Студент-дипломник _____________________________________
(підпис і дата) (ініціали та прізвище)
ВІРТУАЛЬНИЙ ВИМІРЮВАЛЬНИЙ КОМПЛЕКС НА БАЗІ УЧБОВОГО ЛАБОРАТОРНОГО СТЕНДУ EV8031
Специфікація
xxxxxxx03077-01
Аркушів _2_
Харків 2009
|
Позначення |
Найменування |
Примітка |
|
Документація по комплексах |
||
|
Xxxxx.03077-13 12 01-1 |
Текст програми |
|
|
Xxxxx.03077-13 12 01-1-ЛЗ |
Текст програми |
|
|
Xxxxx.03077-13 34 01-1 |
Керівництво оператора |
|
|
Xxxxx.03077-13 34 01-1-ЛЗ |
Керівництво оператора |
|
|
Xxxxx.03077-13 13 01-1 |
Опис програми |
|
|
Xxxxx.03077-13 13 01-1-ЛЗ |
Опис програми |
ЗМІСТ
ЗМІСТ
ВСТУП
1 ПІДСТАВА ДЛЯ РОЗРОБКИ
2 ПРИЗНАЧЕННЯ РОЗРОБКИ
3 ВИМОГИ ДО ПРОГРАМНОГО ВИРОБУ
3.1 Вимоги до функціональних характеристик
3.2 Вимоги до надійності
3.3 Умови експлуатації
3.4 Вимоги до складу і параметрів технічних засобів
3.5 Вимоги до інформаційної та програмної сумістності
3.6 Вимоги до маркування й упакування
3.7 Вимоги до транспортування і зберігання
4 ВИМОГИ ДО ПРОГРАМНОЇ ДОКУМЕНТАЦІЇ
5 ТЕХНІКО-ЕКОНОМІЧНІ ПОКАЗНИКИ
6 СТАДІЇ ТА ЕТАПИ РОЗРОБКИ
7 ПОРЯДОК КОНТРОЛЮ І ПРИЙМАННЯ
ВСТУП
Данний програмний продукт є комплексом засобів, які дозволяють виконувати тестування цифрових пристроїв, за допомогою аналізу отриманої з них послідовності у відгук на подані тестові послідовності, за допомогою логічного аналізатора та генератора слів, відповідно.
Система, що розробляється, повинна мати зручний інтерфейс користувача, а зв’язок, зі стендом, повинен виконуватись за допомогою послідовного порту. Також, продукт повинен виглядати у вигляді готових модулів, для зручного запуску, або, у випадку ПЗ мікроконтролера, зручного завантаження стандартними засобами.
1 ПІДСТАВА ДЛЯ РОЗРОБКИ
Підставою для розробки є “завдання на виконання дипломного проекту”, видане викладачем кафедри “Обчислювальної техніки та програмування” xxxxxxxxxxxxxx 1xxx і затверджене кафедрою “Обчислювальна техніка та програмування”/протокол № 2/від 7.10.2008, а також наказом № xxxxxx по Національному технічному університету “Харківський політехнічний інститут” від 25.10.2008.
Найменування теми дипломного проекту:”Віртуальний вимірювальний комплекс на базі учбового лабораторного стенду EV8031”.
2 ПРИЗНАЧЕННЯ РОЗРОБКИ
Данний порограмний продукт призначений для налагодження різноманітних цифрових пристроїв, і має для цього декілька віртуальних пристоїв: логічний аналізатор та генератор слів. Подача тестової послідовності забеспечується генератором слів, а аналіз реакції пристрою – за допомогою логічного аналізатора.
Такий віртуальний комплекс дозволяє швидко і зручно налагодити необхідний цифровий пристрій, завдяки зручному інтерфейсу користувача, такому як у пакеті Electronic Workbench.
3 ВИМОГИ ДО ПРОГРАМНОГО ВИРОБУ
3.1 Вимоги до функціональних характеристик
Програмний продукт повинен забеспечувати наступні функціональні можливості:
Для ЛА:
- відображення сигналу на моніторі ПК у вигляді діаграм;
- дозволяти керування логічним аналізатором з ПК (через СОМ порт);
- можливість змінення масштабів по вісі часу ;
- зсув сигналу за часом;
зміна кольору сигналу;
можливість встановлення частоти реєстрації;
можливість встановлення передпускової реєстрації;
можливість встановлення типу сигналу запуску;
можливість встановлення каналу запуску;
Для ГC:
встановлення послідовності слів, які необхідно генерувати;
можливість встановлення частоти генерації;
можливість встановлення типу генерації: циклічний, одноразовий, пошаговий;
можливість керування запуском та зупенненям;
можливість перемикання ГС та ЛА у парний режим роботи.
3.2 Вимоги до надійності
Програмний вироб повинен забеспечувати виключення тупікових ситуацій в роботі. При обриві лінії зв’язку послідовного інтерфейсу програма повинна видати повідомлення про відсутність зв’язку з пристроєм.
3.3 Умови експлуатації
Програмний продукт “Віртуальний вимірювальний комплекс” повинен безперебійно функціонувати в нормальних умовах експлуатації:
температура навколишнього середовища від 5 до 35С;
вібрації, зовнішні магнітні, радіаційні і електричні поля не повинні перевищувати норми.
Для нормальної експлуатації системи необхідні початкові знання по експлуатації ПЕОМ.
Вимоги до рівня кваліфікації користувача – мінімальні знання спілкування з Windows-вікнами ПЕОМ.
3.4 Вимоги до складу і параметрів технічних засобів
Для функціонування програмного виробу необхідний ПЕОМ IBM PC AT/ATX з центральним процессором не нижче Pentium !!! або його аналогом, наявність послідовного COM порту.
3.5 Вимоги до інформаційної та програмної сумістності
При написанні програми повинні бути використані можливості які надає операційна система Windows. Програма повинна корректно працювати під керуванням Windows2000/XP.
Для написання модулів віртуального вимірювального комплексу повинна бути використана мова програмування Delphi 7.
3.6 Вимоги до маркування й упакування
На початку кожного файлу вихідних текстів програми записувати наступну інформацію:
ім’я данного файлу: __________________.____.;
функціональне призначення: ______(у проекті)________;
файл створений для дипломного проекта захисту кваліфікації фахівця
зафахом : Системне програмування
тема проекту : Віртуальний вимірювальний комплекс на базі учбового лабораторного стенду EV8031;
керівник : М.І. Скородєлов, викладач кафедри ОТП;
розробник : О.О. Ісмаілов, студент групи КІТ23а;
рік розробки : 2008.
На захисті надати файли програми (проекту) в розпакованому вигляді і упаковані zip або rar архіватором.
3.7 Вимоги до транспортування і зберігання
Транспортування результатів проектування може здійснюватися за допомогою будь-яких доступних носіїв: CD-R, CD-RW, Flash-RAM, HDD.
Берегти на накопичувачах сумістно: файли початкових текстів розробки, виконуваний файл, допоміжні файли і файли документів проекту.
4 ВИМОГИ ДО ПРОГРАМНОЇ ДОКУМЕНТАЦІЇ
Програмна документація програмного продукту “Віртуальний вимірювальний комплекс на базі учбового лабораторного стенду” повинна мітстити наступні документи:
Специфікація;
Текст програми(мікроконтроллера, і ПК);
Опис програми;
Керівництво оператора.
Додаткові вимоги до програмної.
Розробити Звіт про виконання дипломного проекту. У документі Звіт виклад основних розділів дипломного проекту повинен займали не менше 60 сторінок(без урахування розділів по економіці, охорони праці та додатків).
5 ТЕХНІКО-ЕКОНОМІЧНІ ПОКАЗНИКИ
Техніко-економічні показники повинні бути визначені в процессі розробки і зазначені у відповідному розділі звіту про виконання дипломного проекту.
6 СТАДІЇ ТА ЕТАПИ РОЗРОБКИ
Розробка програмного продукту відповідає стадії робочого проекту. Етапи розробки виконують в наступному порядку:
отримання завдання;
збір початкових матеріалів;
огляд літератури й обгрунтування необхідності розробки;
визначення областей застосування;
розробка технічного завдання;
техніко-економічне обгрунтування розробки;
розробка алгоритму розв’язання задачі;
розробка структури програмного продукту;
визначення конфігурації програмних засобів;
розробка пояснювальної записки(розділу або розділів Звіту);
програмування і налагодження програмного продукту;
розробка програмних документів;
тестування програмного продукту;
коректування програми та програмних документів за результатами тестування.
7 ПОРЯДОК КОНТРОЛЮ І ПРИЙМАННЯ
При прийманні дипломної роботи перевіряється:
Комплектність, зміст та оформлення документації згідно розділу 4 цього документу.
Відповідність програмного продукту згідно вимогам до програмного продукту розділу 3 цього документу.
РЕФЕРАТ
Звіт про ДП: 93 стр., 31 рис., 12 табл., 24 джерела
КЛЮЧОВІ СЛОВА: віртуальні пристрої, логічні аналізатори, генератор слів, учбово-лабораторний стенд EV8031.
У данній роботі розглянуте створення программного забеспечення таких віртуальних пристроїв, як:
Логічний аналізатор;
Генератор слів.
Та об’єднання їх у віртуальний вимірювальний комплекс на базі учбового лабораторного стенду.
Розроблено алгоритм і программа реалізації завдання. Чітко сформульовані основні проблеми, існуючі при розробці таких комплексів, та визначені нові підхіди для їх вирішення.
Розглянуті питання охорони праці й навколишнього середовища, проведена техніко-економічна оцінка роботи. На підставі аналізу результатів зроблені висновки й рекомендації для подальшої роботи в данному напрямку.
РЕФЕРАТ
Отчёт по ДП: 93 стр., 31 рис., 12 табл., 24 источника
КЛЮЧЕВЫЕ СЛОВА: виртуальные приборы,логические анализаторы, генератор слов, учебно-лабораторный стенд EV8031.
В данной работе рассматривается создание программного обеспечения таких виртуальных приборов, как:
Логический анализатор;
Генератор слов.
И объединения их в виртуальный измерительный комплекс на базе учебно-лабораторного стенда.
Разработан алгоритм и программа реализации задания. Четко сформулированы основные проблемы, существующие при разработке таких комплексов, и указаны пути их решения.
Рассмотрены вопросы охраны труда и окружающей среды, проведена технико-экономическая оценка работы. На основе анализа результатов сделаны выводы и рекомендации для дальнейшей работы в данном направлении.
ABSTRACT
Report on DP: 93 page, 31 fig., 12 tables., 24 source
KEYWORDS: virtual devices, logic analyzers, generator of words, educational laboratory stand EV8031.
Creation of software of such virtual devices is examined in this work, as:
- Logic analyzer;
- Generator of words.
And associations them in a virtual measuring complex on the base of educational laboratory stand.
An algorithm and program of realization of task is developed. Basic problems, existing at development of such complexes, are expressly formulated, and the ways of their decision are indicated.
The questions of labour and environment protection are considered, the technical and economic estimation of work is conducted. On the basis of analysis of results conclusions and recommendations are done for further work in this direction.
ЗМІСТ
РЕФЕРАТ
ВСТУП
1 ВИБІР ТА ОБҐРУНТУВАННЯ ОСНОВНИХ ТЕХНІЧНИХ РІШЕНЬ
1.1. Аналіз вихідного технічного завдання та постановка задачі
1.2.Огляд і аналіз аналогічних пристроїв
1.2.1. Портативні вимірювальні комплекси на базі дискретних спеціалізованих приладів
1.2.2. Спеціалізовані мікропроцесорні прилади
1.2.3. Прилади за технологією «віртуальні інструменти»
1.2.3.1. Віртуальні прилади фірми «Белвар»
1.2.3.2. Віртуальні прилади фірми «Omega»
1.2.3.3. Віртуальні прилади фірми «National Instruments»
1.3 Порівняльний аналіз та висновки
1.3.1 Короткі висновки 42
1.4. Зв'язок ВВК з IBM PC
1.4.1 Вибір інтерфейсу зв'язку
2 ОБЗОР АПАРАТНОЇ ЧАСТИНИ
2.1 Лабораторный стенд EV8031
2.1.1 Системний контроллер
2.1.2 Зовнішня пам’ять ОЗП
2.1.3 Порти вводу/виводу
2.1.4 Порт послідовної передачі данних
2.1.5 Мікроконтроллер
2.2 Мікроконтроллер ATMega8515
2.2.1 Архітектура AVR
2.2.2 Розподілення пам’яті мікроконтролера
2.2.3 Порти вводу виводу
Рис. 7 Блок схема порта вводу/виводу
2.2.4 Переривання та обробка переривань
2.2.5 Таймери
2.2.6 Послідовний приємопередавач USART
3 РОЗРОБКА ПРОГРАМНОГО ЗАБЕСПЕЧЕННЯ
3.1 Розробка програмного забеспечення мікроконтроллера
3.1.1 Розробка логічного аналізатора
3.1.2 Розробка генератора слів
3.1.3 Розробка алгоритму приємо передавача
3.1.4 Розробка головного циклу програми
3.2 Розробка програмного забеспечення ПК
3.2.1 Розробка інтерфейсу логічного аналізатора
Рис. 18 Інтерфейс користувача логічного аналізатора
3.2.2 Розробка інтерфейсу генератора слів
Рис. 19 Інтерфейс користувача генератору слів
3.2.3 Розробка інтерфейсу прийому/передачі
3.2.3 Розробка алгоритму програми
4 ТЕСТУВАННЯ ПРОГРАМНОГО ЗАБЕСПЕЧЕННЯ
5 БІЗНЕС-ПЛАН
5.1 Доцільність виробництва продукту
5.2 Опис характеристик продукту
5.2.1 Найменування та призначення
5.2.2 Загальні параметри продукту
5.3 Оцінка витрат на розробку
5.3.1 Визначення потреби у матеріальних та трудових ресурсах Ошибка! Закладка не определена.
5.4 Розрахунок витрат та договірної ціни продукту
5.5 Розрахунок витрат на тиражування
5.6 Аналіз стратегії маркетингу
5.6.1 Схема просування товару
5.6.2 Стимулювання продажу
5.6.3 Організація реклами та витрати на неї
5.7 Розробка фінансового плану
5.8 Висновки
6 ОХОРОНА ПРАЦІ ТА НАВКОЛИШНЬОГО СЕРЕДОВИЩА
6.1 Загальні питання охорони праці
6.2 Характеристика виробничого середовища приміщення, де виконується проектна робота
6.3 Аналіз небезпечних і шкідливих факторів
6.4 Виробнича санітарія
6.4.1 Метереологічні умови Ошибка! Закладка не определена.
6.4.2 Забезпечення виробничого освітлення
6.4.3 Шум
6.4.4 Випромінювання вiд екрана
6.5 Техніка безпеки
6.6 Пожежна безпека
6.7 Охорона навколишнього середовища
6.8 Висновок
ВИСНОВКИ
ВСТУП
Будь-який IBM-сумісний персональний комп’ютер (ПК), навіть той що декілька років простояв на полиці за непотрібністю, може перетворитися в дуже добрий віртуальний прилад або цілий вимірювальний комплекс. Для цього потрібно лише підключити до ПК один або декілька не дуже складних зовнішніх пристроїв або плат розширення. При цьому весь інтелектуальний потенциал комп’ютера можна використати для побудови програмної частини приладу, за рахунок якої і будуть реалізовуватися всі його основні функціональні можливості. Віртуальний прилад, таким чином, представляє собою більш чи менш складне програмне забеспечення, яке встановлюється на ПК, та деякого інтерфейсного пристрою (ІП) який дозволяє сполучити ПК з джерелами та приймачами інформації.
Можна разраховувати на те, що віртуальний прилад надає користувачеві набагато більш широкі можливості в порівнянні з класичним вимірювальним приладом, який має той же рівень технічних характеристик.
У даному дипломному проекті як раз і розглядається можливість створення віртуального вимірювального комплексу: логічного аналізатору та генератору слів.
Реальні форми сигналів, діючих, наприклад, на системних шинах, не грають істотної ролі. Важливі тільки їхні логічні стани в ті моменти часу, коли вони сприймаються приладом і містять необхідну інформацію.
Такий комплекс може використовуватися в якості універсального вимірювального приладу, призначеного для запам’ятовування та слідкування за системними сигналами, що надходять на його входи в вигляді «чистих» двійкових сигналів та зберігати їх в своїй внутрішній цифровій пам'яті при налагодженні функціональних вузлів і пристроїв різних апаратних засобів обчислювальної техніки (периферійних пристроїв і т.п.), мікропроцесорних і мікроконтролерних систем різного призначення, радіотехнічних систем і пристроїв, засобів телекомунікації і т.д.
Такий віртуальний вимірювальний комплекс може замінити собою цілий комплект рiзноманiтних вимiрювальних приладiв.
Він дозволяє виконувати наступні дії:
реєстрації послідовності логічних станів водночас і синхронно в багатьох точках схеми та протягом значного часового інтервалу;
реєстрації станів контрольних точок в деякому інтервалі часу, що передує вибраній оператором події;
оперативного подання результатів вимірів в різноманітних форматах, зручних для оператора та що не відрізняються від основних форм документування, таких, наприклад, як шістнадцятирічний формат, двійковий формат, дизасемблерний формат та інші.
Розробці такого віртуального вимірювального комплексу і присвячений даний дипломний проект.
1 ВИБІР ТА ОБҐРУНТУВАННЯ ОСНОВНИХ ТЕХНІЧНИХ РІШЕНЬ
1.1. Аналіз вихідного технічного завдання та постановка задачі
Пристрій, що розробляється в даному дипломному проекті – віртуальний вимірювальний комплекс (ВВК): логічний аналізатор. Такий ВВК може використовуватися в якості універсального вимірювального приладу, призначеного для для запам’ятовування та слідкування за системними сигналами, що надходять на його входи в вигляді «чистих» двійкових сигналів та зберігати їх в своїй внутрішній цифровій пам'яті при налагодженні функціональних вузлів і пристроїв різних апаратних засобів обчислювальної техніки (периферійних пристроїв і т.п.), мікропроцесорних і мікроконтролерних систем різного призначення, радіотехнічних систем і пристроїв, засобів телекомунікації і т.д. Такий ВВК може замінити собою цілий комплект вимірювальних приладів.
Саме через його універсальність, мобільність та легкість у використанні, а також відносно не високу ціну, цей ВВК пропонується для використання у лабораторіях ВУЗу при проведенні лабораторних робіт з таких дисциплін, як „Комп’ютерна електроніка”, „Комп’ютерна схемотехніка”, „Периферійні пристрої” та інші.
Розглянувши весь спектр лабораторних робіт, що проводяться по цих предметах, можна визначити основні технічні вимоги до віртуального вимірювального комплексу: логічного аналізатору, які є достатніми, для того, щоб цей ВВК можна було використовувати при проведенні цих лабораторних робіт. Ці технічні вимоги приведені нижче.
Розроблювальний ВВК повинний мати наступні характеристики:
- У режимі логічного аналізатору:
Кількість каналів – 8;
Кількість станів, що реєструються – 1024;
Тактовий генератор – внутрішній з змінною частотою або зовнішній;
Запуск – за позитивним або негативним перепадом на одній з 8-ми вхідних ліній.
Глибина передпускової реєстрації – задається програмно.
Елементна база – однокриштальний мікроконтролер типу ATMega8515.
Конструктивне виконання – зовнішній пристрій, що підключається до ПК через інтерфейс RS232;
Також, віртуальний вимірювальний комплекс: логічний аналізатор повинен дозволяти у інтерфейсі користувача відображати часові діаграми на екрані ПК. Програма візуалізації має дозволяти виконувати масштабування та скролінг цих діаграм, обирати їх колір, користуватися різноманітними настройками.
З погляду розроблювача такий ВВК – це нестандартний периферійний пристрій, що передає оброблений сигнал на персональний комп'ютер (ПК) для його остаточного аналізу і відображення. Програмні засоби ВВК при цьому повинні забезпечити максимально зручний і звичний для користувача режим введення і відображення інформації: повинний мати вікно, у якому можливо задати параметри і побачити результат (діаграму сигналу).
Процедура взаємодії користувача з ВВК полягає в наступному: користувач, за допомогою спеціального меню, задає настроювання приладу і режим його роботи.
Таким чином загальна задача, яка сформульована в початковому технічному завданні, може бути розбита на окремі функціональні задачі:
Апаратна частина яка приймає і перетворить аналогові сигнали в цифрові;
Програмне забезпечення пристрою: містить у собі питання побудови інтерфейсу і сервісних програм;
Організація зв'язку розроблювального пристрою з комп'ютером;
Для того щоб перейти до розгляду кожної функціональної задачі окремо необхідно розглянути питання, що стосуються пристрою у цілому. Також необхідно розглянути варіанти побудови пристроїв такого типу.
1.2.Огляд і аналіз аналогічних пристроїв
При пошуку складних несправностей в дискретних пристроях виникає необхідність одночасного спостереження декількох сигналів, однократних і аперіодичних, поведінки системи в моменти часу, попередні якій-небудь події або наступні за ним. Такі можливості надає логічний аналізатор - прилад для збору і аналізу даних про реальні умови роботи дискретних пристроїв.
Логічний аналізатор (ЛА) являє собою комбінацію багатоканального реєстратора двійкових сигналів, побудованого на базі швидкодіючого ЗП з розвиненою системою управління процесом запису даних, і екранного пульта-дисплея, що відображає записану в ЗП інформацію в формі, найбільш зручній для її аналізу.
Розрізнюють два типи логічних аналізаторів: аналізатори логічних станів і аналізатори тимчасових діаграм.
Аналізатори логічних станів фіксують стани контрольних точок схеми, що перевіряється під час тактових сигналів, що задаються пристроєм, що перевіряється, і записують процес зміни станів синхронно з його роботою.
Аналізатори тимчасових діаграм фіксують стани контрольних точок схеми, що перевіряється в моменти часу, які задаються незалежно працюючим тактовим внутрішнім генератором аналізатора.
Стани контрольних точок фіксуються в дискретні моменти часу (при подачі тактових сигналів) в двійковій формі; 0- при відсутності сигналу, 1-при його наявності.
Логічні аналізатори мають два основних режими: реєстрації і відображення.
Реєстрацією називається процес запису стану сигналів, що поступають по вхідних каналах аналізатора, в його запам'ятовуючі пристрої. Реєстрація починається по сигналу запуску реєстрації, який може бути або зовнішнім сигналом, або кодовим словом, або послідовністю кодових слів.
Відображенням називається процес індикації на екрані електронно-променевої трубки тимчасових діаграм або логічних станів, записаної в ЗП в процесі реєстрації.
Для установки режиму, способу запуску реєстрації, відображення, а також кодових слів запуску реєстрації на панелі управління є перемикачі і гнізда для підключення зовнішніх сигналів.
Оскільки в режимі реєстрації процес запису сигналів в ЗП ЛА йде відповідно до вибраної тактової частоти, сигнали, які за часом коротше чергового тактового періоду і з'являються після тактового сигналу, не будуть записані, хоч і можуть спричинити неясну зміну станів асинхронної логіки. Для виявлення подібної ситуації деякі ЛА мають режим фіксації перешкод. Цей режим не дозволяє виміряти ширину короткого сигналу, однак вказує на його наявність і тимчасове положення. Основними характеристиками ЛА є:
1. число каналів одночасної реєстрації станів сигналів;
2. рівні вхідних логічних сигналів;
3. глибина реєстрації, т.е максимальна кількість запам'ятовувань каналу інформації;
4. максимальна частота реєстрації, що визначає мінімальний інтервал часу між двома послідовними відліками станів вхідних сигналів.
Глибина реєстрації визначається місткістю ЗП, а максимальна частота реєстрації - швидкодією ЗП аналізатора.
Аналізатори, що Випускаються в цей час мають від 8 до 48 каналів реєстрації, частоту реєстрації від 20 до 200 МГц, глибину реєстрації від 64 до 2048 біт на каналі.
Процес реєстрації в ЛА може бути початий при появі на входах:
• спеціально заданого зовнішнього сигналу;
• заданої кодової комбінації (слово стану) сигналів ;
• заданої послідовності кодових комбінацій.
Існують наступні способи запуску реєстрації: прямий, затриманий і з попередньою установкою.
При прямому запуску сигнал запуску відразу включає процес реєстрації, а при затриманому - через певний час, що задається числом тактів затримки. При запуску з попередньою установкою аналізатор реєструє стани в контрольних точках пристрою, що діагностується незалежно від сигналу запуску і дозволяє зберегти і видати на відображення дані, які були записані за N тактів до появи сигналу і М-N.
В даний час створення багатоцільових, портативних вимірювальних комплексів йде по трьох напрямках:
На базі дискретних спеціалізованих приладів;
Спеціалізовані мікропроцесорні прилади;
Прилади за технологією "віртуальні інструменти";
Розглянемо ці напрямки більш докладно:
1.2.1. Портативні вимірювальні комплекси на базі дискретних спеціалізованих приладів
Як правило, зараз будь-який пристойний прилад має інтерфейс підключення до комп'ютера й таким образом з'являється можливість створення багатоцільових вимірювальних комплексів, у яких здійснюється взаємозалежне керування роботою приладів, де частина необхідних функцій обробки сигналів здійснюється окремими приладами (у межах закладених у них можливостей), частина функцій разом з вихідними даними приладів передається керуючому комп'ютеру. При такому способі з'являється можливість створення дійсно досить багатофункціональних вимірювальних комплексів. Про портативність подібних комплексів можна говорити, звичайно, з великою натяжкою, хіба тільки в тім смислі, що в принципі вони є переносними.
О промисловому (захищеному) виконанні говорити не приходиться. Вартість висока, надійність низька (велика кількість складових), функціональні можливості фіксовані й обмежені можливостями комплектуючих приладів. Модернізація й адаптація до об'єктів діагностики - дорогі, трудомісткі, у більшості випадків повною мірою просто нездійсненні. Використовуються, в основному, для оснащення лабораторних установок, проведення НИР ОКР і ін.
1.2.2. Спеціалізовані мікропроцесорні прилади
Аналізатори-збирачі. На сьогоднішній день це досить широка номенклатура приладів як вітчизняного, так і імпортного виробництва. Прилади дійсно портативні, багатоцільові, можуть бути у захищеному виконанні аж до забезпечення вимог по іскровзривобезпеки. В останній якості практично не мають альтернативи, але у всіх інших випадках на сьогоднішній день це вже далеко не кращий шлях рішення подібних задач. Справа в тім, що подібні прилади у всіх випадках являють собою, по суті, спеціалізовані "саморобні" портативні комп'ютери з убудованими пристроями вводу-виводу даних і унікальним програмним забезпеченням фірми-виробника. У кожного виробника подібні прилади є зовсім унікальними як по виконанню "у залізі", так і по програмному забезпеченні. Як комп'ютери, по більшості своїх технічних параметрів і сервісних можливостей вони не йдуть ні в яке порівняння з "звичайними" сучасними портативними комп'ютерами, тим більше з темпами їхнього безупинного удосконалювання і зниження вартості. Вартість приладів досить висока і на практиці може збільшуватися (навіть у рази) за рахунок комплектації відповідним програмним забезпеченням. Вартість програмного забезпечення практично завжди порівнянна з вартістю "заліза", а іноді і перевершує його. У цілому можна сказати так: річ гарна, іноді незамінна, але в більшості випадків далеко не краща на сьогоднішній день.
1.2.3. Прилади за технологією «віртуальні інструменти»
Формально термін означає "удавані прилади", власне кажучи, функціонально, це, звичайно, зовсім дійсні прилади і віртуальність їх складається тільки в тім, що окремо, як звичні дискретні прилади "у залізі" вони дійсно не існують. Реалізуються апаратно-програмним шляхом і базуються на трьох основних складовим:
Обчислювальні й апаратні можливості сучасних комп'ютерів, для переносних приладів - це Notebook;
Спеціалізовані мови програмування для задач обробки й аналізу сигналів;
Апаратні пристрої вводу-виводу спеціально розроблені для роботи під керуванням програм, написаних на вищезгаданих спеціалізованих мовах програмування.
Одне з найбільш вдалих і отримавших дуже широке поширення в усьому світі пропозицій по практичній реалізації даної технології створення приладів - апаратні пристрої вводу-виводу і спеціалізована мова графічного програмування LabVIEW фірми National Instruments, США. Обширнейшая бібліотека стандартних функцій обробки сигналів і створення інтерфейсу для користувача (вид приладу на моніторі), налагоджені драйвери взаємодії з апаратними пристроями, величезна номенклатура самих пристроїв вводу-виводу в сполученні з можливостями сучасних комп'ютерів дозволяють при мінімально можливих на сьогоднішній день витратах створювати в дуже короткий термін будь-які складні прилади, причому дуже високої якості. Це обумовлено тим, що всі основні складові подібного приладу (комп'ютер, системне ПО, пристрій вводу-виводу) - це фірмові вироби масового виробництва, протестовані виготовлювачем і гарантовані для забезпечення, що сопрягаются по всім необхідним параметрам, найбільш повного використання всіх можливостей кожного з названих компонентів. При цьому всі основні компоненти безупинно удосконалюються по своїх функціональних і технічних параметрах з повним збереженням наступності з попередніми версіями. Наприклад, раз уже створений в остаточному виді прилад можна переустановити на іншій, більш сучасний комп'ютер і він відразу почне працювати, наприклад, більш швидко без яких-небудь переробок самої програми приладу. З погляду габаритів приладів, навіть теоретично немає нічого рівного, оскільки в габаритах, наприклад, одна сучасного Notebook може бути реалізоване практично необмежена кількість різних приладів. З цим же зв'язані і вартісні показники подібних приладів. Наприклад, навіть один прилад типу стандартного вузькополосного спектроаналізатору у віртуальному виконанні буде коштувати в 1.5-2 рази дешевше, ніж у традиційному дискретному. З огляду на те, що за технологією віртуальних приладів у рамках разових витрат "на залізо" може бути реалізоване (і так на практиці завжди і відбувається) безліч приладів, вартість подібного рішення стає просто несоизмеримо малої в порівнянні з іншими способами реалізації. Оскільки технологія "віртуальних приладів" являє собою зовсім нову і, можна сказати, революційну технологію в приладобудуванні, вона дозволяє сполучити такі якості, що у процесі удосконалювання традиційних приладів, як правило, сполучити неможливо: краще, дешевше, швидше, надійніше. Розглянемо даний тип приладів більш докладно.
1.2.3.1. Віртуальні прилади фірми «Белвар»
Ця фірма пропонує користувачам цифрові логічні аналізатори у вигляді невеликих приставок до персонального комп'ютера. Наприклад АКС-3161, це професійна модель віртуального 16 – канального логічного аналізатору з частотою дискретизації 200МГц, виконана у вигляді приставки до ПК та підключається до LPT-порту комп’ютера. Має гнучки можливості захвату та відображення цифрового потоку даних, широкими можливостями по роботі з зовнішньою тактовою частотою. Має наступні технічні параметри:
Внутришні частоти дискретизаії 1,25 кГц...200 МГц (17 ступенів)
16 каналів
Буфер даних 131000 виборок на канал
Режими запуску: по шаблону; по фронту; безперервний
Цифровий регістратор: від 4 секунд до 1 часу
Порогова напруга 1,0...2,4 В
Споживча потужність 4,5 Вт (800 мВт у режимі очікування)
Нестабільність частоти дискретизації 0,01%
Вхідна напруга 0...7 В макс.
Вхідна ширина смуги частот 40 МГц
Вхідний імпеданс 100 кОм/8 пФ
Габаритні розміри 150х86х26 мм
Зовнішній вигляд цього логічного аналізатору приведений на рис. 1.1

Рисунок 1.1 Зовнішній вигляд приставки до комп'ютера АСК-3161
Нижче на рис. 1.2 приведено вікно програми інтерфейсу користувача з діаграмою сигналів.

Рисунок 1.2 Вид деяких вікон ПО приставки до комп'ютера АСК-3161
АКС-3162 – віртуальний 16-канальний логічний аналізатор виконаний у вигляді плати розширення в ISA-слот комп’ютера та працює разом з осцилографічною плотою АСК-3101. Єдине для обох плат програмне забезпечення дозволяє синхронізувати і бачити на екрані одночасно 2 канали аналогової та 16 каналів цифрової інформації. Сполучення аналогових та цифрових функцій дозволяє використовувати систему як осцилограф змішаних сигналів для пошуку аналогових перешкод у цифрових схемах, аналізу фронтів, логічних рівнів та ін.
АКС-3162 має наступні технічні параметри:
16 каналів
Мінімальний період виборок: 50 нс у реальному часі
Максимальний період виборок 2,5 мс
Запуск: будь-яка комбінація логічних рівнів на вході аналізатору, або синхронізуючий сигнал з плати осцилографу
Можливість запису до запускаючої події 7872 відліку
Довжина запису 8000 відліків на кожний канал
Вхідний імпеданс 1 МОм/30 пФ
Рівень спарцьовування запуску обираємий: ТТЛ або КМОП
Зовнішній вигляд цього логічного аналізатору приведений на рис. 1.3

Рисунок 1.3 Зовнішній вигляд приставки до комп'ютера АСК-3162
Нижче на рис. 1.4 приведено вікно програми інтерфейсу користувача з діаграмою сигналів.

Рисунок 1.4 Вид деяких вікон ПО приставки до комп'ютера АСК-3162
АКС-3166 – це більш потужний логічний аналізатор, має наступні технічні характеристики:
16 каналів
Діапазон частот дискретизації 2 кГц…200 МГц
Довжина запису 2М слова на канал
Регулювання розміру предзапису та постзапису
Діапазон установки порогів спрацьовування по входах ±2,5 В с дискретністю 20 мВ
Режими запуску: при наявності шаблону даних, по тривалості шаблону даних, по фронту будь-якого біта даних, за шаблоном даних та/або по фронту будь-якого біту даних у різноманітних комбінаціях
Інтерфейс зв’язку з комп’ютером USB 1.1 або LPT (EPP)
Професійні вимірювальні щупи дозволяють легко і швидко здійснити підключення до контактів аналізуємої плати
Цей логічний аналізатор призначений для аналізу потоку цифрових даних одночасно по 16 каналам з частотою дискретизації до 200 МГц, а також може бути використаний у якості цифрового регістратору даних. Буфер 2М виборок на канал дозволяє забезпечити високу точність часових вимірів достатньо тривалих потоків даних. Гнучкий набір варіантів синхронізації та шаблонів запуску дозволяє визначити різноманітні збої у потоці даних, що приводять до порушення роботи апаратури. Даний аналізатор забезпечує нормальну роботу з апаратурою, яка має різні логічні порогові рівні вхідних сигналів, тому що пороги обираються користувачем.
Інтерфейс користувача програми складається з набору робочих панелей (вікон). Кожна панель має набір керуючих елементів (КЕ), які дозволяють користувачу впливати на роботу програми та індикаторів, що відображають необхідну інформацію. Більшість цих елементів є частиною стандартного інтерфейсу Windows і не потребують спеціальних пояснень по їх використанню.
Зовнішній вигляд цього логічного аналізатору приведений на рис. 1.5

Рисунок 1.5 Зовнішній вигляд приставки до комп'ютера АСК-3166
Для керування програмою користувач може також використовувати команди спливаючього меню головної панелі. АКС-3166 має зрозумілий та зручний інтерфейс, котрий може налагоджуватися користувачем. Нижче на рис. 1.6 приведено вікно програми інтерфейсу користувача з діаграмою сигналів.

Рисунок 1.6 Вид деяких вікон ПО приставки до комп'ютера АСК-3166
1.2.3.2. Віртуальні прилади фірми «Omega»
Логический анализатор Omega – Logic : використовується для запису аналізу послідовних та паралельних потоків обміну, а також генерації заданих цифрових послідовностей. Збудований на основі базового блоку Omega. Завдяки використанню ПЛІС пристрій має недосяжну для мікроконтролерних аналогів швидкодію та точність обробки даних. 4 режими запису дозволяють оптимально використовувати внутрішню пам’ять аналізатора. Наявність різноманітних вбудованих та користувальницьких засобів аналізу сигналів дає можливість швидко та ефективно оброблювати великі об’єми інформації. Цей аналізатор має наступні технічні параметри:
Логічний аналізатор:
Кількість каналів: 2, 4, 8
Об’єм внутрішньої пам’яті: 128 КБайт (опціонально 512K)
Режими запису: нормальний, адаптивний, дельта, з зовнішньою синхронізацією.
Максимальна частота запису: 20 МГц.
Стабільність задаючього генератора: +/-100ppm (опціонально +/-25ppm)
Аналізатор протоколів: I2C, MicroWire, SPI, RS232, 1Wire, CAN ...
Налагодження режимів відображення інформації (двійковий, десятковий, шістнадцятковий, символьний).
Вбудована макромова аналізу і генерації послідовностей.
Збереження даних у файли різних форматів.
Генератор: 8 каналів, 128 КБайт пам’яті, максимальна частота - 20 МГц, однократний та циклічний режим.
Логічний пробник - 16 каналів.
Електричні параметри (з адаптером LA16):
- Вхідний опір - 100 кОм
- Вихідний опір - 100 Ом
- Вхідна ємність - 10 пФ (без кабелю)
- Напруга порогового рівня - 1.4В (TTL)
1.2.3.3. Віртуальні прилади фірми «National Instruments»
Ця фірма є розробником технології віртуальних приладів – революційної концепції, що змінила підхід та методику проведення вимірів та розробки систем автоматизації. Максимально використовуючи можливості комп’ютерів та сучасних інформаційних технологій, віртуальні прилади дозволили збільшити продуктивність і знизити собівартість рішень за рахунок використання гнучкого та простого у освоєнні програмного забезпечення, такого як середовище графічного програмування LabVIEW, а також модульного обладнання, такого як, наприклад, модулі стандарту PXI, призначеного для збору даних та керуванням приладами.
Розглядаючи новітні прилади збору даних цієї фірми, можна виділити наступні: це універсальній зовнішній пристрій збору даних USB 6008/6009, а також внутрішні плати збору даних М серії, що мають стандартній та поширений для звичайних ПК швидкий інтерфейс РСІ.
Розглянемо тепер більш детально технічні характеристики цих приладів:
USB 6008/6009 зображено на рис. 1.7.
8 каналів аналогового вводу, з дозволом 12 або 14 біт, частота оцифровки до 48 кГц;
Гвитові термінали для підключення датчиків;
Швидке plug-and-play підключення до ПК;
Драйвери для ОС Windows, Mac OS X та Linux;
Багатофункціональний ввід/вивід для проведення збору та збереження даних;
Живлення по шині USB;
Безкоштовне ПО для збору та збереження даних.

Рисунок 1.7 Зовнішній вигляд приставки до комп'ютера USB 6008/6009
Плати збору даних М серії зображено на рис. 1.8.
До 32 аналогових входів, 4 виходів та 48 цифрових ліній;
Дозвіл до 18 розрядів;
Програмує мий вхідний діапазон;
Аналоговий вивід до 2,8 МГц (16 розрядів);
Високошвидкісний (до 10 МГц) ввід/вивід цифрових сигналів;
У 5 разів покращена точність вимірів за рахунок нелінійної калібрування в усіх діапазонах;
Повна підтримка LabVIEW та інструментального драйверу NI-DAQmx.

Рисунок 1.8 Зовнішній вигляд плати збору даних М серії
LabVIEW являє собою високоефективне середовище графічного програмування, у якому можна створювати гнучкі та масштабовані прикладні програми вимірів, керування та тестування з мінімальними часовими та грошовими затратами. Приклад прикладної програми вимірів, створеної у LabVIEW зображено на рис.1.9.

Рисунок 1.9 Зовнішній вигляд вікон прикладної програми вимірів,
створеної у LabVIEW
LabVIEW сполучає у собі гнучкість традиційної мови програмування з інтерактивною технологією Експрес ВП, яка включає у себе автоматичне створення коду, використання помічників при конфігуруванні вимірів, шаблони прикладних програм та Експрес ВП, що налагоджуються. Завдяки цим особливостям, і експерти можуть легко та швидко створювати прикладні програми у LabVIEW.
1.3 Порівняльний аналіз та висновки
Задачу реалізації ВВК аналогічного розроблювальному, можна вирішити декількома шляхами:
За допомогою спеціалізованих плат (реалізація на «твердій» логіці). Даний спосіб дозволяє мінімізувати як розміри, так і вартість апаратної частини, але при цьому зростають вимоги до ПК, тому що на нього лягає вся обробка вхідного сигналу.
За допомогою плат на «програмувальній» логіці. Даний спосіб дозволяє не тільки передбачити захист плати від позамежного рівня вхідного сигналу, але і перекласти частину його обробки на мікроконтролер плати, що дозволяє розвантажити ПК.
1.3.1 Короткі висновки
Як видно з приведеного порівняння реалізація ВВК за допомогою «твердої» логіки приводить до значно менших грошових витрат, але при цьому і швидкість роботи усього ВВК, і можливість використовувати ПК у багатозадачном режимі різко знижуються через велику кількість обчислень, що виконує ПК. Приймаючи це до уваги, у процесі дипломного проектування був розроблений ВВК на «програмувальній» логіці, що дозволило в значній мірі розвантажити ПК, і значно зменшити число даних для обміну, тому що вся попередня обробка сигналу виконується мікроконтролером.
1.4. Зв'язок ВВК з IBM PC
Підключення ВВК до ПК можна здійснити використовуючи будь-який убудований інтерфейс. Коротке порівняння деяких з них приведено в табл. 1.
Таблиця 1.
Порівняння методів підключення ВIК
|
Системна магістраль ISA |
Інтерфейс |
Інтерфейс |
|
|
Швидкість обміну |
Висока (до 5 Мбайт/с і вище) |
до 100 Кбайт/с |
115200 Кбiт/с |
|
Довжина і тип лінії зв'язку з комп'ютером |
Вбудовані ПС (лінія зв'язку відсутня) |
До 2 м, багатопровідний кабель |
До 15м, одиночний провід |
|
Складність вузлів сполучення з ПК |
Від малої до середньої |
Від малої до середньої |
Від середньої до високої |
|
Додатковий конструктив |
Не потрібний |
Потрібний |
Потрібний |
|
Зовнішнє джерело живлення |
Не потрібне |
Потрібне |
Потрібне |
|
Формат і розрядність даних |
Паралельний, |
Паралельний, |
Послідовний |
|
Необхідність наявності драйвера |
+ |
+ |
- |
|
Кількість ПС, що підключаються до ПК |
До 6 |
1 |
1 |
З погляду розроблювального ВВК найбільш привабливим виглядає інтерфейс RS-232.
1.4.1 Вибір інтерфейсу зв'язку
У розроблювальному ВВК зв'язок пристрою з ПК буде здійснюватися за допомогою COM порту (інтерфейс RS-232). Даний вид зв'язку дозволяє забезпечити достатню для роботи ВВК швидкість і при цьому є найбільш зручним з погляду ПО, тому що не вимагає спеціального драйвера. Розглянемо цей інтерфейс більш докладно.
2 ОБЗОР АПАРАТНОЇ ЧАСТИНИ
2.1 Лабораторный стенд EV8031
ОЭВМ
Індікатор
ОЗП 32К
Системний
контроллер
PORTA
PORTB
PORTC
Клавіатура 3х4
RS-232C/1
RS-232C/2

Рис. 1 Блок схема стенду EV8031
Вся логіка стенду реалізована на програмуємій логічній мікросхемі EPM7128STC100. Системний контроллер керує режимами роботи, виробу керуючих сигналів на ОЗП, регістри защіпки, динамічним світлодіодним індикатором, клавіатурою.
2.1.1 Системний контроллер
Системний контроллер зв’язаний з мікроконтроллером за допомогою шини данних AD0..7 та старших 4-х біт адресу A12..15. Коли мікроконтроллер виконує операцію читання/запису данних у зовнішню пам’ять спочатку на лінії AD0..7(мультиплексується із A0..7 на момент синхроімпульсу лінії ALE) та лінії A8..15 виводиться адрес комірки, молодші 8 біт та старші – відповідно. Після закінчення синхроімпульсу ALE на лініях AD0..7 з’являється 8 біт данних. Коли старший біт адресу дорівнює 1, системний контроллер залишає лінію nRCS у високому стані, і старші 4 біта адресу, разом із молодшим байтом адресу, який надійшов по лініям AD0..7 у період синхроімпульсу, тепер керують адресою пристрою котрому надсилається керуючий байт. Перелік адрес за якими розташовані керуючі слова пристроїв наданий у таблиці 2.1.
Таблиця 2.1.
|
Адрес |
Тип цикла |
B7 |
B6 |
B5 |
B4 |
B3 |
B2 |
B1 |
B0 |
Имя |
|
|
Порты периферийных устройств |
|||||||||||
|
8xx0 |
Запись |
[Порт A] |
PA_REG |
||||||||
|
8xx1 |
Запись |
[Порт B] |
PB_REG |
||||||||
|
8xx2 |
Запись |
[Порт C] |
PC_REG |
||||||||
|
8xx3 |
Запись |
x |
x |
x |
x |
x |
TRISC |
x |
x |
TRIS |
|
|
ЖКИ |
|||||||||||
|
8xx4 |
Запись |
Регистр команд ЖК индикатора |
LCD_CMD |
||||||||
|
8xx5 |
Запись |
Регистр данных ЖК индикатора |
LCD_DATA |
||||||||
|
Последовательный порт |
|||||||||||
|
9xxx |
Чтение |
CTS |
DSR |
DCD |
RI |
KL3 |
KL2 |
KL1 |
KL0 |
US_REG |
|
|
Cxx0 |
Запись |
x |
x |
X |
x |
DTR |
RTS |
CFG1 |
CFG0 |
UC_REG |
|
|
Индикатор и светодиоды |
|||||||||||
|
Axx0 |
Запись |
[Регистр индикатора 0] |
DISPLAY[0] |
||||||||
|
Axx1 |
Запись |
[Регистр индикатора 1] |
DISPLAY[1] |
||||||||
|
Axx2 |
Запись |
<зарезервировано> |
DISPLAY[2] |
||||||||
|
Axx3 |
Запись |
<зарезервировано> |
DISPLAY[3] |
||||||||
|
Axx4 |
Запись |
DP3 |
DP2 |
DP1 |
DP0 |
BL3 |
BL2 |
BL1 |
BL0 |
DC_REG |
|
|
Axx5 |
Запись |
<зарезервировано> |
EDC_REG |
||||||||
|
Axx6 |
Запись |
LED7 |
LED6 |
LED5 |
LED4 |
LED3 |
LED2 |
LED1 |
LED0 |
LED_REG |
|
|
Управление работой |
|||||||||||
|
Axx7 |
Запись |
x |
x |
X |
x |
x |
x |
x |
RUN |
SYS_CTL |
|
|
Совместимые регистры |
|||||||||||
|
Bxx0 |
Запись |
[Регистр индикатора 1] |
DISPLAYB |
||||||||
2.1.2 Зовнішня пам’ять ОЗП
Коли старший 15 біт адресу дорівнює 0 системний контроллер встановлює лінію вибору кристаллу ОЗП – nRCS у низький логічний рівень, а лінії nRRD та nRWR повторюють стани ліній nRD та nWR відповідно. Лінія RA14 повторює лінію A14 тільки у тому випадку якщо вибраний режим роботи стенда із мікроконтроллером AVR. У випадку роботи із мікроконтроллером 80C51 лінією буде керувати системний контроллер перші 16кбайт – коди інструкцій программи, другі 16кбайт – данні.
2.1.3 Порти вводу/виводу
Стенд має три 8-ми бітних портів вводу/виводу PORTA(лінії PA0..7), PORTB(лінії PB0..7), PORTC(лінії PC0..7). Порти PORTA та PORTB виконані на регістрах защіпках і працюють тільки на виход, а PORTC – у системному контроллері і може працювати як на вход так і на виход. Коли мікроконтроллер записує байт по адресу 8xx0(x – не впливають і можуть бути будь якими), системний контроллер встановлює лінію PACLK у високий стан. Регістр защіпка запам’ятовує лінії AD0..7 та повторює іх стан на своїх вихідних лініях – PA0..7. Аналогічно отримується доступ до портів PORTB та PORTC але доступ виконується за адресами 8xx1 та 8хх2 відповідно. За адресою 8хх3 знаходиться байт керування режимом роботи на вхід або на вихід, за відповідає біт 2. Якщо він дорівнює 0 порт працює на вхід, якщо 1 на вихід.
2.1.4 Порт послідовної передачі данних
Модуль послідовного зв’язку створений на мікросхемі приймача 1489, передавача 74НС04, мултиплексора каналу передачі (усередині системного контроллеру). Вибор каналу послідовної передачі забеспечується сигналами CFG1,CFG0 за адресою 9001h(см. таблицу 1). Програмне встановлення сигналів CFG0 у ‘1’, а CFG1 у ’0’ формує вибір додаткового каналу послідовної передачі данних, гніздо X12. Додатковий послідовний канал має повний набір сигналів інтерфейсу RS-232C. Сам пристрій який реалізує послідовну прийом/передачу знаходиться у мікроконтроллері і називається UART або USART, його лінії RxD, TxD зв’язані із системним контроллером, а він в свою чергу може комутувати їх на 3 напрямки:COM1, COM2, RS485.
2.1.5 Мікроконтроллер
Стенд підтримує 2 типи мікроконтроллерів: мікроконтроллер AT89C51 із ядром і8031, та ATMega8515 із AVR ядром який і розглядається у данному документі. Для перемиканням між режимами підтримки першого або другого мікроконтроллеру, системний контроллер має лінію Х9(0 – AVR, 1 - i8031).
2.2 Мікроконтроллер ATMega8515
КМОП мікроконтроллер АТ8515 реалізований за AVR RISC архітектурою (Гарвардська архітектура із роздільною пам’яттю та роздільними шинами для пам’яті програм та даних) та сумісний за похідним кодом і тактуванню із 8-ми розрядними мікроконтролерами родини FVR. Виконуючи команди за один тактовий цикл, він забезпечує могутню систему команд із 32-ма 8-розрядними регістрами загального призначення та конвеєрне звернення до пам’яті програм. Шість із 32 регістрів можуть використовуватись як три 16-розрядних регістра-вказіника при косвенній адресації простору пам’яті. Виконання відносних переходів та команд виклику реалізується із прямою адресацією усіх 4К адресного простору. Адреса периферійних функцій міститься у просторі пам’яті вводу/виводу. Архітектура ефективно підтримує як мови високого рівня, так і програми на мовах асемблеру.
2.2.1 Архітектура AVR
Мікроконтроллер має 32 регістри загального призначення які безпосередньо підключені до АЛУ, це дозволяє виконувати більшість команд за один такт. Мікроконтроллер має 8 кбайт неодноразово-програмуємої пам’яті программ, 512 байт внутрішнього ПЗП, 512 байт внутрішнього ОЗП та інтерфейс який дозволяє розширити ций об’єм завдяки підключенню зовнішнього ОЗП, 4 – 8-ми бітних порта та 1 – 3-х бітний порт, 1 – 8-ми бітний таймер та 1 – 16 – бітний таймер, які мають зовнішні лінії синхронізації, переривання за переповненням та зрівненням. Також мікроконтроллер має зовнішні переривання, послідовний програмуємий приемопередавач, програмуємий “WatchDog” таймер із окремим RC-генератором, порт SPI та три програмуємі режими роботи єнергосбереження.
Рис 1. Блок схема мікроконтроллеру ATMega8515
2.2.2 Розподілення пам’яті мікроконтролера
Розподілення пам’яті мікроконтроллера показано на рис. 2.
Внутрішній ОЗП мікроконтроллеру розташований за адресою 0060h та закінчується 025Fh. Починаючи з адреси 0260h до FFFFh можна адресувати зовнішню пам’ять. На рис. 3 надана структурна схема підключення зовнішнього ОЗП до мікроконтроллеру.

Рис 2. Розподілення пам’яті мікроконтроллера.
Внутрішній ОЗП мікроконтроллеру розташований за адресою 0060h та закінчується 025Fh. Починаючи з адреси 0260h до FFFFh можна адресувати зовнішню пам’ять. На рис. 3 надана структурна схема підключення зовнішнього ОЗП до мікроконтроллеру.
Рис. 3 Структурна схема підключення ОЗП до мікроконтроллера

На відміну від внутрішньої пам’яті доступ до зовнішньої триває довше на 1 такт(або на 2 такти у залежності від налаштовувань). На рис. 4 подана
часова діаграма доступу до зовнішньої пам’яті:

Рис. 4 Часова діаграма доступу до зовнішньої пам’яті.
Робота зовнішнього СОЗП(SRAM) налаштовується за допомогою регістру MCUCR рис 5.

Рис. 5 Опис полів регістру MCUCR
Робота зовнішнього SRAM дозволяється встановленням біту SRE у регістрі MCUCR. За зрівняннями зі зверненням до внутрішньої пам’яті даних, звернення до зовнішньої пам’яті потребує додаткового циклу на кожний байт. Це означає, що для виконання команд LD, ST, LDS, STS, PUSH та POP потрібен додатковий тактовий цикл. Якщо стек розташований у зовнішній SRAM, то для переривання, виклику підпрограм та вертання потрібно буде два додаткових цикла, оскільки в стеку буде зберігатися та відновлятися двубайтовий лічильник команд. Якщо інтерфейс із зовнішньою пам’яттю використовується із станом чекання, то на кожний байт необхідно ще два додаткових тактових цикла. Це призводить до наступного ефекту. Командам пересилання даних необхідно два додаткових тактових цикла, тоді для обробки переривання, виклику підпрограми та при вертанні з підпрограми потрібно на чотири тактових циклу більше, ніж це вказано в описі системи команд.
Встановлений у 1 біт SRE дозволяє звернення до зовнішнього SRAM даних та переводить роботу портів А, С, ліній WR та RD на виконання альтернативної функції, також змінюється напрямок роботи портів. Після встановлення SRE у 0 звертання до зовнішньої пам’яті недозволяється, а напрямок роботи портів встановлюється у читання.
При встановленому у 1 SRW до циклу звертання до зовнішнього SRAM дозволяється один цикл чекання. При скиданні у 0 біті SRW звертання до зовнішнього SRAM виконується за 3 цикли. См. рис. 4 Цикл та звернення до зовнішнього SRAM без стану очікування, та рис. 6 із станом очікування.

Рис.6 Звернення до зовнішньої SRAM зі станом очікування
2.2.3 Порти вводу виводу
Порти вводу/виводу можуть робити на вхід та на вихід. За це відповідає відповідний регістр напрямку DDRx(x-назва порту A, B…). Також порт має регістр стану PORTx запис данних у який відображається на порт, якщо порт знаходиться у режимі видачі. А якщо порт працює у режимі читання цей регістр вмикає/вимикає підтягуючі резистори. Для читання порту використовується регістр PINx. Також більшість портів мають альтернативні функції і коли порт іх виконує, відповідні регістри DDRx, PORTx та PINx не впливають на роботу порта. На рис. 7 зображена блок-схема порта який немає альтернативної функції.
Рис. 7 Блок схема порта вводу/виводу
2.2.4 Переривання та обробка переривань
Найважливіша характеристика будьякого мікроконтроллера це - час відгуку на переривання. Відгук на виконання усіх дозволених переривань AVR складає мінімум 4 тактових цикла. Впродовж 4 тактових циклів вміст лічильника команд(2 байта) зберігається у стек, та вказівник стеку зменшується на 2. Вектор вказує перехід на підпрограму обробки переривання та цей перехід займає 3 тактових цикла. Якщо переривання виникає за час виконання багатоциклової команди, то команда закінчує виконання, а потім обслуговується переривання. Вертання з підпрограми обробки переривання (як і виклик підпрограми) займає 4 тактових цикла. Впродовж цих 4 циклів стан лічильника команд (2 байта) відновляється зі стеку та вказівник стеку збільшується на 2. Коли мікроконтроллер виходить з перервання, він завжди вертається у основну програму та виконує ще одну команду, перш ніж почати обслуговувати якесь відкладене переривання.
Відзначимо, що регістр статусу SREG не обробляється апаратними можливостями AVR, ані для переривань, ані для підпрограм.
При обробці підпрограм переривань, які потребують збереження SREG, збереження потрібно виконувати програмними засобами користувача. Для переривань, які запускаються статичними подіями (наприклад співпадання вмісту регістру зрівняння 1А із станом таймеру/лічильника1). Прапорець переривання встановлюється у момент виникнення події. Якщо прапорець скинутий, але умови виникнення переривання продовжують існувати, прапорець не буде встановлюватись до тих пір, доки ця подія не виникне знову.
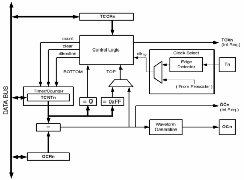
2.2.5 Таймери
Мікроконтроллер має один 8-розрядний та один 16-розрядний таймери лічильники. Вони можуть тактуватися, як від внутрішнього, так і від зовнішнього генератора. Блок схеми таймерів зображена на рис. 8 та рис. 9. Кожний таймер має свій окремий попередній дільник із чотирма ступенями ділення: CK/8, CK/64, CK/256, CK/1024, де CK – це вхідний тактовий сигнал. Цей тактовий сигнал, за замовчуванням, з’єднаний із головним тактовим сигналом системи. Обидва таймери мають загальний регістр стану таймерів, у якому зберігаються такі прапори стану, як: переповнення, співпадання за зрівненням та захвату події. Встановлення дозволення/недозволення переривань виконується у регістрі масок переривань таймерів/лічільників TIMSK. При тактуванні таймеру/лічильника від зовнішнього генератора цей сигнал синхронізується із тактовою частотою CPU. Для запеспечення правильної синхронізації зовнішнього сигналу необхідно, щоб мінімальний час між двома вхідними тактовими тактовими циклами був не менш одного циклу внутрішнього тактового сигналу CPU. Зовнішній тактовий сигнал синхронізується за підніманням фронту внутрішнього тактового сигналу CPU. Точність таймерів росте зі зменшенням коєфіцієнту попереднього ділення. Аналогічним чином, високий коефіцієнт попереднього ділення зручно використовувати при реалізації функцій із низькою швидкістю виконання, або точної синхронізації рідко виникаючих дій. Оба таймери підтримують зрівнення.
2.2.6 Послідовний приємопередавач USART
Блок-схема передавача USART показана на рис. 10. Передача данних починається записом передаваємих данних у регістр данних I/O USART(UDR). Дані пересилаються з UDR у зсувний регісир передачі у наступних випадках:
Новий символ записаний в UDR після того, як був виданий з регістру стоповий біт попереднього символа. Зсувний регістр завантажується миттєво.

Рис. 8 Блок схема 8-ми бітного таймеру мікроконтроллеру

Рис.9 блок-схема 16-бітного таймеру мікроконтроллера

Рис. 10 Блок-схема послідовного приємопередавача
Якщо з 10 або 11-розрядного зсувного регістру видана вся інформація(зсувний регістр передачі пустий), дані з UDR надсилаються у зсувний регістр. У цей час встановлюється біт UDRE(USART Data Register Empty) регістру статуса USART(UCSRA). При встановленому у стан 1 біті UDRE USART готовий прийняти наступний символ. Запис в UDR очищує біт UDRE. У цей самий час, коли дані пересилаються з UDR у 10(11)-розрядний зсувний регістр, біт 0 зсувного регістру скидається у стан 0(стан 0-стартовий біт), а біт 9 та 10 встановлюється у стан 1(стан 1 – стоповий біт). Також приємопередавач має налаштування для організації приємопередавача 9 бітних символів, налаштувати швидкість передачі можна за допомогою спеціального бод-генератора. Бод-генератор представляє собою дільник, генеруючий імпульси передачі із частотою, яка визначається виразом:

Де BAUD – частота в бодах, Fosc – частота тактового генератору CPU, UBRR – вміст регістру UBRRH та UBRRL. Для того, щоб можна було точно обирати усі швидкості прийому/передачі потрібно використовувати спеціальні частоти. Прийом виконується асинхронно, коли регістр данних заповнюється прийнятим байтом у регістрі UCSRA встановлюється біт RXC. Також USART підтримує обробку переривань по прийому та по передачі. Більш детальна інформація знаходиться у даташиті, який можна знайти на сайті виробника http:\\www.atmel.com.
3 РОЗРОБКА ПРОГРАМНОГО ЗАБЕСПЕЧЕННЯ
3.1 Розробка програмного забеспечення мікроконтроллера
Розробка програмного забеспечення мікроконтроллера починається із розподілення його ресурсів для створення ПО в цілому. Оскільки мікроконтроллер використовується у складі стенда, треба взяти на увагу ресурси, які займає стенд, і оскільки він представляє собою закінчений пристрій, треба знайти вільні ресурси, які можна використовувати, без внесення змін у схему або монтажу печатної плати. На рис. 11 зображена принципова схема стенду. Стенд має два роз’єма розширення, один системний(X1) другий періферцйний(X10). Періферійний має 2 порта які працюють на вихід, 1 порт мікроконтроллера який просто виведений на раз’єм розширення і 1 порт який реалізований у системному контроллері. Для реалізації логічного аналізатора можна використати порт мікроконтроллера, який виведений на роз’єм розширення, а для реалізації генератора слів можна використати порт А стенду. Схема розподілення ресурсів стенду показана на рис. 12.
Разьем Х10


СТЕНД EV8031
Мікроконтроллер ATMega8515
PORTB






RS-232




USART
RXC
TXC





I/O

COM порт ПК








порт A
порт B
порт C
порт 0(PORTB мікроконтроллера)
ЛА
ГС


8

8

8
Рис. 12 Схема розподілення ресурсів стенду
3.1.1 Розробка логічного аналізатора
Найпростіший алгоритм, за яким можна зробити реестрацію вхідної послідовності, це лінійна послідовність команд, які читають порт та запам’ятовують данні у регістри. Всьго у мікроконтроллера ATMega8515 32 регістри, тому алгоритм дозволяє прочитати та зберегти 32 стани порту, а так як команда читання порту у регістр(in R0, PINB) займає 1 такт, такий код виконується із максимальною швидкістю. Швидкість буде дорівнювати швидкості тактового генератору мікроконтроллера – 7 372 800 Гц.
1

2

3




33

34
Рис 13. Блок схема алгоритму найшвидшої реестрації
Наступний алгоритм менш швидкий але дозволяє зареєструвати 512 станів вхідної послідовності. Він аналогічний попередньому тільки після кожної команди читання порту додається команда збереження у пам’ять. Швидкість виконання такого алгоритму дорівнює 7 372 800/3 = 2 457 600 Гц. Незважаючи на швидкісь код такого алгоритму займає багато пам’яті програм.
Наступний алгоритм дозволяє зареєструвати 1024 стани вхідної послідовності, але має ще менш швидкі характеристики, та займає ще більший об’єм програмної пам’яті мікроконтроллера. Швидкість такого алгоритму 7 372 800/5 = 1 474 560 Гц.
Наступний алгоритм виконує аналогічні дії попередньому але займає набагато менше пам’яті программ. Він складається із 4-ох послідовно розташованих однакових циклів. Це зв’язано з тим, що для підсумку необхідної кількості операцій використовується однобайтовий лічильник. 1024/256 = 4 послідовно розташованих циклів. Швидкість такого алгоритму 7 372 800/8 = 921 600 Гц. Для того щоб зменшити об’єм коду потрібно використати 2-ох байтовий лічильник, але тоді швидкість зменшиться до 7 372 800/9 = 819 200 Гц.
Можна піти іншим шляхом. 1024 у HEX коді це 0400h. А якщо початкова адреса пам’яті данних буде кратною 0100h, для перевірки того, що цикл був виконаний 1024 рази потрібно перевіряти тільки старший байт адреси.
Наступний алгоритм реалізує передпускову реєстрацію. Оскільки невідомо, коли з’явиться необхідна зміна стану пускового каналу, необхідно постійно реєструвати вхідну послідовність. Пам’ять у такому разі треба використовувати по кільцю рис. 15.
Коли виникає необхідна зміна стану пускового каналу, починається відлік зареєстрованих станів, він дорівнює:
1024 – [глибина передпускової реєстрації] (байт)
1
Y = 0300h
2



3
[Y] = R0
4

5

6

Рис. 14 Блок схема алгоритму реєстрації, яка виконується за допомогою циклів
0300h
0700h
кінець
початок










Глибина передпускової реєстрації

Рис. 15 Використання пам’яті по кільцю
Коли вказівник стає на адрес 0700h, вказівник перенаправляється на адресу 0300h і реєстрація продовжується доки кількість зареєстрованих байт не дорівнюватиме 1024. Якщо зміна стану довго не відбувається мікроконтроллер увійде до вічного циклу тому передбачено перевірку на прийом команди “СТОП”. Також алгоритм реалізує керування швидкістю реєстрації. Оскільки для виконання затримки використовується таймер, для перевірки переповнення таймеру треба читати регістр стану, потім перевіряти чи виникла подія. Якщо подія виникла – скинути подію і перезапустити таймер, а інакще – перейти на читання регістру стану таймеру і т.д. Це призводить до того, що реакція на таймер буде залежити від швидкості, яка некратна швидкості 1 циклу перевірки таймеру на наявність події. Але з аналізу лабораторного практикуму необхідні швидкості реєстрації дорівнюють 50 гц тому розбіжність в декілька тактів не буде впливати на зареєстровану послідовність.
Всі алгоритми підпрограм аналізу знаходяться у додатках.
3.1.2 Розробка генератора слів
Генератор слів повинен використовувати порт А стенду. Доступ до цього порту можна отримати тільки завдяки звертанню до пам’яті, за адресою 8000h, це виконується за 4 такти. Можна налагодити мікроконтроллер для того, щоб виконувати доступ за 3 такти, а ле для роботи із пам’ятю потрібно знову переналогодити мікроконтроллер на 4 такти. А операції переналагоджування займуть 2 такти, це призведе до зменшення швидкості алгоритму.
Найшвидший і невеликий за обсягом програмного коду алгоритм читання з пам’яті та видачі у порт зображений на рис. 16
















1
2
3
4
5
6
7
ні
так
Рис 16. Блок схема алгоритму генератора слів(швидкий варіант)
Цей алгоритм не надає змогу змінювати швидкість генератору, та може працювати тільки у режимі одноразової генерації.
Наступний алгоритм дозволяє виконувати всі три режими: циклічний, одноразовий та шаговий; для перших двох дозволяє міняти швидкість генерації. Швидкість цього алгоритму набагато менша ніж у попередньому випадку, але відповідає технічному завданню. На початку алгоритму налагоджується початкова адреса ГС, потім перевіряється необхідність запуску таймера(пошаговий режим не використовує таймер). Далі йде тіло циклу, умова виходу з якого це, кінець виданих данних, або натиснення кнопки стоп у режимі цикл. Алгоритм зображений на рис. 17.





5
6

1


2



3
ні
так


4




7
8
ні
так


9
ні
так
10










ні







Р


11
так


12
ні
так


13


ис. 17 Блок схема алгоритму генератора слів(повнофункціональний варіант)
3.1.3 Розробка алгоритму приємо передавача
Зв’язок забеспечується за допомогою синхронного/асинхронного приємо передавача RS-232. Але оскільки мікроконтроллер працює від блоку живлення 5 вольт, для зв’язку з ПК необхідний перетворювач рівня сигналів(рівень сигналів RS-232 – +/-12 В). Цей перетворювач існує на платі стенду. Тому для налагодження роботи із портом достатньо настроїти стенд записавши за адресою С000h число 1, це вибір другого режиму роботи послідовного порта(див. Табл. 1).
Пристрій USART має сигнали RXD та TXD, сигнал прийому та передачі відповідно. Пристрій підтримує стандартні швидкості і налашьовується за допомогою регістру UBRR. Оскільки периферія мікроконтроллеру тактується від загального тактового генератору, то швидкість передавання може бути із похибкою. Для того, щоб похибки не було у тактовому генераторі використовують спеціальні кварци із частотами кратними швидкостям передачі. Стенд EV8031 має кварц із частотою 7,3728 МГц, що відповідає 0%-ній похибці на усіх швидкостях.
Алгоритм налагодження USART складається з налагодження режиму роботи USART. Це поперше кількість стартових, стопових біт, перевірка на додавання або недодавання, кількість інформаційних біт, дозволити/ заборонити прийом і дозволити/заборонити передачу, дозволити/ заборонити обробку переривань за закінченням приймання або за закінченням передавання. Далі налагоджується швидкість записом у регістр UBRR обчисленого або взятого із таблицї даташиту [1]. У пороцессі розробки була знайдена помилка в роботі мікроконтроллера: він пошкоджує данні регістру UBRR, при виконнанні запису у інші регістри, які відносяться до налагоджування USART. Було прийнято рішення встановлювати швидкість USART останньою операцією його налагодження. В нашому випадку перевірка за додатними/недотаними числами не використовується, кількість інформаціонних біт – 8, 1 стартовий та 1 стоповий біт. Для початку передавання у порт данних необхідно зачекати доки попередній сеанс передачі закінчиться. Це виконується перевіркою біта UDRE регістру UCSRA. Далі для початку передавання байту потрібно записати його у регістр UDR. Після цього USART у фоновому режимі починає передачу і зупиняється коли байт переданий.
Для передачі масиву данних необхідно виконувати такі сеанси для кожного байту масиву.
Прийом по USART більш складний за передачу. Справа у тому, що прийом повинен бути у фоновому режимі, інакше це треба буде робити у головному циклі програми. Після прийому першого байту, треба чекати і приймати байти тільки на час називаємий таймаут, інакше якщо зв’язок раптом обірветься, або прийнятий байт буде результатом завади на лінії передачі, мікроконтроллер увійде у бекінечний цикл(зависання програми). Для цього USART має переривання RXC(Recieve complete). Коли байт надходить до рнгістру UDR спрацьовує переривання, мікроконтроллер починає виконувати обробник переривання. У обробнику перевіряється наявність першого байту команди, і якщо перший байт вірний, наступного разу виконується ініціалізація таймеру на час таймауту(цей час обчислюєтся згідно зі швидкістю прийому/передачі і кількості приймаємих байт) і піднімається прапорець, згідно з яким починається налаштовування приймаємих байт у пам’яті. Прийом продовжується доки не спрацює переривання за таймером, налаштованим на час таймауту. Обробник переривання таймеру зупиняє відлік і виконує діагностику прийнятої послідовності. Згідно з нею налаштовуються відповідні регістри, флаги і обчислюється код за яким виконується перехід до необхідного алгоритму.
3.1.4 Розробка головного циклу програми
У головному циклі програми виконується перевірка на наявність прийнятої послідовності. Якщо послідовність була прийнята і розпізнана як придатна до виконання виконується налаштовування необхідних пристроїв мікроконтроллера і перехід до необхідної підпрограми. Після виконання необхідного коду у випадку логічного аналізатора виконується передача зареєстрованих данних, у разі генератора слів відповідь, що код виконаний.
3.2 Розробка програмного забеспечення ПК
Розробка програмного забезпечення ПК починається з вибору мови програмування, та визначення, які ресурси комп’ютера і ОС необхідні для реалізації програми. Тому, для розробки програмного забеспечення була обрана мова програмування Delphi 7, а для звертання до ком порту використаний компонент SerialNG. Код цього компонента відкритий, не забороняється його використання у комерційних проектах. Також для відображення проаналізованих данних використаний стандартний компонент Chart, він дозволяє створювати графіки, та налагоджувати способ виводу. Інщі компоненти використані у програмі є загальновідомими і опис іхнього призначення можна знайти у [3].
3.2.1 Розробка інтерфейсу логічного аналізатора

Рис. 18 Інтерфейс користувача логічного аналізатора
Розробка прграмного забеспечення для ПК починається із розробки інтер фейсу користувача. Інтерфейс логічного аналізатора повинен мати елементи керування вибором частоти, вибором пкскового каналу і виглядом сиглалу запуску(за підвищенням або спадом). Головне, користувачеві повинно бути надано діаграму усіх 8-ми каналів за часом, та елементи, які дозволяють виконувати зручний перегляд та пошук необхідних послідовностей. Загальний вигляд розробленого інтерфейсу наданий на рис. 18.
3.2.2 Розробка інтерфейсу генератора слів

Інтерфейс користувача генератору слів повинен мати елементи керування режимом роботи генератора: циклічний, одноразовий та шаговий. Також він повинен дозволяти змінювати швидкість генерації, запускати та зупиняти генерацію. Головним елементом інтерфейсу генератора, є список вводу необхідної послідовності. Він повинен передбачати помилки при вводі шістнадцятирічних чисел, та налаштовуванню діапазонів. Загальний вигляд інтерфейсу користувача зображений на рис. 19.
Рис. 19 Інтерфейс користувача генератору слів
Також мова інтерфейсу яка була використана це російська.
3.2.3 Розробка інтерфейсу прийому/передачі
В усіх випадках, зв’язок виконаний через COM порт. Як і випадку із мікроконтроллером, необхідно спочатку налагодити порт. Сучасні ОС не дозволяють отримувати безпосередній доступ до портів вводу виводу, метою цього є боротьба за беспеку. Але вони надають спеціальні функції для реалізації таких дій. В данному випадку була обрана ОС Windows 2000 або XP. Вона має необхідний обсяг сервісних функцій для реалізації данної дії, їх називають API. Але при розробці за допомогою API виникли деякі проблеми. Більшість яких була зв’язана із великим обсягом часу для розробки стійкого коду роботи із послідовним портом. Були отримані деякі показники, але програма приймала сбійні байти, і інколи зависала. Тому було прийнято рішення використати компонент. Delphi дозволяє створювати і використовувати візуальні компоненти. Ці компоненти спрощують програмування, якщо при розробці непотрібні нестандартні компоненти, але незабороняється іх створювати або встановлювати. В інтернеті можна знайти безліч похідних кодів і багато з них можна використовувати вільно. Одним з таких компонентів є компонент SerialNG. Оскільки останнім часом велика кількість файлів “мігрує” з серверу на сервер, місце знаходження данного компоненту не вказується, але його назви достатньо для пошуку за допомогою відомих пошукових серверів(також не приводиться у цілях реклами). Цей компонент дозволяє візуально налагодити роботу із послідовним портом і нескладний у використанні.
3.2.3 Розробка алгоритму програми
Загальний алгорим за яким працює програма наданий у додатках. Текст програми не містить складних алгоритмів. Можна тільки зазначити, що для фільтрації вводу були використані перехоплювачі повідомлень WM_KEYPRESSED. Обробники таких перехоплювачів змінюють код отриманого символу на неіснуючий, якщо символ виходить за рамки встановлені при розробці обробника. Оскільки код виконаний у вигляді одного програмного модуля, проблем із використанням COM порту не виникає. Треба зазначити, що доступ який надає ОС Windows 2000/XP до порту є монопольним, і якщо на момент виконання данної програми будуть використовуватись інщі програми, які отримують доступ до COM порту, доступ залишиться тільки у вашої програми. Навпаки ж якщо якась з сторонніх програм виконується і доступ до порту належить їй, данна програма не зможе отримати доступ.
4 ТЕСТУВАННЯ ПРОГРАМНОГО ЗАБЕСПЕЧЕННЯ
При тестуванні програмного забеспечення були використані сторонні програмні та апаратні засоби. Одними з таких засобів є монітор послідовних портів wTerm.(рис. 20) Він надає зручний інтерфейс для контролю, передачі, та прийманню данних за допомогою послідовних портів. Перший тест це реакція на команди які надходять із інтерфейсу користувача до стенду. Для цього треба спочатку перевірити стенд. За допомогою wTerm в порт передається необхідна послідовність керуючих слів, якщо стенд прийняв послідовність і працює правильно він повинен у відповідь передати відповідь + 1024 байти проаналізованих данних. Для перевірки правильноі працездатності інтерфейсу користувача потрідно з’єднати 2 порти ПК нульмодумним кабелем(прийом передача - схрещені), і wTerm настроїти на роботу із портом COM2. Якщо після натиснення кнопки запуску логічного аналізатора у вікні прийому wTerm з’явиться необхідна послідовність, можна спробувати передати логічному аналізатору відповідь у форматі керуючі слова + 1024 байти данних. Якщо данні з’являться у елементі перегляду логічних станів логічного аналізатору можна візуально перевірити іх на достовірність. Аналогічни чином перевіряється генератор слів, тільки для аналізу видаваємих данних використовується осцилограф або ЛА стороннього виробництва. Остаочна перевірка закінчується повноцінною працездатністю програмного забеспечення. Стенд підєднується до порту COM1 і за допомогою генератору сигналів стороннього виробництва перевіряється працездатність ЛА, аналогічно перевіряється ГС, і останній режим – ЛА+ГС можна перевірити з’єднавши шину ЛА і шину ГС перемичками. Після генерації у пошаговому режимі сгенерована послідовність повинна з’являтись у вікні логічного аналізатора.
Остаточна перевірку можна виконати за допомогою генератору сигналів послідовно змцнюючи частоту генерації, таким чином намагаючись зняти реальні технічні показники системи. Але показники які необхідні для проведення лабораторних робіт за аналізом вхідного завдання повністю відповідають показникам працесдатності системи.

Рис. 20 Загальний вигляд монітору послідовного порту wTerm
5 БІЗНЕС-ПЛАН
Резюме
В даному бізнес-плані розглядається можливість реалізації програмного продукту “Віртуальний вимірювальний комплекс”. Даний проект має потребу у інвестиції 1800 грн. Передбачається, що кошти для інвестиції будуть взяті з власного рахунку розробників даного програмного продукту. Розробка програмного продукту триватиме 4 місяці, в ній будуть задіяні 2 спеціаліста, а саме: керівник проекту та програміст. Також буде найнятий інженер для тиражування програмного продукту. Розробка програмного продукту “Віртуальний вимірювальний комплекс” буде вестися на власному комп’ютері розробників, тому кошти для оренди комп’ютеру не потрібні.
В даному бізнес-проекті обрана спрощена форма оподаткування – єдиний податок по ставці 10%. Передбачається, що проект окупиться в перший же рік його реалізації. Потенційними покупцями даного програмного продукту можуть бути:
а) Будинки відпочинку, пансіонати і готелі, підприємства громадського харчування на Чорному й Азовському морях. Для цієї групи потенційних споживачів автономне безперебійне постачання гарячою водою дозволить підвищити рівень обслуговування відпочиваючих. Особлива привабливість гелиосистем для цієї групи клієнтів обумовлена тим, що їхня діяльність протікає в основному в літній період, що є найбільш сприятливим для роботи таких систем. статистичних даних показав, що на Україні функціонує більше 3000 будинків відпочинку й санаторіїв. Для великих пансіонатів і будинків відпочинку час функціонування не обмежується тільки літнім періодом. Тому для них більше кращими будуть двоконтурні системи, що працюють в автоматичному режимі. Для невеликих туристичних баз і кемпінгів, що працюють тільки в літній період, будуть кращими економічної термосифонної системи.
б) Фермерські господарства, селянські садиби, міське населення яке має дачі, для яких використання гелиосистем для одержання гарячої води є комерційно привабливим. Економічний аналіз показує, що якщо підігрів води вироблятися за рахунок електроенергії, то при існуючій собівартості електроенергії на Україні 0.03$/кВт*година матеріальні витрати на придбання колекторів окупаються за 3 роки, якщо вартість теплового колектора не вище 150$/м2. Аналіз статистичних показав, що на Україні функціонує 32400 фермерських господарств, близько 15.9 мільйона чоловік живе в селах і селах і кожна десята міська родина має дачну ділянку. Для структур ці господарства функціонуючих тільки в літній період будуть становити інтерес економічні одноконтурні термосифонні системи гарячого водопостачання й сонячні сушарки.
в) Громадян зі статком вище за середнє частки, що мають, будинку. Аналіз статистичних даних показав, що таких людей на Україні більше 100 000 чоловік (їхній щомісячний доход перевищує 500$). Для цієї категорії громадян, по міркуваннях забезпечення європейського рівня життя, для незалежності від можливих перебоїв із централізованим постачанням гарячою водою буде привабливим закупити системи сонячних колекторів, що працюють в автоматичному режимі. Прямим підтвердженням привабливості для населення автономних енергетичних систем є успішна реалізація десятками фірм на Україні електронагрівників води. Ціна електронагрівника становить 150-200$, витрати на оплату споживаної електроенергії для гарячого водопостачання родини з 4 чоловік становлять 1$ у день. Істотним недоліком цих систем є те, що вони функціонують тільки при подачі електроенергії. На Україні крім проблеми з постачанням гарячою водою гостро коштує проблема електропостачання. З метою економії практикується відключення електроенергії по кілька разів у добу протягом декількох годин. Таким чином, електронагрівники не в змозі забезпечити дійсно автономне постачання гарячою водою.
г) Будівельних фірм які займаються будівлею елітного житла. Такі фірми будуть постійними клієнтами на ринку гелиосистем. Використання гелиосистем дозволить підвищити не тільки якісні показники комфортності житла, але і його престижність за рахунок наближення до західних стандартів. Аналіз статистичних даних показав, що на Україні працює більше сотні будівельних компаній зазначеного вище профілю. Для таких будівельних фірм уже на стадії проектування житла може бути передбачено, що гаряче водопостачання буде здійснюватися на базі двоконтурних гелиосистем працюючих безперебійно в автоматичному режимі
Ціна нашого програмного продукту, який розроблюється, буде дорівнювати 3540 грн. Прибуток з однієї копії програмного продукту складатиме 590 грн. Передбачається, що в перший рік прибуток складатиме 112690 грн. Аналогів програмного продукту “ Віртуальний вимірювальний комплекс ” на ринку СНД та у країнах ближнього зарубіжжя немає.
5.1 Доцільність виробництва продукту
Мета розробки програмного продукту “Віртуальний вимірювальний комплекс ” полягає в тому, що сучасні установи все більше використовують комп’ютерні програмні продукти з діагностичною метою. Для забезпечення точності і логічності при встановленні вольт-амперних характеристик потрібен математичний підхід.
5.2 Опис характеристик продукту
5.2.1 Найменування та призначення
Програмний продукт має назву “ Віртуальний вимірювальний комплекс ”. Система проста у використанні й інтуїтивно зрозуміла користувачеві.
Розроблений програмний продукт може бути використаний при перетворенні сонячної енергії у електричну.
5.2.2 Загальні параметри продукту
Функціонування продукту повністю забезпечується стандартною конфігурацією IBM PC/AT сумісних персональних ЕОМ, наявністю процесора CPU-Intel Pentium II, Pentium III або його аналогів AMD К6, AMD K7 і вище з об’ємом оперативної пам’яті 32 Мб, наявністю відеоадаптеру SVGA та накопичувачу на жорсткому магнітному диску об’ємом не менш ніж 400 Мб.
Програмний продукт призначений для праці в середовищі WIN32 для операційної системи Microsoft Windows 98 і вище.
5.3 Оцінка витрат на розробку
5.3.1 Визначення потреби у матеріальних та трудових ресурсах
У таблиці 5.1 приведені витрати на матеріали при розробці програмного продукту.
Таблиця 5.1 - Покупні матеріали при розробці даного продукту
|
Матеріали |
Кількість,шт. |
Вартість, грн. |
Загальна вартість, грн. |
Призначення |
|
Дискети |
2 |
3,00 |
6,00 |
Збереження програми |
|
Папір |
200 |
0,03 |
6,00 |
Роздруківка вихідних текстів |
|
Література |
5 |
0,00 |
0,00 |
Уся література була узята в бібліотеці. |
|
Тонер для принтера |
2 |
8,00 |
16,00 |
Роздруківка документації |
|
Сумарна вартість, грн. |
28,00 |
Перелік спеціалістів для реалізації проекту приведений у таблиці 5.2.
Таблиця 5.2 - Перелік спеціалістів для реалізації проекту
|
Спеціаліст |
Кількість, чол. |
Призначення |
|
Керівник проекту |
1 |
Консультації |
|
Програміст |
1 |
Напис програмного продукту |
|
Інженер |
1 |
Тиражування |
Розрахуємо розмір оплати спеціалістів.
Трудовитрати в людино-днях обчислюється по формулі:
Т = Т>оф>+Т>а>+Т>с>+Т>п>+Т>о>+Т>д>, (5.1)
де Т>оф> – трудомісткість вивчення опису задачі та формулювання її постановки;
Т>а> – трудомісткість на розробку алгоритму програми;
Т>с> – трудомісткість на складання схеми алгоритму;
Т>п> – трудомісткість на розробку програми;
Т>о> – трудомісткість на налагодження програми;
Т>д> – трудомісткість на оформлення документації.
Трудовитрати всіх видів визначаються через умовну кількість операторів (Q) програми, що обчисляються по формулі:
, (5.2)
де q – передбачувана кількість команд програми;
К – коефіцієнт складності програми (для рішення задач у реальному часі – 1,5);
Р – коефіцієнт корекції програми (від 0,4 до 0,8); n – кількість корекцій програми.
У даному програмному комплексі передбачуване число команд програми – 450. Приймаємо коефіцієнт складності програми К=1,5. При наладці програми, можливо, буде зроблено 6 корекцій, з них 4 з коефіцієнтом 0,7 і 2 з коефіцієнтом 0,3. Виходячи з цих даних, можна обчислити умовну кількість операторів програми:
Q = 450*1,5*(4*0,7+2*0,3) = 2295 умовних операторів.
Трудомісткість на вивчення опису програми і формулювання її постановки визначаємо по формулі:
, (5.3)
де V>оф> – індивідуальна продуктивність виконавця (команд/години);
дані о продуктивності виконавця приведені у таблиці 6.3;
К>кв> – коефіцієнт кваліфікації виконавця; v – коефіцієнт, що враховує якість опису (0,9-1,0), в нашому випадку даний коефіцієнт буде дорівнювати 1.
Таблиця 5.3 - Дані о продуктивності виконавця
|
Вигляд роботи |
Продуктивність команд/години |
|
Вивчення опису задачі, формулювання постановки задачі. |
80 |
|
Розробка алгоритмів рішення задачі |
20 |
|
Складання схеми програми |
15 |
|
Розробка програми |
20 |
|
Наладка програми |
5 |
|
Оформлення документації |
20 |
Коефіцієнт кваліфікації залежить від стажу роботи й дорівнює:
– до 2-х років – 0.8;
– від 2-х до 3-х років – 1.0;
– від 3-х до 5-ти років – 1.2;
– від 5-ти до 7-ми років – 1.4.
У нашому випадку коефіцієнт кваліфікації буде дорівнювати – 1,4.
Трудовитрати на інші види робіт розраховуємо по формулі:
, (5.4)
де i – вигляд роботи;
V>i> – продуктивність виконавця (таблиця 6.3).
Зробимо розрахунок трудовитрат, який представлений в таблиці 5.4.
Таблиця 5.4 - Розрахунок трудовитрат
|
Вид роботи |
Розрахункова кількість людино-діб |
|
Вивчення опису задачі, формулювання постановки задачі |
Т>оф> =2,56 |
|
Розробка алгоритмів рішення задачі |
Т>а> = 10,25 |
|
Складання схеми програми |
Т>с> = 13,66 |
|
Розробка програми |
Т>п> =10,25 |
|
Наладка програми |
Т>о> = 40,98 |
|
Оформлення документації |
Т>д> =10,25 |
|
Разом: |
Т =87,95 |
Зарплату розробникам можна полічити виходячи з місячного окладу розробника і терміну, необхідного для розробки програмного продукту. Термін розробки визначається виходячи з 22 робочих днів в місяць:
Т>м> = Т/22 =87,95/22 = 3,99 місяця.
Розрахунок витрат на основну заробітну плату зображений в таблиці 5.5.
Пайова участь керівника проекту дорівнює 20 % від посадового окладу.
Для подальшої реалізації програмного продукту потрібно найняти інженера й встановити йому відрядну заробітну плату у розмірі 1 грн. за створення однієї копії.
Додаткова заробітна плата (З>доп>>.>) вміщує до себе доплати, надбавки, гарантійні і компенсаційні виплати, передбачені законодавством.
Додаткову заробітну плату приймаємо 10 % від З>осн>
Таблиця 5.5 - Розрахунок заробітної плати
|
Посада |
Оклад, грн. |
Кіл-ть, людин. |
Час зайн-сті, міс. |
Заробітна плата за місяць, грн. |
Основна заробітна плата, грн. |
|
Керівник проекту |
300 |
1 |
4 |
300*0.2=60 |
1200*0.2=240 |
|
Програміст |
200 |
1 |
4 |
200 |
800 |
|
Разом |
260 |
1040 |
Таким чином додаткова заробітна плата буде дорівнювати 1040*0,1=104 грн.
5.4 Розрахунок витрат та договірної ціни продукту
При розрахунку експлуатаційних витрат необхідно визначити час налагодження програми (Т>мв>) на ЕОМ по наступній формулі:
, (5.5)
де m – витрати машинного часу на налагодження однієї команди (год.).
В дипломному проекті m прийнято рівним одній хвилині.
Після розрахунку Т>мв> буде дорівнювати
Т>мв>=2295/84 27
Вартість машинного часу визначається по наступній формулі:
З>мв>> >= С>м.ч>·Т>м.в>, (5.6)
де С>мч> – вартість однієї машино-години, з розрахунку 1 грв за 1 год.
Таким чином вартість машинного часу буде дорівнювати З>мв> = 27 грв.
До відрахувань на соціальні заходи відносяться:
– відрахування на державне (обов’язкове) соціальне страхування, включаючи і відрахування на обов'язкове медичне страхування, що разом складає 2,5 % від З>осн>+З>доп>. Відрахування на соціальне страхування складає (1040+104)*0,025=28,60 грн.
– відрахування на державне (обов’язкове) пенсійне страхування (у Пенсійний фонд) складає 32 % від З>осн>+З>доп>. Відрахування на пенсійне страхування складає (1040+104)*0,32=366,08 грн.
– відрахування у Фонд сприяння зайнятості населення – 2.5 % від Зосн+Здоп. Відрахування у Фонд сприяння зайнятості населення складає (1040+104)*0,025=28,60 грн.
Відрахування на страхування від травматизму – 0,85% від Зосн.+Здоп. Дане відрахування складає (1040+104)*0,0085=9,724 грн.
Разом, відрахування на соціальні заходи складають 37,85% від Зосн. +Здоп. Відрахування на соціальні заходи складають (1040+104)*0,3785=433 грн.
До накладних витрат відносяться витрати на повне відновлення і капітальний ремонт Основного фонду (амортизаційні відрахування), орендна плата, вартість машинного часу, витрати на енергію і т.д. У даній роботі накладні витрати приймаються в розмірі 70 % від Зосн. Накладні витрати 1040*0,7=728 грн.
На підставі проведених розрахунків складаємо розрахунок витрат та договірної ціни програмного продукту, що приведений у таблиці 6.6. Необхідно врахувати те, що розрахунок витрат та договірної ціни проводиться для 100 копій програмного продукту. З цього приводу для розрахунку витрат на 1 копію програмного продукту – суму витрат необхідно поділити на 100.
Таблиця 5.6 - Розрахунок витрат та договірної ціни програмного продукту
|
Найменування статті витрат |
Сума, грн. |
|
1. Вартість матеріалів і покупних виробів |
28,00 |
|
2. Основна заробітна плата |
1040,00 |
|
3. Додаткова заробітна плата |
104,00 |
|
4. Відрахування на соціальні заходи |
433,00 |
|
5. Накладні витрати |
728,00 |
|
6. Вартість машинного часу |
27,00 |
|
7. Кошторисна вартість (сума пунктів з 1 по 6) |
2360,00 |
|
8. Прибуток (25% від пункту 7) |
590,00 |
|
9. Ціна розроблювача (сума пунктів 7, 8) |
2950,00 |
|
10. ПДВ (20% від пункту 9) |
590,00 |
|
11. Ціна продажу (сума пунктів 9, 10) |
3540,00 |
5.5 Розрахунок витрат на тиражування
Витрати на тиражування розраховуються наступним чином:
З>тир>=С>м.ч>·Т>к>+З>д>+З>и>, (5.7)
де Т>к> – час копіювання системи (1 копія – 0,034 год);
З>д> – вартість дискети (1 дискета –3,0 грн.);
Зи – зарплата інженера (1 грн. – 1 копія);
Смч – вартість однієї машино-години (1 грн.).
Витрати на тиражування однієї копії складуть:
Зтир=1*0,034+3,0+1=4,034 грн.
5.6 Аналіз стратегії маркетингу
Стратегія маркетингу є одним з основних техніко-економічних обґрунтувань програмного продукту, що розробляється. При освоєнні ринку підприємство використовує масовий, диференційований або цільовий маркетинг. У залежності від результатів проведеної сегментації ринку підприємство вибирає стратегію маркетингу, розробляє комплекс заходів щодо її реалізації.
Диференційований маркетинг передбачає вихід відразу на декілька сегментів ринку; розробляється відразу декілька комплексів маркетингу стосовно до кожного сегмента і прикладеної споживачам моделі виробу.
Підприємства з обмеженими ресурсами використовують, як правило, стратегію цільового маркетингу, особливо при достатній місткості вибраного сегмента і відсутності великого числа конкурентів. В нашому випадку найкраще вибрати диференційований або цільовий маркетинг.
5.6.1 Схема просування товару
Структура прямих каналів збуту підприємства, що пропонує продукт, включає наступні підрозділи:
– відділ збуту;
– збутові філіали;
– збутові контори підприємства.
Виробник, організуючі реалізацію своєї продукції через збутові філіали, домагається ряду переваг. За допомогою прямих контактів з споживачами через свій збутовий персонал, що звичайно є в складі збутового філіалу, він може провести більш концентровані і своєчасні заходи щодо просування своєї продукції. Реалізація програмного продукту може відбуватися як безпосередньо через виробника, так і через незалежних посередників (дистриб’юторів). Дистриб’ютори поділяються на наступні групи:
– функціонально – спеціалізовані дистриб’ютори;
– дистриб'ютори з товарною спеціалізацією;
– багато товарні дистриб’ютори.
Цінність оптового посередника для виробника продукції багато в чому залежить від того, як до цього посередника відносяться споживачі. Оптовий посередник, як правило, має можливість поставити вироби споживачеві швидше, ніж виробник, так як його склад звичайно привернений до підприємства споживача ближче, ніж філіал збутового органу виробника.
Послуги посередника сприяють також скороченню витрат на матеріально – технічне забезпечення і обробку облікової документації. У деяких випадках загальні витрати споживача на придбання виробів у посередника будуть нижчими, ніж у разі придбання його у виробника, який призначає ціну без урахування транспортування і страхування. Посередник же доставляє виріб споживачеві власним транспортом, включаючи вартість доставки відразу в ціну, що вигідніше споживачеві.
Програмний продукт “ Віртуальний вимірювальний комплекс ” може продаватися як безпосередньо споживачеві, так і через посередників.
5.6.2 Стимулювання продажу
Стимулювання збуту – це цілеспрямована діяльність підприємства по сприянню потенційним споживачам у виборі і придбанні продукції, що випускається ним або по створенню позитивної думки про неї.
Комплекс маркетингового стимулювання вміщує до себе крім рекламної діяльності наступні методи впливу на процес збуту виробів і послуг:
– персональний продаж;
– формування позитивної громадської думка про продукцію підприємства;
– економічне стимулювання збуту.
У нашому випадку найбільш підходять перший і останній методи, тобто персональний продаж та економічне стимулювання збуту.
Розглянемо їх детальніше.
Персональне (особисте) рекламування передбачає безпосередній контакт представника підприємства з споживачем продукції. У ході персонального продажу представник виробника допомагає споживачеві краще засвоїти переваги і вигоди виробу, що пропонується і переконує останнього придбати його або підтримати торгову марку виробника при спілкуванні з іншими споживачами.
Методами економічного стимулювання, що будуть доречними в нашому випадку, є:
- установка програмного продукту;
- повна технічна підтримка в течії року і консультації.
5.6.3 Організація реклами та витрати на неї
Рекламна діяльність становить важливу і невід’ємну частину загальної системи заходів маркетингу. Головна функція реклами полягає в індивідуалізації виробу, що рекламується, тобто виділенні його з маси конкуруючих на основі виділення якої-небудь відмітної властивості.
Шляхом формування попиту реклама активно впливає на виробництво і сприяє досягненню найбільш ефективних комерційних результатів на ринку. Рекламна діяльність підлегла загальним цілям і стратегії маркетингу, зокрема сприяє підготовці ринку до появи нового товару, підтримує початок продажу, їх розширення, досягнення максимальних об'ємів ринку, забезпечує додатковий продаж продукції в період заключної фази життєвого циклу виробу.
Рекламою для даного програмного продукту стане стаття у журналі “Радіохоббі”.
Вартість розміщення статті в даному виданні становить 60 грн.
5.7 Розробка фінансового плану
Мета даного розділу узагальнити матеріали попередніх розділів та представити їх у вартісному виразі.
В цьому розділі створюються карти прогнозу руху готівки для 1, 2 і 3-го років реалізації програмного продукту “ Віртуальний вимірювальний комплекс ”. Для першого року реалізації карта прогнозів складена на місяць, для другого по кварталах, для третього загалом на рік. У карти прогнозу вноситься графа “готівка”, тобто різниця між прибутками і сумою витрат. За допомогою цих карт будується таблиця прибутків та витрат. Карти прогнозів готівки для 1, 2 і 3-го років реалізації програмного продукту “ Віртуальний вимірювальний комплекс ” представлені, відповідно, в таблицях 6.7, 6.8 і 6.9. Рух готівки
Таблиця 5.7 - Карта руху готівки за перший рік реалізації
|
Прибуток, витрати |
Сума, грн. по місяцях |
Всього |
|||||||||||||
|
Місяць |
січень |
лютий |
берез |
квіт |
трав |
черв |
липень |
серп |
верес |
жовт |
лист |
груд |
|||
|
Обсяг продаж ПП |
0 |
0 |
0 |
5 |
9 |
10 |
12 |
15 |
25 |
31 |
38 |
46 |
191 |
||
|
Прибуток від реалізації |
0 |
0 |
0 |
2950 |
5310 |
5900 |
7080 |
8850 |
14750 |
18290 |
22420 |
27140 |
112690 |
||
|
П О С Т І Й Н І |
З/п. Керівн., програм.. |
260 |
260 |
260 |
260 |
0,0 |
0,0 |
0,0 |
0,0 |
0,0 |
0,0 |
0,0 |
0,0 |
1040 |
|
|
Накл. витр. |
182 |
182 |
182 |
182 |
0,0 |
0,0 |
0,0 |
0,0 |
0,0 |
0,0 |
0,0 |
0,0 |
728 |
||
|
Страх. Внесок |
108,25 |
108,25 |
108,25 |
108,25 |
0,0 |
0,0 |
0,0 |
0,0 |
0,0 |
0,0 |
0,0 |
0,0 |
433 |
||
|
Всього |
550,25 |
550,25 |
550,25 |
550,25 |
0,0 |
0,0 |
0,0 |
0,0 |
0,0 |
0,0 |
0,0 |
0,0 |
2201 |
||
|
З М І Н Н І |
Витр. Тираж |
0,0 |
0,0 |
0,0 |
20,17 |
36,306 |
40,34 |
48,408 |
60,51 |
100,85 |
125,054 |
153,292 |
185,564 |
770,494 |
|
|
Витр. рекл. |
0,0 |
0,0 |
60 |
0,0 |
0,0 |
0,0 |
0,0 |
0,0 |
0,0 |
0,0 |
0,0 |
0,0 |
60 |
||
|
Вартість машинного часу |
27 |
27 |
27 |
27 |
0,0 |
0,0 |
0,0 |
0,0 |
0,0 |
0,0 |
0,0 |
0,0 |
108 |
||
|
Податки (10% прибутка) |
0 |
0 |
0 |
295,0 |
531,0 |
590,0 |
708,0 |
885,0 |
1475,0 |
1829,0 |
2242,0 |
2714,0 |
11269,0 |
||
|
Всього |
27 |
27 |
87 |
342,17 |
567,306 |
530,34 |
756,408 |
945,51 |
1575,85 |
1954,054 |
2395,292 |
2899,564 |
12207,494 |
Таблиця 5.8 - Карта руху готівки за другий рік реалізації
|
Прибуток та витрати |
Сума, грн. |
Всього |
|||||
|
I кв. |
II кв. |
III кв. |
IV кв. |
||||
|
Об’єм реалізованого продукту |
50 |
55 |
60 |
65 |
220 |
||
|
Прибуток від реалізації |
29500 |
32450 |
35400 |
38350 |
129800 |
||
|
Постійні витрати |
Зарплата керівника |
0 |
0 |
0 |
0 |
0 |
|
|
Накладні витрати |
0 |
0 |
0 |
0 |
0 |
||
|
Страхові внески |
0 |
0 |
0 |
0 |
0 |
||
|
Всього |
0 |
60 |
0 |
0 |
60 |
||
|
Змінні витрати |
Витрати на тираж |
201,7 |
221,87 |
242,04 |
262,21 |
887,48 |
|
|
Витрати на рекламу |
0 |
60 |
0 |
0 |
60 |
||
|
Податки |
2950 |
3245 |
3540 |
3835 |
12980 |
||
|
Всього |
13927,48 |
Таблиця 5.9 - Карта руху готівки за третій рік реалізації
|
Прибуток та витрати |
Сума, грн. |
|
|
Об’єм реалізованого продукту |
350 |
|
|
Прибуток від реалізації |
206500 |
|
|
Постійні витрати |
Зарплата керівника |
0 |
|
Накладні витрати |
0 |
|
|
Страхові внески |
0 |
|
|
Всього |
60 |
|
|
Змінні витрати |
Витрати на тираж |
1411,9 |
|
Витрати на рекламу |
60 |
|
|
Податки |
20650 |
|
|
Всього |
22121,9 |
За результатами розрахунків складаємо таблицю прибутків і витрат (табл. 5.10).
Таблиця 5.10 - Прибутки та витрати
|
Назва показнику |
Сума, грн. |
Всього |
|||
|
1 рік |
2 рік |
3 рік |
|||
|
Кількість продаж |
191 |
220 |
350 |
761 |
|
|
Прибуток від продаж |
112690 |
129800 |
206500 |
448990 |
|
|
Пост. Витр. |
Зарплата (осн+дод) |
1144 |
0 |
0 |
1144 |
|
Відчислення на соціальні заходи: |
433 |
0 |
0 |
433 |
|
|
Вартість матеріалів |
28 |
0 |
0 |
28 |
|
|
Накладні витрати при реалізації |
728 |
0 |
0 |
728 |
|
|
Змін. Витр. |
Витрати на рекламу |
60 |
60 |
60 |
180 |
|
Вартість машинного часу |
108 |
0 |
0 |
108 |
|
|
Тиражування |
770,494 |
887,48 |
1411,9 |
3069,874 |
|
|
Податок |
11269 |
12980 |
20650 |
44899 |
|
|
Всього |
14432,494 |
13927,48 |
22121,9 |
50481,874 |
|
|
“Чистий” прибуток |
98257,506 |
115872,52 |
184378,1 |
398508,126 |
Визначимо точку беззбитковості – це такий обсяг продаж, при котрому окупаються всі витрати.
Аналітично вона визначається по формулі:
Т>б>=(З>пост>+З>р>)/(Ц>ед>-З>пер>), (5.8)
де З>пост> – постійні витрати на строк реалізації ПП (грн.);
З>р> – витрати на розробку ПП (грн.);
Ц>ед> – ціна одиниці продукції (грн.);
З>пер> – змінні витрати на одиницю продукції.
З>пост> та З>пер> визначаються з таблиці прибутків та витрат (табл. 5.10). З>пост> вміщує до себе заробітну плату на строк розробки програмного продукту, відчислення на соціальне страхування та накладні витрати. З>пер> вміщує до себе вартість машинного часу, витрати на тиражування, витрати на рекламу на строк реалізації програмного продукту. Витрати на розробку програмного продукту складаються з витрат на матеріали, що необхідні при розробці програмного продукту й складають 28 грн. З>пост> дорівнює 2305 грн. З>пер> дорівнює 3357,874 грн. Ціна одиниці продукту дорівнює 3540,00 грн. Таким чином точка беззбитковості буде дорівнювати наступному значенню:
Т>б>=(2305+28)/(3540-3357,874)= 13
Графік беззбитковості зображений на рисунку 5.1.
Готівка
Прибуток
З


З>пер >3357,87


З>пост >2305
761
Обсяг продаж ПП
13
Рис.5.1. Графік беззбитковості.
5.8 Висновки
Проведений аналіз дозволяє зробити висновок про доцільність розробки і продажу програмного продукту “ Віртуальний вимірювальний комплекс ” на ринку.
Собівартість продукту становить 3540 грн., а прибуток – 590 грн. за одиницю програмного продукту.
Максимальна ціна розробленого програмного продукту дорівнює:
Ц>max>=1.2·(C>cc>+1.3·П) = 1,2·(3540+1,3*590)= 5168,4 грн.
Мінімальна ціна розробленого програмного продукту дорівнює:
Ц>min>=1.2·(З>тир>+З>ад>+1.3·П)=1,2·(4,034+0+1,3·590)= 925,2408 грн.
Виходячи з отриманих результатів, установимо ціну продажу без обліку ПДВ. Ціна програмного продукту знаходиться в межах:
925,2408 грн. <= Ц>прод> <= 5168,4 грн.
Приймаємо ціну продажу програмного продукту рівної 3540 грн.
За перший рік планується реалізувати 191 одиницю продукції, за другий – 220, за третій – 350. Завдяки розрахунку точці беззбитковості було визначено обсяг продаж, при котрому окупуються усі витрати, він дорівнює 13 програмним продуктам. Потенційними покупцями даного програмного продукту можуть бути різноманітні споживачі електроенергії, та користувачі ЕОМ, що будуть зацікавлені цим програмним продуктом. Рекламу даного програмного продукту планується проводить завдяки спеціалізованому журналу “Радіохоббі” у вигляді статті, в якій буде описано всі можливості даного програмного продукту.
6 ОХОРОНА ПРАЦІ ТА НАВКОЛИШНЬОГО СЕРЕДОВИЩА
В даному розділі дипломного проекту на тему “Віртуальний вимірювальний комплекс на базі учбового лабораторного стенду EV8031 ” розглядаються питання створення оптимальних умов роботи оператора, користувачів розробляємого програмного продукту.
6.1 Загальні питання охорони праці
Охорона праці - це система правових, соціально-економічних, організаційно-технічних, санітарно-гігієнічних і лікувально-профілактичних заходів та засобів, спрямованих на збереження життя, здоров'я і працездатності людини у процесі трудової діяльності.
Завдання охорони праці – звести до мінімуму імовірність ураження або занедужання працюючого з одночасним створенням комфортних умов при максимальній продуктивності праці.
Для даного етапу реалізації програмного продукту питання охорони праці розглядаються щодо умов роботи оператора та науковця при дослідженні.
6.2 Характеристика виробничого середовища приміщення, де
виконується проектна робота
Приміщення міститься на третьому поверсі триповерхового будинку.
Площа приміщення повинна розраховуватись у відповідності з наступними вимогами: на одне робоче місце повинно відводитися 6 м2, об’єм 20 м3. Комп’ютери повинні розміщуватися на відстані не менше 1 м від стін. Відстань між боковими поверхнями комп’ютерів не повинна бути менше 1,2 м. Відстань між тильною поверхнею одного комп’ютера та екраном іншого – 2,5 м.
Категорія будинку за пожежонебезпекою – категорія В [6]. До цієї категорії належать приміщення, в яких знаходяться тверді пальні речовини та матеріали (при запаленні стороннім джерелом продовжують горіти після його зникнення).
Клас приміщення за пожежонебезпекою П-IІа [6].
Ступінь вогнестійкості будівельних конструкцій триповерхового будинку з категорією пожежонебезпеки В – I та II [6].
Клас приміщення за ступенем небезпеки ураження електричним струмом – приміщення з підвищеною небезпекою, тому що в ньому є можливість одночасного дотику людини до маючих з’єднання з землею металоконструкцій будинку, технологічним апаратом, механізмом та ін. з одного боку, та до металевих конструкцій – з іншого [7].
Помешкання повинно бути світлим, сухим i теплим. Підлоги роблять рівними, без вибоїв, щільними, мають не слизьку i зручну для чищення поверхню, i утримуються в чистоті. Радіатори i трубопроводи опалювальної i водопровідної систем обладнуються діелектриками (дерев’яними i т.д.) i закриваються огородженнями. Не можна застосовувати огородження з шаруватого паперового пластика i т.п.
Характеристика електричної мережі, що живить електроустаткування, приміщення: перемінний струм, частота 50 Гц, напруга 220 В, режим нейтралі – глухозаземлена нейтраль, споживча потужність комп’ютера 300 Вт.
6.3 Аналіз небезпечних і шкідливих факторів
У відповідності до ГОСТ 12.0.003–74 [9] при розробці системи, що виконується на комп’ютері, на людину впливають небезпечні та шкідливі фактори, перелік яких приведений в таблиці 7.1.
Таблиця 6.1 – Перелік небезпечних та шкідливих факторів
|
Найменування небезпечного та шкідливого фактора |
Джерело виникнення фактора |
Характер дії на людину |
Нормируване значення фактора |
Нормативний доку-мент |
|
Продовження таблиці 6.1 |
||||
|
1 |
2 |
3 |
4 |
5 |
|
1. Підвищений рівень іонізуючих випромінювань в робочій зоні |
Екрани та інші по-верхні ЕОМ |
Мутагенні процеси, що виникли все-редені орга-нізму |
Кількість в 1см3 повітря: позитивних іонів Ф=1500..3000, легких негативних іонів Ф=3000..5000 |
[10] |
|
2. Рентгенівське м’яке випроміню-вання |
Монітор (ЕПТ) |
Мутагенні процеси, що виникли все-редені орга-нізму |
На відстані 5 см від екрану рівень випрмінювання не повинен перевіщу-вати 100 мкр/г |
[11] |
|
3. Пряма та від-бита блискість |
Невірне розташу-вання ПК |
Перевтома зорового аналізатору |
Покажчик Р=0 |
[12] |
|
1 |
2 |
3 |
4 |
5 |
|
4. Підвищений рівень статичної електрики |
Діалект-рична по-верхя ком-п’ютера, джерела живлення |
Ураження струмом |
Е≤20 кВ/м |
[13] |
|
5.Підвищена або знижена темпе-ратура повітря |
Підвищена: недолік провітрюва-ності примі-щення, від-сутність кондиціоне-рів; Знижена: погана опа-люваність приміщення |
Порушення терморегуля-ції організму |
t=22..24C |
[14] |
|
6. Підвищений рівень шуму на робочому місці |
Друкарська техніка,вен-тиляція, ос-вітлюваль-ний прилад |
Загальна втома орга-нізму |
L≤50 дБА |
[15] |
|
7.Недолік при-роднього освіт-лення |
Невірне розташу-вання моні-тору, вікон-них прорізів |
Стомлення зорового аналізатору |
КПО не нижче 1,5% |
[12] |
|
8.Підвищена яскравість світла |
Невірне розташу-вання моні-тору |
Стомлення зорового аналізатору |
В=100 кд/м2 |
[11] |
|
9.Знижена контрасність |
Якість монітору |
Стомлення зорового аналізатору |
В>0 >– яскравість об’єкту, В>ф> – яскравість фону |
[11] |
|
10.Підвищене значення напруги в електричному ланцюгу |
Електрична,апаратура |
Ураження електричним струмом |
I=0,6 мА |
[18] |
|
11. Підвищена пульсація світ-лового потоку |
Лампи ден-ного світла, монітор ЕОМ |
Стомлення зору |
К>п>=5% |
[11] |
|
12. Виробничий пил |
Статична електрика, накопичена на поверхні комп’ютера |
Подразнення слизової оболонки |
ПДК=4мг/м3 |
[14] |
|
13. Статична напруга |
Постійна поза сидін-ня |
М’язова вто-ма |
Зниження стати-чної витривалості на 40% |
[11] |
|
14.Розумова перенапруга |
Труднощі виробничо-го завдання |
Загальне фі-зичне стом-лення, зни-ження праце-здатності |
Зниження витри-валості до вихід-ного 40-50% |
[11] |
|
15. Перенапруга зорових аналі-заторів |
Монітор ЕОМ |
Загальне фі-зичне стом-лення |
Подовження часу реакції на світло та звук 40-50% |
[11] |
6.4 Виробнича санітарія
Працівники обчислювального центра піддаються впливові шкідливих і небезпечних факторів виробничого середовища, електромагнітних полів, статичної електрики, шумів .
Оператори зазнають психоемоційної напруги.
6.4.1 Метереологічні умови
Метеорологічні умови на виробництві або мікроклімат визначають наступні параметри: температура (C), рухливість (м/с), відносна вологість повітря (%) і інтенсивність теплового випромінювання.
З урахуванням параметрів мікроклімату метеоумови в приміщенні поділяються на оптимальні та допустимі.
У відповіді до ГОСТ 12.1.005–88 [14] встановлюються оптимальні умови, при виборі яких враховується пора року та категорія роботи.
За затратами енергії розробка програмного продукту є легкою фізичною роботою (сидяча робота, не потребує фізичного напруження) – категорія 1а.
Але дипломна робота характеризується напруженою розумовою працею. Тому обрані оптимальні параметри мікроклімату, що наведені у таблиці 6.2.
Таблиця 6.2 – Оптимальні праметри мікроклімату
|
Категорія роботи по енергозатратам |
Пора року |
Температура повітря, С |
Відносна вологість повітря,% |
Швидкість руху повітря, м/с |
|
легка 1а |
Холодна |
22-24 |
40-60 |
0,1 |
|
Тепла |
23-25 |
Приміщення обладнане системами централізованого опалення (загальне парове), кондиціювання повітря та штучною припливно-витяжною вентиляцією відповідно до СНиП 2.04.05-91 [17].
6.4.2 Забезпечення виробничого освітлення
При освітленні виробничих приміщень використовується природне освітлення, створюване світлом неба (пряме та відбите) , штучне, здійснюване електричними лампами, та комбіноване.
Природне освітлення підрозділяють на бічне, верхнє, комбіноване.
В приміщенні використовується бічне природне освітлення, що здійснюється крізь бічні вікна. Воно повинне забезпечувати коефіцієнт природної освітленності (КПО) не нижче 1,5% [12].
Нормовані значення КПО для будинків, розташованих у IV поясі світлового клімату визначаються за формулою:
(6.1)
де
–
значення КПО для III поясу світлового
клімату складає 1,5%,
m – коефіцієнт світлового клімату (для міста Харкова m=0,9%),
c – коефіцієнт сонячності клімату (с=1).
=1,5*0,9*1=1,35%
Загальне освітлення повинно бути рівномірним.
Штучне освітлення приміщення з робочими місцями, обладнаними відеотерміналами ЕОМ загального та персонального користування, має бути обладнане системою загального рівномірного освітлення. Даний вид штучного освітлення і використовується на моєму робочому місці.
Дані по нормах освітлення для створення умов нормальної роботи середньої точності містяться у таблиці 6.3.
Таблиця 6.3 – Характеристика виробничого освітлення
|
Точність зорової роботи |
Міні-маль-ний розмір об’єк-ту |
Розряд зорової роботи |
Під-роз-ряд зоро-вої праці |
Кон-раст об’єк-ту фо-ну |
Харак-терис-тика фону |
Нормоване значення освітлення |
|||
|
Природ-не |
Штучне |
||||||||
|
|
,% |
L>min>, лк |
Тип ламп |
||||||
|
Середня точність |
0,5..1 |
IV |
В |
Се-ред-ній |
Серед-ня |
1,5 |
1,35 |
500 |
Га-зо-роз-ряд-ні |
Комфортні умови зорової роботи забезпечуються.
Загальне освітлення має бути виконане у вигляді суцільних або переривчатих ліній світильників, що розміщуються збоку від робочих місць (переважно зліва) паралельно лінії зору працівників. Допускається застосувати світильники таких класів світлорозподілу:
- світильники прямого світла - П;
- переважно прямого світла - Н;
- переважно відбитого світла - В.
При розташуванні відеотерміналів ЕОМ за периметром приміщення лінії світильників штучного освітлення повинні розміщуватися локально над робочими місцями.
Для загального освітлення необхідно застосовувати світильники із розсіювачами та дзеркальними екранними сітками або віддзеркалювачами, укомплектовані високочастотними пускорегулювальними апаратами (ВЧ ПРА). Допускається застосовувати світильники без ВЧ ПРА тільки при використанні моделі з технічною назвою "Кососвіт". Застосування світильників без розсіювачів та екранних сіток забороняється.
Як джерело світла при штучному освітленні повинні застосовуватися, як правило, люмінесцентні лампи типу ЛБ. При обладнанні відбивного освітлення у виробничих та адміністративно-громадських приміщеннях можуть застосовуватися метало галогенові лампи потужністю до 250 Вт. Допускається у світильниках місцевого освітлення застосовувати лампи розжарювання.
Яскравість світильників загального освітлення в зоні кутів промінювання від 50 до 90 відносно вертикалі в подовжній і поперечній площинах повинна складати не більше 200кд/м2 , а захисний кут світильників повинен бути не більшим за 40.
Коефіцієнт запасу (Кз) відповідно до СНиП 11-4-79 [12] для освітлювальної установки загального освітлення слід приймати рівним 1.4.
Коефіцієнт пульсації повинен не перевищувати 5% і забезпечуватися застосуванням газорозрядних ламп у світильниках загального і місцевого освітлення. При відсутності світильників з ВЧ ПРА лампи багатолампових світильників або розташовані поруч світильники загального освітлення необхідно підключати до різних фаз трифазної мережі.
Рівень освітленості на робочому столі в зоні розташування документів має бути в межах 300-500 лк. У разі неможливості забезпечити даний рівень освітленості забезпечити даний рівень освітленості системою загального освітлення допускається застосування світильників місцевого освітлення, але при цьому не повинно бути відблисків на поверхні та збільшення освітленості екрану більше ніж 300 лк.
Світильники місцевого освітлення повинні мати напівпрозорий відбивач світла з захисним кутом не меншим за 40 .
Необхідно передбачити обмеження прямої блискості від джерела природного та штучного освітлення, при цьому яскравість поверхонь, що світяться (вікна, джерела штучного світла) і перебувають у полі зору, повинна бути не більшою за 200 кд/м2.
Необхідно обмежувати відбиту блискість шляхом правильного вибору типів світильників та розміщенням робочих місць відносно джерел природного та штучного освітлення. При цьому яскравість відблисків на екрані відеотермінала на повинна перевищувати 40 кд/м2, яскравість стелі при застосуванні системи відбивного освітлення не повинна перевищувати 200 кд/м2.
Необхідно передбачити нерівномірність розподілу яскравості в полі зору осіб, що працюють з відеотерміналом, при цьому відношення значень яскравості робочих поверхонь не повинно перевищувати 3:1, а робочих поверхонь і навколишніх предметів (стіни, обладнання) - 5:1.
Необхідно використовувати систему вимикачів, що дозволяє регулювати інтенсивність штучного освітлення залежно від інтенсивності природного, а також дозволяє освітлювати тільки потрібні для роботи зони приміщення.
Для забезпечення нормованих значень освітлення в приміщеннях з відеотерміналами ЕОМ загально та персонального користування необхідно очищати віконне скло та світильники не рідше ніж 2 рази на рік, та своєчасно проводити заміну ламп, що перегоріли.
Виробничі приміщення, в яких розташовані ЕОМ, не повинні межувати з приміщеннями, де рівні шуму та вібрації перевищують норму (механічні цехи, майстерні тощо).
6.4.3 Шум
У приміщеннях з ЕОМ рівні звукового тиску, рівні звуку та еквівалентні рівні звуку на робочих місцях повинні відповідати вимогам ГОСТ 12.1.003-83 ССБТ [15] ”Шум. Общие требования безопасности", СН 3223-85 "Санітарні норми допустимих рівнів шуму на робочих місцях з урахуванням напруженості та тяжкості праці", затверджених Міністерством охорони здоров'я України. Рівні шуму на робочих місцях осіб, що працюють з відеотерміналами та ЕОМ, визначені ДСанПІН 3.3.2-007-98[19]
Для забезпечення нормативних рівнів шуму у виробничих приміщеннях та на робочих місцях застосовуються шумопоглинальні засоби, вибір яких обґрунтовується спеціальними інженерно-акустичними розрахунками.
Як засоби шумопоглинання повинні застосовуватися негорючі або важкогорючі спеціальні перфоровані плити, панелі, мінеральна вата з максимальним коефіцієнтом звукопоглинання в межах частот 31.-8000 Гц, або інші матеріали аналогічного призначення, дозволені для оздоблення приміщень органами державного санітарно-епідеміологічного нагляду. Крім того, необхідно застосовувати підвісні стелі з аналогічними властивостями.
6.4.4 Випромінювання вiд екрана
ВДТ генерує декілька типів випромінювання, у тому числі: гамма тормозне, рентгенівське, радіочастотне, мікроволнове, видиме, ультрафіолетове й інфрачервоне випромінювання. Рівні цих випромінювань не перевищують діючих норм.
Вимоги щодо допустимих значень неіонізуючого електромагнітного випромінювання:
– напруженість електромагнітного поляна відстані 50 см. Навкруги ВДТ за електричною складовою не повинна перевищувати:
у діапазоні частот 5 Гц - 2 кГц – 25 В/м,
у діапазоні частот 2 кГц - 400 кГц – 2,5 В/м,
– щільність магнітного потоку не повинна перевищувати:
у діапазоні частот 5 Гц - 2 кГц – 250 нТл,
у діапазоні частот 2 кГц - 400 кГц – 25 нТл,
– поверхневий електростатичний потенціал не повинен перевищувати 500 В.
Конструктивне рішення екрана дисплея таке, що рентгенівське випромінювання від екрана на відстані 10 см не перевищує 100 мкР/г [19].
У помешканнях із дисплеями необхідно контролювати аероіонізацію. У таблиці 6.4 наведені рівні іонізації повітря робочої зони обчислювального центру (ОЦ).
Таблиця 6.4 - Рівні іонізації повітря робочої зони ОЦ
|
Рівні |
Кількість іонів в 1 см повітря |
|
|
n+ |
n- |
|
|
Мінімально необхідні |
400 |
600 |
|
Оптимальні |
1500-3000 |
3000-5000 |
|
Максимально допустимі |
50000 |
50000 |
Варто враховувати, що м'яке рентгенівське випромінювання, що виникає при напрузі на аноді 20-22 кВ, а також напруга на струмоведучих ділянках схеми викликає іонізацію повітря з утворенням позитивних іонів, що вважаються несприятливими для людини.
6.5 Техніка безпеки
Тому що лабораторія, де знаходяться ЕОМ, не є помешканням із підвищеним утриманням механічних, теплових або радіаційних небезпек, але є споживачем електричної енергії (трифазна мережа перемінного струму напругою 220 В та частотою 50 Гц), то в даному помешканні є небезпека поразки людини електричним струмом. Тому при розгляді питань техніки безпеки обмежимося розглядом електробезпеки.
Передбачено такі міри електробезпеки:
– конструктивні заходи електробезпеки;
– схемно-конструктивні заходи електробезпеки;
– експлуатаційні заходи електробезпеки.
Конструктивні заходи безпеки спрямовані на запобігання можливості дотику людини до струмоведучих частин.
Для усунення можливості дотику оператора до струмоведучих частин, усі рубильники встановлені в закритих корпусах, усі струмоведучі частини поміщені в захисний корпус або мають захисний прошарок ізоляції, що виключає можливість дотику до них, застосовується блоковий монтаж. Живлячий електричний ланцюг має ізоляцію, виконану відповідно до ГОСТ 14254-80 [20]. Ступінь захисту устаткування відповідає IР44
(де 4 захист від твердих тіл розміром більш 1 мм; 4 – захист від бризок) відповідно до ПУЭ-87 [7].
Відповідно до ГОСТ 12.2.007.0-75* [21] приймаємо I клас захисту від поразки електричним струмом обслуговуючого персоналу тому, що комп'ютер має робочу ізоляцію й елементи занулення.
Схемно-конструктивні заходи електробезпеки забезпечують безпеку дотику людини до металевих не струмоведучих частин електричних апаратів при випадковому пробої їхньої ізоляції і виникнення електричного потенціалу на них.
Живлення здійснюється від трьох провідної мережі: фазовий дріт, нульовий робочий дріт, нульовий захисний дріт.
Тому що напруга менше 1000 В, але більше 42 В, то відповідно до ГОСТ 12.1.030-81* [22] із метою захисту від поразки електричним струмом застосовуємо занулення, тому що лабораторія є помешканням із підвищеною небезпекою поразки людини електричним струмом, так як можливий одночасний дотик людини до металоконструкцій будинків і т.п., що мають з’єднання з землею з одного боку, і до металевих корпусів електронного устаткування – з іншого.
Занулення – навмисне електричне з’єднання з нульовим захисним провідником металевих не струмоведучих частин, що можуть виявитися під напругою.
Принцип дії занулення – перетворення пробою на корпус в однофазне коротке замикання з метою викликати великий струм, здатний забезпечити спрацьовування захисту і тим самим автоматично відключити ушкоджену установку від живлячої мережі. Таким захистом є: плавкі запобіжники, що здійснюють захист одночасно від струмів короткого замикання і перевантаження.
З
анулення
потребує наявності в мережі нульового
дроту, глухого заземлення нейтралі
джерела струму і повторного заземлення
нульового дроту (рис. 6.1).
Рис. 6.1. Принципова схема занулення
1 - корпус електроустановки;
2 - апарати захисту від струмів КЗ (запобіжники);
Ro - опір заземлення середньої точки обмотки джерела струму;
Rп - опір повторного заземлювача нульового захисного провідника;
Iк - струм короткого замикання;
Iн - частина струму короткого замикання, що протікає через нульовий захисний провідник;
Iз - частина струму короткого замикання, що протікає через землю.
По засобу захисту від поразки електричним струмом проектована система відноситься до I класу відповідно до ГОСТ 12.2.007.0-75* [21].
Призначення елементів занулення:
– призначення нульового захисного провідника – забезпечити необхідне для відключення установки значення струму однофазного короткого замикання шляхом створення для цього струму ланцюга з малим опором;
– призначення заземлення середньої точки – зниження напруги занулених корпусів (а отже, нульового захисного провідника) щодо землі до безпечного значення при замиканні фази на землю;
– призначення повторного заземлення захисного провідника – зниження напруги щодо землі занулених конструкцій у період замикання фази на корпус як при справній схемі занулення, так і у випадку обриву нульового захисного дроту.
Таким чином, занулення здійснює дві захисних дії – швидке автоматичне відключення ушкодженої установки від живлячої мережі і зниження напруги занулених металевих не струмоведучих частин, що виявилися під напругою, щодо землі.
Первинним джерелом живлення ПЕОМ є трьохпровідна мережа: фазовий дріт, нульовий робочий дріт, нульовий захисний дріт. Електроживлення здійснюється від електроустановки (трансформатора) із регульованою напругою під навантаженням. Напруга мережі подається в розподільну шафу.
У помешканні лабораторії прокладена шина повторного захисного заземлення (заземлюєчий провідник) виконана відповідно до ГОСТ 12.1.030 81* [22], що металево з’єднується з заземленою нейтраллю електроустаткування.
Опір заземлюючого пристрою, до якого приєднана нейтраль, не більш 0,6 Ом. Шина повторного захисного заземлювача доступна для огляду.
Для роботи з пристроями під високою напругою необхідні наступні запобіжні заходи:
– не підключати і не відключати рознімання кабелів при напрузі мережі;
– технічне обслуговування і ремонтні роботи допускається виробляти тільки при виключеному живленні мережі;
– до роботи допускаються особи, які навчені і які мають групи допуску до роботи на машинах відповідно до ПУЭ-87 [7].
6.6 Пожежна безпека
Пожежна безпека – стан об'єкта при якому із установленою ймовірністю виключається можливість виникнення і розвитку пожежі, а також забезпечується захист матеріальних цінностей.
Причинами, що можуть викликати пожежу в розглянутому
помешканні, є:
– несправність електропроводки і приладів;
– коротке замикання електричних ланцюгів;
– перегрів апаратури;
– блискавка.
Помешкання обчислювального центру по пожежній безпеці відноситься до категорії В відповідно до ОНТП-24-86 [6], тому що в обігу знаходяться тверді спалимі речовини і матеріали. Ступінь вогнестійкості будинку – II відповідно до СНиП 2.01.02-85 [8], клас помешкання по пожежній небезпеці П-IIа, відповідно до ПУЭ-87 [7].
Пожежна безпека відповідно до ГОСТ 12.1.004-91 [16] забезпечується системами запобігання пожежі, пожежного захисту, організаційно-технічними заходами.
Система запобігання пожежі:
– контроль і профілактика ізоляції;
– наявність плавких вставок і запобіжників в електронному устаткуванні;
– для захисту від статичної напруги використовується заземлення;
– захист від блискавок будівель і устаткування.
Для даного класу будівель і місцевості із середньою грозовою діяльністю 10 і більш грозових годин у рік, тобто для умов м. Харкова встановлена III категорія захисту від блискавок.
Ступінь захисту відповідному класу помешкання П II-а IР44 для устаткування і IР2Х для світильників.
Система пожежного захисту:
– аварійне відключення і переключення апаратури;
– наявність первинних засобів пожежегасіння, вогнегасників ОП-5, тому що вуглекислота має погану електропровідність, або порошкових вогнегасників;
– система оповіщення, світлова і звукова сигналізація;
– захист легкозаймистих частин устаткування, конструкцій захисними матеріалами;
– використання негорючих матеріалів для акустичної обробки стін і стель;
– у помешканнях, де немає робочого персоналу, встановлена автоматична система пожежного захисту.
Для успішної евакуації персоналу при пожежі розміри дверей робочого помешкання повинні бути наступними: ширина дверей не менше 1,5 м., висота дверей не менше 2,0 м., ширина коридору 1,8 м.; робоче помешкання повинно мати два виходи; відстань від найбільше віддаленого робочого місця не повинне перевищувати 100 м.
Організаційні заходи пожежної профілактики:
– навчання персоналу правилам пожежної безпеки;
– видання необхідних інструкцій і плакатів, плану евакуації персоналу у випадку пожежі.
Будівля обчислювального центру відповідає вимогам пожежної безпеки.
6.7 Охорона навколишнього середовища
При вирішенні технічних задач необхідно приділяти особливу увагу питанню взаємодії виробничої середи з навколишньою природною середою. Результат хозяйственної діяльності людини сказується вже не тільки в локальному, але й у регіональному, а у ряді випадків і глобальному масштабах. Охорона навколишнього середовища становиться важливою соціальною та економічною проблемою.
На порозі ІІІ тисячоліття людство знаходиться з досить суперечливим надбанням. З одного боку-бурхливі темпи загальнолюдського прогресу, а з другого-його негативні наслідки прямо протилежної спрямованості. Останні проявляються, насамперед, у надмірному забрудненні навколишнього середовища й інтенсивній його деградації.
В законі Украйни про охорону навколишнього середовища регламентується «Законом про охорону навколишнього природного середовища, 1991р. При виконанні дипломної роботи утворюються тверді побутові відходи (папір, канцелярські вироби та інші), а також комп’ютерні та інші види організаційної техніки, яка відпрацювала свій термін. Вони повинні утилізовуватися на полігонах твердих побутових відходів з максимальним використанням в якості вторинних ресурсів.
6.8 Висновок
Дотримання наведених в таблицях 6.1, 6.2, 6.3 нормативних значень параметрів шкідливих та небезпечних факторів, оптимальних параметрів мікроклімату, норм освітлення дозволить забезпечити безпечні умови праці користувача ЕОМ.
СПИСОК ДЖЕРЕЛ ІНФОРМАЦІЇ
Datasheet ATMega8515 www.atmel.com.
Техническое описание стенда EV8031.
М.Е. Фленов, Библія програміста (Delphi), Москва, 2008, 349с.
Стив Тейксейра, Ксавье Пачеко, Borland Delphi 6. Руководство разработчика, Питер, 2008, 1120с.
Парижский С.М., Delphi. Только практика, Питер, 2008, 208 с.
ОНТП-24-86, МВД СССР. "Общесоюзные нормы технологического проектирования. Определение категорий зданий и сооружений по взрывопожарной и пожарной опасности. " - М.: 1986.
ПУЭ-87 . Правила установки электроустройств. М.:Энергоатомиздат 1987г.
СНиП 2.01.02-85. " Строительные нормы и правила. Противопожарные нормы проектирования зданий и сооружений" -М.:Стройиздат.,1986 р.
12.0.003–74* “ССБТ. Опасные и вредные производственные факторы. Классификация.” 1978 (с 01.01.76). Переиздание (сентябрь 1999 г.) с Изменением № 1, утвержденным в октябре 1978 г. (ИУС 11-78).
СН 2152-80 "Санітарно-гігієнічні норми допустимих рівнів іонізації повітря виробничих та громадських приміщень"
ДНАОП 0.00 – 1.31 – 99. Правила охорони праці під час експлуатації електронно-обчислювальних машин.
СНиП 11-4-79 " Строительные нормы и правила. Естественное и искусственное освещение"-М.:Стройиздат.,1980 р.
ГОСТ 12.1.045 "ССБТ. Электростатические поля. Допустимые уровни на рабочих местах и требования к проведению контроля"
ГОСТ 12.1.005-88 "ССБТ Общие санитарно-гигиенические требования к воздуху рабочей зоны"-Введ. 01.01.89.
ГОСТ 12.1.003-83 "ССБТ Шум. Общие требования безопасности"-Введ. 01.07.84.
ГОСТ 12.1.004-91." ССБТ. Пожарная безопасность. Общие требования". Введ. 01.07.92.
СНиП 2.04.05-91 " Строительные нормы и правила. Отопление, вентиляция и кондиционирование воздуха"-М.:Стройиздат.,1987 р.
ГОСТ 12.1.038-82 "ССБТ Электробезопасность. Предельно-допустимые уровни напряжения прикосновения и токов". -Введ. 01.07.83.
ДСанПіН З.З.2. 007 1998. Державні санітарні правила і норми роботи з візуальними дисплейним терміналами електронно-обчислювальних машин.
ГОСТ 14254-80. Электрооборудование напряжением до 1000 В. Оболочки. Степени защиты. Введ. 01.01.81.
ГОСТ 12.2.007.0-75*. ССБТ. Изделия электротехнические. Общие требования безопасности. Введ. 01.01.78.
ГОСТ 12.1.030-81*. ССБТ. Электробезопасность. Защитное заземление. Зануление. Введ. 01.07.82.
Перерва П.Г. Управление промышленным маркетингом. Харьков, Основа, 1993.
Современный маркетинг / под ред. Е.К.Хруцкого. – М.: Прогресс, 1991.
ВИСНОВКИ
У ході виконання научно дослідницької роботи були розглянуті основні технічні характеристики лабораторного стенду EV8031, а також розглянутий лабораторний практикум з курсу мікроконтроллерних систем.
У ході роботи були розглянуті основні характеристики та ресурси мікроконтроллера ATMega8515 та стенду EV8031. Були обчислені його швидкістні характеристики, які необхідні для розробки віртуального вимірювального комплексу.
Було з’ясовано, що дуже складно побудувати такі пристрої як логічний аналізатор та генератор слів на програмній базі мікроконтроллеру. Але отримані характеристики повністю вдовільнили постановлену задачу.
Одночасний доступ двох програм до послідовного поорту неможливий, тому для вирішення задачі було прийнято рішення обь’єднати дві програми у один програмний модуль, але з двома вікнами, для зручності у користуванні.
Побудова інтерфейсу була взята із багатовідомої системи моделювання електронних пристроїв Electronic Workbench, де є аналогічні віртуальні пристрої.
У результаті тестування створеного програмного забеспечення, були отримані вдовільні показники. Як було зазначено вище, використання таймеру не призводить до великоі похибки при вимірюванні на швидкості вхідної послідовності 50Гц.
МІНІСТЕРСТВО ОСВІТИ І НАУКИ УКРАЇНИ
НАЦІОНАЛЬНИЙ ТЕХНІЧНИЙ УНІВЕРСИТЕТ
“ХАРКІВСЬКИЙ ПОЛІТЕХНІЧНИЙ ІНСТИТУТ”
Кафедра: “Обчислювальна техніка та програмування”
“ЗАТВЕРДЖУЮ”
Завідуючий кафедрою ОТП
__________ /xxxx.А./
"___" __________ 2009р.
ВІРТУАЛЬНИЙ ВИМІРЮВАЛЬНИЙ КОМПЛЕКС НА БАЗІ УЧБОВОГО ЛАБОРАТОРНОГО СТЕНДУ EV8031
Текст програми
ЛИСТ ЗАТВЕРДЖЕННЯ
xxxx.03077-01 12 01-1-ЛЗ
|
РОЗРОБНИКИ Керівник проекту _____________/xxx./ “_____”_________2009р. Виконавець Студент групи x /xxxxxx./ “_____”____________2009р. |
Харків 2009
ЗАТВЕРДЖЕНО
xxx.03077-01 12 01-1-ЛЗ
ВІРТУАЛЬНИЙ ВИМІРЮВАЛЬНИЙ КОМПЛЕКС НА БАЗІ УЧБОВОГО ЛАБОРАТОРНОГО СТЕНДУ EV8031
Текст програми
xxxxx.03077-01 12 01-1
Аркушів _48_
Харків 2009
ЗМІСТ
1 ТЕКСТ ПРОГРАМНОГО ЗАБЕСПЕЧЕННЯ ПК
1.1 Текст програмного модуля логічного аналізатора, Unit1.pas
2 Тексти програмного модуля генератора слів, Unit2.pas
3 Текст програмного модуля головного вікна ВВК, , Unit3.pas
2 ТЕКСТ ПРОГРАМНОГО ЗАБЕСПЕЧЕННЯ МК
2.1 Текст програмного забеспечення ВВК мікроконтроллера, main.asm
1 ТЕКСТ ПРОГРАМНОГО ЗАБЕСПЕЧЕННЯ ПК
1.1 Текст програмного модуля логічного аналізатора, Unit1.pas
Ім’я данного файлу : Unit1.pas
Функціональне призначення : програмне забеспечення ПК, модуль логічного аналізатора
Файл створений для дипломного проекта захисту кваліфікації фахівця
За фахом : Системне програмування;
Тема проекту : Віртуальний вимірювальний комплекс на базі учбового лабораторного стенду;
Керівник : М.В. Скородєлов, викладач кафедри ОТП;
Розробник : О.О. Ісмаілов, студент групи КІТ-23а;
Рік розробки : 2009.
unit Unit1;
interface
uses Windows, Messages, SysUtils, Variants, Classes, Graphics, Controls, Forms, Dialogs, TeEngine, Series, ExtCtrls, TeeProcs, Chart, StdCtrls, ComCtrls, Buttons, ComDrv32, SerialNG, Mask, Math;
type TForm1 = class(TForm)
Chart1: TChart;
Series1: TLineSeries;
Series2: TLineSeries;
Series3: TLineSeries;
Series4: TLineSeries;
Series5: TLineSeries;
Series6: TLineSeries;
Series7: TLineSeries;
Series8: TLineSeries;
ColorBox1: TColorBox;
ColorBox2: TColorBox;
ColorBox3: TColorBox;
ColorBox4: TColorBox;
ColorBox5: TColorBox;
ColorBox6: TColorBox;
ColorBox7: TColorBox;
ColorBox8: TColorBox;
StaticText1: TStaticText;
StaticText2: TStaticText;
StaticText3: TStaticText;
StaticText4: TStaticText;
StaticText5: TStaticText;
StaticText6: TStaticText;
StaticText7: TStaticText;
StaticText8: TStaticText;
ScrollBar1: TScrollBar;
SpeedButton1: TSpeedButton;
SpeedButton2: TSpeedButton;
StaticText9: TStaticText;
GroupBox1: TGroupBox;
RadioButton1: TRadioButton;
RadioButton2: TRadioButton;
RadioButton3: TRadioButton;
ComboBox1: TComboBox;
ComboBox2: TComboBox;
BitBtn1: TBitBtn;
SerialPortNG1: TSerialPortNG;
TrackBar1: TTrackBar;
Edit1: TEdit;
Label1: TLabel;
Label2: TLabel;
MaskEdit1: TMaskEdit;
Label3: TLabel;
Label4: TLabel;
MaskEdit2: TMaskEdit;
Label5: TLabel;
procedure FormCreate(Sender: TObject);
procedure ScrollChange(Sender: TObject);
procedure BitBtn2Click(Sender: TObject);
procedure SpeedButton1Click(
Sender: TObject);
procedure SpeedButton2Click(Sender: TObject);
procedure FormClose(Sender: TObject; var Action: TCloseAction);
procedure BitBtn1Click(Sender: TObject);
procedure SerialPortNG1RxClusterEvent(Sender: TObject);
procedure TrackBar1Change(Sender: TObject);
procedure ComboBox2Change(Sender: TObject);
procedure MaskEdit2Change(Sender: TObject);
private
{ Private declarations }
scale:word;
dwError:dword;
pName:PWideChar;
flag:byte;
function StrToIntM(str:string):dword;
public
{ Public declarations }
end;
TArrBuf512 = array[0..511] of byte;
Var Form1: TForm1;
implementation
uses SerialNGBasic;
{$R *.dfm}
procedure TForm1.FormCreate(Sender: TObject);
var
i:word;
s:string;
begin
SerialPortNG1.Active := True;
scale := 500;
ScrollBar1.Visible := False;
Chart1.BottomAxis.Minimum := 0;
Chart1.BottomAxis.Maximum := scale;
Series1.Clear;
Series2.Clear;
Series3.Clear;
Series4.Clear;
Series5.Clear;
Series6.Clear;
Series7.Clear;
Series8.Clear;
for i := 0 to 500 do
begin
Series1.AddXY(i, ((i mod 1)*0.5)+0.25, '', ColorBox1.Selected);
Series2.AddXY(i, ((i mod 2)*0.5)+1.25, '', ColorBox2.Selected);
Series3.AddXY(i, ((i mod 2)*0.5)+2.25, '', ColorBox3.Selected);
Series4.AddXY(i, ((i mod 2)*0.5)+3.25, '', ColorBox4.Selected);
Series5.AddXY(i, ((i mod 2)*0.5)+4.25, '', ColorBox5.Selected);
Series6.AddXY(i, ((i mod 2)*0.5)+5.25, '', ColorBox6.Selected);
Series7.AddXY(i, ((i mod 2)*0.5)+6.25, '', ColorBox7.Selected);
Series8.AddXY(i, ((i mod 2)*0.5)+7.25, '', ColorBox8.Selected);
end;
end;
procedure TForm1.ScrollChange(Sender: TObject);
begin
Chart1.BottomAxis.Minimum := ScrollBar1.Position;
Chart1.BottomAxis.Maximum := ScrollBar1.Position + scale;
end;
procedure TForm1.BitBtn2Click(Sender: TObject);
begin
Close;
end;
procedure TForm1.SpeedButton1Click(Sender: TObject);
begin
if (scale < 500) then
scale := scale + 10;
if (scale = 500) then
ScrollBar1.Visible := False
else
ScrollBar1.Visible := True;
ScrollBar1.Max := 500 - scale;
if (ScrollBar1.Position > (500 - scale)) then
ScrollBar1.Position := (500 - scale);
Chart1.BottomAxis.Minimum := ScrollBar1.Position;
Chart1.BottomAxis.Maximum := ScrollBar1.Position + scale;
end;
procedure TForm1.SpeedButton2Click(Sender: TObject);
begin
if (scale > 0) then
scale := scale - 10;
if (scale = 500) then
ScrollBar1.Visible := False
else
ScrollBar1.Visible := True;
ScrollBar1.Max := 500 - scale;
Chart1.BottomAxis.Minimum := ScrollBar1.Position;
Chart1.BottomAxis.Maximum := ScrollBar1.Position + scale;
end;
procedure TForm1.FormClose(Sender: TObject; var Action: TCloseAction);
begin
SerialPortNG1.Active := False;
end;
procedure TForm1.BitBtn1Click(Sender: TObject);
var
s:string;
begin
if (ComboBox2.ItemIndex <> -1) and (ComboBox1.ItemIndex <> -1) then
begin
s := ' ';
s[1] := char($FF);
s[2] := char($AA);
s[3] := char($3A);
s[4] := char((((ComboBox1.ItemIndex shl 1) or byte(RadioButton2.Checked))or (ComboBox2.ItemIndex shl 5)));
SerialPortNG1.SendString(s);
flag := 1;
end
else
MessageBox(0, 'Необходимо указать номер пускового канала и выбрать тактовый генератор!', 'Ошибка', MB_OK or MB_ICONINFORMATION);
end;
procedure TForm1.SerialPortNG1RxClusterEvent(
Sender: TObject);
var
i:integer;
n:integer;
p:^TArrBuf512;
size:integer;
error:DWord;
begin
n := SerialPortNG1.NextClusterSize;
if n >= 0 then
begin
p := SerialPortNG1.ReadNextCluster(size, error);
if (flag=1) then
begin
Series1.Clear;
Series2.Clear;
Series3.Clear;
Series4.Clear;
Series5.Clear;
Series6.Clear;
Series7.Clear;
Series8.Clear;
for i := 0 to n do
begin
Series8.AddXY(i, -(((p^[i] shr 7) and 1)*0.5)+7.75, '', ColorBox8.Selected);
Series7.AddXY(i, -(((p^[i] shr 6) and 1)*0.5)+6.75, '', ColorBox7.Selected);
Series6.AddXY(i, -(((p^[i] shr 5) and 1)*0.5)+5.75, '', ColorBox6.Selected);
Series5.AddXY(i, -(((p^[i] shr 4) and 1)*0.5)+4.75, '', ColorBox5.Selected);
Series4.AddXY(i, -(((p^[i] shr 3) and 1)*0.5)+3.75, '', ColorBox4.Selected);
Series3.AddXY(i, -(((p^[i] shr 2) and 1)*0.5)+2.75, '', ColorBox3.Selected);
Series2.AddXY(i, -(((p^[i] shr 1) and 1)*0.5)+1.75, '', ColorBox2.Selected);
Series1.AddXY(i, -(( p^[i] and 1)*0.5)+0.75, '', ColorBox1.Selected);
end;
flag := 0;
end;
end;
end;
procedure TForm1.TrackBar1Change(Sender: TObject);
begin
Edit1.Text := IntToStr(TrackBar1.Position);
end;
procedure TForm1.ComboBox2Change(Sender: TObject);
begin
if ComboBox2.ItemIndex = 7 then
begin
MaskEdit1.Visible := true;
Label3.Visible := true;
MaskEdit1.Text := '';
end
else
begin
MaskEdit1.Visible := False;
Label3.Visible := false;
end;
end;
procedure TForm1.MaskEdit2Change(Sender: TObject);
begin
if MaskEdit2.Text <> '' then
if StrToIntM(MaskEdit2.Text) > 65535 then
MaskEdit2.Text := '65535';
end;
function TForm1.StrToIntM(str:string):dword;
var
i,num:integer;
begin
num := 0;
if (length(str) > 0) and (length(str) < 6) then
for i := length(str) downto 1 do
if ((str[i] >= '0')and(str[i] <= '9')) then
begin
num := num +
(byte(str[i])-byte('0'))*
Round(Power(10,length(str)-i));
end;
StrToIntM := num;
end;
end.
2 Тексти програмного модуля генератора слів, Unit2.pas
Ім’я данного файлу : Unit2.pas
Функціональне призначення : програмне забеспечення ПК, модуль генератора слів
Файл створений для дипломного проекта захисту кваліфікації фахівця
За фахом : Системне програмування;
Тема проекту : Віртуальний вимірювальний комплекс на базі учбового лабораторного стенду;
Керівник : М.В. Скородєлов, викладач кафедри ОТП;
Розробник : О.О. Ісмаілов, студент групи КІТ-23а;
Рік розробки : 2009.
unit Unit2;
interface
uses Windows, Messages, SysUtils, Variants, Classes, Graphics, Controls, Forms, Dialogs, StdCtrls, ExtCtrls, Buttons, Mask;
type TForm2 = class(TForm)
ListBox1: TListBox;
RadioGroup1: TRadioGroup;
BitBtn1: TBitBtn;
BitBtn2: TBitBtn;
CheckBox1: TCheckBox;
Label1: TLabel;
GroupBox1: TGroupBox;
RadioButton1: TRadioButton;
RadioButton2: TRadioButton;
ComboBox1: TComboBox;
Label5: TLabel;
Label6: TLabel;
MaskEdit1: TMaskEdit;
Label2: TLabel;
MaskEdit2: TMaskEdit;
MaskEdit3: TMaskEdit;
Label3: TLabel;
Label4: TLabel;
MaskEdit4: TMaskEdit;
MaskEdit5: TMaskEdit;
procedure RadioButton1Click(Sender: TObject);
procedure RadioButton2Click(Sender: TObject);
procedure ListBoxClick(Sender: TObject);
procedure Form2Create(Sender: TObject);
procedure CheckBox1Click(Sender: TObject);
procedure MaskEdit1KeyPress(Sender: TObject; var Key: Char);
procedure MaskEdit1Change(Sender: TObject);
procedure MaskEdit2KeyPress(Sender: TObject; var Key: Char);
procedure MaskEdit2Change(Sender: TObject);
procedure MaskEdit3KeyPress(Sender: TObject; var Key: Char);
procedure MaskEdit4KeyPress(Sender: TObject; var Key: Char);
procedure MaskEdit4Change(Sender: TObject);
procedure MaskEdit3Change(Sender: TObject);
procedure BitBtn1Click(Sender: TObject);
procedure BitBtn2Click(Sender: TObject);
private
{ Private declarations }
index:integer;
count:integer;
buf:array[0..1023]of byte;
function StrToHex(str:string):integer;
public
{ Public declarations }
end;
var Form2: TForm2;
implementation
uses Unit1;
{$R *.dfm}
procedure TForm2.RadioButton1Click(Sender: TObject);
begin
MaskEdit5.Enabled := false;
Label6.Enabled := false;
ComboBox1.Enabled := true;
Label5.Enabled := true;
end;
procedure TForm2.RadioButton2Click(Sender: TObject);
begin
ComboBox1.Enabled := false;
Label5.Enabled := false;
MaskEdit5.Enabled := true;
Label6.Enabled := true;
end;
procedure TForm2.ListBoxClick(Sender: TObject);
var
s:string;
begin
s:=
ListBox1.Items.ValueFromIndex[ListBox1.ItemIndex];
index := ListBox1.ItemIndex;
MaskEdit1.Text := s[4]+s[5];
end;
procedure TForm2.Form2Create(Sender: TObject);
var
i,j:integer;
s,s1:string;
begin
count := 1024;
index := 0;
ListBox1.Clear;
for i := 0 to count-1 do
begin
s := Format('%x',[i]);
for j := 1 to 3-length(s) do
s1 := s1 + '0';
for j := 1 to length(s) do
s1 := s1 + s[j];
ListBox1.Items.Add(s1+':00');
s1 := '';
buf[i] := 0;
end;
end;
procedure TForm2.CheckBox1Click(Sender: TObject);
begin
if (CheckBox1.Checked = True) then
Form1.Visible := true;
end;
procedure TForm2.MaskEdit1KeyPress(Sender: TObject; var Key: Char);
begin
if not(((Key >= '0') and (Key <= '9')) or
((Key >= 'A') and (Key <= 'F')) or
((Key >= 'a') and (Key <= 'f'))) then
Key := ' ';
if (Key >= 'a') and (Key <= 'f') then
Key := UpCase(Key)
end;
procedure TForm2.MaskEdit1Change(Sender: TObject);
var
s,s1,s2:string;
i:byte;
begin
s1 := '';
s := Format('%x',[index]);
for i := 1 to 3-length(s) do
s1 := s1 + '0';
for i := 1 to length(s) do
s1 := s1 + s[i];
s2 := s1 + ':';
s1 := '';
s := Format('%x',[StrToHex(MaskEdit1.Text)]);
for i := 1 to 2-length(s) do
s1 := s1 + '0';
for i := 1 to length(s) do
s1 := s1 + s[i];
buf[index] := StrToHex(MaskEdit1.Text);
s2 := s2 + s1;
ListBox1.Items.Strings[index] := s2;
end;
procedure TForm2.MaskEdit2KeyPress(Sender: TObject; var Key: Char);
var
i,j:integer;
s,s1:string;
begin
if not((Key >= '0') and (Key <= '9') or
(Key = #13)) then
Key := ' ';
if Key = #13 then
begin
ListBox1.Clear;
for i := 0 to count-1 do
begin
s := Format('%x',[i]);
for j := 1 to 3-length(s) do
s1 := s1 + '0';
for j := 1 to length(s) do
s1 := s1 + s[j];
ListBox1.Items.Add(s1+':00');
s1 := '';
end;
end;
end;
procedure TForm2.MaskEdit2Change(Sender: TObject);
var
i:integer;
s,s1:string;
begin
s1 := '';
s := MaskEdit2.Text;
if s <> '' then
for i := 1 to length(s) do
if s[i] <> ' ' then s1 := s1 + s[i];
if s1 <> '' then
begin
if (StrToInt(s1) > 1024) then
begin
MaskEdit2.Text := '1024';
count := 1024;
end;
count := StrToInt(s1);
end;
end;
function TForm2.StrToHex(str:string):integer;
var
i,num:integer;
begin
num := 0;
if (length(str) > 0) and (length(str) < 5) then
for i := length(str) downto 1 do
begin
if ((str[i] >= '0')and(str[i] <= '9')) then
num := num + (byte(str[i])-byte('0'))shl(4*(length(str)-i));
if ((str[i] >= 'A')and(str[i] <= 'F')) then
num := num + (byte(str[i])-byte('A')+10)shl(4*(length(str)-i));
if ((str[i] >= 'a')and(str[i] <= 'f')) then
num := num + (byte(str[i])-byte('a')+10)shl(4*(length(str)-i));
end;
StrToHex := num;
end;
procedure TForm2.MaskEdit3KeyPress(Sender: TObject; var Key: Char);
begin
if not(((Key >= '0') and (Key <= '9')) or
((Key >= 'A') and (Key <= 'F')) or
((Key >= 'a') and (Key <= 'f'))) then
Key := ' ';
if (Key >= 'a') and (Key <= 'f') then
Key := UpCase(Key);
end;
procedure TForm2.MaskEdit4KeyPress(Sender: TObject; var Key: Char);
begin
if not(((Key >= '0') and (Key <= '9')) or
((Key >= 'A') and (Key <= 'F')) or
((Key >= 'a') and (Key <= 'f'))) then
Key := ' ';
if (Key >= 'a') and (Key <= 'f') then
Key := UpCase(Key);
end;
procedure TForm2.MaskEdit4Change(Sender: TObject);
begin
if MaskEdit4.Text <> '' then
begin
if StrToHex(MaskEdit4.Text) > count-1 then
MaskEdit4.Text := Format('%3x', [count-1]);
if StrToHex(MaskEdit4.Text) < StrToHex(MaskEdit3.Text) then
MaskEdit4.Text := MaskEdit3.Text;
end;
end;
procedure TForm2.MaskEdit3Change(Sender: TObject);
begin
if MaskEdit3.Text <> '' then
begin
if StrToHex(MaskEdit3.Text) > count-1 then
MaskEdit3.Text := Format('%3x', [count-1]);
if StrToHex(MaskEdit4.Text) < StrToHex(MaskEdit3.Text) then
MaskEdit3.Text := MaskEdit4.Text;
end;
end;
procedure TForm2.BitBtn1Click(Sender: TObject);
var
i:integer;
//a:array[1..]
begin
BitBtn1.Enabled := False;
BitBtn2.Enabled := True;
//Form1.SerialPortNG1.SendData();
Form1.SerialPortNG1.SendData(@buf[StrToHex(MaskEdit3.Text)],StrToHex(MaskEdit4.Text)-StrToHex(MaskEdit3.Text));
end;
procedure TForm2.BitBtn2Click(Sender: TObject);
begin
BitBtn1.Enabled := True;
BitBtn2.Enabled := False;
end;
end.
3 Текст програмного модуля головного вікна ВВК, , Unit3.pas
Ім’я данного файлу : Unit3.pas
Функціональне призначення : програмне забеспечення ПК, модуль головного вікна ВВК
Файл створений для дипломного проекта захисту кваліфікації фахівця
За фахом : Системне програмування;
Тема проекту : Віртуальний вимірювальний комплекс на базі учбового лабораторного стенду;
Керівник : М.В. Скородєлов, викладач кафедри ОТП;
Розробник : О.О. Ісмаілов, студент групи КІТ-23а;
Рік розробки : 2009.
unit Unit3;
interface
uses Windows, Messages, SysUtils, Variants, Classes, Graphics, Controls, Forms, Dialogs, StdCtrls, Buttons;
type TForm3 = class(TForm)
BitBtn1: TBitBtn;
BitBtn2: TBitBtn;
BitBtn3: TBitBtn;
BitBtn4: TBitBtn;
Label1: TLabel;
procedure BitBtn1Click(Sender: TObject);
procedure BitBtn2Click(Sender: TObject);
private
{ Private declarations }
public
{ Public declarations }
end;
var Form3: TForm3;
implementation
uses Unit1, Unit2;
{$R *.dfm}
procedure TForm3.BitBtn1Click(Sender: TObject);
begin
Form1.Visible := True;
end;
procedure TForm3.BitBtn2Click(Sender: TObject);
begin
Form2.Visible := true;
end;
end.
2 ТЕКСТ ПРОГРАМНОГО ЗАБЕСПЕЧЕННЯ МК
2.1 Текст програмного забеспечення ВВК мікроконтроллера, main.asm
Ім’я данного файлу : main.asm
Функціональне призначення : програмне забеспечення ПК, модуль логічного аналізатора
Файл створений для дипломного проекта захисту кваліфікації фахівця
За фахом : Системне програмування;
Тема проекту : Віртуальний вимірювальний комплекс на базі учбового лабораторного стенду;
Керівник : М.В. Скородєлов, викладач кафедри ОТП;
Розробник : О.О. Ісмаілов, студент групи КІТ-23а;
Рік розробки : 2009.
#include <m8515def.inc>
.def tmp = r16
.def tmp1 = r17
.def RX_flag = r18
.def RX_Counter = r19
.def RX_Complete = r20
.def command = r21
.def tmp2 = r22
.def tmp3 = r23
.equ UC_REG = 0xC000
.equ RX_Buffer = 0x7C00
.macro USART_TRANSMITT_M
utm_l0:
wdr
sbis UCSRA, UDRE
rjmp utm_l0
out UDR, tmp
.endm
.macro WAIT_PUSK
mov tmp, command
andi tmp, 0b00010000
brne wp_l5
mov tmp, command
andi tmp, 0b00001110
lsr tmp
ldi tmp1, 1
wp_l0:
cpi tmp, 0
breq wp_l1
lsl tmp1
dec tmp
brne wp_l0
wp_l1:
mov tmp, command
andi tmp, 0b00000001
brne wp_l2
wp_l3:
wdr
in tmp2, PINB
and tmp2, tmp1
brne wp_l3
wp_l4:
wdr
in tmp2, PINB
and tmp2, tmp1
breq wp_l4
rjmp wp_l5
wp_l2:
wdr
in tmp2, PINB
and tmp2, tmp1
breq wp_l2
wp_l6:
wdr
in tmp2, PINB
and tmp2, tmp1
brne wp_l6
wp_l5:
.endm
.macro ANALYZE_CLK_6
ac6_l0:
in tmp, PINB // 1 cycle
st Y+, tmp // 2 cycle
dec tmp3 // 1 cycle
brne ac6_l0 // 2 cycles or
// 1 cycle
dec tmp3 // 1 cycle
ac6_l1:
in tmp, PINB // 1 cycle
st Y+, tmp // 2 cycle
dec tmp3 // 1 cycle
brne ac6_l1 // 2 cycles
dec tmp3
in tmp, PINB // 1 cycle
st Y+, tmp // 2 cycle
.endm
.macro ANALYZE_CLK_8
ac8_l0:
in tmp, PINB // 1 cycle
st Y+, tmp // 2 cycle
nop // +2 cyle
nop
dec tmp3 // 1 cycle
brne ac8_l0 // 2 cycles or
// 1 cycle
dec tmp3 // 1 cycle
ac8_l1:
in tmp, PINB // 1 cycle
st Y+, tmp // 2 cycle
nop // +2 cyle
nop
dec tmp3 // 1 cycle
brne ac8_l1 // 2 cycles
dec tmp3
in tmp, PINB // 1 cycle
st Y+, tmp // 2 cycle
.endm
.macro ANALYZE_CLK_16
ac16_l0:
in tmp, PINB // 1 cycle
st Y+, tmp // 2 cycle
ldi tmp1, 3 // +10 cyle
ac16_l2:
dec tmp1
brne ac16_l2
nop
dec tmp3 // 1 cycle
brne ac16_l0 // 2 cycles or
// 1 cycle
dec tmp3 // 1 cycle
ac16_l1:
in tmp, PINB // 1 cycle
st Y+, tmp // 2 cycle
ldi tmp1, 3 // +10 cyle
ac16_l3:
dec tmp1
brne ac16_l3
nop
dec tmp3 // 1 cycle
brne ac16_l1 // 2 cycles
dec tmp3
in tmp, PINB // 1 cycle
st Y+, tmp // 2 cycle
.endm
.macro ANALYZE_CLK_32
ac32_l0:
in tmp, PINB // 1 cycle
st Y+, tmp // 2 cycle
ldi tmp1, 8 // +26 cyle
ac32_l2:
dec tmp1
brne ac32_l2
nop
nop
dec tmp3 // 1 cycle
brne ac32_l0 // 2 cycles or
// 1 cycle
dec tmp3 // 1 cycle
ac32_l1:
in tmp, PINB // 1 cycle
st Y+, tmp // 2 cycle
ldi tmp1, 8 // +26 cyle
ac32_l3:
dec tmp1
brne ac32_l3
nop
nop
dec tmp3 // 1 cycle
brne ac32_l3 // 2 cycles
dec tmp3
in tmp, PINB // 1 cycle
st Y+, tmp // 2 cycle
.endm
.macro ANALYZE_CLK_64
ac64_l0:
in tmp, PINB // 1 cycle
st Y+, tmp // 2 cycle
ldi tmp1, 19 // +58 cyle
ac64_l2:
dec tmp1
brne ac64_l2
nop
dec tmp3 // 1 cycle
brne ac64_l0 // 2 cycles or
// 1 cycle
dec tmp3 // 1 cycle
ac64_l1:
in tmp, PINB // 1 cycle
st Y+, tmp // 2 cycle
ldi tmp1, 19 // +58 cyle
ac64_l3:
dec tmp1
brne ac64_l3
nop
dec tmp3 // 1 cycle
brne ac64_l1 // 2 cycles
dec tmp3
in tmp, PINB // 1 cycle
st Y+, tmp // 2 cycle
.endm
.macro ANALYZE_CLK_128
ac128_l0:
in tmp, PINB // 1 cycle
st Y+, tmp // 2 cycle
ldi tmp1, 40 // +122 cyle
ac128_l2:
dec tmp1
brne ac128_l2
nop
nop
dec tmp3 // 1 cycle
brne ac128_l0 // 2 cycles or
// 1 cycle
dec tmp3 // 1 cycle
ac128_l1:
in tmp, PINB // 1 cycle
st Y+, tmp // 2 cycle
ldi tmp1, 40 // +122 cyle
ac128_l3:
dec tmp1
brne ac128_l3
nop
nop
dec tmp3 // 1 cycle
brne ac128_l1 // 2 cycles
dec tmp3
in tmp, PINB // 1 cycle
st Y+, tmp // 2 cycle
.endm
.macro ANALYZE_CLK_256
ac256_l0:
in tmp, PINB // 1 cycle
st Y+, tmp // 2 cycle
ldi tmp1, 83 // +250 cyle
ac256_l2:
dec tmp1
brne ac256_l2
nop
dec tmp3 // 1 cycle
brne ac256_l0 // 2 cycles or
// 1 cycle
dec tmp3 // 1 cycle
ac256_l1:
in tmp, PINB // 1 cycle
st Y+, tmp // 2 cycle
ldi tmp1, 83 // +250 cyle
ac256_l3:
dec tmp1
brne ac256_l3
nop
dec tmp3 // 1 cycle
brne ac256_l1 // 2 cycles
dec tmp3
in tmp, PINB // 1 cycle
st Y+, tmp // 2 cycle
.endm
.macro ANALYZE_CLK_VN
acv_l0:
in tmp, PINB // 1 cycle
st Y+, tmp // 2 cycle
dec tmp3 // 1 cycle
brne acv_l0 // 2 cycles or
// 1 cycle
dec tmp3 // 1 cycle
acv_l1:
in tmp, PINB // 1 cycle
st Y+, tmp // 2 cycle
dec tmp3 // 1 cycle
brne acv_l1 // 2 cycles
dec tmp3
in tmp, PINB // 1 cycle
st Y+, tmp // 2 cycle
.endm
.org 0
rjmp RESET
nop;rjmp INT0
nop;rjmp INT1
nop;rjmp TIMER1_CAPT
nop;rjmp TIMER1_COMPA
nop;rjmp TIMER1_COMPB
nop;rjmp TIMER1_OVF
rjmp TIMER0_OVF
nop;rjmp SPI_STC
rjmp USART_RXC
nop;rjmp USART_UDRE
nop;rjmp USART_TXC
nop;rjmp ANA_COMP
nop;rjmp INT2
nop;rjmp TIMER0_COMP
nop;rjmp EE_RDY
nop;rjmp SPM_RDY
RESET:
; set stack pointer to top of RAM
ldi tmp, high(RAMEND)
out SPH, tmp
ldi tmp, low(RAMEND)
out SPL, tmp
; enable WDT with 2,1s timeout
ldi tmp, (1<<WDE)|(7<<WDP0)
out WDTCR, tmp
; enable external SRAM
ldi tmp, (1<<SRE)|(1<<SRW10)
out MCUCR, tmp
; enable interrupts
sei
; USART init
rcall USART_Init
// Unmask timer 0 overflov interrupt
ldi tmp, (1<<TOIE0)
out TIMSK, tmp
// Stop timer0
ldi tmp, 0b00000000
out TCCR0, tmp
clr RX_Flag
clr RX_Complete
ldi tmp, 0
out DDRB, tmp
ldi tmp, 0b11111111
out PORTB, tmp
loop:
wdr
cpi RX_Complete, 1
breq c_l0
rjmp l0
c_l0:
// reset RX_Complete
clr RX_Complete
// mask RXCIE
ldi tmp, (1<<TXEN) | (1<<RXEN)
out UCSRB, tmp
// reset RX_Buffer
ldi YL, low(RX_Buffer)
ldi YH, high(RX_Buffer)
ldi tmp3, 0xFF
// do command
mov tmp, command
andi tmp, 0b11100000
lsr tmp
lsr tmp
lsr tmp
lsr tmp
lsr tmp
cpi tmp, 0
brne dc_l0
WAIT_PUSK
ANALYZE_CLK_6
Rjmp dc_end
dc_l0:
cpi tmp, 1
brne dc_l1
WAIT_PUSK
ANALYZE_CLK_8
Rjmp dc_end
dc_l1:
cpi tmp, 2
brne dc_l2
WAIT_PUSK
ANALYZE_CLK_16
Rjmp dc_end
dc_l2:
cpi tmp, 3
brne dc_l3
WAIT_PUSK
ANALYZE_CLK_32
Rjmp dc_end
dc_l3:
cpi tmp, 4
brne dc_l4
WAIT_PUSK
ANALYZE_CLK_64
Rjmp dc_end
dc_l4:
cpi tmp, 5
brne dc_l5
WAIT_PUSK
ANALYZE_CLK_128
Rjmp dc_end
dc_l5:
cpi tmp, 6
brne dc_l6
WAIT_PUSK
ANALYZE_CLK_256
Rjmp dc_end
dc_l6:
cpi tmp, 7
breq cdc_unk
rjmp dc_unk
cdc_unk:
WAIT_PUSK
ANALYZE_CLK_VN
dc_end:
/*
// wait if need befor pusk
WAIT_PUSK
// analyse and store (6 cycles)
// clock time (1/7372800Mhz)*6 = 813,8ns
ANALYZE_CLK_6
*/
// reset RX_Buffer
ldi YL, low(RX_Buffer)
ldi YH, high(RX_Buffer)
// transmitt data
l1:
ld tmp, Y+
USART_TRANSMITT_M
Dec tmp3
brne l1
dec tmp3
l2:
ld tmp, Y+
USART_TRANSMITT_M
Dec tmp3
brne l2
ld tmp, Y+
USART_TRANSMITT_M
dc_unk:
// unmask RXCIE
ldi tmp, (1<<TXEN)|(1<<RXEN)|(1<<RXCIE)
out UCSRB, tmp
l0:
rjmp loop
////////////////////////////////////////////////////
// USART receive complete ISR
USART_RXC:
Push tmp
in tmp, SREG
push tmp
// tmp <- RX
in tmp, UDR
// if (RX_Flag == 1) goto urxc_l0
cpi RX_Flag, 1
breq urxc_l0
// if (RX == AA)
cpi tmp, 0xAA
brne urxc_end
// init timeout
ldi tmp, 0b00000101
out TCCR0, tmp
clr tmp
out TCNT0, tmp
// set recive_flag
ldi RX_Flag, 1
// reset RX_Buffer
ldi YL, low(RX_Buffer)
ldi YH, high(RX_Buffer)
clr RX_Counter
ldi tmp, 0xAA
urxc_l0:
// push RX to buffer
st Y+, tmp
inc RX_Counter
urxc_end:
pop tmp
out SREG, tmp
pop tmp
reti
////////////////////////////////////////////////////
// Timer0 overflow ISR
TIMER0_OVF:
Push tmp
Push tmp1
In tmp, SREG
push tmp
// Stop timer0
ldi tmp, 0b00000000
out TCCR0, tmp
// reset RX_Buffer
ldi YL, low(RX_Buffer)
ldi YH, high(RX_Buffer)
cpi RX_Counter, 3
brne t0ovf_l0
ld tmp, Y+
cpi tmp, 0xAA
brne t0ovf_l0
ld tmp, Y+
cpi tmp, 0x3A
brne t0ovf_l0
ld tmp, Y+
mov command, tmp
ldi RX_Complete, 1
//clear buffer
ldi YL, low(RX_Buffer)
ldi YH, high(RX_Buffer)
clr tmp
st Y+, tmp
st Y+, tmp
st Y+, tmp
st Y+, tmp
st Y+, tmp
t0ovf_l0:
// clear recive_flag
clr RX_Flag
pop tmp
out SREG, tmp
pop tmp1
pop tmp
reti
////////////////////////////////////////////////////
// USART init routine
// uses: tmp, tmp1
USART_Init:
Ldi tmp, (1<<TXEN) | (1<<RXEN) | (1<<RXCIE)
Out UCSRB, tmp
Ldi tmp, (1<<UCSZ0) | 1<<UCSZ1)
Out UCSRC, tmp
Ldi tmp, 0
Ldi tmp1, 23
Out UBRRH, tmp
Out UBRRL, tmp1
Ldi tmp, 0b00000001
Sts UC_REG, tmp
ret
////////////////////////////////////////////////////
// USART transmit routine
// uses: tmp
USART_Transmit:
cli
ut_l0:
wdr
sbis UCSRA, UDRE
rjmp ut_l0
out UDR, tmp
sei
ret
МІНІСТЕРСТВО ОСВІТИ І НАУКИ УКРАЇНИ
НАЦІОНАЛЬНИЙ ТЕХНІЧНИЙ УНІВЕРСИТЕТ
“ХАРКІВСЬКИЙ ПОЛІТЕХНІЧНИЙ ІНСТИТУТ”
Кафедра: “Обчислювальна техніка та програмування”
“ЗАТВЕРДЖУЮ”
Завідуючий кафедрою ОТП
__________ /xxxx./
"___" __________ 2009р.
ВІРТУАЛЬНИЙ ВИМІРЮВАЛЬНИЙ КОМПЛЕКС НА БАЗІ УЧБОВОГО ЛАБОРАТОРНОГО СТЕНДУ EV8031
Опис програми
ЛИСТ ЗАТВЕРДЖЕННЯ
xxxxx.03077-01 13 01-1-ЛЗ
|
РОЗРОБНИКИ Керівник проекту /xxxxxxxxx./ “_____”____________2009р. Виконавець студент групи xxxxx /xxxx./ “_____”_______________2009р. |
Харків 2009
ЗАТВЕРДЖЕНО
xxx.03077-01 13 01-1-ЛЗ
ВІРТУАЛЬНИЙ ВИМІРЮВАЛЬНИЙ КОМПЛЕКС НА БАЗІ УЧБОВОГО ЛАБОРАТОРНОГО СТЕНДУ EV8031
Опис програми
xxxx.03077-01 13 01-1
Листів _8_
Харків 2009
АНОТАЦІЯ
Даний документ містить у собі опис програми, методів та алгоритмів, що використовуються, опис потреб та особливостей функціонування продукту, розробленого у межах дипломного проектування “віртуального вимірювального комплексу”. Система призначена для тестування різноманітних цифрових пристроїв.
ABSTRACT
The given document contains the description of programs, methods and algorithms which were used. It describes the requirements and peculiarities of operation of the product developed within the framework of degree projection of a virtual analyze complex. The program implementation of the methods of analysis of self-descriptiveness and diagnostics.
ЗМІСТ
1. ЗАГАЛЬНІ ВІДОМОСТІ
1.1 Позначення і найменування програми
1.2 Програмне забезпечення, необхідне для функціонування програми
1.3 Обрана мова програмування
2. ФУНКЦІОНАЛЬНЕ ПРИЗНАЧЕННЯ
2.1 Призначення програми
2.2 Функціональні обмеження
3. ОПИС ЛОГІЧНОЇ СТРУКТУРИ ПРОГРАМИ
3.1 Алгоритм програми
4. ВИКОРИСТАНІ ТЕХНІЧНІ ЗАСОБИ
5. ВИКЛИК І ЗАВАНТАЖЕННЯ
5.1 Виклик програми
5.2 Точки входу в програму
5.3 Використання оперативної пам’яті
6. ВХІДНІ ДАНІ ПРОГРАМИ
7. ВИХІДНІ ДАНІ ПРОГРАМИ
1. ЗАГАЛЬНІ ВІДОМОСТІ
1.1 Позначення і найменування програми
Програмний продукт має найменування „Віртуальний вимірювальний пристрій ”. Відповідно головний завантажувальний модуль системи має назву “BBK.exe”(складається с перших букв слів імені продукту), головний модуль також підключає додаткові функціональні модулі, які виконують окремі функції. Це такі модулі:
Модуль, який предоставляє користувачу вибір необхідних віртуальних пристроїв;
Модуль, який предоставляє інтерфейс користувача логічного аналізатора;
Модуль який предоставляє інтерфейс генератора слів.
1.2 Програмне забезпечення, необхідне для функціонування програми
Для функціонування програми необхідні:
операційна система Windows2000/XP.
1.3 Обрана мова програмування
При виборі комп’ютерної техніки доцільно використовувати IBM-сумісні системи через їхнє велике поширення і доступність. На комп’ютерах цієї серії найбільш поширені операційні системи Microsoft Windows NT/2000/XP. Тому реалізація програми була здійсннена для операційних систем Microsoft Windows 2000/XP на IBM-сумісних комп’ютерах.
Існує досить багато сучасних середовищ і мов програмування. При обиранні мови програмування були розглянуті декіка важливих факторів, які повинні як найбільше відповідати висунутим до продукту вимогам.
Вимоги до програмного продукту:
зручний інтерфейс з користувачем;
простота використання, не вимагаючи спеціального навчання користувача;
наочність вихідних даних;
обробка великих структур даних;
вимоги до середовища розробки;
простота програмування;
великий набір компонентів;
зручний інтерфейс середовища;
можливість створення зручного інтерфейсу;
невисокі вимоги до обладнання;
простота налагодження програм.
Враховуючи всі вищенаведені вимоги к мовам програмування, було прийнято рішення для створення системи використовувати наступні мови програмування:
програмне забеспечення ПК – Delphi 7;
програмне забеспечення МК – AVRStudio;
Завантаження пошивки до мікроконтроллеру AVReal32.
2. ФУНКЦІОНАЛЬНЕ ПРИЗНАЧЕННЯ
2.1 Призначення програми
Програмний продукт призначений для налагодження різноманітних цифрових пристроїв. А також отримання проаналізованих данних тестуємого пристрою(логічний аналізатор), після подачі на нього тестової послідовності(генератор слів).
2.2 Функціональні обмеження
Програмний продукт відповідає поставленим до нього вимогам і у межах обумовлених ними не має функціональних обмежень.
3. ОПИС ЛОГІЧНОЇ СТРУКТУРИ ПРОГРАМИ
3.1 Алгоритм програми
Розроблене програмне забезпечення функціонує за наступним загальним алгоритмом: cтворюється головне вікно програми на якому розташовані елементи керування. Програма складається з троьох вікон. Перше вікно дозволяє обирати необхідний віртуальний пристрій. Друге і третє вікно – інтерфейс користувача логічного аналізатора та генератора слів. Обидва вікна очікують налаштовувань пристрою, та оброблюють елементи керування. Елемент керування запуском та зупинненням виконує передачу введених налаштовувань, за допомогою інтерфейса користувача, і передає налаштовування і данні за допомогою COM порту у мікроконтроллер. Після цього програма очікує прийом відповіді. Після прийому відповіді переходить у обробку елементів керування.
4. ВИКОРИСТАНІ ТЕХНІЧНІ ЗАСОБИ
Для роботи програмного продукту необхідна IBM PC/AT сумісна персональна ЕОМ, наявність процесору Pentium II 433МГц та вище з обсягом оперативної пам’яті 128Мб або більше, наявністю відео адаптеру VGA або SVGA, а також послідовного приємопередавача СОМ порта або RS-232.
Необхідний об’єм на жорсткому диску 5 Мб для продукту.
При розробці використовувалася ПЕОМ з наступними параметрами: Pentium Tualatin, 512 Мб RIMM ОЗП, жорсткий диск ємністю 80 Гб, відеокарта GeForce2 MX 400 32Мб.
5. ВИКЛИК І ЗАВАНТАЖЕННЯ
5.1 Виклик програми
Програмне запеспечення ПК інсталляції не потребує, потрібно тільки зробити копію програмного модуля у зручне місце, і завантажувати стандартними засобами операційної системи.
Програмне забеспечення мікроконтроллера потребує наявності встановленого пакету внутрішньосистемного програматору AVReal32. Також на момент програмування цільова ситема повинна бути підєднана спеціальним кабелем – програматором, також цільва система повинна бути підключена до блоку живлення(допускається живлення від USB). Програмування починається запуском спеціально підготовленого *.bat файлу.яки містить командну строку із необхідними налаштовуваннями програмування цілевої системи. Файл який містить завантажувальний код має розширення *.hex.
5.2 Точки входу в програму
Точкою входу до будь-якого з модулів програми є запуск головного модуля „ВВК.ехе”, що здійснює створення головного вікна програми, де є можливість обирати подальші дії.
5.3 Використання оперативної пам’яті
Програмний продукт потребує менше 5 Мб оперативної пам’яті.
6. ВХІДНІ ДАНІ ПРОГРАМИ
Вхідними даними програмного забеспечення ПК є налаштовування користувача, і у разі використання логічного аналізатору прийняті по COM порту данні. Вхідними данними програмного забеспечення мікроконтроллера є прийняті команди і у разі режиму генератору слів прийнята послідовність данних по COM порту.
7. ВИХІДНІ ДАНІ ПРОГРАМИ
Вихідними даними програмного забеспечення ПК є налаштовування користувача, і у разі використання генератору слів передаваємі по COM порту данні. Вихідними данними програмного забеспечення мікроконтроллера є прередаваємі відповіді і у разі режиму логічного аналізатора передаваєма послідовність проаналізованих данних по COM порту.
МІНІСТЕРСТВО ОСВІТИ І НАУКИ УКРАЇНИ
НАЦІОНАЛЬНИЙ ТЕХНІЧНИЙ УНІВЕРСИТЕТ
“ХАРКІВСЬКИЙ ПОЛІТЕХНІЧНИЙ ІНСТИТУТ”
Кафедра: “Обчислювальна техніка та програмування”
“ЗАТВЕРДЖУЮ”
Завідуючий кафедрою ОТП
__________ /xxxxxxxx./
"___" __________ 2009р.
ВІРТУАЛЬНИЙ ВИМІРЮВАЛЬНИЙ КОМПЛЕКС НА БАЗІ УЧБОВОГО ЛАБОРАТОРНОГО СТЕНДУ EV8031
Керівництво оператора
ЛИСТ ЗАТВЕРДЖЕННЯ
xxxxx.03077-01 34 01-1-ЛЗ
|
РОЗРОБНИКИ Керівник проекту _ _________ /xxxxx./ “_____”_______________2009р. Виконавець студент групи xx-23а /xxxxxxxx./ “_____”_______________2009р. |
Харків 2009
ЗАТВЕРДЖЕНО
xxxxxxxxxxxxxxxxxxxx
ВІРТУАЛЬНИЙ ВИМІРЮВАЛЬНИЙ КОМПЛЕКС НА БАЗІ УЧБОВОГО ЛАБОРАТОРНОГО СТЕНДУ EV8031
Керівництво оператора
xxxxxxx.03077-01 34 01-1
Аркушів
Харків 2009
АНОТАЦІЯ
Документ «Керівництво оператора» містить інформацію для перевірки, забезпечення функціонування й налаштовування системи «Віртуальний вимірювальний комплекс». У даному документі зазначені відомості про програмний продукт, його призначення й умови застосування, характеристика, установка, звернтання до програми.
ABSTRACT
Document «Guidance of operator» contains information for verification, providing of functioning and tuning of the system «Virtual measuring complex». In this document the noted information is about a software product, his setting and terms of application, description, setting, zverntannya to the program.
ЗМІСТ
1 ПРИЗНАЧЕННЯ ПРОГРАМНОГО ПАКЕТУ
2 УМОВИ ВИКОНАННЯ
3 ЗАВАНТАЖЕННЯ ПРОЕКТУ
4 ПОВІДОМЛЕННЯ ОПЕРАТОРУ
1 ПРИЗНАЧЕННЯ ПРОГРАМНОГО ПАКЕТУ
Програмний продукт призначений для налагодження різноманітних цифрових пристроїв. А також отримання проаналізованих данних тестуємого пристрою(логічний аналізатор), після подачі на нього тестової послідовності(генератор слів).
2 УМОВИ ВИКОНАННЯ
Нормальна робота з данним програмним продуктом можлива лише на комп’ютерах IBM PC/AT(чи сумісному з ним) серії не нижче Pentium !!!, з операційною системою Microsoft Windows 2000/XP.
Для нормального функціонування програмного продукту необхідна наявність таких характеристик:
SVGA відеоадаптер не менше 1024х768х32;
Жорсткий диск;
Пам’ять(бажано не нижче 128Мб);
Маніпулятор типу “миша”;
Клавіатура;
COM – порт.
3 ЗАВАНТАЖЕННЯ ПРОЕКТУ
Щоб завантажити програму, необхідно запустити файл BBK.exe. Після цього перед користувачем з’являється вікно(рис. 3.1) із чотирма кнопками. Дві зних залишені для розширення програмного забеспечення: генератор сигналу вільної форми та осцилограф. А інші дві дозволяють викликати додаткові вікна: логічний аналізатор(рис. 3.2) та генератор слів(рис. 3.3).

Рис 3.1 Головне віко віртуального вимірювального пристрою

Рис 3.2 Вікно логічного аналізатора

Рис 3.3 Вікно генератора слів
Інтерфейс складається з трьох вікон. Перше – головне вікно дозволяє відкривати вікна необхідних пристроїв. Вікна працюють як по одинці так і разом у залежності від налагодження.
Логічний аналізатор(рис.3.2) має наступні елементи керування:
керування кольором кожного з восьми сигналів;
змінення масштабу відображеного сигналу;
перегляд сигналу за допомогою полоси зсуву;
керування типом запуску якщо вибраний запус по каналу;
вибір запуску за необхідним каналом, або невикористовувати;
вибір глибини передпускової реєстрації;
вибір швидкості реєстрації данних з переліку або вільно;
запуск аналізатора;
останов аналізатора на випадок очікування пуску, який довго не наступає.
Генератор слів(рис. 3.3) має наступні елементи керування:
керування вводом необхідних послідовностей;
керування кількістю необхідних слов;
керування діапазоном з якого по який генерувати;
керування режимами роботи: циклічна генерація, одноразова, шагова.
Пуск генерації, або шаг;
Останов генерації у випадку наприклад циклічної генерації;
Керування швидкістю генерації з переліку а також вільно;
Режим роботи генератора слів та логічного аналізатора у парі.
4 ПОВІДОМЛЕННЯ ОПЕРАТОРУ
Програма виключає введення невірних даних у поля ввода, таким чином там де очікується ввід шістнадцятирічного числа можливо ввести твльки цифри від 0 до 9 та символи від a до f і, якщо символи вводяться у нижньому регістрі вводу, програма автоматично переводить іх до верхнього регістру. Також блокуються деякі несумісні операції, для того, щоб не дозволити користувачеві виконувати неможливі або невірні дії. Також виконується перевірка на наявність налаштовування обов’язкоаих параметрів, інакше виводиться повідомлення у якому зазначене виконання обов’язкових дій.










1
2
3
33
34


1










2
3
4
34
35


1



2










3
4
5
ні
так
6


1



2









3
4
ні
так
6


5
7



1


2


ні
так
3



4




5
6

7










ні
так
8





9



10


11
так


ні


12
ні






так


13
так
ні







так


ні





так
ні










1
2
3
4
5
6
7




так

ні













так
ні


так
ні









так







7
8
9
10
11
12
13
14
15

=
0,9%