Нормирование шума
Реферат на тему:
«НОРМИРОВАНИЕ ШУМА»
Измерение шума осуществляется двумя методами:
по предельному спектру шума (в основном, для постоянных шумов в стандартных октавных полосах со среднегеометрическими частотами – 63, 125, 250, 500, 1000, 2000, 8000 Гц);
по уровню звука в децибелах «А» шумомером (дБА), измеренного при включении корректировочной частотной характеристики «А», (для приблизительной оценки шума – средне-чувствительного слуха человека).
Уровни звукового давления на рабочих местах в нормируемом частотном диапазоне не должны превышать значений, указанных в ГОСТ 12.1.003-83 (общий уровень шума для оценки постоянного шума и интегрально-эквивалентная оценка для непостоянного шума).
Нормируемой характеристикой постоянного шума на рабочих местах являются уровни звукового давления L, дБ в октавных полосах со среднегеометрическими частотами 63, 125, 250, 1000, 2000, 4000 и 8000 Гц. Используется также принцип, который базируется на уровне звука в дБА и измеряется при включении коррективной частотной характеристики «А» шумомера. В этом случае осуществляется интегральная оценка всего шума в отличие от спектральной. Согласно ДСН 3.3.6-037-99, ГОСТ 12.003-83, ССБТ «Шум. Общие требования безопасности» и СН 32.23-85 «Санитарные нормы допустимого шума на рабочих местах» допустимые уровни звукового давления на рабочих местах следует принимать для широкополосного шума по таблице 2.5.1.; для непостоянного – на 5 дБ меньше значений приведенных в таблице 2.5.1.; для шума, который образуется в результате кондиционирования или вентиляции воздуха в помещениях – на 5 дБ меньше значений, указанных в таблице 2.5.1.
Таблица 2.5.1.
Допустимые уровня шума
|
Рабочее место |
Уровень звукового давления, дБ в активных полосах с среднегеометрической частотой шума, Гц |
Уровень звука и эквива-лентный уровень, дБА |
|||||||
|
63 |
125 |
250 |
500 |
1000 |
2000 |
4000 |
8000 |
||
|
Помещения конструкторских бюро, программистов, вычислительных машин, лабораторий для теоретических работ и обработки эксперементальных данных, прием больных в медпунктах. |
71 |
61 |
54 |
49 |
45 |
42 |
40 |
38 |
50 |
|
Помещения управления, рабочие конторы. |
79 |
70 |
68 |
58 |
55 |
52 |
50 |
49 |
60 |
|
Кабинки наблюдений и дистанционного управления: без речевой связи - по телефону; с речевой связью - по телефону. |
94 |
87 |
82 |
78 |
75 |
73 |
71 |
70 |
80 |
|
83 |
74 |
68 |
63 |
60 |
17 |
55 |
54 |
65 |
|
|
Помещения и отделы точной сборки, помещения для выполнения эксперементальных работ |
94 |
87 |
82 |
78 |
75 |
73 |
71 |
70 |
80 |
|
Постоянные рабочие места и рабочие зоны в производственных помещениях и на территориях предприятий. |
95 |
87 |
82 |
78 |
75 |
73 |
71 |
69 |
80 |
Уровень звука, который создается предприятием или транспортом на территории жилой застройки, определяется санитарными нормами, а нормирование шума в жилых домах и зданиях общественного назначения - по СНиП 2-12-77.
С учетом тяжести и напряженности труда допустимые уровни шума должны отвечать значениям, приведенным в таблице 2.5.2.
Шум в учебных аудиториях, читальных залах не должен превышать 55 дБА, а на улице более 70 дБА. Допустимый уровень шума на улице днем не должен превышать 50 дБА, ночью – 40 дБА. Допустимый уровень шума в жилых помещениях не должен превышать днем – 40 дБА, а ночью – 30 дБА.
Уровень шума в 110 дБА ведет к нарушению слуховых органов, поражению центральной нервной системы, ослаблению защитных функций организма. Запрещается приближаться без средств защиты к зонам подверженным воздействию шума 135 дБА. Уровень шума в 140 дБА вызывает болевые ощущения, в 155 дБА вызывает ожоги, в 180 дБА – смерть.
Таблица 2.5.2.
Оптимальные уровни звука на рабочих местах при выполнении работ различной категории тяжести и напряженности
|
Категория напряженности труда |
Категория тяжести труда |
|||
|
легкая I |
средней тяжести II |
тяжелая III |
очень тяжелая IV |
|
|
мало напряженная I |
80 |
80 |
75 |
75 |
|
умеренно напряженная II |
70 |
70 |
65 |
65 |
|
напряженная III |
60 |
60 |
- |
- |
|
очень напряженная IV |
50 |
50 |
- |
- |
ПРИБОРЫ ДЛЯ ИЗМЕРЕНИЯ ШУМА
Для измерения шума применяют микрофоны, различные приборы шумомеры. В шумомерах звуковой сигнал преобразовывается в электрические импульсы, которые усиливаются и после фильтрации регистрируются на шкале прибором и самописцем.
Для замеров уровней звукового давления и звуковой интенсивности используют следущие приборы: шумомер типа Ш-71 с октавными фильтрами ОФ-5 и ОФ-6; шумомер PS 1-202 с октавными фильтрами OF-101 фирмы RET (Германия); шумомеры типа 2203, 2209 с октавными фильтрами типа 1613 фирмы «Брюль», «Кер» (Дания); измерители шума и вибрации ИШВ-1 и ВШВ-003.
Шумовые характеристики технологического оборудования определяют на расстоянии 1 м от контура машин. На рабочем месте измерение шума следует производить на уровне уха (на расстоянии 5 см от него), когда рабочий находится в основной рабочей позе.
Современные шумомеры имеют корректирующие частотные характеристики «А» и «Лин». Линейная объективная характеристика (Лин) используется при измерении уровней звукового давления в октавных полосах 63 … 8000 Гц – по всему частотному диапазону.
Для того чтобы показатели шумомера приближались к субъективным ощущениям громкости, используется характеристика шумомера «А», которая примерно соответствует чувствительности органа слуха при разной громкости. Диапазон работы шумомера 30— 140 дБ. Частотный анализ шума производится шумомером с присоединенным анализатором спектра (набор акустических фильтров). Каждый фильтр пропускает узкую полосу частот звука, определяемую верхней и нижней границей октавных полос. При этом в производственных условиях регистрируется лишь уровень звука в дБА, а спектральный анализ ведется по магнитофонной записи шума.
СРЕДСТВА И МЕТОДЫ ЗАЩИТЫ ОТ ШУМА
Борьба с шумом осуществляется различными методами и средствами:
снижение мощности звукового излучения машин и агрегатов;
локализация действия звука конструктивными и планировочными решениями;
организационно-техническими мероприятиями;
лечебно-профилактическими мерами;
применением средств индивидуальной защиты работающих.
Условно все средства защиты от шума подразделяются на коллективные и индивидуальные.
Коллективные средства защиты:
- средства, снижающие шум в источнике;
- средства, снижающие шум на пути его распространения до защищаемого объекта.
Уменьшение шума в источнике возникновения является наиболее эффективным и экономичным, (позволяет снизить шум на 5-10 дБ):
устранение зазоров в зубчатых соединениях;
применение глобоидных и шевронных соединений как менее шумных;
широкое использование, по возможности, деталей из пластмасс;
устранение шума в подшипниках;
замена металлических корпусов на пластмассовые;
балансировка деталей (устранение дисбаланса);
устранение перекосов в подшипниках;
замена зубчатых передач на клиноременные;
замена подшипников качения на скольжение (15дБ) и т.д.
Для уменьшения шума в арматурных цехах целесообразно: использование твердых пластмасс для покрытия поверхностей, соприкасающихся с арматурной проволокой; установка упругих материалов в местах падения арматуры; применение вибропоглощающих материалов в ограждающих поверхностях машин.
К технологическим мерам снижения уровня шума в источнике относятся: уменьшение амплитуды колебаний, скорости и т.д.
Средства и методы коллективной защиты, снижающие шум на пути его распространения подразделяются на:
архитектурно- планировочные;
акустические;
организационно-технические.
Архитектурно-планировочные мероприятия по снижению шума.
С точки зрения борьбы с шумом в градостроительстве при проектировании городов необходимо четко осуществлять разделение территории на зоны: селитебную (жилую), промышленную, коммунально-складскую и внешнего транспорта, с соблюдением согласно нормативам санитарно-защитных зон при разработке генплана.
Правильная планировка производственных помещений должна производится с учетом изоляции помещения от внешних шумов и шумных производств. Производственные здания с шумными технологическими процессами следует размещать с подветренной стороны по отношению к другим зданиям и жилому поселку, и обязательно торцевыми сторонами к ним. {Взаимная ориентация зданий решается так, чтобы стороны зданий с окнами и дверями были против глухих сторон зданий. Оконные проемы таких цехов заполняются стеклоблоками, а вход делается с тамбурами и уплотнением по периметру.
Наиболее шумные и вредные производства рекомендуется комплектовать в отдельные комплексы с обеспечением разрывов между отдельными ближними объектами согласно санитарным нормам. Внутри помещения также объединяются с шумными технологиями, ограничивается число рабочих подверженных воздействию шума. Между зданиями с шумной технологией и другими зданиями предприятия необходимо соблюдать разрывы (не менее 100 м). Разрывы между цехами с шумной технологией и другими зданиями следует озеленить. Листва деревьев и кустарников служит хорошим поглотителем шума. Новые железнодорожные линии и станции следует отделять от жилой застройки защитной зоной шириной не менее 200 м. При устройстве вдоль линии шумозащитных экранов минимальная ширина защитной зоны равна 50 м. Жилая застройка должна располагаться на расстоянии не менее 100 м от края проезжей части скоростных дорог.
Шумные цехи следует концентрировать в одном-двух местах и отделять от таких помещений разрывами или помещениями, в которых люди находятся непродолжительное время. В цехах с шумным оборудованием необходимо правильно разместить станки. Следует располагать их таким образом, чтобы повышенные уровни шума наблюдались на минимальной площади. Между участками с разным уровнем шума устраивают перегородки или размещают подсобные помещения, склады сырья, готовых изделий и т.п. Для предприятий, расположенных в черте города, наиболее шумные помещения располагают в глубине территории. {Снижение уровня шума на территории жилой застройки проводится и архитектурно-планировочными решениями (разрывы, приемы застройки), устройство шумозащитных сооружений (экранов, шумозащитных полос озеленения). Профили улиц с сооружениями, экранирующими шум.}?
Рациональное размещение акустических зон, режима движения транспортных средств и транспортных потоков.
Создание шумозащитных зон.
Уровни звукового давления, создаваемые на территории жилой застройки источниками шума предприятий (машинами, оборудованием и т.д.), определяют по формуле:
(2.5.10.)
где R – затухание шума на расстоянии r , дБ;
L>m>>1> – уровень интенсивности шума на расстоянии 1 м от источника, дБ;
r – расстояние от источника шума до рассчитанной точки, м.
Определим, например, уровень шума двигателя вентиляционной установки на расстоянии 100 м, если шум на расстоянии 1 м от источника равен 130 дБ.
Получим:
дБ
Классификация основных методов и средств коллективной защиты от шума
Акустические методы защиты от шума
К ним относятся: звукоизоляция, звукопоглощение, звукоподавление (глушение шума).
Звукоизоляция – это способность конструкций, ограждающих или разделяющих помещения, или их элементов ослаблять проходящий через них звук.
Виды звукоизоляции и эффективность звукоизоляции.
При встрече звуковой энергии с ограждением часть её проходит через ограждение, часть её отражается, часть - превращается в тепловую энергию, часть – излучается колеблющейся преградой, и часть - превращается в корпусной звук, распространяющийся внутри ограждения в помещении.
Величина излучаемой звуковой энергии гораздо меньше звуковой энергии, воздействующей на ограждение со стороны источника шума, так как часть звуковой энергии отражается от ограждения.
Звукоизолирующие качество ограждения характеризуются коэффициентом звукопроницаемости t:
>
>(2.5.11)
где l>пр>, Р>пр >– интенсивность и звуковое давление прошедшего звука;
l>пад>, Р>пад >– интенсивность и звуковое давление падающего звука.
Звукоизолирующая способность конструкции тем выше, чем выше ее поверхностная плотность. Эффективными звукоизолирующими материалами являются: бетон, дерево, плотные пластмассы и др.
Для большинства строительных конструкций и материалов имеются таблицы с экспериментальными данными их звукоизолирующей способности в активной полосе частот. При проектировании ограждений зданий и сооружений одним из критериев выбора материалов стен, перекрытий, перегородок является их звукоизолирующая способность.
Для создания нормальных условий на рабочих местах, необходимо знать на какую величину нужно понизить звуковое давление. В качестве такого критерия предлагается величина звукоизоляции Д (рис.2.5.3.). Для определения величины звукоизоляции необходимо замерить уровень звукового давления или интенсивности от источника, и сравнить его с нормативной величиной (ГОСТ 12.1.003-83; ГОСТ 12.1.001-89; ДСН 3.3.6-037-99). Для тонального и импульсного шума, а также шума, создаваемого установками кондиционирования воздуха, вентиляции и воздушного отопления, величина Lg должна быть уменьшена К = 5 дБ (рис.2.5.3.).
При расчете изоляции помещения от внешнего шума, очень важно знать на какую величину нужно понизить звуковое давление. В качестве критерия предлагается величина звукоизоляции:
,дБ,
(2.5.12)
где L>1 >– уровень шума внутри помещения, дБ;
L>2 >– уровень шума снаружи помещения, дБ.
Однако формула (2.5.11.) не дает четкого представления о том, эффективно ли такое снижение шума или нет, с точки зрения охраны труда.
Выбор необходимой звукоизоляции производится, исходя из громкости шума, допустимой по нормам. Изолирующие стена и кожух должны создавать такую изоляцию звука, чтобы проникающий сквозь них шум не выделялся на общем фоне. Для этого шум от источника должен быть снижен на 3…5 дБ против допустимого по нормам:
,дБ
(2.5.13)
где Д – необходимая величина звукоизоляции, дБ
L>А> – уровень от источника, дБ;
Lg – допустимый уровень шума по нормам, дБ.

Рис. 2.5.3. Параметры звукоизоляции
Теперь, применив формулу (2.5.13), знаем на сколько дБ необходимо понизить звуковое давление. Исходя из полученного результата, необходимо выбрать эффективную звукоизоляцию. Изоляционную конструкцию рассчитывают так, чтобы её звукоизолирующая способность конструкции ( R ) в дБ была бы равна или была бы больше величины необходимой звукоизоляции, т.е. R ³ Д (рис.2.5.3.).
При частоте колебаний среды более 100 Гц эффективность звукоизоляции зависит от массы конструкции (закон масс).
С увеличением массы конструкции М увеличивается изолирующая эффективность борьбы с шумом. Звук проникает посредством колебаний, и чем тяжелее, массивнее преграда, тем труднее привести её в колебание. Оградительные конструкции шумных цехов делаются массивными, утолщенными из плотных материалов или из пустотелых блоков, или многослойными.
Для определения звукоизолирующей способности ограждений рекомендуется формула:
(2.5.14.)
где t - коэффициент звукопроводности, представляющий собой отношение звуковой энергии, прошедшей через конструкцию и падающей на конструкцию.
Для изоляции шумных помещений применяются звукоизолирующие стены и перекрытия. Звукоизолирующая способность таких ограждений определяется по следующим формулам:
для определения между двумя помещениями
,
(2.5.15)
для сплошного и однообразного ограждения с массой конструкции до 200 кг/м2 звукоизолирующая способность равна:
,
(2.5.16)
то же с массой свыше 200 кг/м2
,
(2.5.17)
для двойного ограждения с воздушной прослойкой 8…10 см:
,
(2.5.18)
где М – масса конструкции, кг/м2;
M>1> , M>2 >– масса стенок двойного ограждения, кг/м2;
R – звукоизолирующая способность ограждения, дБ;
L>1> , L>2 >– среднее значение уровня звукового давления в шумном и тихом помещениях, дБ;
S – площадь ограждения, м2;
А – общее звукопоглощение в тихом помещении, равное сумме произведений всех площадей на их коэффициенты звукопоглощения, м2.
Если само ограждение выполнено из звукопоглощающего материала, то величина ослабления шума s звукоизолирующей конструкции определяется по следующей зависимости:
,
(2.5.19)
где a - коэффициент звукопоглощения материала конструкции.
Звукоизолирующая способность ограждения зависит от геометрических размеров, числа слоев звукоизолирующего материала, его веса, упругости и частотного состава шума.
Звукоизоляция однослойных ограждений
Однослойными считаются ограждения (конструкции), если они выполнены из однородного строительного материала или состоят из нескольких слоев различных материалов с собственными акустическими свойствами, жестко соединенных по всей поверхности (кирпич, бетон, штукатурка и т.д.)
Звукоизоляция ограждающих конструкций зависит от возникновения в них резонансных явлений. Область резонансных колебаний ограждений зависит от массы и жесткости ограждения, свойств материала. В основном, частота большинства строительных однослойных конструкций ниже 50 Гц. Поэтому, на низких частотах 20…63 Гц – I диапазон, звукоизоляция ограждений незначительна из-за больших колебаний ограждения вблизи первых частот собственных колебаний (провал звукоизоляции).
На частотах, в 2 – 3 раза превышающих собственную частоту колебаний ограждений (частотный диапазон II), звукоизоляция зависит от массы единицы площади ограждения и частоты падающих волн, а жесткость ограждения практически не оказывает влияния на звукоизоляцию:
,
(2.5.20)
где R – звукоизоляция, дБ;
М – масса 1 м2 ограждения, кг;
¦ - частота звука, Гц.
Удвоение массы ограждения или частоты звука ведет к повышению звукоизоляции на 6 дБ.
При совпадении частоты вынужденных колебаний (падающей звуковой волны) с частотой колебаний ограждения (эффект волнового совпадения) проявляется пространственный резонанс ограждения, при этом резко снижается звукоизоляция. Это происходит так: начиная с некоторой частоты звука ¦>0,5¦>кр>, амплитуда колебаний ограждения резко возрастает (III диапазон).
Наибольшую частоту звука (Гц), при которой проявляется волновое совпадение, называют критической:
,
(2.5.21)
где b – толщина ограждения, см;
r - плотность материала, кг/м3;
E - динамический модуль упругости материала ограждения, мПа.
Многослойные звукоизолирующие ограждения
Для повышения звукоизоляции и снижения массы ограждения применяют многослойные ограждения. Для этого пространство между слоями заполняют пористо-волокнистыми материалами и оставляют воздушную прослойку шириной 40 – 60 мм. На звукоизолирующую способность оказывает влияние масса слоя ограждения М>1> и М>2> и жесткость связей К, толщина слоя пористого материала или воздушной прослойки (рис.
2.5.4)


Чем ниже упругость промежуточного материала, тем меньше передача колебаний второму ограждающему слою, и тем выше звукоизоляция (практически, двойное ограждение позволяет снизить уровень шума на 60 дБ).
Звукопоглощение
В шумных помещениях уровень звука значительно увеличивается за счет его отражения от строительных конструкций и оборудования. Уменьшить долю отражаемого звука можно, применив специальную акустическую обработку помещения, заключающуюся в облицовке внутренних поверхностей звукопоглощающими материалами.
При падении звуковой энергии Е>пад> на поверхность одна часть звуковой энергии поглощается (Е>пог>), другая - отражается (Е>отр>).
Отношение поглощенной энергии к падающей – коэффициент звукопоглощения этой поверхности:
,
(2.5.22)
Поглощение звука материалом обусловлено внутренним трением в материале и переходом энергии звука в тепло. Зависит от толщины поглощающего слоя, вида материала и характеристик звука. Звукопоглощающими считают материалы, у которых a > 0,2.
Звукопоглощающие конструкции условно делят на три группы: пористые звукопоглощающие, резонансные, штучные (объемные) звукопоглотители. В строительстве наиболее часто применяют пористые звукопоглощающие материалы. Конструкции из них выполняют в виде слоя необходимой толщины. Резонансные конструкции представляют собой перфорированные экраны. Обычные строительные материалы: бетон, кирпич, камень, стекло, являются плохими звукопоглотителями. Наиболее эффективно поглощают звук пористые, волокнистые материалы с малой плотностью. Звукопоглощение на предприятиях достигается облицовкой стен и потолков волокнистыми или пористыми материалами (р=80…100 кг/м3), стекловолокнами (р=17…25 кг/м3), ячеисто бетонными плитами типа «Силакпор» (р=350 кг/м3), бетонно-керамзитными блоками, плитами из перфорированного павинола марки «Авиапол» и др. Для закрепления эти материалы покрывают алюминиевыми перфорированными панелями, мелкоячеистой проволочной сеткой, стеклотканями и т.п. Звукопоглощающая облицовка уменьшает шум в помещениях на 6 –10 дБ.
Звукопоглощение материалов зависит от толщины. Так, толщина хлопка, ваты составляет 400 – 800 мм, рыхлого войлока – 180 мм, плотного войлока – 120 мм, минеральной ваты – 90 мм, пористого гипса – 6 мм.
Звукопоглощающие материалы эффективно поглощают звук средних и высоких частот. Для поглощения низкочастотного шума между звукопоглощающей облицовкой и стеной создают воздушную прослойку.
Часто применяют штучные поглотители, выполненные в виде объемных тел из звукопоглощающего материала. Их подвешивают к потолку вблизи источников шума. Для звукопоглощения применяют различные виды конструкций. Такие конструкции состоят из одного или нескольких слоев материалов, жестко связанных друг с другом. Звукопоглощающая способность такой конструкции зависит от коэффициента шумопоглощения каждого слоя.
В том случае, когда звукоизолирующее ограждение имеет в своей конструкции звукопоглощающий материал, эффективность ограждения зависит от коэффициента звукопоглощения a и звукоизоляции стенок кожуха или конструкции (рис. 2.5.3). Для оценки эффективности такой конструкции необходимо знать массу стенок кожуха или конструкции М в кг/м2, частоту колебаний в Гц и коэффициент a, который представляет отношение поглощенной звуковой энергии к падающей. Коэффициент звукопоглощения для большинства пористых материалов на средних и высоких частотах равен 0,4 – 0,6. Пористые звукопоглощающие материалы изготовляют в виде плит и крепят непосредственно к стене или к конструкции. Зернистые, пористые материалы изготовляют из минеральной крошки, гравия, пемзы, каолина, шлака и т.д., применяя в качестве вяжущего вещества цемент или жидкое стекло. Эти материалы применяют для уменьшения шума в производственных помещениях, в коридорах общественных и других зданий, фойе, лестничных клетках. Звукопоглощающие, волокнистые, пористые материалы изготовляют из древесного волокна, асбеста, минеральной ваты, стеклянного или капронового волокна. Эти материалы используются в основном для улучшения акустических качеств в кинотеатрах, студиях, аудиториях, детских садах, яслях, ресторанах и т.д.
Снижение уровня звукового давления в акустически обработанном помещении можно определить по зависимости:
,
(2.5.23)
где B>2> и B>1 >- постоянные помещения до и после его акустической обработки, определяют по СНИП II-12-77,
,
(2.5.24)
где В>1000> – постоянная помещения на среднегеометрической частоте 1000Гц, м2, определяется в зависимости от объема помещения;
m – частотный множитель, определяемый по справочным таблицам (изменяется от 0,5 до 6 в зависимости от объема помещения и частоты звука). Максимальное звукопоглощение можно получить при облицовке не менее 60% площади помещения.
Частичную изоляцию рабочих мест можно осуществить с помощью экранов.
Метод экранирования применяют, когда другие методы малоэффективны или неприемлемы с технико-экономической точки зрения. Экран представляет собой препятствие на пути распространения воздушного шума, за которым возникает звуковая тень (рис. 2.5.3.). Материалом для изготовления экранов являются стальные или алюминиевые пластины толщиной 1…3 мм, покрытые со стороны источника шума звукопоглощающим материалом. Акустическая эффективность экрана зависит от его формы, размеров, расположения относительно источника шума и рабочего места. Эффективность k>э> экрана
,
(2.5.25)
где, ¦ - частота; h – высота экрана; r – расстояние от экрана до рабочего места;
l – ширина экрана; d – расстояние от экрана до источника шума.
Эффективность звукопоглощения экрана зависит от отношения расстояния между источником и расчетной точкой ( l ) к длине ( А ), ширине ( В ) и высоте ( H ) помещения. Эффективная работа экрана будет обеспечена при l/A, l/B, l/H меньше 0,5. При величине отношения равной 1 применение экрана мало эффективно. Эффективность можно повысить за счет увеличения размеров экрана и приближения его как можно ближе к источнику шума. Английская фирма «Акустикэбс» разработала шумопоглощающий экран для промышленных зданий. Его можно использовать как временную перегородку для изоляции помещений.
Для борьбы с шумом используют также подвесные или штучные звукопоглотители, кубической или конической формы, выполненные из перфорированной фанеры, пластмассы, металла, заполненных пористым звукопоглощающим материалом. Эффективность звукопоглощения оценивается площадью звукопоглощения. Одним из направлений звукоизоляции является применение звукоизолирующих кабин, позволяющих дистанционно управлять производством. В качестве звукоизолирующих кабин рекомендуется использовать типовые стационарные железобетонные кабины для санузла жилых зданий. Их устанавливают непосредственно на пол на резиновых амортизаторах. Внутри проводят облицовку звукопоглощающими плитами и производят двойное остекление. При проектировании производственных помещений необходимо помнить, что с увеличением объема помещения уменьшается уровень шума. Однако, на звукопоглощение большое значение оказывает высота (H) помещения чем его объем. При отношении расстояния между источником шума и расчетной точкой (l) к высоте помещения (H), равной l/H = 0,5, звукопоглощение составляет 2…4 дБ; при l/H = 2…10 дБ; при l/H = 6…12 дБ.
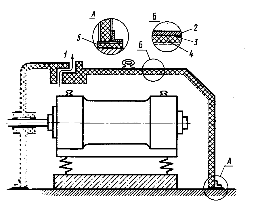
При недостаточности указанных выше мер по снижению уровня шума до допустимых значений применяют комплексную звукоизоляцию. Снижение шума достигается за счет уменьшения интенсивности прямого звука путем установки ограждений, кабин, кожухов, экранов (рис. 2.5.5; 2.5.6).

Рис.2.4.5. Средства звукоизоляции:
1 - звукоизолирующее ограждение; 2 - звукоизолирующие кабины и пульты управления;
3 - звукоизолирующие кожухи; 4 – акустические экраны; ИШ - источник шума
Сущность комплексной звукоизоляции состоит в том, что падающая на ограждение энергия звуковой волны отражается в значительно большей степени, чем проходит через него. За счет многократного отражения и экранирования рабочего места уровень понижается до допустимого значения.
Для снижения шума, создаваемого системами впуска и выпуска отработанных газов двигателей внутреннего сгорания, вентиляционными установками, компрессорами и т.п., применяют глушители шума. Они бывают абсорбционные, реактивные и комбинированные (рис. 2.5.7).


Абсорбционные глушители снижают шум на 5 – 15 дБ за счет поглощения звуковой энергии звукопоглощающими материалами, которыми облицована их внутренняя поверхность. Они могут быть трубчатыми, пластинчатыми, сотовыми, экранными. Последние устанавливают на выходе газа в атмосферу или на входе в канал. Реактивные глушители снижают шум в резонансных камерах на 28 – 30 дБ (рис. 2.5.7.)


Организационно-технические меры снижения шума. Уменьшение шума с помощью организационно-технических мер осуществляется за счет изменения технологических процессов, устройством дистанционного управления и автоматического контроля, своевременным проведением планово-предупредительного ремонтов оборудования, внедрением рациональных режимов труда и отдыха.
Средства индивидуальной защиты от шума. В тех случаях, когда техническими средствами не удается снизить шум и вибрацию до допустимых пределов, применяют индивидуальные средства защиты. Для снижения шума ДСН 3.3.6-037-99 рекомендует применять индивидуальные средства защиты по ГОСТ 12.1.003-88; для ультразвука (ГОСТ 12.1.001-89). Средства индивидуальной защиты от шума должны обладать следующими основными свойствами:
снижать уровень шума до допустимых пределов на всех частотах спектра;
не оказывать чрезмерного давления на ушную раковину;
не снижать восприятие речи;
не заглушать звуковые сигналы опасности;
отвечать гигиеническим требованиям.
К индивидуальным средствам защиты органов слуха относятся внутренние и наружные противошумы (антифоны), противошумные каски.


Простейшими из внутренних противошумных средств считаются вата, марля, губка и т.д., вставленные в слуховой канал. Вата снижает шум на 3 – 14 дБ в полосе частот от 100 до 6000 Гц; вата с воском - до 30 дБ. Применяются предохранительные втулки (ушные вкладыши «Беруши»), плотно закрывающие слуховой канал и снижающие шум на 20 дБ (рис. 2.5.8.).
К наружным противошумным средствам относятся антифоны, закрывающие ушную раковину. Некоторые конструкции противошумов обеспечивают снижение шума до 30 дБ при частотах порядка 50 Гц и до 40 дБ при частотах 2000 Гц. Антифоны утомляют человека. В настоящее время разработаны антифоны, имеющие избирательную способность, т.е. защищающие органы слуха от проникновения звука нежелательной частоты и пропускающие звуки определенной частоты. В последнее время находят применение наушники противошумные ПШ-00, каска противошумная ВЦНИИОТ-2. Они являются весьма эффективными средствами при высокочастотных шумах, однако следует учитывать, что они не очень удобны в эксплуатации и могут применяться только временно. При уровне шума больше 120 дБ наушники и вкладыши не дают необходимого ослабления шума.