Информационная система гостиничного комплекса
Федеральное агентство по образованию
Государственное образовательное учреждение
среднего профессионального образования
Челябинский энергетический колледж им. С. М Кирова
Допущен к защите
Зам. директора по УР
_______В. Э. Гордеева
«Информационная система гостиничного комплекса»
Пояснительная записка к дипломному проекту
ДП.230105.10-02.014.ПЗ
Руководитель проекта______________Коржова М. Е.
15.06.06
Консультант______________________Фролова К. А.
15.06.06
Разработал студент_______________Мельникова Е. Л.
15.06.06
Нормоконтроль____________________Коржова М. Е.
15.06.06
Рецензент_________________________
15.06.06
2006 год
Аннотация
Мельникова Елена Леонидовна. «Информационная система гостиничного комплекса». Челябинск ЧЭнК, 2006г.
Количество листов, 9 рисунков, 2 таблицы, 1 схема.
Библиографической литературы – 14 наименований
2 листа чертежа формата А1: алгоритм работы программы и алгоритм работы процедуры поиска данных.
В пояснительной записке рассмотрены этапы разработки, описан принцип создания и область применения программы. Пояснительная записка содержит пять основных разделов.
В первом разделе рассматриваются основные понятия базы данных, дается постановка задачи и требования к программе.
Второй раздел включает этапы разработки базы данных «Информационная система гостиничного комплекса»: разработка алгоритма, интерфейса, тестирование программы и программной документации.
В третьем разделе рассмотрена эксплуатация программных средств, т. е. структура вычислительного центра и должностные инструкции техника-программиста.
В экономической части рассчитывается себестоимость программного продукта, которая составила 7894,4 рублей.
В пятом разделе были рассмотрены общие положения по технике безопасности и техника безопасности при работе с ПК.
Содержание
Введение……………………………………………………………..…………….8
Основные понятия.
Базы данных. СУБД…………………………………………………....…..9
Виды баз данных. Виды моделей данных…………………….…………10
Основы разработки базы данных в Delphi..........................................14
Постановка задачи и требования к программе…………......………….15
2. Разработка базы данных «Информационная система гостиничного комплекса».
2.1 Анализ предметной области и выбор метода решения…………………..21
2.2 Разработка алгоритма программы……………………………………….…22
2.2.1 Понятие алгоритма. Виды алгоритмов………………………………….22
2.2.2 Алгоритм работы базы данных «Информационная система гостиничного комплекса»……………………………………………….……..24
2.3 Разработка интерфейса программы………………………………………..26
2.3.1 Понятие интерфейса……………………………………………………...26
2.3.2 Виды интерфейсов…………………………………………………..……26
2.3.3 Разработка интерфейса базы данных «Информационная система гостиничного комплекса»…………………………………………………..…29
2.4 Выбор и обоснование среды программирования…………………….....32
2.5 Тестирование программы.
2.5.1 Понятие процесса тестирования……………………………………….33
2.5.2 Виды и методы тестирования……………………….……………...….33
2.5.3 Процесс и результат тестирования…………………………………...36
2.6 Программная документация.
2.6.1 Руководство оператора ……………………………………………....37
2.6.2 Руководство программиста ……………………………………….…39
2.6.3 Руководство по техническому обслуживанию……………………..40
3. Эксплуатация программных средств.
3.1 Структура вычислительного центра…………………………………….45
3.2 Должностные инструкции техника-программиста…………………….46
4. Расчет себестоимости программного продукта…………………….…...50
5. Мероприятия по технике безопасности и противопожарной технике.
5.1 Общие положения по технике безопасности ……………..………….55
5.2 Техника безопасности при работе с ПК……………………………….58
Заключение……………………………………………………………….….61
Список литературы………………………………………………………....62
Приложение………………………………………………………………....63
Введение
С развитием общества всё больше возникала потребность в широком обмене информацией. Однако только после изобретения письменности и книгопечатания, позволившего массово собирать и распространять данные, создание телеграфной и телефонной связи, передающей сообщения в течение минуты, возникла система распространения информации. Человек стал использовать для обработки информации различные технические устройства и приспособления в виде арифмометров, логарифмических линеек, калькуляторов, электронных вычислительных машин, ознаменовавших переход к информационному обществу.
Работа человека с информацией при использовании компьютерной техники предъявляет обществу новые требования, в связи с этим развивается информатизация.
Информатизацией общества можно назвать организованный социально-экономический и научно-технический процесс создания оптимальных условий для удовлетворения информационных потребностей и реализации прав граждан, организаций, объединений, органов государственной власти и т.д. на основе формирования и использования соответствующих информационных ресурсов.
Информатизация – это сведения, данные, с помощью которых передаются накопленный опыт и знания.
В данной работе рассмотрены этапы проектирования и реализации БД «Информационная система гостиничного комплекса», отвечающей требованиям постановки технического задания на дипломное проектирование.
1. Основные понятия
1.1 База данных. СУБД
Современные формы информационных систем являются банки данных, включающие в свой состав следующие составляющие: вычислительную систему, систему управления базой данных, одну или несколько баз данных, набор прикладных программ.
База данных – это совместно – используемый набор логически связанных данных и описание этих данных, которые предназначены для удовлетворения информационных потребностей организации фирмы.
База данных – это единое, большое хранилище данных, которое однократно определяется, а затем используется одновременно многими пользователями из разных подразделений. Вместо разрозненных файлов с избыточными данными, здесь все данные собраны вместе с минимальной долей избыточности. База данных хранит не только рабочие данные организации, но и их описания. Информация в базе данных должна отвечать многим требованиям, основными из них являются: неизбыточность, непротеворичивость, целостность.
Система управления базами данных (СУБД) – это программное обеспечение, с помощью которого пользователи могут определять, создавать и поддерживать базу данных, а также осуществлять к ней контролируемый доступ.
СУБД – это программное обеспечение, которое взаимодействует с прикладными программами пользователей и базой данных и обладает следующими возможностями:
- позволяет определять базу данных;
- позволяет вставлять, обновлять, удалять и извлекать информацию из базы данных;
- предоставляет контролируемый доступ к базе данных.
Обладание такими функциональными возможностями превращает СУБД в чрезвычайный полезный инструмент.
Преимущества СУБД:
- контроль за избыточностью данных;
- непротиворечивость данных;
- больше полезной информации при том же объеме хранимых данных;
- совместное использование данных;
- поддержка целостности данных;
- повышенная безопасность;
- применение стандартов;
- повышение эффективности с ростом масштабов системы;
- возможность нахождения компромисса при противоречивости в требованиях;
- повышение доступности данных и готовности к работе;
- улучшение показателей производительности;
- упрощение сопровождения системы за счет независимости от данных;
- улучшенное управление параллельностью;
- развитые службы резервного копирования и восстановления.
Недостатки СУБД:
- сложность;
- размер;
- стоимость СУБД;
- дополнительные затраты на аппаратное обеспечение;
- затраты на преобразование;
- производительность;
- более серьезные последствия при выходе системы из строя.
1.2 Виды баз данных. Виды моделей данных
Виды баз данных.
Классификация баз и банков данных может быть произведена по разным признакам, относящимся к разным компонентам и сторонам функционирования банков данных, среди которых выделяют, например, следующие.
По форме представляемой информации можно выделить фактографические, документальные, мультимедийные, в той или иной степени соответствующие цифровой, символьной и другим (нецифровой и не символьной) формам представления информации в вычислительной среде. К последним можно отнести картографические, видео-, аудио-, графические и другие БД.
По типу хранимой (не мультимедийной) информации можно выделить фактографические, документальные, лексикографические БД. Лексикографические базы — это классификаторы, кодификаторы, словари основ слов, тезаурусы, рубрикаторы и т. д., которые обычно используются в качестве справочных совместно с документальными или фактографическими БД. Документальные базы подразделяются по уровню представления информации на полнотекстовые (так называемые «первичные» документы) и библиографическо - реферативные («вторичные» документы, отражающие на адресном и содержательном уровнях первичный документ).
По типу используемой модели данных выделяют три классических класса БД: иерархические, сетевые, реляционные. Развитие технологий обработки данных привело к появлению постреляционных, объектно-ориентированных, многомерных БД, которые в той или иной степени соответствуют трем упомянутым классическим моделям.
По топологии хранения данных различают локальные и распределенные БД.
По типологии доступа и характеру использования хранимой информации БД могут быть разделены на специализированные и интегрированные.
По функциональному назначению (характеру решаемых с помощью БД задач и, соответственно, характеру использования данных) можно выделить операционные и справочно-информационные. К последним можно отнести ретроспективные БД (электронные каталоги библиотек, БД статистической информации и т. д.), которые используются для информационной поддержки основной деятельности и не предполагают внесения изменений в уже существующие записи, например, по результатам этой деятельности. Операционные БД предназначены для управления различными технологическими процессами. В этом случае данные не только извлекаются из БД, но и изменяются (добавляются) в том числе в результате этого использования.
По сфере возможного применения можно различать универсальные и специализированные (или проблемно-ориентированные) системы.
По степени доступности можно выделить общедоступные и БД с ограниченным доступом пользователей. В последнем случае говорят об управляемом доступе, индивидуально определяющем не только набор доступных данных, но и характер операций, которые доступны пользователю.
Следует отметить, что представленная классификация не является полной и исчерпывающей. Она в большей степени отражает исторически сложившееся состояние дел в сфере деятельности, связанной с разработкой и применением баз данных.
В последнем случае правильнее говорить об интегрированных информационных системах, объединяющих в общей среде разнородные данные, хранимые возможно в разнотипных базах, но используемых для решения одной прикладной задачи.
Модели данных.
Модель данных – интегрированный набор понятий для описания данных, связей между ними и ограничений, накладываемых на данные в некоторой организации.
Модель является представлением «реального мира» объектов и событий, а также существующих между ними связей. Модель должна отражать основные концепции, представленные в таком виде, который позволит проектировщикам и пользователям базы данных обмениваться конкретными и недвусмысленными мнениями об их понимании роли тех или иных данных в этой организации. Цель построения модели данных заключается в представлении данных в понятном виде. Если такое представление возможно, то модель данных легко можно будет применить при проектировании базы данных.
Виды моделей данных.
Объективные модели данных
При построении объектных моделей данных используются такие понятия как сущности, атрибуты и связи. Сущность – отдельный элемент организации, который должен быть представлен в базе данных. Атрибут – свойство, которое описывает некоторый аспект объекта и значение которого следует зафиксировать, а связь является ассоциативным отношением между сущностями. Общие типы объектных моделей данных: модель типа «сущность - связь», семантическая модель, функциональная модель и объектно-ориентированная модель.
Модели данных на основе записей
В модели на основе записи база данных состоит из нескольких записей фиксированного формата, которые могут иметь разные типы. Каждый тип записи определяет фиксированное количество полей, каждое из которых имеет фиксированную длину. Существует три типа логических моделей данных на основе записей: реляционная модель данных, сетевая модель данных и иерархическая модель данных.
Реляционная модель данных
Реляционная модель данных основана на понятии математических отношений. В реляционной модели данные и связи представлены в виде таблиц, каждая из которых имеет несколько столбцов с уникальными именами. В реляционной модели данных единственное требование состоит в том, что база данных с точки зрения пользователя выглядит как набор таблиц.
Сетевая модель данных
В сетевой модели данные представлены в виде коллекций записей, а связи – в виде наборов. Здесь явным образом моделируются наборы, которые реализуются с помощью указателей. Сетевую модель можно представить как граф с записями в виде узлов графа и наборами в виде его ребер.
Иерархическая модель данных
Иерархическая модель является ограниченным подтипом сетевой модели. В ней данные также представлены как коллекции записей, а связи – как наборы. Однако в иерархической модели узел может иметь только одного родителя. Иерархическая модель может быть представлена как древовидный граф с записями в виде узлов и множествами в виде ребер.
Физические модели данных
Физические модели данных описывают то, как данные хранятся в компьютере, представляя информацию о структуре записей, их упорядоченности и существующих путях доступа. Физических моделей данных не так много, как логических, а самыми популярными среди них являются обобщающая модель и модель памяти кадров.
1.3 Основы разработки баз данных в Delphi
При создании программ, работающих с базами данных, в системе Delphi традиционно используется механизм Borland Database Engine (BDE). Этот механизм реализован в виде набора библиотек, которые обеспечивают для программы, написанной на Паскале, простой и удобный доступ к базам данных независимо от их архитектуры. При использовании механизма BDE разработчик может не задумываться о том, как его программа будет работать с базой данных на физическом уровне. Вдобавок при переходе к использованию СУБД разных производителей программисту не потребуется менять исходный код своей программы. Достаточно внести изменения только в настройки BDE.
Создание таблиц.
Для создания таблиц в системе Delphi имеется приложение Database Desktop. Новая таблица создается командой File – New – Table. При заполнении таблицы учитываются следующие поля: Field Name (указывается имя поля (на английском), не должно начинаться с пробела), Type (тип поля. При нажатии правой кнопкой мыши открывается меню для выбора типа), Size ( указывается в количестве символов), Key (ключевое поле).
Затем таблицу надо проиндексировать. Для это в разделе Table properties открываем выпадающий список. И выбираем раздел Secondary Indexes. Нажимаем кнопку Define. На этом создание таблицы завершено, ее нужно сохранить (Save as).
Далее создаются остальные таблицы (по такому же принципу). При регистрации в системе BDE созданной группы таблиц как целостной базы данных используется приложение SQL Exploer. Здесь создаем новую базу данных (Object - New), указываем путь рабочего каталога и сохраняем (Apply).
Далее с помощью средств Delphi реализуется доступ к базе данных. Обычно используются средства: SQL, DBGrid и DataSource, при указании нужных свойств база данных становится видимой на форме.
1.4 Постановка задачи и требования к программе
Введение.
Область применения программы «Информационная система гостиничного комплекса» - это описание и характеристики гостиниц (корпусов), количество комнат в различных гостиницах, местность номеров, наличие служб быта. Возможность бронирования номеров для одного человека и для группы людей, возможность узнать о дополнительных услугах и стоимость этих услуг, заключение договоров с крупными организациями на предоставление номеров, возможность отказа от номеров. Ведение учета мнений о номерах, жалоб, ведение и изучение статистики.
Программа позволит автоматизировать работу по ведению учета о свободных номерах, о занятых номерах, об особенностях каждой гостиницы, о номерах и предоставляемых услугах, что позволит уменьшить трудоемкость работы.
Программа будет иметь спрос на рынке, так как существует много гостиниц (корпусов), которым необходимо вести сведения о номерах, принимать заявки на бронирование, выдавать по просьбе людей необходимые сведения об оплате, услугах, и о дополнительных услугах, которые не входят в счет за номер (химчистка, стирка, развлечения, дополнительное питание).
Основание для разработки.
Разработка программы «Информационная система гостиничного комплекса» ведется на основании задания на дипломное проектирование.
Задание утверждено и выдано Челябинским энергетическим колледжем.
Назначение разработки.
Функциональное назначение – программа позволяет быстро и достаточно легко редактировать базу данных (добавлять новые записи, удалять старые, вносить необходимые изменения в существующие записи).
Программа позволит пользователю узнать все интересующие сведения, и в случае необходимости получить результат работы в виде ответа на запрос. Ответ на запрос выводится в виде таблицы на главной форме. Также программа осуществляет быстрый поиск данных.
Эксплуатационное назначение – программа применяется пользователем для автоматизации учета о существующих гостиницах (корпусов), об особенностях номеров, количестве свободных и занятых номеров, а также для составления договоров на бронирование.
Требования к программному изделию.
I) Требование к функциональным характеристикам – программа «Информационная система гостиничного комплекса» должна выполнять следующие функции:
1) данные, вносимые пользователем должны автоматически заноситься в базу данных;
2) необходим контроль правильности вносимых данных, в случае ошибки, данные не должны заноситься в базу данных;
3) должна быть возможность добавлять в базу данных новые записи, удалять устаревшие или не нужные записи, редактировать существующие;
4) выполнять необходимые запросы на получение интересующих данных;
5) программа должна иметь удобный и достаточно простой интерфейс, который будет понятен и не квалифицированному пользователю.
6) получение перечня и общего числа фирм, забронировавших места в объеме, не менее указанного, за весь период сотрудничества, либо за некоторый период;
7) получение перечня и общего числа постояльцев, заселявшихся в номера с указанными характеристиками за некоторый период;
8) получение количества свободных или занятых или забронированных номеров на данный момент;
9) получение сведений о конкретном свободном номере: в течение, какого времени он будет пустовать и о его характеристиках;
10) получение сведений о количестве свободных номеров с указанными характеристиками;
11) получение списка занятых сейчас номеров, которые освобождаются к данному сроку;
12) получение данных об объеме бронирования номеров данной фирмой за указанный период;
13) получение списка недовольных клиентов и их жалобы;
14) получение данных о прибыли гостиниц;
15) получение сведений о постояльце из заданного номера: его счет гостинице за дополнительные услуги, поступавшие от него жалобы, виды дополнительных услуг, которыми он пользовался;
16) получение сведений о фирмах, с которыми заключены договора о брони на указанный период;
17) получение сведений о наиболее часто посещающих гостиницу постояльцах по всем корпусам гостиниц, по определенному зданию;
18) получение сведений о новых клиентах за указанный период;
19) получение сведений о конкретном человеке, сколько раз он посещал гостиницу, в каких номерах и в какой период останавливался, какие счета оплачивал;
20) получение сведений о конкретном номере: кем он был занят в определенный период;
Входной информацией являются данные о гостиницах, особенностях номеров, количества свободных и занятых номеров, вносимые в поля ввода с клавиатуры на русском и английском языке.
Выходные данные организуются в виде ответа на запрос, который выводится на главное окно. После просмотра результата есть возможность выполнить следующий запрос.
II) Требования к надежности – устойчивость программы обеспечивает возможность правильной работы программы без сбоев. Отказ в работе программы может возникнуть при обнаружении неизвестной ошибки, которая ранее не рассматривалась.
III) Требования к условиям эксплуатации – с программой может работать любой пользователь. Для работы с программой достаточно одного пользователя, если пользователь квалифицированный, то ему необходимо ознакомиться с руководством пользователя, если не квалифицированный, то ему необходимо пройти курс обучения.
IV) Требования к составу и параметрам технических средств
- центральный процессор Pentium I;
- оперативная память 128Mb;
- минимальная емкость диска HDD: 950KB;
- необходимость дисковода FDD 3.5 “1,44Mb Samsung”;
- монитор;
- мышь;
- клавиатура;
- Операционная система Windows 95.
V) Требования к информационной и программной совместимости – метод решения задачи языка программирования и программного средства
выбирается разработчиком. В данном случае среда программирования Delphi позволяет решить поставленную задачу.
Требования к программной документации.
Программный продукт должен содержать подробное руководство пользователя, руководство программиста и руководство по техническому обслуживанию.
Технико-экономические показатели.
Программа должна быстро окупить все затраты, так как она не требует больших затрат на свое производство.
Программа используется регулярно и имеет спрос, так как гостиничные комплексы все больше развиваются, усовершенствуются и строятся новые.
Стадии и этапы разработки.
Процесс разработки программы содержит следующие этапы:
а) подробный анализ технического задания;
б) проектирование программы (разработка алгоритма программы);
в) программирование;
г) тестирование и отладка программы;
д) ввод в эксплуатацию.
Порядок контроля и приемки.
Программа должна быть протестирована различными способами для нахождения и устранения возникших ошибок.
Тестирование состоит из следующих этапов:
а) запуск программы;
б) ввод тестовых данных;
в) анализ результата работы программы;
г) корректировка, внесение изменений в программу при необходимости;
д) решение вопроса о дальнейшем тестировании.
2. Разработка базы данных «Информационная система гостиничного комплекса»
2.1 Анализ предметной области и выбор метода решения
Программный продукт – это программа на носителе данных, являющаяся продуктом промышленного производства.
При создании программного продукта необходимо выделить основные этапы работы:
- Планирование программного продукта – определяются все основные задачи, которые должны быть выполнены в процессе разработки, а именно производится оценка финансовых, людских, технических и других ресурсов. Определяются методы тестирования и приемки программы;
- Составление требований заказчика – производится анализ требований к программному продукту (форма представления информации, необходимые функции, желаемый интерфейс, существующие ограничения);
- Проектирование программного продукта – определяется модель разрабатываемого программного продукта, которая определяет структура программы;
- Разработка программного продукта – на этом этапе программный проект преобразуется в код программы;
- Тестирование программного продукта – данный этап не имеет четкого начала, он может происходить как после завершения написания программы, так и во время предыдущих этапов. После завершения тестирования заполняется документация – результат тестирования;
- Сопровождение программного продукта – на этом этапе основное внимание уделяется внесению изменений в программный продукт.
Согласно техническому заданию на дипломное проектирование необходимо разработать программу «Информационная система гостиничного комплекса».
Программа «Информационная система гостиничного комплекса» позволит автоматизировать работу и уменьшить усилия пользователя.
В настоящее время существует огромное количество способов создания программного обеспечения. Для решения поставленной задачи можно воспользоваться различными языками программирования, с помощью них можно обеспечить полное выполнение технического задания. Для создания данного программного продукта наиболее удобным средством является Delphi, т. к. он позволит реализовать поставленную задачу.
2.2 Разработка алгоритма программы
2.2.1 Понятие алгоритма. Виды алгоритмов.
Алгоритм – это последовательность команд управления, каким – либо исполнителем.
Любой алгоритм составляется для конкретного исполнителя в рамках его системы команд. Алгоритм должен быть представлен таким образом, чтобы исполнитель, для которого он создан, мог однозначно и точно следовать командам алгоритма и эффективно получать результат.
Способы представления алгоритма:
Алгоритм можно представить несколькими способами:
- с помощью графического описания;
- с помощью словесного описания;
- в виде таблицы;
- последовательностью формул, записанных на языке программирования.
Виды алгоритмов:
Линейным алгоритмом называется последовательность операций, выполняемых строго в соответствии с порядком их следования сверху – вниз и слева – направо.
Этот алгоритм не обладает важнейшим свойством, предъявляемый к качественным алгоритмам, т. е. не обладает универсальностью по отношению к исходным данным. Какими бы не были исходные данные алгоритм должен приводить к определенному результату и завершать работу. Результатом может быть число, но может быть и сообщение о том, что при определенных данных задача решения не имеет.
Разветвляющим алгоритмом называют алгоритм, позволяющий выбирать одно из нескольких возможных направлений решений задачи.
Свойства алгоритма:
1) Описываемый процесс должен быть разбит на последовательность отдельных шагов, т. е. выполнив требования одной команды – только тогда можно перейти к следующей. Данное свойство называется дискретностью;
2) Используемые алгоритмы составляются для определенного исполнителя, поэтому необходимо знать какие команды исполнитель знает и может понять, какие нет. Это свойство называется понятностью;
3) Алгоритм не должен содержать предписаний, смысл которых может восприниматься не однозначно, т. е. одна и та же команда, понятная разным пользователям, после исполнения каждым из них должна давать один и тот же результат. Кроме того, в алгоритмах недопустимой считается ситуация, когда после выполнения очередной команды алгоритма пользователю не понятна какая из команд должна выполняться на следующем шаге. Это свойство называется определенностью;
4) Результативность. Смысл этого требования состоит в том, что при точном исполнении всех предписаний алгоритма процесс должен заканчиваться за конечное число шагов и при этом должен получиться определенный результат;
5) Наиболее распространены алгоритмы, обеспечивающие решение не одной конкретной задачи, а некоторого класса задач данного типа. Это свойство называется массовостью.
Алгоритм работы программы «Информационная система гостиничного комплекса» относится к разветвляющемуся виду, так как он позволяет выбрать одно из нескольких вариантов действий.
2.2.2 Алгоритм работы базы данных «Информационная система гостиничного комплекса».
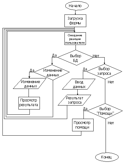
При загрузке главной формы предоставляется выбрать действие: либо выполнение запроса, либо выбор необходимой базы данных, либо выбор помощи по работе с программой. Если выбирается ‘Запрос’, то предлагается выбрать или указать необходимые данные для выполнения запроса, после чего выводится результат запроса. Если ‘Запрос’ не выбирается, то предлагается выбрать ‘БД’, после чего предлагается просмотреть или изменить данные, при изменении данных предлагается просмотреть эти данные. Если изменение данных не происходит, то предлагается вернуться к выбору действия. Если ‘БД’ не выбирается, то предлагается выбрать ‘Помощь’, после чего на экран выводится помощь по работе с программой. Если помощь не выбирается, то предлагается выбрать действие. После выполнения запроса, либо изменения или просмотра базы данных, либо после просмотра помощи по работе с программой предлагается выйти из программы. Если выбирается ‘Выход’, то происходит выход из программы, если нет, то предлагается вернуться к выбору действия.

Рис. 2.2.2.1 Алгоритм работы программы «Информационная система гостиничного комплекса»
2.3 Разработка интерфейса программы
2.3.1 Понятие интерфейса.
Интерфейс – совокупность средств и правил, которые обеспечивают взаимодействие устройств, программ и человека.
2.3.2 Виды интерфейсов.
Пользовательский интерфейс – представляет собой совокупность программных и аппаратных средств, обеспечивающих взаимодействие пользователя с компьютером.
Справочный интерфейс пользователя предназначен для вывода справок о предметной области, составе и состоянии модели предметной области, допустимых действиях пользователя в различных состояниях программы.
Конкретный набор справочных функций определяется особенностями задач, решаемых программой, типом модели предметной области и способом внешнего управления программой.
Интерфейс управления предназначен для ввода управляющей информации пользователем программы. На модули этого интерфейса целесообразно возложить контроль вводимой информации, чтобы исключить явные ошибки пользователя.
В большинстве случаев при разработке интерфейса управления приходиться искать разумный компромисс между сложностью модулей интерфейса и простой работы пользователя.
Информационный интерфейс предназначен для вывода сообщений об ошибках и особых ситуациях, возникающих в процессе работы программы.
Информационный интерфейс в отличии от интерфейса управления является односторонним. Пользователь реагирует на сообщения об ошибках через интерфейс управления.
Интерфейс ввода – вывода. Данные для решения задач могут вводиться из заранее подготовленных файлов или же непосредственно пользователем программы с клавиатуры.
В программах более широкого назначения пользователь сам определяет, значение каких данных он будет водить, а какие данные требуется вычислить.
Выводить можно только такие данные, которым присвоены значения в результате выполнения обрабатывающих модулей или при вводе данных.
Внешний интерфейс должен обеспечить ввод данных из файлов или базы данных или вывод данных в файл (базу данных).
К функциям внешнего интерфейса можно отнести действия по сохранению состояния программы и данных при временном прерывании работы с программой, когда нужно обеспечить продолжение работы, начиная с сохраненного состояния.
Типы интерфейсов:
- Процедурно-ориентированные интерфейсы используют традиционную модель взаимодействия с пользователем, основанную на понятиях «процедура» и «операция». В рамках этой модели программное обеспечение предоставляет пользователю возможность выполнения некоторых действий, для которых пользователь определяет соответствующие данные и следствием выполнения которых является получение желаемых результатов.
- Объектно-ориентированные интерфейсы используют несколько иную модель взаимодействия с пользователем, ориентированную на манипулирование объектами предметной области. В рамках этой модели пользователю предоставляется возможность напрямую взаимодействовать с каждым объектом и инициировать выполнение операций, в процессе которых взаимодействуют несколько объектов.
Различают процедурно-ориентированные интерфейсы трех типов: примитивные, меню и со свободной навигацией.
Примитивным называют интерфейс, который организует взаимодействие с пользователем в консольном режиме. Обычно такой интерфейс реализует конкретный сценарий работы программного обеспечения задачи.
Интерфейс-меню в отличие от примитивного интерфейса позволяет пользователю выбирать необходимые операции из специального списка, выводимого ему программой. Эти интерфейсы предполагают реализацию множества сценариев работы, последовательность действий в которых определяется пользователем.
Различают одноуровневые и иерархические меню. Первые используют для сравнительно простого управления вычислительным процессом, когда вариантов немного (не более 5-7), и они включают операции одного типа. Вторые – при большом количестве вариантов или их очевидных различиях.
Интерфейсы со свободной навигацией также называют графическими пользовательскими интерфейсами. Графические интерфейсы поддерживают концепцию интерактивного взаимодействия с программным обеспечением, осуществляя визуальную обратную связь с пользователем и возможность прямого манипулирования объектами и информацией на экране. Кроме того, интерфейсы данного типа поддерживают концепцию совместимости программ, позволяя перемещать между ними информацию.
Объектно-ориентированные интерфейсы пока представлены только интерфейсом прямого манипулирования. Этот тип интерфейса предполагает, что взаимодействие пользователя с программным обеспечением осуществляется посредством выбора и перемещения пиктограмм, соответствующих объектам предметной области.
При проектировании пользовательских интерфейсов необходимо учитывать психофизические особенности человека, связанные с восприятием, запоминанием и обработкой информации.
Особенности восприятия цвета. Следует иметь в виду, что обилие оттенков привлекает внимание, но быстро утомляет. Необходимо учитывать и индивидуальные особенности восприятия цветов человеком.
Особенности восприятия звука. В интерфейсах звук обычно используют с разными целями: для привлечения внимания, как фон, обеспечивающий некоторое состояние пользователя, как источник дополнительной информации и т. п. Применяя звук, следует учитывать, что большинство людей очень чувствительны к звуковым сигналам. Поэтому при создании звукового сопровождения целесообразно предусматривать возможность его отключения.
Субъективное восприятие времени. Человеку свойственно субъективное восприятие времени. Считают, что внутреннее время связано со скоростью и количеством воспринимаемой и обрабатываемой информации.
В конечном итоге взаимодействие пользователя с интерфейсом будет определяться не только физическими возможностями и особенностями человека по восприятию, обработке и запоминанию информации, представленной в различных формах, а также по выполнению им разнообразных действий, но и пользовательской моделью интерфейса.
2.3.3 Разработка интерфейса базы данных «Информационная система гостиничного комплекса».
При разработке программы «Информационная система гостиничного комплекса» были учитаны основные требования пользовательского интерфейса.
При загрузке программы открывается главное окно, через которое пользователь имеет возможность перейти на любую таблицу через пункт «Меню».
На экране расположена информация, которую пользователь обрабатывает в данный момент. После выбора необходимого пункта меню открывается окно с базой данных. В данном окне пользователь может просматривать таблицу, производить необходимые изменения (добавлять, изменять и удалять записи). Таблицы и средства редактирования расположены по центру, в привычном для пользователя местах. При работе со средствами редактирования осуществляется помощь пользователю в виде всплывающих подсказок.
Также на главном окне расположено меню со всеми запросами, где осуществляется выбор необходимого запроса и его выполнение.
Интерфейс разработан таким образом, что бы пользователю было интуитивно понято, как работать с программой.
2.4 Выбор и обоснование среды программирования
В настоящее время существует огромное количество сред и языков программирования. При выборе среды программирования необходимо учитывать много факторов, главными из них являются: выполнение поставленных задач, понятный и удобный пользовательский интерфейс.
Язык программирования – это способ записи программ решения различных задач на ЭВМ в понятной для компьютера форме.
Для решения поставленной задачи можно использовать языки программирования Паскаль и Delphi.
Паскаль – процедурно-ориентированный язык высокого уровня. Изначально был разработан как учебный язык структурного программирования. В дальнейшем была разработана система программирования Турбо Паскаль, которая является не только языком и транслятором, но и операционной оболочкой. Турбо Паскаль стал языком профессионального программирования с универсальными возможностями. В дальнейшем Турбо Паскаль вышел за рамки учебного предназначения и стал языком профессионального программирования. В последствии Паскаль стал основой многих современных языков программирования.
Delphi – объектно-ориентированный язык высокого уровня, созданный на основе языка Паскаль. Он обладает большими возможностями, как в решении задач, так и в представлении пользовательского интерфейса. Система Delphi позволяет писать и крохотные программы, утилиты для персонального использования, и корпоративные системы, работающие с базами данных на разных платформах. При этом обеспечивается совместимость приложений при выходе новых версий Delphi – как друг с другом на уровне исходных текстов, так и с модифицированными версиями стандартных протоколов и технологий благодаря библиотеке независимых и легко настраиваемых компонентов.
Язык программирования Delphi дает огромные возможности по решению задач, так как разработчики данной среды постоянно анализируют мировые тенденции развития информационных технологий, добавляя в среду только те, которые действительно могут стать ключевыми. В связи с этим создаются новые и более усовершенствованные версии Delphi, с учетом возникающих потребностей пользователей.
В состав Delphi входят более ста компонентов. С их помощью можно создавать приложения для решения многих задач. При необходимости программист может разработать и собственные компоненты, например, когда имеющиеся компоненты не совсем подходят для решения поставленной задачи или нужный компонент просто отсутствует.
В данной работе используется язык программирования Delphi. Он позволяет реализовать все необходимые задачи и дает возможность предоставления удобного и достаточно простого интерфейса.
2.5 Тестирование программы
2.5.1 Понятие процесса тестирования.
Тестирование – это процесс, направленный на выявление ошибок.
Процесс тестирования включает:
- действия, направленные на выявление ошибок;
- диагностику и локализацию ошибок;
- внесение исправлений в программу с целью устранения ошибок.
Большая трудоемкость тестирования и ограниченные ресурсы приводят к необходимости систематизации процесса и методов тестирования. Включенные методы тестирования направлены на обнаружение максимального числа ошибок в наиболее важных режимах функционирования программ при ограниченных ресурсах.
2.5.2 Виды и методы тестирования.
Статическое тестирование – базируется на правилах структурного построения программ и обработки данных. Операторы и операнды текста программы анализируются в символьном виде.
Детерминированное тестирование – требует многократного выполнения программы на ЭВМ с использованием определенных, специальным образом подобранных тестовых наборов данных.
Стохастическое тестирование – предполагает использование в качестве исходных данных множества случайных величин с соответствующими распределениями, а для сравнения полученных результатов используются также распределения случайных величин.
Тестирование в реальном масштабе времени – в процессе тестирования проверяются результаты обработки исходных данных с учетом времени их поступления, длительности и приоритетности обработки, динамики использования памяти и взаимодействия с другими программами.
Каждый из рассмотренных методов тестирования не исключает последовательного применения другого метода, скорее наоборот, требование к повышению качества программного изделия предполагает необходимость подвергать их различным методам тестирования.
Наиболее эффективным методом тестирования является детерминированное тестирование.
Детерминированное тестирование основывается на двух подходах: структурное тестирование и функциональное тестирование.
Структурное тестирование предполагает детальное изучение текста программы и построение таких входных наборов данных, которые позволили бы при многократном выполнении программы на ЭВМ обеспечить выполнение максимально возможного количества маршрутов, логических ветвлений, циклов.
Критерии тестовых наборов:
- покрытие операторов – тесты подбираются так, чтобы каждый оператор выполнялся хотя бы один раз;
- покрытие решений (переходов) – тесты должны обеспечить проверку каждого условия, так чтобы они принимали значение «истинно» или «ложно»;
- покрытие условий – необходимо, чтобы результат каждого условия был выполнен хотя бы один раз и каждой точке входа в программу должно быть передано управление при вызове, по крайней мере, один раз;
- покрытие условий-решений – тесты должны составляться так, чтобы выполнялись результаты-условия, результаты каждого решения, и каждому оператору передавалось управление хотя бы один раз;
- комбинаторное покрытие условий – создается множество тестов, чтобы все возможные комбинации результатов-условий и все операторы выполнялись хотя бы один раз.
Функциональное тестирование полностью абстрагируется от текста программы, а тестовые наборы выбираются на основании анализа входных функциональных спецификаций.
Критерии тестовых наборов:
- метод эквивалентного разбиения – состоит из двух этапов: выделение классов эквивалентности, построение тестов.
Классы эквивалентности выделяются путем анализа входного условия и разбиением его на две или более групп. Существуют правильные и неправильные классы эквивалентности.
На основе классов эквивалентности строятся тестовые наборы. Причем для правильных классов эквивалентности нужно стремиться к минимальному числу тестовых наборов, для каждого неправильного класса эквивалентности строится хотя бы один тестовый набор.
- анализ граничных значений – этот метод предполагает исследование ситуаций, возникающих на границах и вблизи границ эквивалентных разбиений.
- метод функциональных диаграмм – заключается в преобразовании входной спецификации программы в функциональную диаграмму с помощью простейших булевских отношений.
Каждый из рассмотренных методов обеспечивает создание определенного набора тестов, но ни один из них сам по себе не может дать исчерпывающий набор тестов. Поэтому при разработке тестовых наборов следует придерживаться стратегии разумного сочетания всех рассмотренных методов.
2.5.3 Процесс и результат тестирования.
Программа «Информационная система гостиничного комплекса» была протестирована методом правильности. Главная задача такого тестирования проверить правильность работы программы и подтвердить, что все описанные действия выполняются в соответствии с требованиями.
Тест №1. Запуск программы.
Результат: Программа запускается без всяких ошибок.
Тест №2. Проверка работы меню (выбирается любой пункт меню).
Результат: Открытие необходимого окна.
Тест №3. Проверка работы с базой данных (возможность просматривания базы данных, добавление, изменение и удаление записей).
Результат: Работа с базой данных выполняется правильно.
Тест №4. Проверка работы меню с запросами.
Результат: При выборе нужного запроса появляется окно для выполнения запроса.
Тест №5. Проверка кнопки для выполнения запроса.
Результат: Запрос выполняется верно.
Тест №6. Проверка работы меню ‘Помощь’.
Результат: Появляется окно ‘Помощь’ с описанием действий при работе с программой.
Тест №7. Проверка пункта меню «Выход».
Результат: Вывод сообщения о подтверждении.
Тест №8. Проверка кнопки «ДА» при выходе из программы.
Результат: Выход из программы.
Тест №9. Проверка кнопки «НЕТ» при выходе из программы.
Результат: Выход на главное окно.
Программа прошла тестирование и готова к эксплуатации.
2.6 Программная документация
2.6.1 Руководство оператора.
Назначение программы.
Программа «Информационная система гостиничного комплекса» может быть применена в качестве АРМ в гостиницах, она позволит автоматизировать работу сотрудников, что уменьшит их труд и затрачиваемое время. Работать с программой может оператор средней квалификации (т. е. умеет включать и выключать компьютер, работать с файлами и папками, работать со средствами Office, работать с различными, более сложными программами), ознакомившись и изучив руководство оператора.
Условиями выполнения программы являются:
- ЦП Pentium I;
- оперативная память 128Mb;
- минимальная емкость диска HDD: 950KB;
- стандартный монитор, мышь, клавиатура;
- операционная система Windows 95;
- программа «Информационная система гостиничного комплекса».
Выполнение программы
Программа поставляется на диске и для ее загрузки необходимо дважды щелкнуть на иконку (Рис.2.6.1.1).
При загрузке программы «Информационная система гостиничного комплекса» появляется главная форма с тремя меню (первое – выбор нужной базы данных, второе – выбор необходимого запроса, третье - помощь).
При выборе пункта меню с нужной базой данных открывается окно с этой базой данных. Каждый пункт этого меню открывает выбранную базу данных. На каждом окне расположена таблица и средства редактирования данной таблицы, предназначенных для работы с базой данных. При использовании средства редактирования базы данных осуществляется помощь в виде всплывающих подсказок.
При выборе пункта меню с запросами появляется окно, предназначенное для выполнения запроса (указание необходимых характеристик). На этом окне расположена кнопка, после ее нажатия выполняется запрос, и окно для выполнения запроса закрывается.
При выборе пункта меню помощь открывается окно, в котором написано, как нужно работать с программой. Выход из программы осуществляется выбором пункта меню «Выход», после чего появляется окно, где подтверждается или отменяется выход из программы.
Сообщения оператору.
Сообщения выводятся в случаях:
- удаления записи из базы данных;
- незаполненных полей при выполнении запроса;
- отсутствии искомой записи при выполнении запроса;
- выхода из программы.
2.6.2 Руководство программиста.
Назначение и условия применения программы.
Программа «Информационная система гостиничного комплекса» позволит автоматизировать работу сотрудников, что уменьшит их труд и затрачиваемое время.
Условиями выполнения программы являются:
- ЦП Pentium I;
- оперативная память 128Mb;
- минимальная емкость диска HDD: 950KB;
- стандартный монитор, мышь, клавиатура;
- операционная система Windows 95;
- программа «Информационная система гостиничного комплекса».
Характеристики программы.
Режим работы программы не ограничен.
Входные и выходные данные
Входными данными программы являются данные о характеристиках гостиниц, номерах, фирмах и клиентах.
Выходными данными программы является вывод данных об интересующих нас характеристик гостиниц, номеров, фирм и клиента на данный момент времени.
Доработка программы.
Доработкой является вывод на печать определенной информации.
Для того чтобы вывести информацию на печать необходимо:
- создать отчет (отчет – виртуальный образ бумажного листа, ориентирован на печать информации из таблиц баз данных);
- использовать объект Printer (с его помощью информация выводится на печать).
2.6.2 Руководство по техническому обслуживанию.
Прикладные программы.
Для IBM PC разработаны и используются сотни тысяч различных прикладных программ для различных применений. Наиболее широко применяются программы:
- подготовки тестов (документов) на компьютере – редакторы тестов;
- подготовки документов типографического качества – издательские системы;
- обработки табличных данных – табличные процессы;
- обработки массивов информации – системы управления базами данных.
Программы архивации.
Необходимость архивации файлов
При эксплуатации компьютера по самым разным причинам возможны порча или потеря информации на магнитных дисках. Это может произойти из-за физической порчи магнитного диска, неправильной корректировки или случайного уничтожения файлов, разрушения информации компьютерным вирусом и т. д. Для того чтобы уменьшить потери в таких случаях, следует иметь архивные копии используемых файлов и систематически обновлять копии изменяемых файлов.
Для создания архивов употребляются специализированные программы. Их можно разделить на два класса: программы – упаковщики (архиваторы) и программы резервного копирования.
Программы – упаковщики позволяют за счет специальных методов сжатия информации создавать копии файлов меньшего размера и объединять копии нескольких файлов в один архивный файл. В большинстве случаев значительно удобнее хранить на дискетах, а иногда и на кассетах для стримера, файлы, предварительно сжатые программами – упаковщиками.
Программы резервного копирования предназначены для копирования информации с жесткого диска на кассеты стримера или дискеты. Из этих программ широко используются Norton Backup (для DOS и для Windows), FastBack Plus и др.
Защита от компьютерных вирусов
Компьютерный вирус – это специально написанная небольшая по размерам программа, которая может «приписывать» себя к другим программам (т. е. «заражать» их), а также выполнять различные нежелательные действия на компьютере. Программа, внутри которой находится вирус, называется «зараженной». Когда такая программа начинает работу, то сначала управление получает вирус. Вирус находит и «заражает» другие программы, а также выполняет какие-нибудь вредные действия (портит файлы или таблицу размещения файлов на диске, «засоряет» оперативную память и т. д.). После того как вирус выполняет нужные ему действия, он передает управление той программе, в которой он находится, и она работает так же, как обычно. Тем самым внешне работа зараженной программы выглядит так же, как и незараженной.
Таким образом, если не предпринимать мер по защите от вируса, то последствия заражения компьютера могут быть очень серьезными.
Виды вирусов
- вирусы, меняющие файловую систему – обычно называются DIR и прячут свое тело в некоторый участок диска и помечают его в таблице размещения файлов как коней файла;
- «невидимые» самомодифицирующие вирусы – предотвращают свое обнаружение тем, что перехватывают обращения DOS к зараженным файлам и областям диска и выдают их в исходном (незараженном) виде;
- самомодифицирующие вирусы – для того, чтобы укрыться от обнаружения применяют модификацию своего тела. В теле подобного вируса не имеется ни одной постоянной цепочки байтов, по которой можно было бы идентифицировать вирус.
Основные методы защиты от компьютерных вирусов
Для защиты от вирусов можно использовать:
- общие средства защиты информации;
- профилактические меры;
- специализированные программы для защиты от вирусов.
Общие средства защиты информации полезны не только для защиты от вируса. Имеются две основные разновидности этих средств:
- копирование информации – создание копий файлов и системных областей дисков;
- разграничение доступа – предотвращает несанкционированное использование информации.
Несмотря на то, что общие средства защиты информации очень важны для защиты от вирусов, все же их недостаточно. Необходимо и применение специализированных программ. Существуют следующие программы:
- программы-детекторы – позволяют обнаруживать файлы, зараженные одним из нескольких известных вирусов (например: Scan, Norton AntiVirus, Dr. Web);
- программы-доктора, или фаги – «лечат» зараженные программы или диски, «выкусывая» из зараженных программ тело вируса;
- программы-ревизоры – сначала запоминают сведения о состоянии программ и системных областей дисков, а затем сравнивают их состояние с исходным. При выявлении несоответствий об этом сообщается пользователю (например: Adinf+AdinfExt, AVSP);
- доктора-ревизоры – программы, которые не только обнаруживают изменения в файлах и системных областях дисков, но и могут в случае изменений автоматически вернуть их в исходное состояние;
- программы-фильтры – располагаются резидентно в оперативной памяти компьютера и перехватывают те обращения к операционной системе, которые используются вирусами для размножения и нанесения вреда, и сообщают о них пользователю (например: FlutShot Plus);
- программы-вакцины, или иммунизаторы – модифицируют программы и диски таким образом, что это не отражается на роботе программ, но тот вирус, от которого производится вакцинация, считает эти программы или диски уже зараженными.
Копирование файлов с жесткого диска
Перед тем как записывать на жесткий диск какие-то программы, желательно скопировать его содержимое на дискеты. Эти дискеты можно будет использовать при повреждении файлов операционной системы на жестком диске. Пред копированием файлов с жесткого диска на дискеты целесообразно включить режим проверки записи на диск. Это позволит избежать создания неправильных копий файлов на дискетах. После того как все файлы с жесткого диска будут скопированы на дискеты, следует заклеить на этих дискетах прорезь защиты от записи, чтобы скопированные файлы не смогли быть случайно изменены или испорчены. Целесообразно также сделать копии этих дискет и хранить вторые экземпляры дискет отдельно от первых экземпляров, чтобы уменьшить вероятность порчи дискет при каком-либо несчастном случае.
Обслуживание дисков
В ходе эксплуатации жесткого диска на нем могут образовываться «потерянные» участки, не принадлежащие ни одному из файлов и списку свободных участков диска, дефектные участки, ненужные файлы, которые сохраняются на диске только потому, что их позабыли стереть, и т. д. Поэтому необходимо периодически проводить обслуживание жесткого диска.
Если компьютер используется интенсивно, то процедуру обслуживания жесткого диска следует выполнять раз в 1 – 2 недели, а при менее интенсивной загрузке – раз в 1 – 2 месяца.
3. Эксплуатация программных средств
3.1 Структура вычислительного центра

Схема3.1.1.Структура вычислительного центра
3.2 Должностные инструкции техника - программиста
1. Общие положения.
1.1 Техник-программист относится к категории специалистов, принимается и увольняется на работу приказом начальника ВЦ (начальника производственного отдела ВЦ (ИВЦ), иного структурного подразделения).
1.2 На должность техника-программиста 1 категории назначается лицо, имеющее среднее профессиональное образование и стаж работы в должности техника-программиста II категории не менее 2 лет; на должность техника-программиста II категории - среднее профессиональное образование и стаж работы в должности техника-программиста не менее 2 лет; на должность техника-программиста - среднее профессиональное образование, без предъявления требований к стажу работы.
1.3 Техник-программист подчиняется начальнику ВЦ (ИВЦ), начальнику производственного отдела ВЦ (ИВЦ), иному должностному лицу.
1.4 В своей деятельности техник-программист руководствуется:
- нормативно-правовыми актами, регулирующими соответствующие вопросы;
- методическими материалами, касающимися вопросов его деятельности;
- правилами трудового распорядка;
-приказами, распоряжениями директора предприятия (непосредственного руководителя);
- настоящей должностной инструкцией.
1.5 Техник-программист должен знать:
- методы проектирования механизированной и автоматизированной обработки информации;
- средства вычислительной техники, сбора, передачи и обработки информации и правила их эксплуатации;
- технологию механизированной и автоматизированной обработки информации;
- рабочие программы, инструкции, макеты и другие руководящие материалы, определяющие последовательность и технику выполнения расчетных операций;
- виды технических носителей информации, правила их хранения и эксплуатации;
- действующие системы счислений, шифров и кодов;
- основные формализованные языки программирования;
- основы программирования;
- методы проведения расчетов и вычислительных работ;
- методы расчета выполненных работ;
- основы экономики, организации труда и производства;
- правила и нормы охраны труда.
1.6 Во время отсутствия техника-программиста его обязанности выполняет в установленном порядке назначаемый заместитель, несущий полную ответственность за надлежащее исполнение возложенных на него обязанностей.
2. Функции.
На техника-программиста возлагаются следующие функции:
2.1 Механизированная и автоматизированная обработка поступающей в вычислительный центр информации.
2.2 Участие в проектировании систем обработки данных и систем математического обеспечения машины.
2.3 Разработка программ.
2.4 Учет использования машинного времени, объемов выполненных работ.
3. Должностные обязанности.
Для выполнения возложенных на него функций техник-программист обязан:
3.1 Выполнять работу по обеспечению механизированной и автоматизированной обработки поступающей в вычислительный (информационно-вычислительный) центр (ВЦ, ИВЦ) информации, разработки технологии решения экономических и других задач производственного и научно-исследовательского характера.
3.2 Принимать участие в проектировании систем обработки данных и систем математического обеспечения машины.
3.3 Выполнять подготовительные операции, связанные с осуществлением вычислительного процесса, вести наблюдение за работой машин.
3.4 Составлять простые схемы технологического процесса обработки информации, алгоритмы решения задач, схемы коммутации, макеты, рабочие инструкции и необходимые пояснения к ним.
3.5 Разрабатывать программы решения простых задач, проводить их отладку и экспериментальную проверку отдельных этапов работ.
3.6 Выполнять работу по подготовке технических носителей информации, обеспечивающих автоматический ввод данных в вычислительную машину, по накоплению и систематизации показателей нормативного и справочного фонда, разработке форм исходящих документов, внесению необходимых изменений и своевременному корректированию рабочих программ.
3.7 Участвовать в выполнении различных операций технологического процесса обработки информации (прием и контроль входной информации, подготовка исходных данных, обработка информации, выпуск исходящей документации и передача ее заказчику).
3.8 Вести учет использования машинного времени, объемов выполненных работ.
4. Права.
Техник-программист имеет право:
4.1 Знакомиться с проектами решений руководства предприятия, касающимися его деятельности.
4.2 Вносить на рассмотрение руководства предложения по совершенствованию работы, связанной с обязанностями, предусмотренными настоящей инструкцией.
4.3 Получать от руководителей структурных подразделений, специалистов информацию и документы, необходимые для выполнения своих должностных обязанностей.
4.4 Привлекать специалистов всех структурных подразделений предприятия для решения возложенных на него обязанностей (если это предусмотрено положениями структурных подразделениях, если нет - с разрешения руководителя предприятия).
4.5 Требовать от руководства предприятия оказания содействия в исполнении своих должностных обязанностей и прав.
5. Ответственность.
Техник-программист несет ответственность:
5.1 За неисполнение (ненадлежащее исполнение) своих должностных обязанностей, предусмотренных настоящей должностной инструкцией, в пределах, определенных действующим трудовым законодательством.
5.2 За совершенные в процессе осуществления своей деятельности правонарушения - в пределах, определенных действующим административным, уголовным и граждански законодательством.
5.3 За причинение материального ущерба - в пределах, определенных действующим трудовым, уголовным и гражданским законодательством.
4. Расчет себестоимости программного продукта
При производстве продукции предприятие несёт определённые затраты. Эти производственные затраты называют годовыми издержками производства или эксплуатационными расходами, либо текущими затратами.
Себестоимость продукции это выраженные в денежной форме затраты, прямо или косвенно связанные с изготовлением и реализацией продукции, либо это удельные эксплуатационные расходы, отнесённые на единицу продукции, произведённой работой.
В себестоимость продукции следует различать затраты, обусловленные производством заданного объёма продукции и транспортно-сбытовые затраты на реализацию произведённой продукции. В связи с этим различают фабрично-заводскую себестоимость и полную себестоимость. В полную себестоимость входят затраты на передачу и реализацию продукции. Затраты, включённые в себестоимость классифицируются:
-по экономическим элементам;
-по статьям калькуляции.
Расчёт себестоимости на создание программного продукта «Информационная система гостиничного комплекса».
1. Количество компьютеров – 1 шт.
2. Количество дней работы над программой – 30 дней.
3. Коэффициент использования ПК – 0,8.
4. Средняя продолжительность рабочей смены – 5ч..
5. Тариф за потребление электроэнергии – 1,04 руб./ кВ.ч.
6. Потребляемая мощность ПК – 0,3 кВт/ч.
Полезный фонд времени работы ПК.
Фп = T * Ku * n * t (час)
Фп = 30 * 0,8 * 1 * 5 = 120 (час), где
Фп - полезный фонд
Т - количество дней работы над программой
Ku - коэффициент использования ПК
n - количество ПК
t - продолжительность смены
Стоимость потребляемой энергии.
Uэ\э = Фn * Ц * Р (руб.)
Uэ\э = 120 * 1,04 * 0,3 = 37,4 (руб), где
Uэ\э- стоимость потребляемой энергии
Ц - тариф за 1 кВтч
Р - потребляемая мощность ПК
Эксплуатационные материалы.
Таблица 1 «Эксплуатационные материалы»
|
№ |
Наименование |
Кол-во, шт |
Стоимость 1 единицы, руб |
Сумма, руб |
|
1 |
Тетрадь |
1 |
3-00 |
3-00 |
|
2 |
Ручка |
1 |
7-50 |
7-50 |
|
3 |
Карандаш |
1 |
1-50 |
1-50 |
|
4 |
Диск |
1 |
18-00 |
18-00 |
|
5 |
Дискета |
3 |
15-00 |
45-00 |
|
ИТОГО: |
75-00 |
Материальные затраты.
Материальные затраты – это наиболее крупный элемент затрат на производство, доля которого в общей сумме затрат может составлять от 60% до 90%.
Uмз= Uэ\э + Uэм
Uмз= 37,4 + 75,0 = 112,4, где
Uмз - материальные затраты
Uэ\э- стоимость потребляемой энергии
Uэм- стоимость эксплуатационных материалов
Оплата труда.
Включает затраты на оплату труда основного производственного персонала, включая премиальные выплаты за производственные затраты, оплата ежегодных и учебных отпусков, выплаты работникам, высвобождаемых с предприятия в результате сокращения штатов и реорганизации предприятий.
Основная заработная плата за время работы над программой.
Заработная плата программиста высшей категории 2334 руб/мес.
Заработная плата программиста без категории 1934 руб/мес.
ЗПосн = Т * З (руб)
ЗПосн = 30 * 88,0 = 2640,0 (руб), где
Т - время работы над программой
З – заработная плата программиста за один день
Дополнительная заработная плата включает в себя: премии, доплату в сверхурочное время, в праздничные дни, по совместительству.
ЗПдоп = 0,4 * ЗПосн (руб)
ЗПдоп = 0,4 * 2640,0 = 1056,0 (руб), где
ЗПдоп - дополнительная заработная плата
ЗПосн - основная заработная плата за время работы над программой
Оплата труда.
Uзп = ЗПосн + ЗПдоп (руб)
Uзп = 2640,0 + 1056,0 = 3696,0 (руб), где
Uзп – оплата труда всего
ЗПдоп - дополнительная заработная плата
ЗПосн - основная заработная плата за время работы над программой
Отчисления на социальные нужды
Включают отчисления в бюджет РФ – 20%, в фонд социального страхования – 3,2 %, в фонд обязательного медицинского страхования (федеральный и территориальный) – 2,8 %. Общий размер единого социального налога – 26% от фонда оплаты.
Uсн = Нсн/100 * Uзп
Uсн = 26/100 * 3696,0 =961, где
Uсн - отчисления на социальные нужды
Uзп – оплата труда всего
Нсн – норма отчисления на социальные нужды (26%)
Амортизационные отчисления
Амортизационные отчисления – это денежное выражение, размер амортизации ОС включаемого в себестоимость, таким путем организация возмещает затраты по использованию ОС.
На = На% / 100 % * Соф
На = 10,7 / 100 * 25000 = 2675, где
На- амортизационные отчисления
На% - норма амортизационных отчислений = 10,7 %
Соф – стоимость основных фондов = 25000
Прочие затраты
Этот экономический элемент включает налоги, сборы, отчисления в специальные фонды, производимые в соответствии с установленным законодательством порядке.
Uпр = 450 (руб.), где
Uпр - прочие затраты
Полные издержки
U = Uмз + Uзп + Uсн + На + Uпр
U = 112,4 + 3696,0 + 961,0 + 2675,0 + 450,0 =7894,4, где
Uмз - материальные затраты
Uзп – оплата труда всего
Uсн - отчисления на социальные нужды
На- амортизационные отчисления
Uпр - прочие затраты
Структура себестоимости.
Таблица 2 «Структура себестоимости»
|
№ |
Наименование |
Издержки (руб) |
% структура себестоимости |
|
1 |
Материальные затраты |
112,4 |
1,4 |
|
2 |
Оплата труда |
3696,0 |
46,8 |
|
3 |
Социальные нужды |
961,0 |
12,2 |
|
4 |
Амортизационные отчисления |
2675,0 |
33,9 |
|
5 |
Прочие затраты |
450,0 |
5,7 |
|
6 |
ИТОГО |
7894,4 |
100 |
Sn – Сумма по статьям издержек.
Sn = 112,4 + 3696,0 + 961,0 + 2675,0 + 450,0 = 7894,4
Sмз = (112,4 / 7894,4) * 100 = 1,4%
Sопл = (3696,0 / 7894,4) * 100 = 46,8%
Sсн = (961,0 / 7894,4) * 100 = 12,2%
Sа = (2675 / 7894,4) * 100 = 33,9%
Sпр = (450 / 7894,4) * 100 = 5,7%
5. Мероприятия по технике безопасности и противопожарной технике
5.1 Общие положения по технике безопасности
При эксплуатации ПК на работника могут оказывать следующие опасные и вредные производственные факторы:
Повышенный уровень электромагнитных излучений;
Повышенный уровень статического электричества;
Повышенная ионизация воздуха;
Статические физические перегрузки;
Перенапряжение зрительных анализаторов;
Работник обязан:
- выполнять только ту работу, которая определена его должностной инструкцией;
содержать в чистоте рабочее место;
соблюдать режим труда и отдыха в зависимости от продолжительности, вида и категории трудовой деятельности;
соблюдать меры пожарной безопасности.
1.1 Инструкция предназначена для пользователей персональных компьютеров.
1.2 К работе с персональным компьютером допускаются лица: имеющие персональные навыки, изучившие руководство по эксплуатации персонального компьютера и знающие порядок включения и отключения электронных устройств; прошедшие вводный инструктаж, а также инструктаж по безопасности труда непосредственно на рабочем месте.
1.3 Профессиональные пользователи должны проходить обязательные предварительные (при поступлении на работу) и периодические медосмотры
1.4 К непосредственной работе с персональным компьютером допускаются лица, не имеющие медицинских противопоказаний.
1.5 Женщины со времени установления беременности и на период кормления ребенка грудью к выполнению всех видов работ, связанных с использованием персонального компьютера, не допускаются.
1.6 Работающие с персональным компьютером обязаны выполнять правила внутреннего распорядка, требования настоящей инструкции. Инструкции по эксплуатации правила электро - пожарной безопасности, знать принцип работы компьютера и методику правильной его эксплуатации, знать возможные вредные производственные факторы, характерные для работы с компьютером (воздействие электромагнитного и электростатического полей, переутомление зрения, снижение его остроты и др.); сообщать инженеру – программисту или руководителю работ обо всех неполадках в работе компьютера; знать приемы освобождения от действия электрического тока лиц, попавших под напряжение, и способы оказания им первой помощи, знать расположение средств пожаротушения и уметь ими пользоваться.
1.7 Следует иметь в виду, что:
-расстояние между рабочими столами с компьютерами в направлении тыла поверхности одного видеомонитора и экрана другого видеомонитора должно быть не менее 2 м, а расстояние между боковыми поверхностями видеомониторов - не менее 1.2м;
-чтобы освещение не создавало слепящих бликов на клавиатуре и других частях пульта, располагаться компьютер должен так, чтобы прямой свет на попадал на экран, иначе при работе с монитором будут быстро уставать глаза Операторы не должны также сидеть лицом к окнам; Искусственное освещение в помещениях эксплуатации ПК должно осуществляться системой общего равномерного освещения. В производственных и административно - общественных помещениях, в случаях преимущественной работы с документами, допускается применение системы комбинированного освещения, когда к общему освещению дополнительно устанавливаются светильники местного освещения, предназначенные для освещения зоны расположения документов. Местное освещение не должно создавать бликов на поверхности экрана и увеличивать освещенность экрана более 300 лк. Освещенность на поверхности стола в зоне размещения рабочего документа должна быть 300-500 лк. Для обеспечения нормируемых значений освещенности в помещениях использования ПК следует проводить чистку стекол оконных рам и светильников не реже двух раз в год и проводить своевременную замену перегоревших ламп.
- площадь на одно рабочее место ПК должна составлять не менее 6,0 кв. м, а объем - не менее 20,0 куб. м.
- верхний край экрана следует располагать на уровне глаз или чуть ниже;
- оптимальное расстояние от глаз до экрана 600-700 мм, но не ближе 500 мм;
- высота клавиатуры должна быть отрегулирована так, чтобы кисти рук держались прямо (возможно применение подставок для кистей рук);
- с целью снижения статического напряжения мышц шейно - плечевой области и спины для предупреждения развития утомления необходимо, чтобы рабочий стул кресло) позволял изменять позу, был подъемно - поворотным и регулируемым по высоте и углам наклона сидения и спинки от переднего сидения;
- в производственных помещениях, в которых работа на ПК является основной (диспетчерские, операторские, расчетные, кабинеты и посты управления, залы вычислительной техники и т. д.) должны обеспечиваться оптимальные параметры микроклимата. Для нормализации аэроионного фактора помещений с компьютерами необходимо использовать устройства автоматического регулирования ионного режима воздушной среды.
- рабочие места с ПК при выполнении творческой работы, требующей значительного умственного напряжения или высокой концентрации внимания, следует изолировать друг от друга перегородками высотой 1,5-2,0 м.
- в помещениях с ПК ежедневно должна проводится влажная уборка.
- помещения с ПК должны быть оснащены аптечкой первой помощи и углекислотными огнетушителями.
- кабели компьютера должны располагаться так, чтобы их нельзя было повредить неосторожным движением;
- для предотвращения образования и защиты от статического электричества, в помещении, где установлен компьютер, необходимо применять нейтрализаторы и увлажнители. Должна быть эффективная вентиляция и поддерживаться относительная влажность воздуха на уровне 40-60 % (можно разместить вблизи компьютера цветы или аквариум).
1.8 Для обеспечения оптимальной работоспособности и сохранения здоровья профессиональных пользователей, на протяжении рабочей смены должны устанавливаться регламентированные перерывы. Продолжительность непрерывной работы с персональным компьютером без регламентированного перерыва не должна превышать 2 часов.
1.9 При работе с персональным компьютером в ночную смену (с 22 до 6 часов), независимо от категории и вида трудовой деятельности, продолжительность регламентированных перерывов должна увеличиваться на 60 мин.
1.10 Невыполнение требований настоящей инструкции является нарушением производственной дисциплины. Виновные в этом несут ответственность, в порядке, установленном действующим законодательством.
5.2. Техника безопасности при работе с ПК
1. Требования безопасности перед началом работы.
1.1 Подготовить рабочее место, убедиться в достаточной освещенности.
1.2 Убедиться в исправности компьютера, произведя его внешний осмотр. При осмотре обращать внимание на наличие и исправность предусмотренных защитных устройств токоведущих частей, исправность коммутационных устройств кнопок, клавиш, целостность изоляции питающего кабеля, вилок, розеток.
1.3 При выявлении неполадок сообщить об этом инженеру – программисту или руководителю работ и до их устранения к работе не приступать.
2. Требования безопасности во время работы.
2.1 Выполнять при работе требования, изложенного в руководстве по эксплуатации компьютера.
2.2 Питание на процессор следует подавать после включения всех периферийных устройств. После работы первым должен выключаться процессор.
2.3 Не оставлять компьютер включенным при уходе с рабочего места. При длительном перерыве в работе компьютер следует обесточить, отсоединив от сети.
2.4 При появлении неисправностей прекратить работу, компьютер отключить от электросети (или поступить в соответствии с требованиями руководства по эксплуатации). Сообщить об этом инженеру – программисту или руководителю работ. До устранения неисправностей компьютер не включать.
2.5 С целью уменьшения отрицательного влияния монотонности и для снижения напряженности труда целесообразно равномерное распределение нагрузки и характера деятельности - работы за пультом компьютера с другой работой.
2.6 Во время регламентированных перерывов с целью снижения нервно-эмоционального напряжения, зрительного и общего утомления целесообразно выполнять комплексы рекомендованных санитарными нормами и правилами упражнений.
2.7 Работающим с персональными компьютерами с высоким уровнем напряженности труда во время регламентированных перерывов и в конце рабочего дня, показана психологическая разгрузка в специально оборудованных помещениях.
3. Требования безопасности в аварийных ситуациях.
3.1 При возникновении аварийной ситуации на рабочем места, работающий с персональным компьютером обязан работу прекратить, отключить электроэнергию, сообщить инженеру – программисту или руководителю работ и принять меры к ликвидации создавшейся ситуации.
3.2 В случае возникновения пожара - отключить компьютер от электросети, вызвать пожарную охрану и приступить к тушению пожара имеющимися средствами пожаротушения.
3.3 При наличии травмированных - устранить воздействие повреждающих факторов, угрожающих здоровью и жизни пострадавших (освободить от действия электрического тока, погасить горящую одежду и т. д.), оказать первую помощь, вызвать скорую медицинскую помощь или врача, либо принять меры дня транспортировки пострадавшего в ближайшее лечебное учреждение, сохранить, по возможности, обстановку на месте происшествия сообщить о случившемся непосредственному руководителю.
4. Требования безопасности по окончании работы.
4.1 Отключить компьютер от электросети и убрать рабочее место
4.2 Сообщить инженеру – программисту или непосредственному руководителю о всех замеченных во время работы неполадках и неисправностях электронных устройств.
Заключение
Современный этап автоматизации управления общественным производством характерен развитием распределенной обработки экономической информации. Наиболее перспективной сферой использования концепции распределенной обработки экономической информации является автоматизация планово-управленческих функций на базе персональных ЭВМ, установленных непосредственно на рабочих местах специалистов. Эти системы получили широкое распространение в организационном управлении под названием автоматизированных рабочих (АРМ).
Автоматизированное рабочее место представляет собой рабочее место персонала автоматизированной системы управления, оборудованное средствами, обеспечивающими участие человека в реализации функций управления.
Программа «Информационная система гостиничного комплекса» была разработана, прошла тестирование и готова к эксплуатации.
Список литературы
1. Архангельский А. Я. Программирование Delphi7 - Москва, 2005;
2. Благодатских В. А. и др. Экономика, разработка и использование программного обеспечения ЭВМ - Москва, 1995;
3. Благодатских В. А. и др. Стандартизация разработки программных средств - Москва, 2003;
4. Бобровский С. И. Delphi 7 - Москва, 2005;
5. Голицина О. Л., Максимов Н. В. и др. База данных - Москва, 2003;
6. Коннолли Т. А., Бег К. В. Базы данных. Проектирование, реализация и сопровождение - Москва, 2001;
7. Океанова З. К. Основы экономической теории -Москва, 2003;
8. Орлов С. К. Технологии разработки программного обеспечения - Санкт-Петербург, 2002;
9. Полещук Н. Н. AutoCAD 2005, Санкт – Петербург, 2004;
10. Рудаков А. В. Технология разработки программных продуктов - Москва, 2005;
11. Семакин И. Г., Шестаков А. П. Основы программирования - Москва, 2001;
12. Фаронов В. В. Программирование баз данных в Delphi 7, Санкт-Петербург, 2003;
13. Фигунов В. Э. IBM PC для пользователей - Москва, 1996;
14. Якубайтис Э. А. Информационные сети и системы - Москва, 1996.
Приложение
Листинг программы «Информационная система гостиничного комплекса»
unit Unit1;
interface
uses
Windows, Messages, SysUtils, Variants, Classes, Graphics, Controls, Forms,
Dialogs, Menus, Grids, DBGrids, DB, DBTables, jpeg, ExtCtrls, ComCtrls,
StdCtrls;
type
TForm1 = class(TForm)
MainMenu1: TMainMenu;
N1: TMenuItem;
N2: TMenuItem;
N3: TMenuItem;
N4: TMenuItem;
N5: TMenuItem;
N6: TMenuItem;
N7: TMenuItem;
N8: TMenuItem;
N21: TMenuItem;
N9: TMenuItem;
N22: TMenuItem;
N10: TMenuItem;
N11: TMenuItem;
N12: TMenuItem;
N23: TMenuItem;
N31: TMenuItem;
N41: TMenuItem;
N51: TMenuItem;
N61: TMenuItem;
N71: TMenuItem;
N81: TMenuItem;
N91: TMenuItem;
N101: TMenuItem;
N111: TMenuItem;
N121: TMenuItem;
N131: TMenuItem;
N141: TMenuItem;
N151: TMenuItem;
DBGrid1: TDBGrid;
DataSource1: TDataSource;
Query1: TQuery;
StatusBar1: TStatusBar;
Label1: TLabel;
Label2: TLabel;
N13: TMenuItem;
Button1: TButton;
N14: TMenuItem;
procedure N2Click(Sender: TObject);
procedure N3Click(Sender: TObject);
procedure N4Click(Sender: TObject);
procedure N6Click(Sender: TObject);
procedure N7Click(Sender: TObject);
procedure N8Click(Sender: TObject);
procedure N21Click(Sender: TObject);
procedure N9Click(Sender: TObject);
procedure N22Click(Sender: TObject);
procedure N10Click(Sender: TObject);
procedure N12Click(Sender: TObject);
procedure N31Click(Sender: TObject);
procedure N41Click(Sender: TObject);
procedure N61Click(Sender: TObject);
procedure N81Click(Sender: TObject);
procedure N71Click(Sender: TObject);
procedure N91Click(Sender: TObject);
procedure N51Click(Sender: TObject);
procedure N101Click(Sender: TObject);
procedure N121Click(Sender: TObject);
procedure N131Click(Sender: TObject);
procedure N141Click(Sender: TObject);
procedure N151Click(Sender: TObject);
procedure N23Click(Sender: TObject);
procedure N111Click(Sender: TObject);
procedure Button1Click(Sender: TObject);
procedure N14Click(Sender: TObject);
private
{ Private declarations }
public
{ Public declarations }
end;
var
Form1: TForm1;
implementation
uses Unit11, Unit7, Unit3, Unit2, Unit4, Unit5, Unit6, Unit8, Unit9, Unit10,
Unit12, Unit13, Unit14, Unit15, Unit16, Unit17, Unit18, Unit19, Unit21,
Unit20, Unit22, Unit23, Unit24, Unit25, Unit26, Unit28, Unit29, Unit30;
{$R *.dfm}
procedure TForm1.N2Click(Sender: TObject);
begin
Form11.ShowModal;
end;
procedure TForm1.N3Click(Sender: TObject);
begin
form7.showmodal;
end;
procedure TForm1.N4Click(Sender: TObject);
begin
form3.showmodal;
end;
procedure TForm1.N6Click(Sender: TObject);
begin
form2.showmodal;
end;
procedure TForm1.N7Click(Sender: TObject);
begin
form4.showmodal;
end;
procedure TForm1.N8Click(Sender: TObject);
begin
form5.showmodal;
end;
procedure TForm1.N21Click(Sender: TObject);
begin
form6.showmodal;
end;
procedure TForm1.N9Click(Sender: TObject);
begin
form8.showmodal;
end;
procedure TForm1.N22Click(Sender: TObject);
begin
form9.showmodal;
end;
procedure TForm1.N10Click(Sender: TObject);
begin
form10.showmodal;
end;
procedure TForm1.N12Click(Sender: TObject);
begin
Button1.Visible:=true;
dbgrid1.Visible:=true;
form13.ShowModal;
end;
procedure TForm1.N31Click(Sender: TObject);
begin
dbgrid1.Visible:=true;
form24.showmodal;
Button1.Visible:=true;
end;
procedure TForm1.N41Click(Sender: TObject);
begin
dbgrid1.Visible:=true;
Form14.showmodal;
Button1.Visible:=true;
end;
procedure TForm1.N61Click(Sender: TObject);
begin
dbgrid1.Visible:=true;
form15.showmodal;
Button1.Visible:=true;
end;
procedure TForm1.N81Click(Sender: TObject);
begin
dbgrid1.Visible:=true;
form28.showmodal;
Button1.Visible:=true;
end;
procedure TForm1.N71Click(Sender: TObject);
begin
dbgrid1.Visible:=true;
form16.showmodal;
Button1.Visible:=true;
end;
procedure TForm1.N91Click(Sender: TObject);
begin
dbgrid1.Visible:=true;
form29.showmodal;
Button1.Visible:=true;
end;
procedure TForm1.N51Click(Sender: TObject);
begin
dbgrid1.Visible:=true;
form17.showmodal;
Button1.Visible:=true;
end;
procedure TForm1.N101Click(Sender: TObject);
begin
dbgrid1.Visible:=true;
form18.showmodal;
Button1.Visible:=true;
end;
procedure TForm1.N121Click(Sender: TObject);
begin
dbgrid1.Visible:=true;
form19.showmodal;
Button1.Visible:=true;
end;
procedure TForm1.N131Click(Sender: TObject);
begin
dbgrid1.Visible:=true;
form20.showmodal;
Button1.Visible:=true;
end;
procedure TForm1.N141Click(Sender: TObject);
begin
dbgrid1.Visible:=true;
form22.showmodal;
Button1.Visible:=true;
end;
procedure TForm1.N151Click(Sender: TObject);
begin
dbgrid1.Visible:=true;
form23.showmodal;
Button1.Visible:=true;
end;
procedure TForm1.N23Click(Sender: TObject);
begin
dbgrid1.Visible:=true;
form25.showmodal;
Button1.Visible:=true;
end;
procedure TForm1.N111Click(Sender: TObject);
begin
dbgrid1.Visible:=true;
form26.showmodal;
Button1.Visible:=true;
end;
procedure TForm1.Button1Click(Sender: TObject);
begin
DBGrid1.Visible:=false;
button1.Visible:=false;
Form1.Query1.SQL.Clear;
end;
procedure TForm1.N14Click(Sender: TObject);
begin
Form30.showmodal;
end;
end.
unit Unit20;
interface
uses
Windows, Messages, SysUtils, Variants, Classes, Graphics, Controls, Forms,
Dialogs, StdCtrls, DBCtrls;
type
TForm20 = class(TForm)
Label1: TLabel;
Label2: TLabel;
Button1: TButton;
Edit1: TEdit;
Edit2: TEdit;
Label3: TLabel;
Label4: TLabel;
Label5: TLabel;
ComboBox2: TComboBox;
Label6: TLabel;
Label7: TLabel;
DBComboBox1: TDBComboBox;
procedure Button1Click(Sender: TObject);
procedure FormPaint(Sender: TObject);
private
{ Private declarations }
public
{ Public declarations }
end;
var
Form20: TForm20;
implementation
uses Unit1, Unit17, Unit13, Unit2;
{$R *.dfm}
procedure TForm20.Button1Click(Sender: TObject);
begin
if (dbcombobox1.Text = '') or (edit1.Text = '') or (edit2.Text = '') then
MessageBox(Application.Handle, 'Заполните все поля', 'Ошибка', MB_OK + MB_ICONHAND) else
begin
Form1.Query1.SQL.Clear;
Form1.Query1.SQL.Add('SELECT DISTINCT Naimenovanie_gost as Наименование_гостиницы, N_klienta as Номер_клиента, FIO as ФИО_клиента, Z_s_b as Занят_Свобод_Заброн, Data_zaselenia as Дата_заселения FROM гост_комплекс, общая, клиенты, клиенты2 ');
Form1.Query1.SQL.Add('WHERE гост_комплекс.N_gost=общая.N_gost and клиенты2.N_klienta=клиенты.N_klienta and клиенты2.N_nomera=общая.N_nomera and Naimenovanie_gost='''+dbcomboBox1.Text+''' and Data_zaselenia between '''+edit1.text+''' and '''+edit2.text+''' and Z_s_b='''+combobox2.text+'''');
Form1.Query1.Open;
end;
if Form1.Query1.RecordCount = 0 then showmessage ('Данной записи не существует') else
form20.Close;
end;
procedure TForm20.FormPaint(Sender: TObject);
begin
DBCombobox1.Items.Clear;
form2.Query1.First;
while not form2.Query1.Eof do
begin
DBCombobox1.Items.Add( form2.query1.Fields.FieldByName('Naimenovanie_gost').AsString);
form2.Query1.Next;
end;
form2.Query1.First;
end;
end.