Общие требования к сосудам, работающим под давлением
ОБЩИЕ ТРЕБОВАНИЕ К СОСУДАМ, РАБОТАЮЩИМ ПОД ДАВЛЕНИЕМ
К сосудам, работающим под давлением, относятся герметично закрытые емкости, которые предназначены для осуществления химических и тепловых процессов, а также для хранения и перевозки сжатых, сжиженных газов и жидкостей.
Основные требования к устройству, монтажу, ремонту и эксплуатации сосудов, работающих под давлением, изложены в ДНАОП 0.00-1.07-94 "Правила устройства и безопасной эксплуатации сосудов, работающих под давлением". Эти правила распространяются на:
сосуды, которые работают под давлением воды с температурой выше 115оС или с другой жидкостью с температурой, которая превышает температуру кипения при давлении 0,07 МПа (0,7 кгс/см2), без учета гидростатического давления;
сосуды, которые работают под давлением пара или газа выше 0,07МПа;
баллоны, предназначенные для транспортировки и хранения сжиженных и сжатых газов под давлением выше 0,07МПа;
цистерны и бочки для транспортировки и хранения сжиженных газов, давление газов в которых, при нагревании до 50 оС, превышает давление 0,07МПа;
цистерны и сосуды для транспортировки и хранения сжиженных и сжатых газов, жидкостей и сыпучих тел, в которых давление выше 0,07МПа, открываемых периодически для их опустошения;
барокамеры.
Правила устройства и безопасной эксплуатации сосудов, работающих под давлением не распространяются на:
приборы парового и водяного отопления;
сосуды и баллоны емкостью не более 25л, у которых произведение емкости в литрах на рабочее давление (МПа) составляет не более 20л МПа;
сосуды из не металлических материалов;
сосуды, работающие под давлением воды при температуре не выше 115оС и сосуды под давлением других жидкостей при температуре не выше точки кипения и давлении 0,07МПа.
В зависимости от температуры и давления эксплуатации сосуды подразделяются на 4 группы (табл. 3.3.1).
Сосуды до пуска в эксплуатацию должны быть зарегистрированы в экспертно-технических центрах (ЭТЦ) Госнадзора. Регистрации в ЭТЦ подлежат:
сосуды, работающие под давлением, не едких и не взрывоопасных сред с температурой стенок более 200 оС и подчиняющиеся неравенству (2,3 и 4 группы)
(3.3.2)
где P – рабочее давление, МПа (кгс/см2);
V – объем, м3 (л).
Сосуды с едкими и взрывоопасными средами с температурой более 200 оС, подчиняющиеся неравенству (1 группа), баллоны вместимостью более 200л для транспортировки и хранения сжатых, сжиженных и растворенных газов.
(3.3.3)
Не подлежат регистрации в ЭТЦ:
сосуды 1й группы, которые работают при температуре не более 200 оС, в которых произведение давления в МПа (кгс/см2) на объем в м3 (л) не превышает 0,05 (500);
сосуды 2, 3 и 4 групп, работающие при указанной выше температуре, у которых произведение давления в МПа (кгс/см2) на объем в м3 (л) не превышает 1 (10000);
бочки для транспортировки сжиженных газов, баллоны вместимостью до 100л включительно, которые устанавливаются стационарно, а также предназначенные для транспортировки и хранения сжиженных, сжатых и растворенных газов;
сосуды для сохранения или транспортировки сжиженных газов, жидких и сыпучих тел, которые находятся под давлением периодически при их опорожнении;
сосуды со сжатыми и сжиженными газами, которые предназначены для обеспечения топливом двигателей транспортных средств, на которые они установлены; некоторые другие сосуды.
Таблица 3.3.1
Группы сосудов в зависимости от расчетного давления.
|
Группа сосуда |
Расчетное давление, МПа (кгс/см2) |
Температура, оС |
Характер рабочей среды |
|
1 |
Более 0,07 (0,7) |
Независимо |
Взрыво - или пожароопасная, или 1,2-го класса безопасности по ГОСТ12.1.007 |
|
2 |
До 2,5 (25) Более 2,5 (25) до 4 (40) Более 4 (40) до 5 (50) Более 5 (50) |
Ниже –70 выше 400 Ниже –70 выше 200 Ниже –70 выше 200 Независимо |
Любая, за исключением указанной для первой группы сосудов |
|
3 |
До 1,6 (16) Более 1,6 (16) до 2,5 (25) Более 2,5 (25) до 4 (40) Более 4 (40) до 5 (50) |
От –70 до –20 От 200 до 400 От –70 до 400 От –70 до 200 От –40 до 200 |
Любая, за исключением указанных для первой и второй групп сосудов |
|
4 |
До 1,6 (16) |
От –20 до 200 |
Регистрация сосудов производится по письменному заявлению владельца сосуда с предъявлением: паспорта на сосуд, удостоверения о качестве сборки, схемы включения сосуда (с указанием рабочих параметров), паспорта предохранительного клапана с указанием расчетной пропускной способности.
Разрешение на пуск в работу сосудов, подлежащих регистрации, выдается инспектором надзора после их регистрации и технического освидетельствования.
Разрешение же на пуск в работу сосудов, не подлежащих регистрации в органах надзора, выдается лицом, назначенным приказом по предприятию для осуществления надзора за ними, на основании результатов технического освидетельствования. Эти разрешения (с указанием срока следующего технического освидетельствования) записываются в паспорт и "Книгу учета и освидетельствования сосуда".
Техническое освидетельствование сосудов, подлежащих регистрации в ЭТЦ, проводят представители Госнадзора охраны труда в присутствии представителей технической службы предприятия. Сосуды, которые не подлежат регистрации в органах Госнадзора охраны труда лицом, отвечающим за их техническое и безопасное состояние на предприятии. Техническое освидетельствование включает внешний и внутренний осмотр и испытание давлением, согласно паспорту на сосуд.
При перестановке сосуда на новое место или передаче другому владельцу, а также изменении схемы его работы сосуд подлежит обязательной перерегистрации.
Для обслуживания сосудов, работающих под давлением, могут быть допущены лица не моложе 18 лет, прошедшие медицинское освидетельствование, обученные по утвержденной программе, аттестованные с выдачей удостоверения на право выполнения работ.
Аттестация персонала, который работает с сосудами под давлением вредных веществ 1, 2, 3 и 4го классов опасности по ГОСТ 12.1.007 производится комиссией с обязательным участием представителя Госнадзора охраны труда (в остальных случаях участие представителя Госнадзора охраны труда в комиссии не обязательно). Проверка знаний персонала, обслуживающего сосуды, работающие под давлением, проводится не реже 1 раза в год.
Внеочередная проверка знаний персонала проводится в следующих случаях:
при перерыве в работе более 12 месяцев;
по требованию представителя Госнадзора охраны труда при обнаружении нарушений в работе персонала или технического состояния сосуда;
при смене места работы;
при смене типа или группы сосудов, работающих под давлением;
при изменении схемы и режима работы сосуда под давлением.
Учитывая высокую потенциальную опасность сосудов, работающих под давлением, на рабочем месте должна быть вывешена инструкция безопасной работы, порядок допуска и включения. Запрещено находиться на рабочем месте с сосудами под давлением посторонним лицам.
Автоклавы применяют в строительной индустрии для тепловой обработки силикатных изделий, пено- и газобетона, силикатного кирпича, пропитки древесины и т.д.
Аварии с автоклавами могут произойти из-за превышения давления пара сверх допустимого, открытия крышек при наличии давления более 0,01МПа (0,1кгс/см2) в автоклаве, впуска пара при неполном закрытии крышек, нахождении обслуживающего персонала внутри автоклава.
Автоклавы для обеспечения безопасной работы снабжаются, также как и сосуды, работающие под давление, предохранительной и запорной арматурой, контрольно-измерительными приборами.
Безаварийная работа автоклавов достигается качеством изготовления, режимом эксплуатации, своевременным проведением технического освидетельствования и профилактических ремонтов в установленные сроки.
Во избежание аварий, автоклавы оборудуются системой блокировок, исключающей впуск пара в автоклав с не полностью закрытыми крышками, а также открывание крышек при наличии давления в автоклавах.
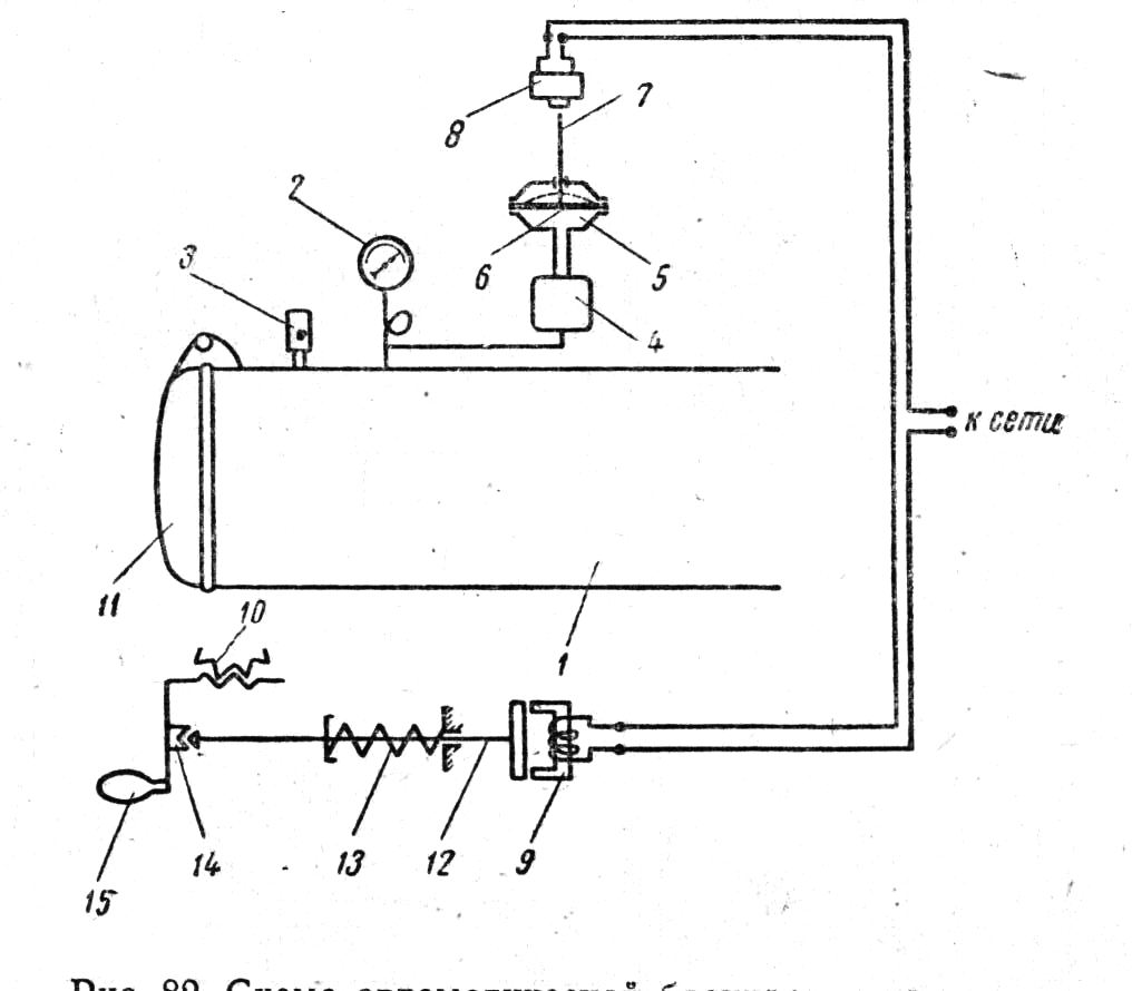
На рис.3.3.8 приведена схема автоматической блокировки крышки автоклава при наличии в нем давления.
Из автоклав (рис3.3.8) через конденсационный сосуд 8 пар поступает в реле давления 7 и, прогибая резиновую мембрану 5, приводит в движение шток 6. Последний упирается в выключатель 4 и разрывает электрическую цепь электромагнитного замка 9. В этом случае электромагнитный замок отпускает сердечник 10, который под действием пружины 11 замыкает фиксатор 12. Последний не позволяет вращать ручку 13 червячной лебёдки 14 и тем самым препятствует повороту крышки 15 автоклава в затворе.
Если давление пара в автоклаве снято, то электрическая сеть замка 9 замыкается переключателем 4, сердечник 10 втягивается в электромагнит и размыкает фиксатор 12. Этим обеспечивает возможность вращения ручки 13 для открывания крышки автоклава.

Рис.3.3.8 Автоматическая блокировка крышки автоклава.
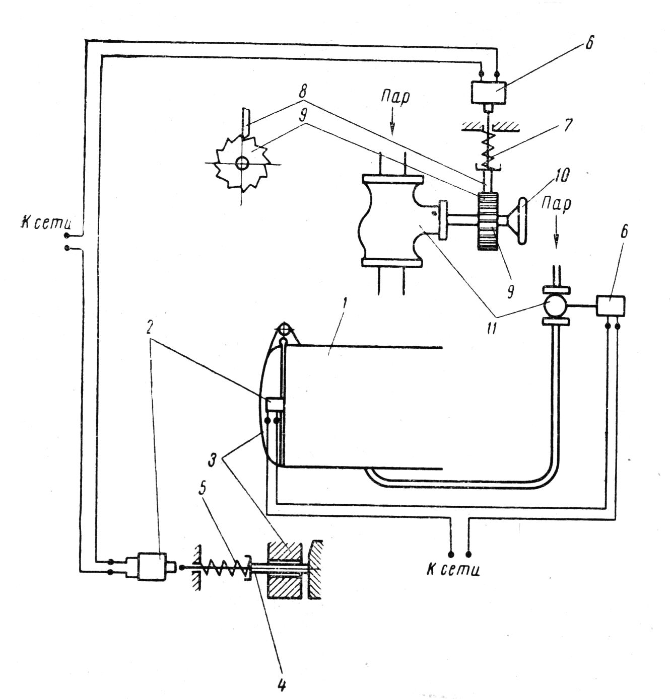
Схема автоматической блокировки подачи пара в автоклав (рис.3.3.9) исключает возможность впуска пара в автоклав, если крышки автоклава не закрыты. На автоклаве 1 помещен конечный выключатель 2, который срабатывает в том случае если крышка 3 плотно закрыта и шток 4, преодолев усилие пружины 5, воздействует на этот выключатель. При замыкании цепи электромагнит 6, сжимая пружину 7, поднимает стопор 8 и освободит храповое колесо 9. После этого можно вращать маховик 10, соединенный с храповым колесом, для впуска пара в автоклав через вентиль 11.
При эксплуатации автоклавов применяют систему, при которой рабочий-пропарщик во время пропарки изделий запирает в своём шкафу жетон с номером автоклава и номером его крышки. Окончив пропарку и сняв давление в автоклаве, пропарщик передаёт жетон загрузчику-выгрузчику, который имеет право открывать и закрывать крышку автоклава. Закончив работу, лицо, обсуживающее автоклав, закрывает его крышку, а жетон под расписку возвращает пропарщику. Жетонная система позволяет избежать нарушения правил безопасного обслуживания автоклава и предотвратить несчастные случаи.

Рис.3.3.9 Схема автоматического впуска пара в автоклав
В значительной степени безопасность жизнедеятельности, как в сфере производства, так и в бытовой сфере, зависит от надежности работы трубопроводов, служащих для транспортировки различных газов и жидкостей, воды, пара, сжатого воздуха. Категория трубопроводов определяется по рабочим параметрам транспортируемых веществ, условиями окружающей среды. Проектирование трубопроводов, прокладка и монтаж должны выполняться в соответствии со строительными правилами, согласованными с Госнадзором и "Правилами устройства и безопасной эксплуатации трубопроводов", "Правила устройства и безопасной эксплуатации сосудов, работающих под давлением". В зависимости от транспортировки вида рабочего тела трубопроводы должны иметь определенную предупредительную окраску.
Определено 10 групп веществ и их соответствующая окраска:
Вода (I группа) – зеленый, пар (II группа) – красный, воздух (III группа) – синий, горючие и негорючие газы (IV и V группа) – желтый, кислота (VI группа) – оранжевый, щелочи (VII группа) – фиолетовый, горючие и негорючие жидкости (VIII и IX группы) – коричневый, другие вещества (нулевая группа) – серый.
В производственных условиях для выделения опасности на трубопроводах наносят предупреждающие сигнальные цветные разметки (чаще в виде колец): для легковоспламеняющихся, взрыво- и пожароопасных веществ (токсичных, радиоактивных, отравляющих) – желтые, для относительно безопасных и нейтральных веществ – зеленые. Число предупредительных колец указывает на степень опасности веществ. Как дополнительная мера на опасных участках могут быть установлены с учетом опасности веществ предупредительные щиты, знаки, выполнено защитное ограждение. Безопасность эксплуатации трубопроводов достигается их качественной прокладкой и монтажом, системой контроля их состояния, установкой специальных компенсационных устройств, предохранительных устройств и запорной арматуры.
Периодически трубопроводы подлежат внешнему осмотру, особое внимание обращается на все соединения, в том числе сварные, и выявление дефектов. Осмотр и оценка сварных швов должны производиться при приемке трубопроводов в эксплуатацию в соответствии с требованиями на изготовление трубопроводов и инструкцией по сварке. При этом в сварочном соединении выявляются возможные внутренние дефекты: трещины, непровар, поры, шлаковые включения и т.д.
Трубопроводы 1-й категории с условным проходом более 70 мм, а также трубопроводы 1-й и 2-й категории с условным проходом более 100мм должны быть до пуска зарегистрированы в органах Госнадзора. Другие трубопроводы подлежат регистрации на предприятии. Трубопроводы, составляющие разветвленную часть аппаратов, принимаются в эксплуатацию в соответствии с "Правилами устройства и безопасной эксплуатации сосудов, работающих под давлением". Техническое освидетельствование трубопроводов должно проводиться в следующие сроки:
наружный осмотр открытых трубопроводов, находящихся под рабочим давлением – не реже одного раза в год;
гидравлические испытания трубопроводов на прочность и плотность производятся одновременно давлением 1,25 рабочего, но не менее 0,2МПа перед пуском в эксплуатацию, после ремонта, а также после нахождения в консервации более 1 года (выдержка давления в течение 5 мин). После этого обнаруживается потеря давления, разрывы, течь, запотевания, микротрещины и т.д.