Проектування офісу бюро послуг
Міністерство освіти і науки України
Українська інженерно-педагогічна академія
Гірничий факультет
Кафедра інформаційних технологій
ПОЯСНЮВАЛЬНА ЗАПИСКА
до курсової роботи
з дисципліни: «Основи автоматизованого проектування складних систем»
на тему:
«АВТОМАТИЗАЦІЯ ГРАФІЧНИХ ТА РОЗРАХУНКОВИХ ЗАДАЧ ПРОЕКТУВАННЯ»
Виконавст. гр. ДГ-К7-1
Бабенко К.
Керівникас. кафедри ІТ
Ушакова І.В.
Стаханов 2010
ЗАВДАННЯ
1. Тема проекту “Автоматизація графічних та розрахункових задач проектування”
2. Термін здачі студентом закінченого проекту до 15 травня 2010 р.
3. Вихідні дані до проекту Загальні вимоги до графічного та математичного моделювання. Завдання згідно варіанта з проектування офісу, який обладнаний комп’ютерами та програмним забезпеченням відповідно до призначення офісу. Розробці підлягають план та об’ємне зображення офісу, меблювання та розташування обладнання, електропостачання та ін. Завдання згідно варіанта з розвязання математичних задач. Середовища проектування: 3D Home, Excel, MathCAD, Power Point та інші, за узгодженням з керівником проекту.
4. Зміст розрахунково-пояснювальної записки (перелік питань, що їх належить розробити) Вступ з обов’язковим посиланням на літературу, в якій вказується актуальність і ефективність використання САПР та математичного моделювання. Умови завдань. Графічне моделювання. Опис діяльності офісу та його програмне забезпечення, співробітники. Альтернативне комп’ютерне обладнання. Електропостачання. Математичне моделювання. Висновки з обов’язковим переліком кількісних даних, що характеризують результати розробки. Презентація проекту. Використані джерела. Додатки.
5. Перелік графічного матеріалу (з точним зазначенням обов’язкових креслень) Екранні копії результатів графічного та математичного моделювання. Не менше п’яти сторінок формату А4 з планами та обємними зображеннями офісу та розмірами.
6. Дата видачі завдання 4 лютого 2010 р.
КАЛЕНДАРНИЙ ПЛАН
|
№ з/п |
Найменування етапів курсового проектування |
Термін виконання |
Примітки |
|
1. |
Початкові дані проекту. Вступ |
до 15.02 |
|
|
2. |
Підбір устаткування офісу на основі аналізу альтернатив. Опис діяльності офісу. Співробітники офісу. Визначення плану офісу. |
до 15.03 |
|
|
3. |
Проектування планів та об’ємних зображень офісу в 3D Home |
до 7.04 |
|
|
4. |
Проектування електропостачання офісу. Аналіз результатів проектування офісу. Внесення в проект офісу, при необхідності, змін та доповнень. |
до 7.04 |
|
|
5. |
Математичне моделювання. Розвязання задач та інтерпретація результатів. Перевірка результатів. Розробка презентації проекту. |
до 7.05 |
|
|
6. |
Оформлення тексту пояснювальної записки: вступ, основний текст, висновки, список джерел та додатки. Представлення проекту на перевірку керівнику. |
до 7.05 |
|
|
7. |
Підготовка роботи до захисту. |
до 15.05 |
|
|
8. |
Захист курсової роботи |
15-25.05 |
РЕФЕРАТ
Курсовий проект: 46 с., 51 рис., 7 табл., 1 додаток, 12 джерел.
Об'єктом проектування є моделювання офісу у системі автоматизованого проектування 3D Home Architect 8.
Предметом проектування є проектування офісу за допомогою системи 3D Home Architect 8, його зовнішнього та внутрішнього виду, устаткування, схеми електропостачання та інше.
Метою проектування є підготовка майбутніх інженерів-педагогів в галузі комп'ютерних технологій для моделювання об'єктів у різних системах автоматизованого проектування.
Методи дослідження. Для вирішення поставленої мети застосовані:
загальнонаукові методи: теоретичного пошуку, визначення теоретичних і прикладних аспектів проектування;
емпіричні методи.
Практична значущість проектування: міститься у наданні майбутнім інженерам-педагогам знань у галузі комп'ютерних технологій, необхідних для моделювання об'єктів у різних системах автоматизованого проектування.
СИСТМЕМА АВТОМАТИЗОВАННОГО ПРОЕКТУВАННЯ, ГРАФІЧНЕ МОДЕЛЮВАННЯ, МАТЕМАТИЧНЕ МОДЕЛЮВАННЯ, ОПТИМІЗАЦІЯ, ОПТИМАЛЬНІСТЬ.
ЗМІСТ
ВСТУП
1. ГРАФІЧНЕ МОДЕЛЮВАННЯ ОФІСУ БЮРО ПОСЛУГ
1.1 Початкові дані для проектування офісу
1.2 Опис призначення офісу та його програмне забезпечення
1.3 Співробітники офісу
1.4 Альтернативне комп'ютерне устаткування
1.5 План офісу та його об'ємне зображення
1.5.1 План офісу з указівкою розмірів
1.5.2 Об'ємне проектування будинку
1.5.3 Інтер'єр усіх кімнат
1.5.4Територія проектованого будинку
1.6 Електропостачання офісу
1.6.1 Місце розміщення в офісі електротехнічної арматури
1.6.2 Схема електропостачання
1.6.3 Розрахунок кабельної продукції для електропостачання
1.6.4 Розрахунок струму в окремих частинах схеми електропостачання
1.6.5 Розрахунок споживаної електроенергії в середньому за день і за місяць. Оплата електроенергії
1.7 Висновки щодо проекту офісу
2. МАТЕМАТИЧНЕ МОДЕЛЮВАННЯ
2.1 Завдання 1.1
2.2 Завдання 1.2
2.3 Завдання 2.1
1.4 Завдання 2.2
ВИСНОВКИ
ПЕРЕЛІК ВИКОРИСТАНИХ ДЖЕРЕЛ
ДОДАТОК
ВСТУП
Проведений аналіз застосовуваних у даний час програмних засобів показав, що їхня робота заснована на використанні «комп'ютерних аналогів» управління інформаційними моделями, які застосовуються при традиційному (неавтоматизованому) проектуванні.
Не дивлячись на велику кількість вирішуваних за допомогою комп’ютера задач, принцип його застосування в кожному випадку один й той самий - інформація, яка поступає в комп’ютер. Обробляється з ціллю отримання потрібних результатів [1].
Використання інформаційних технологій дозволяє забезпечити супровід процесу прийняття рішень на всіх стадіях розробки проекту інформаційною підтримкою. Реалізація такої підтримки вимагає організації управління джерелами інформації, вибору найкращих характеристик інформаційної моделі та ефективного апарату управління процесом проектування.
Під автоматизацією проектування слід розуміти такий спосіб проектування, при якому всі проектні операції та процедури або їх частина здійснюється при взаємодії людини з ЕОМ.
Актуальність даного проекту полягає у підготовці спеціалістів в галузі проектування та побудови офісів та споруд, які відповідають потребам замовника та не шкодять іншим побудовам.
1. ГРАФІЧНЕ МОДЕЛЮВАННЯ ОФІСУ БЮРО ПОСЛУГ
Початкові дані для проектування офісу
-
Діяльність офісу
Бюро послуг
Кількість комп'ютерів
2
Кількість принтерів
2
Блоки безперебійного живлення
2
Кількість сканерів
1
Модем
+
Телевізор (підключення до ЕОМ)
+
Кондиціонер
+
Музичний центр
-
Осцилограф (підключення до ЕОМ)
+
Корисна площа офісу (кв.м)
25,5
Завдання 1.1
2
Завдання 1.2
29
Завдання 2.1 (А,Б, варіант) Ємність для поливу газону
16
Завдання 2.2
6
Опис призначення офісу та його програмне забезпечення
Офіс, що проектується, є бюро послуг. У ньому передбачається чотири працівники: секретар, менеджер та два консультанти.
Бюро послуг дозволяє забезпечувати комунікацію між замовниками і споживачами різноманітних послуг.
Послуги, які запитуються і надаються, поділяються на:
- благодійні послуги — для тих, хто відчуває нестачу життєво необхідних умов (соціальна допомога, лікування, підтримка мінімального життєзабезпечення);
- платні, виконання яких здійснюється на договірній основі між замовниками і виконавцями (організаціями, акредитованими тощо).
У даному офісу буде використовуватись оперативна система Windows Small Business Server 2003 R2 Premium Edition. Windows Small Business Server 2003 R2 Premium Edition являє собою повне серверне рішення, що включає служби повідомлень і спільної роботи, доступ до інтернету із забезпеченням підвищеної безпеки, захищене зберігання даних, надійну друк і факс, можливість запускати робочі програми. Комплексні засоби адміністрування допомагають постачальникам технологій забезпечувати ефективність і продуктивність роботи мереж [2].
Робота з документацією здійснюється за допомогою пакету офісних програм MS Office 2007. Microsoft Office 2007 — це популярний офісний пакет від Microsoft. Microsoft Office 2007 містить додатки, що призначені для обробки та надання в наочному вигляді різної інформації. У Microsoft Office 2007 входять: Word, Excel, PowerPoint, Outlook, Communicator, Publisher, InfoPath, Groove, OneNote та інші компоненти. За допомогою програм пакету Microsoft Office 2007 люди, розділені роботою в різних організаціях і місцем проживання, можуть ефективно співпрацювати, обмінюватися інформацією та розробляти спільні проекти. Зокрема, система управління базами даних Microsoft Access є однією з найпопулярніших програм у сімействі настільних СУБД. Всі версії Access мають у своєму арсеналі засоби, що значно спрощують введення і обробку даних, пошук даних та надання інформації у вигляді таблиць, графіків і звітів.
Для сканування та розпізнавання документів і зображень використовується ABBYY FineReader 8.0 Professional Edition. ABBYY FineReader — це система оптичного розпізнавання тексту. Дозволяє швидко і точно перекладати паперові документи, PDF-файли і цифрові фотографії документів в редагований формат. Зберігає зовнішній вигляд навіть складно оформлених документів, дає можливість контролювати процес розпізнавання, оптимально налаштовуючи програму «під себе». Підтримує 179 мов розпізнавання, прямий експорт в Microsoft Word, Excel, Outlook, PowerPoint, збереження у форматах PDF, HTML і LIT. Бонус при реєстрації — додаток для розпізнавання скріншотів. ABBYY FineReader 8.0 Professional Edition незамінний для тих, хто часто розпізнає документи. Дана версія буде корисна як вдома, так і в офісі невеликої компанії.
Для виходу в мережу Інтернет використовується Mozilla Firefox. Це швидкий і надійний, легкий в роботі і добре захищений безкоштовний браузер. Одна з основних переваг браузера Mozilla Firefox — гнучкість і розширюваність. Простий і лаконічний, але в той же час зручний інтерфейс дозволяє освоїти програму за декілька хвилин.
1.3 Співробітники офісу
Функції секретаря полягають у роботі та попередньої консультації клієнтів: надання рекламної інформації, запис на прийом та ін. Секретар виконує супроводження баз даних.
Функції менеджера — супроводження роботи офісу.
Функції консультантів — надання детальної інформації про послуги та про ціни на ці послуги, укладення договорів та відстеження виконання його умов.
Час роботи офісу: з 9-00 до 18-00. Вихідний — субота та воскресіння.
1.4 Альтернативне комп'ютерне устаткування
Особливістю проектування є здійснення оптимального вибору з декількох варіантів, відповідно до критеріїв оптимальності. З цієї причини було зроблено два варіанти комп'ютерного устаткування.
Склад комп'ютерного обладнання розроблявся виходячи з того, що було задано: 2 комп'ютери, 2 принтера, 2 блоки безперебійного живлення, 1 сканер, модем, телевізор, кондиціонер і муз. центр.
Таблиця 1.1 – Оснащення (1 варіант)
|
Комплектуючі |
Характеристики |
Ціна, грн |
|
Материнська плата |
ASUS K8V-MX; Socket 754; VIA K8M800+VT8237R; 2DDR; 3xP, 1xA; Video; Sound-6ch; Lan; 2xSATA; 2xATA133 |
266.56 |
|
Процесор |
Athlon 64 x2 5200+ AM2 box,ADA5200CSBOX |
623.15 |
|
Оперативна пам'ять |
2 Gb DDR2 SDRAM PC5400 GOODRAM |
198.28 |
|
HDD |
1000.0 Gb; WESTERN DIGITAL; WD.G1NC10000My Book World Edition |
1863.79 |
|
FDD |
Дисковод 3,5" Mitsumi 1,44Mb,black |
31.16 |
|
Оптичний привід |
DVD+RW/-RW & CDRW NEC ND-7173S Silver S-ATA (OEM) |
181.28 |
|
Корпус |
DELUX DLC-SF473 silver/black; Midi Tower; ATX; 440W P4, 20+4 pin; 5.25"x3, 3.5"x1e+6i; ATX w/USB |
278.36 |
|
Клавіатура |
Logitech Internet 350,USB,OEM |
25.96 |
|
Миша |
A4TECH OP-3D-1 Red; 2x button; optical; PS/2; (RET) |
28.99 |
|
Акустика |
Genius SP-I201U вихід на наушники, чорний лак, USB |
111.24 |
|
Монітор |
20" SAMSUNG SM 2032BW; Black glossy; 16:10; 2 мс; 1680x1050; 300 кд/м2; у/о 170; 1000:1 (DC 3000:1); |
1535.73 |
|
Разом |
5144,5 |
Всього за 2 комп’ютера: 15433,5грн
Таблиця 1.2 – Додаткове оснащення (1 варіант)
|
Устаткування |
Характеристики |
Ціна, грн |
|
Модем |
Факс-модем D-Link DFM-562IS(зовнішній, PCI, до 56KB/s(V.90, k56flex),факс до 14.4KB/s,G3,голосовий, Conexant HSFi CX11252) |
120 |
|
Джерело безперебійного харчування |
APC Back UPS ES 525 (BE525-RS)(525 VA / 300W) (AVR, Диап.раб.напряж.: 160-280V(47/53Гц);розетки Shuko: 3(живлення від батареї) и 1 (фільтр), USB порт, с кабелем, зах. Комун. устаткування; в комплекті ПО, підзарядка 3-5 годин) |
321.2 |
|
Принтер |
Canon LBP-2900; A4; GDI; (2400) 600x600 dpi; 12 ppm; 2 Mb; USB 2.0; WinPrint; (cart.703) |
685.47 |
|
Сканер |
Canon CanoScan LiDe 25 |
351.23 |
|
Телевізор |
Телевізор LG |
1250 |
|
Осцилограф |
LG |
960 |
|
Разом |
3687,9 |
Загальна вартість обладнання: 20158,1грн
Таблиця 1.3 – Оснащення (2 варіант)
|
Комплектуючі |
Характеристики |
Ціна, грн |
|
Материнська плата |
ASUS K8V-MX; Socket 754; VIA K8M800+VT8237R; 2DDR; 3xP, 1xA; Video; Sound-6ch; Lan; 2xSATA; 2xATA133 |
390 |
|
Процесор |
Athlon 64 3000+ Trey Socket-939 |
499 |
|
Оперативна пам'ять |
DDR 512 Mb DDR 400 PC3200 BRAND HYNIX |
200 |
|
HDD |
1000.0 Gb; WESTERN DIGITAL; WD.G1NC10000My Book World Edition |
956 |
|
FDD |
Дисковод 3,5" Mitsumi 1,44Mb,black |
65 |
|
Оптичний привід |
DVD+RW/-RW & CDRW NEC ND-7173S Silver S-ATA (OEM) |
350 |
|
Відео карта |
125 Mb GeForce 9500GT; HDCP+DVI; Palit |
560 |
|
Вентилятори |
COOLER GLACIALTECHIGLOO 7520 LIGHT/EB AMD |
120 |
|
Шлейф |
SATA |
20 |
|
Корпус |
DELUX DLC-SF473 silver/black; Midi Tower; ATX; 440W P4, 20+4 pin; 5.25"x3, 3.5"x1e+6i; ATX w/USB |
500 |
|
Клавіатура |
Logitech Internet 350,USB,OEM |
110 |
|
Миша |
A4TECH OP-3D-1 Red; 2x button; optical; PS/2; (RET) |
95 |
|
Акустика |
Genius SP-I201U вихід на наушники, чорний лак, USB |
200 |
|
Монітор |
19" SAMSUNG SM 2032BW; Black glossy; 16:10; 2 мс; 1680x1050; 300 кд/м2; у/о 170; 1000:1 (DC 3000:1); |
1699 |
|
Коврік |
POD MISHKU |
15 |
|
Разом |
5779 |
Всього за 2 комп’ютера: 17337 грн
Таблиця 1.4 – Додаткове оснащення (2 варіант)
|
Устаткування |
Характеристики |
Ціна, грн |
|
Модем |
D-Link DSL-2540U/RU ADSL2+Ethernet 4 port switch (w/splitter) |
390 |
|
Джерело безперебійного харчування |
APC Back UPS ES 525 (BE525-RS)(525 VA / 300W) (AVR, Диап.раб.напряж.: 160-280V(47/53Гц);розетки Shuko: 3(живлення від батареї) и 1 (фільтр), USB порт, с кабелем, зах. Комун. устаткування; в комплекті ПО, підзарядка 3-5 годин) |
400 |
|
Принтер |
XEROX Phaser 3117; A4; 600 dpi ; 16 ppm; 8 Mb; USB 1.1; GDI; (картр.3000(1000 ст.) стр.; мес. ресурс |
550 |
|
Сканер |
Canon CanoScan LiDe 25 |
500 |
|
Телевізор |
Samsung |
1899 |
|
Осцилограф |
LG |
1250 |
|
Разом |
6039 |
Загальна вартість обладнання: 23376 грн
Для даної установи кращий варіант 1, тому що його ціна порівняно з якістю недорога та відповідає потребам замовника.
1.5 План офісу та його об'ємне зображення
План офісу розроблявся виходячи з кількості співробітників, заданого встаткування (2 комп'ютери, 2 принтера, 2 блоки безперебійного живлення, 1 сканер, модем, телевізор, кондиціонер і муз. центр) та «доступної» корисної площі. На плані показано: меблі, комп'ютери, електротехнічні арматури (світильники, вимикачі, розетки), вікна й двері.
1.5.1 План офісу з указівкою розмірів


Рисунок 1.1 – Плани офісу А (ліворуч) та Б (праворуч)

Рисунок 1.2 – План офісу з інтер’єром
Для подальшого проектування обираємо перший план (А), тому що він більш доцільний з точки зору простору кімнат.
1.5.2 Об'ємне проектування будинку

Рисунок 1.3 – Об'ємне проектування будинку
1.5.3 Інтер'єр усіх кімнат

Рисунок 1.4 – Приймальня


Рисунок 1.5 – Кімнати консультантів

Рисунок 1.6 – Кабінет менеджера

Рисунок 1.7 – Туалет
1.5.4 Територія проектованого будинку

Рисунок 1.8 – Загальний вид території

Рисунок 1.9 – Частина території
1.6 Електропостачання офісу
1.6.1 Місце розміщення в офісі електротехнічної арматури

Рисунок 1.10 – Місце розміщення в офісі електротехнічної арматури
1. Розподільчий електрощит
2. З'єднувальні коробки
3. Розетки
4. Вимикачі
5. Лампи
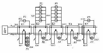
1.6.2 Схема електропостачання

Рисунок 1.14 – Схема електропостачання
Пояснення:
К1 - Коробка 1
К2 - Коробка 2
К3 - Коробка 3
К4 - Коробка 4
К5 - Коробка 5
Л1 - Люстри 1 в приймальні, відноситься до коробки 1
Л2, Л3 - Люстри 2 та 3 у кімнаті консультантів, відноситься до коробки 2 та 3 відповідно
Л4 - Люстра 4 в кабінеті менеджера, відноситься до коробки 4
Л5 - Люстра 5 у туалеті, відноситься до коробки 5
Р1 - Розетка 1 у приймальні, до неї підключається підручне електор оснащення (100 Вт)
Р2, Р3 - Розетка 2 та 3 у кімнаті консультантів, до них підключається комп'ютер з усім апаратним забезпеченням та принтери (2х825 Вт)
Р4 - Розетка 4 у кабінеті менеджера, до неї підключається телефон (30 Вт)
1.6.3 Розрахунок кабельної продукції для електропостачання
Для того щоб розрахувати кабельну продукцію, необхідно скористатися наступними формулами:
1. Визначення струму в кабелі
I (A) = P (Вт) / U (B)
2. Перший закон Кірхгофа
I = I1 + I2 + I3…In
3. Площа поперечного переріза кабелю
S = I / δ
Матеріал — алюміній.
Таблиця 1.5 – Елементи електроустаткування
|
Характеристика кабелю |
|||||
|
Элемент |
№ кабеля |
Длина (м) |
Струм (А) |
Сечение (мм²) |
Мощность (Вт) |
|
Щит |
1 |
0,1 |
11,95455 |
4,781818 |
2630 |
|
Коробка 1 |
2 |
2,5 |
11,95455 |
4,781818 |
2630 |
|
Выключатель 1 |
3 |
3,8 |
1,818182 |
0,727273 |
400 |
|
Лампа 1 |
4 |
4 |
1,818182 |
0,727273 |
400 |
|
Розетка 1 |
5 |
3,2 |
0,454545 |
0,181818 |
100 |
|
Кробка 2 |
6 |
1,2 |
9,681818 |
3,872727 |
2130 |
|
Выключатель 2 |
7 |
2,6 |
0,363636 |
0,145455 |
80 |
|
Лампа 2 |
8 |
2 |
0,363636 |
0,145455 |
80 |
|
Розетка 2 |
9 |
3 |
3,75 |
1,5 |
825 |
|
Коробка 3 |
10 |
4,2 |
5,568182 |
2,227273 |
1225 |
|
Выключатель 3 |
11 |
2 |
0,363636 |
0,145455 |
80 |
|
Розетка 1 |
12 |
2,8 |
3,75 |
1,5 |
825 |
|
Лампа 3 |
13 |
0,5 |
0,363636 |
0,145455 |
80 |
|
Коробка 4 |
14 |
3,7 |
1,454545 |
0,581818 |
320 |
|
Лампа 4 |
15 |
0,5 |
1,090909 |
0,436364 |
240 |
|
Выключатель 4 |
16 |
2,5 |
1,090909 |
0,436364 |
240 |
|
Коробка 5 |
17 |
3,6 |
0,363636 |
0,145455 |
80 |
|
Выключатель 5 |
18 |
0,3 |
0,363636 |
0,145455 |
80 |
|
Лампа 5 |
19 |
1,8 |
0,363636 |
0,145455 |
80 |
|
Итого |
44,3 |
1.6.4 Розрахунок струму в окремих частинах схеми електропостачання
Таблиця 1.6 – Розрахунок струму в окремих частинах схеми електропостачання
|
Элемент |
№ кабеля |
Струм (А) |
Мощность (Вт) |
|
Щит |
1 |
11,95455 |
2630 |
|
Коробка 1 |
2 |
11,95455 |
2630 |
|
Выключатель 1 |
3 |
1,818182 |
400 |
|
Лампа 1 |
4 |
1,818182 |
400 |
|
Розетка 1 |
5 |
0,454545 |
100 |
|
Кробка 2 |
6 |
9,681818 |
2130 |
|
Выключатель 2 |
7 |
0,363636 |
80 |
|
Лампа 2 |
8 |
0,363636 |
80 |
|
Розетка 2 |
9 |
3,75 |
825 |
|
Коробка 3 |
10 |
5,568182 |
1225 |
|
Выключатель 3 |
11 |
0,363636 |
80 |
|
Розетка 1 |
12 |
3,75 |
825 |
|
Лампа 3 |
13 |
0,363636 |
80 |
|
Коробка 4 |
14 |
1,454545 |
320 |
|
Лампа 4 |
15 |
1,090909 |
240 |
|
Выключатель 4 |
16 |
1,090909 |
240 |
|
Коробка 5 |
17 |
0,363636 |
80 |
|
Выключатель 5 |
18 |
0,363636 |
80 |
|
Лампа 5 |
19 |
0,363636 |
80 |
1.6.5 Розрахунок споживаної електроенергії в середньому за день і за місяць. Оплата електроенергії
Виходячи з перерахованих вище споживачів, розрахуємо добове споживання електроенергії в офісі.
Таблиця 1.7 – Витрата електроенергії
|
Потребитель |
Потребляемая мощность (Вт) |
|||||
|
1 |
2 |
3 |
4 |
5 |
6 |
|
|
7 |
8 |
9 |
10 |
11 |
12 |
|
|
13 |
14 |
15 |
16 |
17 |
18 |
|
|
19 |
20 |
21 |
22 |
23 |
24 |
|
|
Освещение |
0 |
0 |
0 |
0 |
0 |
0 |
|
0 |
0 |
2630 |
2630 |
2630 |
2630 |
|
|
2630 |
2630 |
2630 |
2630 |
2630 |
2630 |
|
|
0 |
0 |
0 |
0 |
0 |
0 |
|
|
ПК 1,2 |
0 |
0 |
0 |
0 |
0 |
0 |
|
0 |
0 |
800 |
800 |
800 |
800 |
|
|
800 |
800 |
800 |
800 |
800 |
800 |
|
|
0 |
0 |
0 |
0 |
0 |
0 |
|
|
Принтер 1,2 |
0 |
0 |
0 |
0 |
0 |
0 |
|
0 |
0 |
60 |
60 |
60 |
60 |
|
|
60 |
60 |
60 |
60 |
60 |
60 |
|
|
0 |
0 |
0 |
0 |
0 |
0 |
|
|
Сканер |
0 |
0 |
0 |
0 |
0 |
0 |
|
0 |
0 |
40 |
40 |
40 |
40 |
|
|
40 |
40 |
40 |
40 |
40 |
40 |
|
|
0 |
0 |
0 |
0 |
0 |
0 |
|
|
Телевизор |
0 |
0 |
0 |
0 |
0 |
0 |
|
0 |
0 |
300 |
300 |
300 |
300 |
|
|
300 |
300 |
300 |
300 |
300 |
300 |
|
|
0 |
0 |
0 |
0 |
0 |
0 |
|
|
Кондиционер |
0 |
0 |
0 |
0 |
0 |
0 |
|
0 |
0 |
800 |
800 |
800 |
800 |
|
|
800 |
800 |
800 |
800 |
800 |
800 |
|
|
0 |
0 |
0 |
0 |
0 |
0 |
|
|
Осцилограф |
0 |
0 |
0 |
0 |
0 |
0 |
|
0 |
0 |
30 |
30 |
30 |
30 |
|
|
30 |
30 |
30 |
30 |
30 |
30 |
|
|
0 |
0 |
0 |
0 |
0 |
0 |
|
|
Суммарная Р |
0 |
0 |
0 |
0 |
0 |
0 |
|
0 |
0 |
2030 |
2030 |
2030 |
2030 |
|
|
2030 |
2030 |
4660 |
4660 |
4660 |
4660 |
|
|
0 |
0 |
0 |
0 |
0 |
0 |
|
|
Ср-е зн-е потр-й Р |
1284,167 |
|||||
|
Потр-е за сутки |
30,82 |
|||||
|
Суточные затраты |
4,80792 |
|||||
|
За месяц |
105,7742 |
Споживання електроенергії за добу:
W = P>cp>*t/1000 = 30,82 кВт*ч
Добові витрати: W*0,156 = 4,80 грн., де 0,156 – плата за 1 кВт*ч
Витрати за місяць = добові витрати *22=105,77 грн., де 22 – це кількість робочих днів за місяць.
На рисунку 1.15 представлений графік споживання електроенергії офісом.

Рисунок 1.15 – Графік споживання електроенергії
Як видно з гістограми, максимальне споживання електроенергії з 15 до 18 годин — у цей час працює все устаткування й увімкнено усе світло.
1.7 Висновки щодо проекту офісу
У даному розділі був змодельований офіс, діяльність якого — туризм. Офіс займає 4 кімнати: приймальна, кабінет менеджера та кімната консультанта.
Для офісу було підібрано відповідне устаткування: два комп'ютери, два принтери, сканер, музичний центр, два блоки безперебійного живлення й телевізор. Загальна сума обладнання склала 20158,1 грн.
Також було розраховане енергоспоживання офісу й розроблена схема електропроводки. За результатами розрахунків на електропроводку офісу буде потрібно 25,5 метрів кабелю. Добове споживання електроенергії — 30,82 квт*ч, що буде коштувати 4,80 грн у добу або 105,77 грн на місяць.
2. МАТЕМАТИЧНЕ МОДЕЛЮВАННЯ
2.1 Завдання 1.1
Варіант 2
Модель об'єкта представлена системою лінійних рівнянь:
Визначити невідомі змінні(Х>і>)
1 Використовуючи функцію Find;
2. матричним способом і використовуючи функцію lsolve. Зрівняти результати.
Система лінійних рівнянь

Рішення засобами MS Excel
Для рішення рівнянь необхідно таблицю з вихідними даними та розрахувати по формулам.

Рисунок 2.1 – Система рівнянь в MS Excel
Правильність рішення системи рівняння можна простежити, якщо включити режим відображення формул.

Рисунок 2.2 - Дані в режимі відображення формул

Рисунок 2.3 - Вікно пошуку рішень
При натисканні клавіші "Виконати" на екрані з'являється вікно «Результати пошуку рішення»

Рисунок 2.4 - Результат рішення та перевірка
Результат: х1=0, х2=-1; хЗ=2; х4=1
Рішення рівнянь за допомогою MathCAD
Рішення даної системи рівняння можна знайти за допомогою розв'язуваного блоку Given…Find.

Рисунок 2.5. Рішення рівнянь в MathCAD
Результат: x1=1, x2=1, x3=1, x4=1
2.2 Завдання 1.2
Варіант 29
Перетворити модель, задану у виді системи нелінійних рівнянь до виду f 1(x) = y і f 2 (y)= x. Побудувати їхні графіки і визначити початкове наближення рішення. Вирішити систему нелінійних рівнянь.

Необхідно знайти інтервали значень функції для x та y таким образом:
Інтервал значень y:
-cos(x+2)+y=1.8
cos(x+2) = y-1.8
-1≤y-1.8≤1
0.8≤y≥2.8
Інтервал значень x:
cos(y-2)+x=0.3
cos(y-2)=0.3-x
-1≤0.3-x≤1
-1.3≤-x≤0.7
-0.7≤x≤1.3
Рішення засобами Excel.
Дану систему рівнянь можливо вирішити використовуючи команду «Пошук рішення».

Рисунок 2.6 - Дані в режимі відображення формул
Вікно «Пошук рішення» необхідно заповнити наступним чином:

Рисунок 2.7 – Вікно пошуку рішень
Після виконання команди «Пошук рішення» ми побачимо результат обчислень:

Рисунок 2.8 – Вікно з рішеннями
Виходячи із отриманих даних необхідно побудувати графік функції:

Рисунок 2.9 – Графік функції системи нелінійних рівнянь
Результат: x= -0.698, y= 2.065
Рішення засобами MathCAD
Рішення даної системи рівняння можна знайти за допомогою розв'язуваного блоку Given...Find.
З використанням функції Find знаходимо точне рішення системи рівнянь.

Рисунок 2.10 – Рішення системи нелінійних рівнянь

Рисунок 2.11 – Перевірка рішення системи нелінійних рівнянь
Результат: x= -0.698; y= 2.065
2.3 Завдання 2.1
Задача А. Вирішити задачу проектування конусоподібного фільтра.
З круглої заготівлі (r = 2) фільтрованого паперу вирізають сектор з кутом θ, потім з іншого роблять фільтр у виді конуса. Необхідно розрахувати величину кута θ, при якій забезпечується максимальний обсяг конуса (рис.2.12).
R – радіус основи конуса; h – висота конуса; r – радіус заготівлі фільтрованого папера.


Рисунок 2.12 – Окружність та конус
– довжина
– формула
для куска дуги
Знаходимо
різницю


У конусі получили прямокутний трикутник АОВ, кут О = 90о, h – катет у прямокутному трикутнику. Для знаходження катетів обчислимо корінь із різниці гіпотенузи r та катета R.



Цільова функція має вид:

Обмеження:

Розв’язання засобами Excel

Рисунок 2.13 – Розв’язання в Excel

Рисунок 2.14 – Пошук рішення
Результат: кут θ дорівнює 66 градусів.
Рішення засобами MathCAD
Для рішення у MathCAD необхідно задатися початковими значеннями:
З використанням функції Maximize знаходимо оптимальний обсяг конуса.

Рисунок 2.15 – Розв’язання в MathCAD
Результат: кут θ дорівнює 66 градусів.
Задача Б. Проектування 2 -х конусоподібних (пожежних) ребер.
З
круглої заготівлі жерсті (r
= 3) вирізають
сектор з кутом
,
потім з іншого роблять цебро у виді
конуса і з вирізаного сектора теж (тобто
2-а цебра) (рис.2.20).
Необхідно
розрахувати величину кута
,
тобто як необхідно розкроїти заготівлю,
щоб обсяг 2-х цебер був максимальним.
R – радіус основи конуса; h – висота конуса; r – радіус заготівлі.



Рисунок 2.16 – Окружність, велика заготівля, маленька заготівля
Формули для знаходження радіусу R, висоти h та обсягу V великої заготівлі:



Формули для знаходження радіусу R, висоти h та обсягу V маленької заготівлі:



Цільова функція має вид:

Обмеження:

Розв’язання засобами Excel

Рисунок 2.17 – Розв’язання в Excel

Рисунок 2.18– Розв’язання в MathCAD
Результат: кут θ дорівнює приблизно 117 градусів.
Задача 16. При яких розмірах прямокутного басейну даної місткості V(x,y,z) = 220м3 на облицювання його стін і дна буде потрібно найменша кількість матеріалу, тобто мінімум S(x,y).
Заносимо початкові в таблицю:

Рисунок 2.19– Таблиця початкових даних
Для перевірки правильності введення формул необхідно включити режим відображення формул:

Рисунок 2.20– Дані в режимі відображення формул
Вікно «Пошук рішення» необхідно заповнити наступним чином:

Рисунок 2.21– Вікно пошуку рішень

Рисунок 2.22– Вікно з рішеннями
Рішення рівняння за допомогою MathCad
Так як наша задача полягає у знаходження мінімальної кількості матеріалу для виготовлення ємності, ми скористуємося функцією Minimize.

Рисунок 2.23 – Рішення задачі засобами MathCAD
Результат: a=0,76; b=0.76; h=0.38; S=0.1733.
2.4 Завдання 2.2
Варіант 6
Функція
об'єкта задана неявно рівнянням
,
,
.
Побудувати графік залежності функції
на заданому відрізку
та знайти її мінімум і максимум з точністю
.
Таблиця 2.1 Варіант завдання
|
F(x,t) |
t>1> |
t>2> |
x>1> |
x>2> |
|
|
0 |
3 |
-2 |
-0.5 |
Для рішення даного завдання необхідно заповнити таблицю. Задаємо значення t=[0,3]. Задаємо функцію f(x), у якій початкове значення х буде дорівнює "0".
Далі скористаємося вікном підбор параметра.
Отримане значення х необхідно перенести в наступний осередок і на це значення х зробити підбор параметра.
Така дія необхідно виконувати доти доки t не буде дорівнює "3". Далі необхідно побудувати графік за значеннями x й t.

Рисунок 2.24 – Підбір параметру
При клацанні на ОК програма підбирає параметр для комірки зі змінною перемінною, щоб значення цільової функції дорівнювалося нулю.

Рисунок 2.25 – Результат підбору параметру
При здійсненні підбору параметрів до потрібного значення ми отримуємо вихідні данні для побудови графіку функції

Рисунок 2.26 – Вихідні дані

Рисунок 2.27 – Графік функції

Рисунок 2.28 – Діалогове вікно «Пошук рішення» для знаходження мінімуму

Рисунок 2.29 – Діалогове вікно «Пошук рішення» для знаходження максимуму
Після виконання Пошуку рішення ми отримаємо потрібні дані.

Рисунок 2.30 – Екстремуми функції
Рішення рівняння за допомогою MathCad

Рисунок 2.31 - Рішення рівняння за допомогою MathCad
Результат: мінімум – (-1,45;1,4); максимум – (-0,5;0,13).
ВИСНОВКИ
При виконання математичного моделювання ми використовували засоби MathCad та MS Excel. При правильного виконання завдання ми повинні отримати однаковий результат, в іншому випадку причину треба шукати або в підборі формул для виконання обчислення, або правопису назв, функцій та інше.
MathCad та MS Excel складає потужний математичний апарат для виконання найскладніших обчислень з використанням різноманітних функцій.
MathCad більш підходить для користування недосвідчених користувачів, тому що він дуже схожий за записом змінних на звичайний математичний запис, а MS Excel містить більш складніші функції та методи описання змінних, більш схоже на засоби програмування.
Математичне моделювання грає дуже велику роль в житті, а в особливості в техніці при описання різних процесів та явищ.
При проектуванні офісу нам знадобиться 94,93 м кабелю. Добове споживання електроенергії складає 19,78 кВт*година, та місячні витрати за споживання електроенергії буде складати – 142,89 гривень.
Проект офісу складається з 6 кімнат: хол, кімната головного редактора, інформаційний відділ, вбиральня, ванна кімната, приймальня.
Площина офісу 36 кв.м.
ПЕРЕЛІК ВИКОРИСТАНИХ ДЖЕРЕЛ
Объектно-ориентированный анализ и проектирование систем. – Лори, 2007, 284 стр.
Столяровский С. Проектирование и дизайн мебели на компьютере – СПб.: Питер, 2004. – 560 с.
Гурский Д., Турбина Е. Вычисления в MathCAD 12 – Дело и Сервис (ДИС), 2002 г. – 528 с.
Глушков В. М. Основы безбумажной інформатики, 2-е издание, исправленное. — М.: Наука, 1978, 552 с.
Інформатика: Базовий курс/ С.В.Симонович изд. – Спб.: Питер, 2001. – 640 с.
Бусленко Н.П. Моделирование сложных систем. – М.: Наука, 1978. -400 с.
І.Т. Ігнатова, Math CAD. Учбовий курс. – М.: Рибарі, 2000. -479 с.
В.П. Д’яконов, И.В. Авраменкова, Math CAD 7.0 в математиці, фізиці и в Internet – М.: “Холідж”, 1998, - 352 с.
Методичні вказівки до лабораторних робіт з дисципліни «Основи автоматизованого проектування складних систем» для студентів спеціальності 6.01010036 "Комп'ютерні технології в управлінні та навчанні"/ І.В.Ушакова, Стаханов: УІПА, 2010. - 83 с.
Глушаков С.В., Сурядный А.С. Microsoft Office2003 / Худож.-оформитель А.С. Юхтман. – Харьков: Фолио, 2005. – 511 с. – (Учебный курс).
Логвиненко В.Ф. Оператор компьютерного набора. – Х. – ОЛМА-ПРЕСС: 2007. – 398 с.: ил.
Інформатика: Навч. Посіб. Для 10-11 кл. середн. загально-освітн. шкіл/ І.Т. Зарецька, Б.Г. Колодязний, А.М. Гурій, О.Ю. Соколов. – Х.: Факт, 2001. – 496 с.: іл.
ДОДАТОК
Презентація проектування офісу туризму











