Работа над массивами с помощью языка С++
Задание 1. Дан двумерный массив размерностью 5x6, заполненный целыми числами, введёнными с клавиатуры. Сформировать одномерный массив, каждый элемент которого равен наибольшему по модулю элементу соответствующего столбца.
Входные данные:
matr[5][6] - двумерный массив.
Выходные данные:
mas[6] - одномерный массив.
Текст программы:
#include <stdio.h>
#include <conio.h>
#include <math.h>
#define N 5
#define M 6
void main(void)
{
int matr[N][M];
int mas[M];
int i,j;
do{
clrscr();
printf("Введите двумерный массив \n");
for(i=0;i<N;i++)
for(j=0;j<M;j++)
{
scanf("%d",&matr[i][j]);
}
printf("\n двумерный массив:\n");
for(i=0;i<N;i++)
{
for(j=0;j<M;j++)
printf("%7d",matr[i][j]);
printf("\n");
}
printf("\n массив наибольших по модулю элементов:\n");
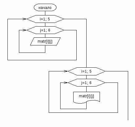
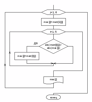
for(j=0;j<M;j++)
{
mas[j]=matr[0][j];
for(i=0;i<N;i++)
if(abs(matr[i][j])>abs(mas[j])) mas[j]=matr[i][j];
printf("%7d",mas[j]);
}
printf("\n\n1 - повторить");
}while(getch()=='1');
}
Блок-схема:


Тестирование:
двумерный массив:
1 -3 5 -7 0 0
0 5 8 -9 3 0
3 4 -8 4 3 0
-4 3 0 7 3 0
0 3 3 7 1 0
массив наибольших по модулю элементов:
-4 5 8 -9 3 0
Задание 2. Дан двумерный массив n * m. Определить, есть ли в данном массиве столбец, в котором равное количество положительных и отрицательных элементов.
Входные данные:
matr[n][m] - двумерный массив,
n, m - размер массива.
s[60] - строка.
Текст программы:
#include <stdio.h>
#include <conio.h>
#include <string.h>
void main(void)
{
int i,j;
int n,m;
int matr[10][10];
int pol,otr;
char s[60];
do{
strcpy(s,0);
clrscr();
printf("Введите размер массива (n*m)\n");
scanf("%d %d",&n,&m);
printf("Введите массив\n");
for(i=0;i<n;i++)
for(j=0;j<m;j++)
scanf("%d",&matr[i][j]);
printf("\nОпределить, есть ли в данном массиве столбец,\
в котором\nравное количество положительных и отрицательных элементов.\n");
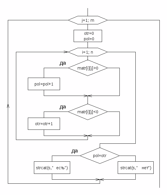
for(j=0;j<m;j++)
{
otr=0;
pol=0;
for(i=0;i<n;i++)
{
if(matr[i][j]<0) ++otr;
if(matr[i][j]>0) ++pol;
}
if(pol==otr) strcat(s," есть");
else strcat(s," нет");
}
printf("\n");
for(i=0;i<n;i++)
{
for(j=0;j<m;j++)
printf("%6d",matr[i][j]);
printf("\n");
}
printf("%s",s);
printf("\n\n1 - повторить");
}while(getch()=='1');
}
Блок-схема:



Тестирование:
Определить, есть ли в данном массиве столбец, в котором
равное количество положительных и отрицательных элементов.
0 1 -2 3 4
0 2 -4 5 -8
0 0 9 -7 0
0 -3 4 0 0
есть нет есть нет есть
Задание 3. Дан двумерный массив размерностью 8x7.
а). Удалить все столбцы, а которых первый элемент больше последнего.
б). Заменить все элементы первых трёх столбцов на их квадраты.
Входные данные:
matr[8][7] - двумерный массив.
Функции:
Print - вывод массив на экран.
Текст программы:
#include <stdio.h>
#include <conio.h>
#define N 8
#define M 7
void Print(int matr[][M],int m)
{
int i,j;
for(i=0;i<N;i++) {
for(j=0;j<m;j++)
printf("%6d",matr[i][j]);
printf("\n");
}
}
void main(void)
{
int m;
int i,j;
int matr[N][M];
int r,t;
do{
m=M;
clrscr();
printf("Введите массив\n");
for(i=0;i<N;i++)
for(j=0;j<m;j++) {
scanf("%d",&matr[i][j]);
}
clrscr();
printf(" массив\n");
Print(matr,m);
for(j=0;j<m;j++)
{
if(matr[0][j]>matr[N-1][j])
{
for(t=0;t<N;t++)
for(r=j;r<m-1;r++)
matr[t][r]=matr[t][r+1];
--m;
--j;
}
}
printf("а) .Удалить все столбцы, а которых первый элемент больше последнего.\n");
Print(matr,m);
for(j=0;j<3;j++)
for(i=0;i<N;i++)
{
matr[i][j]*=matr[i][j];
}
printf("б). Заменить все элементы первых трёх столбцов на их квадраты.\n");
Print(matr,m);
printf("\n\n1 - повторить");
}while(getch()=='1');
}
Блок-схема:

Функция Print



Тестирование:
массив
1 2 3 4 5 6 7
-8 0 5 5 4 4 5
4 5 5 5 5 5 5
5 5 5 -7 5 5 5
9 4 4 5 0 5 3
5 6 3 4 5 4 5
6 7 8 9 0 4 8
-4 5 9 0 9 9 0
а) .Удалить все столбцы, в которых первый элемент больше последнего.
2 3 5 6
0 5 4 4
5 5 5 5
5 5 5 5
4 4 0 5
6 3 5 4
7 8 0 4
5 9 9 9
б). Заменить все элементы первых трёх столбцов на их квадраты.
4 9 25 6
0 25 16 4
25 25 25 5
25 25 25 5
16 16 0 5
36 9 25 4
49 64 0 4
25 81 81 9