Первинні засоби пожежегасіння
Мета роботи - ознайомитися з будовою, принципом дії різних вогнегасників та практичним застосуванням вогнегасників ОХП - 10, ОП - 8Б, ОУ - 2.
1 ОСНОВНІ ТЕОРЕТИЧНІ ПОЛОЖЕННЯ
Всі підприємства промисловості та сільського господарства повинні бути забезпечені первинними засобами пожежегасіння, до яких належать пожежні стволи (водні та повітряно-пінні), внутрішні пожежні водопроводи (крани), вогнегасники (хімічно-пінні, газові, порошкові), бочки з водою, лопати, відра, сухий пісок та інші).
Для гасіння пожеж застосовують воду, водяні емульсії, галогенові вуглеводні, хімічну та повітряно-механічну піну, водяну пару, діоксид вуглецю, інертні гази, порошки, тощо.
Вогнегасний ефект води полягає в змочуванні поверхонь, зволоженні та охолодженні речовин, що горять, механічному збиванні полум'я струменем води.
Водою не можна гасити рідкі горючі речовини, електроустановки, що перебувають під напругою, лужні метали.
Вогнегасники є найбільш мобільним та ефективним засобом пожежегасіння і призначені для тушіння пожеж на початковій стадії їх виявлення.
Вирішення задач про раціональне розміщення вогнегасників і їх кількості тісно пов'язані з визначенням величини швидкості розповсюдження пожежі та імовірної швидкості її гасіння.
Під швидкістю розповсюдження пожежі треба розуміти – приріст площини, яка загоряється в одиницю часу.
Для тушіння пожежі необхідно, щоб швидкість тушіння була вища за швидкість розповсюдження пожежі.
Пожежу найлегше ліквідувати в початковій стадії, починаючи тушити від периферії до центру. Успішна ліквідація займань можлива тільки в результаті чітких та швидких дій. Для цього треба знати будову, принцип дії вогнегасників та вміти ними користуватися.
На підприємствах застосовуються такі вогнегасники: хімічно-пінні ОХП-10, ОПМ, ОХВП-10; порошкові ОП-1Б, ОП-2Б, ОП-8Б, ОП-10, тощо; вуглекислотні ОУ-2, ОУ-5, ОУ-7; вуглекислотно-брометилові ОУБ-3 та ОУБ-2.
2 ХИМІЧНО-ПІННІ ВОГНЕГАСНИКИ
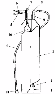
Химічно-пінний вогнегасник ОХП-10 (Малюнок 1) широко застосовується на підприємствах народного господарства.

1 - корпус; 2 - головка в сборі; 3 - поліетиленовий стакан; 4 - шток; 5-гумова пробка; 6 - рукоятка з ексцентриком; 7 - пружина; 8 - ручка.
Малюнок 1 - Схема вогнегасника ОХП-10
Вогнегасник ОХП-10 складається зі сталевого корпусу 1, всередині якого міститься поліетиленовий стакан 2, закритий гумовим клапаном 3. Пружина 4 забезпечує надійне прилягання клапана до сідла стакана в неробочому стані вогнегасника. Корпус вогнегасника заповнений водним розчином бікарбонату натрію (вуглекислої соди NaHCO3), а поліетиленовий стакан - водним розчином сірчанокислого алюмінію Al2(SO4)3 (або сірчанокислим окисним залізом). Верхня частина корпусу вогнегасника закривається кришкою 6.
Під час змішування лужної та кислотної частини відбувається хімічна реакція з виділенням великої кількості діоксиду вуглецю:
Al>2>(SO>4>)>3> + 6H>2>O = 2Al(OH)>3> + 3H>2>SO>4> (1)
3H>2>SO>4> + 6NaHCO>3> = 3Na>2>SO>4> + 6H>2>O + 6CO>2>↑ (2)
Використаний вогнегасник знову заряджають розчинами вихідних компонентів, які випускаються промисловістю в сухому вигляді – в пластикових мішечках. Лужна частина містить 450 - 560 г. бікарбонату натрію та екстракту солодкавого або лакричного кореню, котрі добавляють для підвищення стійкості хімічної піни, розчинених в 8,5 л води. Кислотна частина містить розчин сірчанокислого алюмінію у воді (240г.), що залитий в поліетиленовий стакан об'ємом 450 см3.
Щоб привести вогнегасник в дію, треба повернути рукоятку 6, з'єднану з клапаном за допомогою штока 4, навколо її осі на 180є. При поверненні ексцентрикової основи рукоятки клапан підіймається і відкриває вихід із стакану. Далі вогнегасник перевертають догори дном. При цьому кислотна частина заряду змішується з лужною. Діоксид вуглецю, що виділяється під час реакції, створює значний тиск всередині корпусу вогнегасника (до 0,5 МПа) та викидає через отвір (сприск) струмінь хімічної піни на відстань 6-8 м. протягом 60 с. Під час виготовлення корпус вогнегасника випробується на тиск до 2,5 МПа. Вогнегасник розрахований для гасіння пожежі на ділянці площею - 1м2.
Вогнегасна дія піни: при покритті нею поверхні речовини, що горить, припиняється доступ горючих газів та пари в зону горіння, ізолюється речовина, що горить, від кисню повітря та охолоджується найбільш нагрітий поверхневий шар речовини, що горить. Піна затримується на поверхні легкозаймистих і горючих рідин та зберігається до 40 хв.
Хімічна піна складається на 80% з двоокису вуглецю, 19,7% води та 0,3% піноутворючої речовини, об'ємна маса якої біля 0,2 кг/м3. Кратність об'єму піни, тобто відношення її об'єму до об'єму первинних продуктів, з яких вона отримана - не менше 5.
Слід пам'ятати, що піна проводить електричний струм і нею не можна гасити електроустановки та електромережу, що перебуває під напругою.
Вогнегасником ОХП-10 не можна гасити лужні метали, такі, як натрій і калій, бо вони внаслідок взаємодії з водою, що міститься в піні, виділяють водень, який підсилює горіння, а також рідини: спирт та ацетон, оскільки вони поглинають воду з піни.
3 ПОРОШКОВІ ВОГНЕГАСНИКИ
Вогнегасник порошковий ОП-8Б застосовується для гасіння пожежі лужних металів, двигунів внутрішнього згорання, електрообладнання і кабелів під напругою до 1140 В, деревини, вугілля, конвеєрної стрічки, масел, горючих газів, тощо.
Вогнегасник може бути застосований при температурі повітря від - 30 до + 40 С.
Принцип дії вогнегасника заснований на використанні енергії стисненого повітря для викидання ногнегасячого порошку П-1А.
Рецептура порошку П-1А складається з 75 % однозаміщеного фосфату амонію, 15 % двузаміщеного фосфату амонію і 10 % сульфату амонію. Насипна маса порошку П-1А - 0,94 г/м3, волога - 0,5 %, діапазон температур зберігання - від - 20 до + 50 С.
Вогнегасник ОП-8Б (Малюнок 2) складається із металевого корпусу 3, головки 9 в зборі, балона 10 із стисненим повітрям, вспушника 2, видачної труби 1, рукава 4 із насадкою 11. В головку вмонтовані пробійник 7, клапан 8, ручка 5 для перенесення вогнегасника та рукоятка 6.

1 - корпус; 2 - головка в зборі; 3 - поліетиленовий стакан; 4 - шток; 5-гумова пробка; 6 - рукоятка з ексцентриком; 7 - пружина; 8 - ручка.
Малюнок 2 - Схема вогнегасника ОП-8Б
Для запобігання самовільному включенню вогнегасника в дію пробійник 7 та рукоятка 6 фіксуються відносно головки чекою із пломбою.
Вогнегасник приводять в дію таким чином:
- відв'язують рукав із насадкою від корпусу і виймають з насадки пробку;
- зривають пломбу і виймають чеку з рукоятки та пробійника;
- різким поштовхом руки надавлюють на пробійник, який протикає герметизуючи перетинку балона із стисненим повітрям (або зрідженим двоокисом вуглецю); повітря попадає в корпус вогнегасника де створює початковий тиск і через 5 - 7 с буде напрацьована псевдо зріджена суміш порошку і повітря);
- приводять в дію рукоятку, яка відкриває клапан, перед цим, взявши в руки рукав з насадкою і направляючи його на поверхню, що горить.
Вогнегасник може бути використаний повторно, якщо перезаправити його новими компонентами.
Розплавлений порошок спучується, покриває речовину плавкої низької теплопровідності, заважаючи поширенню вогню, ізолює речовину, що горить, гальмує реакцію горіння як інгібітор (антикаталізатор).
4 ВУГЛЕКИСЛОТНІ ВОГНЕГАСНИКИ
Вуглекислотні вогнегасники ОУ-2, ОУ-5, ОУ-8 та інші (цифра вказує на місткість балона в літрах) наповнюють зрідженим діоксидом вуглецю до робочого тиску 6 МПа. За принципом будови та дії всі вогнегасники аналогічні.
На малюнку 3 показана схема вогнегасника ОУ-2, який складається зі сталевого суцільнотягнутого балона 6, в горловині якого на конусній різьбі вернуто латунний головний вентиль 4 з сифонною трубкою 1. На вихідний штуцер вентиля нагвинчено растровий снігоутворювач 5.
Щоб привести вогнегасник в дію потрібно: тримаючи його за рукоятку 2 спрямувати растровий снігоутворювач на вогнище, відкрити вентиль, обертаючи маховичок 3 проти годинникової стрілки (в останніх моделях цього вогнегасника замість вентиля з маховичком встановлюється поворотна рукоятка). Виходячи з вентиля рідкий двоокис вуглецю переохолоджується та заморожується в снігоутворювачі у вигляді снігоподібних пластівців. Довжина струменя біля двох метрів, час дії 30 с. Під час роботи вогнегасника не можна торкатись снігоутворювача, оскільки температура його знижується до - 70 С.

1 - сифонна трубка; 2 - рукоятка; 3 - маховичок; 4 - латунний голковий вентиль; 5 - растровий снігоутворювач; 6 - сталевий суцільнотягнутий балон.
Малюнок 3 - Схема вогнегасника ОУ-2
Газові вогнегасники застосовуються для гасіння легкозаймистих та горючих рідин, твердих речовин, електроустановок, що перебувають під напругою. Ними не можна гасити речовини, котрі можуть горіти без доступу повітря (терміт, тощо).
5. ВУГЛЕКИСЛОТНО-БРОМЕТИЛОВІ ВОГНЕГАСНИКИ ОУБ-3, ОУБ-7
Такі типи вогнегасників ефективно застосовуються для гасіння всіх первинних пожеж (крім горіння лужноземельних металів) при температурі навколишнього середовища від - 60 до + 60 С.
За будовою та принципом дії ці вогнегасники подібні до газових, але мають тонкостінні сталеві балони, та замість снігоутворювача - пряму насадку.
Вогнегасники заряджають бромистиметилом: ОУБ-3 - 3,4 кг, ОУБ-7 - 7,76 кг і двоокисом вуглецю, відповідно 0,1 та 0,24 кг.
Для викиду заряду з балона при відкритому вентилі у вогнегасник накачують повітря під тиском 0,86 МПа при температурі 20 С.
Вогнегасна дія бромистого етилу (галогенного вуглеводню) заснована на гальмуванні хімічних реакцій, тому вони часто називаються антикаталізаторами або інгібіторами горіння. Бромистий етил - рідина, що легко випаровується, має змочувальні властивості та добре гасить горючі матеріали. Вогнегасники рекомендується застосовувати в закритих приміщеннях. Для гасіння горючих матеріалів достатня концентрація бром етилу 4,6 і 4,8 %.
6. ПОРЯДОК ПРОВЕДЕННЯ РОБОТИ
1. Уважно прочитати інструкцію та законспектувати основні теоретичні положення.
2. Розібрати, уважно оглянути будову вогнегасників ОХП-10, ОП-8Б та ОУ-2. Звірити їх зі схемами, наведеними на рисунках 1, 2, 3 та вивчити принцип роботи. Зібрати вогнегасники.
3. Імітувати приведення в дію вогнегасника ОХП-10: прочистити шпилькою отвір сприску; поставити вогнегасник на підлогу і тримаючи лівою рукою за ручку на корпусі, правою повернути рукоятку навколо осі на себе; підняти вогнегасник; повернути його догори дном; енергійно трусонути та спрямувати сприском у бік уявного загоряння.
4. На спеціально відведеній ділянці двору на металевому листі підпалити гас або деревні відходи, дати їм розгорітися, а потім загасити вогнегасником ОХП-10, закидати піском, або землею, чи залити водою.
Примітка: завдання за п. 4 виконуються під керівництвом викладача під час демонстрації роботи вогнегасника для однієї чи двох груп студентів.