Расчет оболочек вращения по безмоментной теории
Министерство образования и науки Российской Федерации
Государственное образовательное учреждение высшего профессионального образования
Кафедра прочности летательных аппаратов
Курсовая работа
по курсу: “Строительная механика самолетов”
“Расчет оболочек вращения по безмоментной теории ”
Самара
Реферат
Курсовой проект.
Пояснительная записка: 16 с., 3 источника
Произведен расчет оболочки вращения согласно заданию, построены эпюры изменения нормального давления вдоль образующей составной оболочки, рассчитаны меридиональные и окружные погонные усилия в оболочке по безмоментной теории и построены эпюры этих сил
Содержание
Определение закона изменения нормального давления вдоль образующей составной оболочки и построение его эпюры
Расчет меридиональных и окружных погонных усилий в оболочке по безмоментной теории и построение их эпюр
Сечение I-I
Сечение II-II
Сечение III-III
Сечение IV-IV
Сечение V-V
Эпюра меридиональных и окружных погонных усилий
Определение максимальных значений окружных и меридиональных напряжений во всех частях составной оболочки
Эпюра меридианальных и окружных напряжений
Определение закона изменения нормального давления вдоль образующей составной оболочки и построение его эпюры
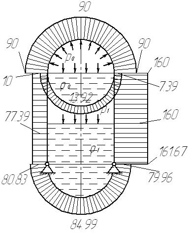
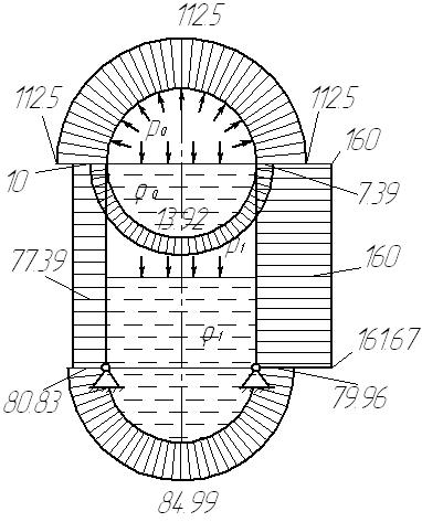
Для определения закона изменения нормального давления вдоль образующей составной оболочки, разделим ее на две части. Построим эпюру нормального давления (рис. 2.2 ).

Рис. 1.2
Расчет меридиональных и окружных погонных усилий в оболочке по безмоментной теории и построение их эпюр
В основе расчета усилий в оболочке по безмоментной теории лежат следующие два уравнения:
,(2.1)
,(2.2)
где
- интенсивность внутреннего давления;
и
- меридиональные и окружные погонные
нормальные усилия;
и
- главные радиусы кривизны срединной
поверхности оболочки в меридиональном
и окружном направлениях соответственно;
- равнодействующая внешней нагрузки,
приложенной к оболочке выше параллельного
круга, определяемого углом
.
Уравнение (2.1) носит название уравнения Лапласа, второе (2.2) – уравнение равновесия зоны.
Рассмотрим следующие сечения оболочки на рисунке 2.3: I, II, III, IV и V.

Рис. 1.3
Сечение I-I

Рис. 1.4
В силу того, что в сечении I-I
,
перепишем уравнения (2.1) и (2.2) в следующем
виде:
(2.3)
(2.4)
Где
,
,
,
,
(2.5)
Тогда меридиональное усилие
в сечении I-I
будет вычислено следующим образом:

Окружное усилие
,
с учетом найденного
и уравнения (2.3):

В итоге имеем:
.
:
,
Сечение II-II

Оболочка в сечении II-II имеет следующие геометрические характеристики:
.
Уравнения (2.1) и (2.2) принимают вид:
(2.6)
(2.7)
Где


,
,
,

,
,


(2.8)
Подставим (2.8) в(2.7):
,
Полученное выражение для
подставим в (2.6) и выразим
:


Запишем полученные выражения
для
и
:
,
.
Вычислим численные значения
и
при
и
предварительно подсчитав следующие
пределы при
.






Сечение III-III

Рис. 1.6
Оболочка в сечении III-III имеет следующие геометрические характеристики:
,
.
Уравнения (2.1) и (2.2) принимают вид:
(2.9)
(2.10)
Где

,

(2.11)
Подставим (2.11) в (2.10) и получим
выражение для
:

Найдем выражение для
используя формулу (2.9):

Меридиональное и окружное усилия в сечении III-III будут иметь значения:
,
.
Сечение IV-IV

Рис. 1.7
Геометрические характеристики
оболочки в сечении IV-IV:
,
.
Уравнения (2.1) и (2.2) принимают вид:
(2.12)
(2.13)
Где

,



(2.14)
Подставим полученное
в (2.13):

Теперь найдем окружное усилие в сечении:

Вычислим численные значения
и
при
и
:




Сечение V-V

Рис. 1.8
Оболочка в сечении V-V имеет следующие геометрические характеристики:
.
Уравнения (2.1) и (2.2) принимают вид:
(2.15)
(2.16)
Где



,

,
,

,
,


(2.17)
Подставим (2.8) в (2.16):
,
Полученное выражение для
подставим в (2.15) и выразим
:


Запишем полученные выражения
для
и
:
,
.
Вычислим численные значения
и
при
и
предварительно подсчитав следующие
пределы при
.






В общем, для построения эпюры мы имеем следующие значения в соответствующих сечениях:
сечение I-I:
,
;
сечение II-II:
,
,
,
;
сечение III-III:
,
;
сечение IV-IV:
,
,
сечение V-V:
,
,
Эпюра меридиональных и окружных погонных усилий



Рис. 1.9
Определение максимальных значений окружных и меридиональных напряжений во всех частях составной оболочки
Окружные и меридиональные напряжения можно подсчитать по формулам:
(2.18)
(2.19)
Вычислим значения этих напряжений для всех сечений:
сечение I-I:
,
;
сечение II-II:
,
,
,
;
сечение III-III:
,
;
сечение IV-IV:
,

,

сечение V-V:
,

,

Эпюра меридианальных и окружных напряжений



Рис. 1.10
По виду эпюры можно сказать, что
максимальное меридиональное напряжение
возникнет в днище бака:
,
а максимальные окружные напряжения в
опорах:
.