Розв’язання задачі Коші для звичайного диференціального рівняння першого порядку методом Ейлера
МІНІСТЕРСТВО ОСВІТИ І НАУКИ УКРАЇНИ
СУМСЬКИЙ ДЕРЖАВНИЙ УНІВЕРСИТЕТ
Кафедра інформатики
КУРСОВА РОБОТА
З програмування
На тему:
“Розв’язання задачі Коші для звичайного диференціального рівняння першого порядку методом Ейлера”
Суми – 2006 р.
План
Постановка задачі
Визначення. Загальні відомості про задачу Коші для звичайних диференціальних рівнянь першого порядку
Розв’язання задачі Коші для звичайних диференціальних рівнянь першого порядку методом Ейлера
а) похибка при вирішенні задачі Коші для звичайних диференціальних рівнянь першого порядку методом Ейлера. Алгоритм розв’язання диференціального рівняння першого порядку методом Ейлера
Блок – схема
Реалізація алгоритму у середовищі Borland Pascal
Результат роботи програми
Умовні позначення
Список використаних джерел
Постановка задачі
ПОСТАНОВКА ЗАДАЧІ ТА МЕТОД ВИРІШЕННЯ
Вирішити диференціальне рівняння чисельним методом ( у/=f(x,y)) це означає для заданої послідовності аргументів х>0>, х>1>…, х>n> і числа у>0>, не визначаючи функцію у=F(x),знайти такі значення у>1>, у>2>,…, у>n>, що у>i>=F(x>i>)(i=1,2,…, n) і F(x>0>)=y>0>.
Таким чином численні методи дозволяють замість знаходження функції У=F(x) отримати таблицю значень цієї функції для заданої послідовності аргументів. . Величина h=x>k>-x>k-1> називаеться кроком інтегрування.
Метод Ейлера відноситься до численних методів, що дають відповідь у вигляді таблиці наближених значень шуканої функціїу(х). він є порівняно грубим та використовуеться в основному для приблизних розрахунків.
Визначення. Загальні відомості про задачу Коші для звичайних диференціальних рівнянь першого порядку
Звичайним диференціальним рівнянням називається рівняння виду :

де порядок старшої
похідної к називається порядком
звичайного диференціального рівняння.
Звичайне диференціальне рівняння має
безліч розв’язків. Для знаходження
хоча б одного розв’язку потрібні
додаткові умови. Ці умови можуть бути
двох типів – задача Коші та Краєва
задача. Згідно теми курсової роботи
розглянемо лише перший тип умови, тобто
задачу Коші. При розв’язанні
задачі Коші додаткові умови задаються
при одному значенні незалежної змінної.
Наприклад, при х = а задані значення
функції
і можливі деякі похідні шуканої функції
і так далі…. . Існують декілька методів
розв’
язання задачі Коші:
Апроксимація рядом Тейлора
Методи Рунне – Кутта
Методи прогнозу та корекції
Нульовим наближенням всіх вище перерахованих методів вирішення задачі Коші є метод Ейлера.
Розв’язання задачі Коші для звичайних диференціальних рівнянь першого порядку методом Ейлера
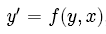
Розглянемо найпростіший метод вирішення задачі Коші. Проілюструємо його на прикладі звичайного диференціального рівняння першого порядку.
ПУ *

Підстановка ПУ в
початкове ЗДР* дає значення похідної
функції
в початковій точці. Розв’язок
в наступній точці
записується у вигляді:
.
При цьому допускається
похибка :
.
Далі використовується точка, яку можна
вважати початковою
і за допомогою її визначається наступна
точка
і так далі.
Отже узагальнена формула методу Ейлера набуває вигляду:
Похибка, що допускається
на кожному кроці :
.
Сума всіх похибок при обчисленні на
кожному з кроків вирішення дає нам
загальну похибку
.
Метод Ейлера є аналогом методу
прямокутників для чисельного інтегрування.
Якщо права частина початкового ДР* не
залежить від у, то значення шуканої
функції в точці
визначається
інтегралом
і тоді загальна формула методу Ейлера
являє собою формулу лівих прямокутників.
Але, на відміну від інтегрування, де
похибки просто сумувалися, при вирішенні
ДР похибка на попередньому кроці веде
до ще більшої похибки на наступному
кроці, і як правило сумарна похибка
зростає експоненціально з кількістю
пройдених вже кроків.
.
Тож використовуємо модифікований метод
Ейлера як найбільш точний.
Похибка при вирішенні задачі Коші для звичайних диференціальних рівнянь першого порядку методом Ейлера
Для ЗДР першого порядку
що має ПУ
загальна формула методу Ейлера має
вигляд
. Якщо позначити дійсне вирішення задачі
Коші як
,
то похибка Е в вузлі
може бути представлена у вигляді
.
Кали ми визначаємо приріст функції
та вводимо умовні позначення
,
то можливо оцінити
зверху :
.
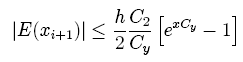
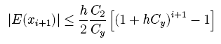
Якщо припустити, що початкова похибка рівна нулю, то випливає висновок :
.
Тепер, якщо замінити
у границі
,
отримаємо:
.
З останнього
співвідношення видно, що при
похибка Е зростає експоненціально з
координатою (при
отримуємо
).

Мал. 1
На мал.1 приведені
підрахунки для рівняння
(вирішення -
).
Єдиний спосіб оцінити масштаби похибки,
що наросла – провести декілька пробних
підрахунків з різними кроками по х.
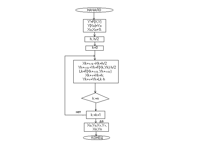
Алгоритм розв’язання диференціального рівняння першого порядку методом Ейлера
Нижче поданий алгоритм чисельно інтегрує звичайне диференціальне рівняння першого, другого та третього порядку з використанням модифікованого прямого методу Ейлера
При чисельному інтегруванні диференціального рівняння першого порядку y' = F(x,y)
З початковою умовою y(x0 ) = y0 (задача Коші) спочатку вибираємо
порядок похідної – у нашому випадку згідно з варіантом курсової – порядок 1 (диференціальне рівняння першого порядку). Далі визначаємо коефіцієнти та коефіцієнт при х. Вводимо границі відрізку . Фіксований приріст аргументу h = (xf -x0 )/n, де xf - кінцева точка інтервалу інтегрування , n – кількість кроків. Потім, використовуючи процедуру модифікованого методу Ейлера, , обчислюємо yk згідно з рекурсивною формулою:
yk = yk-1 +h[Fk-1 +F(xk , yk-1 +hFk-1 )]/2
де Fk = F(xk , yk ). Можна використовувати іншу рекурсивну формулу:
yk = yk-1 +F(xk-1 +h/2, yk-1 +Fk-1 h/2)
Після визначення кроку, вводимо значення початкової умови. Отримуємо таблицю відповідей.
Б
лок
- схема
Реалізація алгоритму у середовищі Borland Pascal
uses wincrt;
var
yx,xy,l,v,p,ff,ay,by,x:array [0..10] of real;
y,a,b:array[0..10,0..1] of real;
i,n,o:integer;
c,d,h,k:real;
label
lap1;
begin
clrscr;
writeln('введите наивысший порядок производной (в нашем случае - 1)');
readln(n);
if n=0 then begin
writeln('это прямолинейная зависимость и решается без метода Эйлера');
goto lap1;end;
writeln('введите коэффициенты {a0,a1}');
for i:=0 to n do
readln(l[i]);
if (n=1) and (l[1]=0) or (n=2) and (l[2]=0) or (n=3) and (l[3]=0) then begin
writeln('деление на ноль');
goto lap1;
end;
writeln('введите коэффициент при x');
readln(k);
writeln('введите отрезок ');
readln(c,d);
o:=5;
h:=abs(d-c)/o;
writeln('шаг=',h:1:1);
writeln('задайте начальные условия y(x)= ');
for i:=0 to n-1 do
readln(v[i]);
if n=3 then begin
yx[0]:=v[0];
ay[0]:=v[1];
by[0]:=v[2];
p[0]:=(k*c-l[0]*v[0]-l[1]*v[1]-l[2]*v[2])/l[3];
x[0]:=c;
gotoxy(32,1);
write(' ');
gotoxy(32,2);
write(' x y a b ');
gotoxy(32,3);
write(' ',c:7:7,' ',yx[0]:7:7,' ',ay[0]:7:7,' ',by[0]:7:7,' ');
for i:=0 to o-1 do begin
x[i]:=x[i]+h/2;
y[i,1]:=yx[i]+(h/2)*ay[i];
a[i,1]:=ay[i]+(h/2)*by[i];
b[i,1]:=by[i]+(h/2)*p[i];
ff[i]:=(k*x[i]-l[0]*y[i,1]-l[1]*a[i,1]-l[2]*b[i,1])/l[3];
xy[i]:=x[i]+h/2;
yx[i+1]:=yx[i]+h*a[i,1];
ay[i+1]:=ay[i]+h*b[i,1];
by[i+1]:=by[i]+h*ff[i];
x[i+1]:=x[i]+h/2;
p[i+1]:=(k*xy[i]-l[0]*yx[i+1]-l[1]*ay[i+1]-l[2]*by[i+1])/l[3];
end;
for i:=0 to o-1 do begin
gotoxy(32,4+i);
write(' ',xy[i]:7:7,' ',yx[i+1]:7:7,' ',ay[i+1]:7:7,' ',by[i+1]:7:7,' ');
end;
gotoxy(32,4+o);
write(' ');
end;
if n=2 then begin
x[0]:=c;
yx[0]:=v[0];
ay[0]:=v[1];
p[0]:=(k*c-l[0]*yx[0]-l[1]*v[1])/l[2];
gotoxy(32,1);
write(' ');
gotoxy(32,2);
write(' x y a ');
gotoxy(32,3);
write(' ',c:7:7,' ',yx[0]:7:7,' ',ay[0]:7:7,' ');
for i:=0 to o-1 do begin
x[i]:=x[i]+h/2;
y[i,1]:=yx[i]+(h/2)*ay[i];
a[i,1]:=ay[i]+(h/2)*p[i];
ff[i]:=(k*x[i]-l[0]*y[i,1]-l[1]*a[i,1])/l[2];
xy[i]:=x[i]+h/2;
yx[i+1]:=yx[i]+h*a[i,1];
ay[i+1]:=ay[i]+h*ff[i];
x[i+1]:=x[i]+h/2;
p[i+1]:=(k*xy[i]-l[0]*yx[i+1]-l[1]*ay[i+1])/l[2];
end;
for i:=0 to o-1 do begin
gotoxy(32,4+i);
write(' ',xy[i]:7:7,' ',yx[i+1]:7:7,' ',ay[I+1]:7:7,' ');
end;
gotoxy(32,4+o);
write(' ');
end;
if n=1 then begin
x[0]:=c;
yx[0]:=v[0];
p[0]:=(k*x[0]-l[0]*yx[0])/l[1];
for i:=0 to o-1 do begin
x[i]:=x[i]+h/2;
y[i,1]:=yx[i]+(h/2)*p[i];
xy[i]:=x[i]+h/2;
ff[i]:=(k*x[i]-l[0]*y[i,1])/l[1];
yx[i+1]:=yx[i]+h*ff[i];
x[i+1]:=x[i]+h/2;
p[i+1]:=(k*xy[i]-l[0]*yx[i+1])/l[1];
end;
gotoxy(32,1);
write(' ');
gotoxy(32,2);
write(' x____________ y ');
write('___________________');
gotoxy(32,3);
write(' ',c:7:7,' ',yx[0]:7:7,' ');
for i:=0 to o-1 do begin
gotoxy(32,4+i);
write(' ',xy[i]:7:7,' ',yx[i+1]:7:7,' ');
end;
gotoxy(32,o+4);
write(' ');
end;
lap1:readln;
clrscr;
end.
Результат роботи програми

У випадку, коли порядок похідної = 0:

Умовні позначення
ПУ * - початкова умова
ЗДР* – звичайне диференціальне рівняння
ДР* - диференціальне рівняння
Список використаних джерел:
Щодо реалізації алгоритму у середовищі Borland Pascal :
Боровик В.О., Тиркусова Н.В. програмування: Навч. посібник.-Суми: Вид-во СумДУ, 2004.-Частина 1.-107с. – Рос. Мовою
Боровик В.О., Тиркусова Н.В. програмування: Навч. посібник.-Суми: Вид-во СумДУ, 2004.-Частина 2.-107с. – Рос. Мовою
http:// www.forum.pascla.net
http://pascalclub.ru
Щодо математичного обґрунтування методa:
Диференціальні рівняння : Навчю посібник А.М. Самійленко, С.А. Кривошия, М.О. Перестук. – К.: Либідь, 2003-504 с.
http:// www.alglib.sources.ru
http:// www.alglib.ru
http:// www.users.kpi.kharkov.ua