Правила и нормы метеорологических условий рабочей зоны
Оглавление
Введение
1. Метеорологические условия и их нормирование в производственных помещениях
1.1 Микроклимат в производственных помещениях и влияние его показателей на организм работающих
1.2 Оптимальные условия микроклимата
1.3 Допустимые условия микроклимата
1.4 Определение индекса тепловой нагрузки среды (ТНС-индекса)
1.5 Регламентирование времени работы при температуре воздуха на рабочем месте выше или ниже допустимых величин
2. Технологические процессы и оборудование, обуславливающие неблагоприятные микроклиматические параметры на рабочих местах
3. Профилактика перегревания и переохлаждения
4 Контроль параметров микроклимата, требования к его организации и методам измерения
4.1 Контроль параметров микроклимата
4.2 Требования к организации контроля и методам измерения
5. Мероприятия по нормализации состояния воздушной среды производственных помещений
6. Проектирование систем защиты организма работающих от действия неблагоприятных производственных факторов
6.1 Архитектурно-планировочные мероприятия
6.2 Инженерно-технологические мероприятия
6.2.1 Вентиляционные системы
6.2.2 Кондиционирование воздуха
6.2.3 Отопление производственных помещений
Заключение
Список литературы
Приложение
Введение
Состояние здоровья человека, его работоспособность в значительной степени зависят от микроклимата на рабочем месте. Не имея возможности эффективно влиять на протекающие в атмосфере климатообразующие процессы, люди располагают качественными системами управления факторами воздушной среды внутри производственных помещений.
Микроклимат производственных помещений — это климат внутренней среды данных помещений, который определяется совместно действующими на организм человека температурой, относительной влажностью и скоростью движения воздуха, а также температурой окружающих поверхностей (ГОСТ 12.1.005 «Общие санитарно-гигиенические требования к воздуху рабочей зоны» и СанПиН 2.2.4.548-96 "Гигиенические требования к микроклимату производственных помещений").
Факторы, влияющие на микроклимат, можно разделить на две группы: нерегулируемые (комплекс климатообразующих факторов данной местности) и регулируемые (особенности и качество строительства зданий и сооружений, интенсивность теплового излучения от нагревательных приборов, кратность воздухообмена, количество людей и животных в помещении и др.). Для поддержания параметров воздушной среды рабочих зон в пределах гигиенических норм решающее значение принадлежит факторам второй группы.
Многочисленными исследованиями гигиенистов и физиологов труда установлено, что на организм человека оказывают значительное воздействие санитарно-гигиенические факторы производственной среды: метеорологические условия, шум, вибрация, освещенность Некоторые из них оказывают неблагоприятное влияние на работника, что снижает работоспособность, ухудшает состояние здоровья и иногда приводит к профессиональным заболеваниям. Поэтому необходимо знать не только причину возникновения этих факторов, но и иметь представление о способах уменьшения их отрицательного влияния на организм работающих. Особое внимание в данной работе уделяется изучению параметров микроклимата на рабочем месте, их влиянию на организм работающих, а также мероприятий по снижению их негативного воздействия.
Актуальность темы в том, что исключительно важную роль на состояние и самочувствие человека, на его работоспособность оказывает микроклимат, а требования к отоплению, вентиляции и кондинционированию непосредственно влияет на здоровье и производительность человека.
Целью данной работы было изучение нормативной и технической литературы, регламентирующей правила и нормы метеорологических условий рабочей зоны, исследование непосредственного влияния на организм работающих параметров микроклимата производственных помещений, а также проектирование систем защиты организма работающих от их негативного воздействия на примере использования систем вентиляции, кондиционирования и отопления; архитектурно-планировочных мероприятий.
1. Метеорологические условия и их нормирование в производственных помещениях
1.1 Микроклимат в производственных помещениях и влияние его показателей на организм работающих
Метеорологические условия для рабочей зоны производственных помещений регламентируются ГОСТ 12.1.005-88 "Общие санитарно гигиенические требования к воздуху рабочей зоны" и СанПиН 2.2.4.548-96 "Гигиенические требования к микроклимату производственных помещений"
ГОСТ 12.1.005 установлены оптимальные и допустимые микроклиматические условия. При длительном и систематическом пребывании человека в оптимальных микроклиматических условиях сохраняется нормальное функциональное и тепловое состояние организма без напряжения механизмов терморегуляции. При этом ощущается тепловой комфорт (состояние удовлетворения внешней средой), обеспечивается высокий уровень работоспособности. Такие условия предпочтительны на рабочих местах.
Для создания благоприятных условий работы, соответствующих физиологическим потребностям человеческого организма, санитарные нормы устанавливают оптимальные и допустимые метеорологические условия в рабочей зоне помещения.
Нормирование микроклимата в рабочих помещениях осуществляется в соответствии с санитарными правилами и нормами, изложенными в СанПиН 2.2.4.548-96. Гигиенические требования к микроклимату производственных помещений".
Производственное помещение - замкнутые пространства в специально предназначенных зданиях и сооружениях, в которых постоянно или периодически осуществляется трудовая деятельности людей.
Рабочее место, на котором нормируется микроклимат - участок помещения (или всё помещение), на котором в течение рабочей смены или части её осуществляется трудовая деятельность.
Рабочая зона ограничивается высотой 2 метра над уровнем пола или площадки, где находятся рабочие места.
Холодный период года - период года, характеризуемый среднесуточной температурой наружного воздуха + 10°С и ниже.
Тёплый период года - период года, характеризуемый среднесуточной температурой наружного воздуха выше + 10°С.
Среднесуточная температура наружного воздуха - средняя величина температуры наружного воздуха, измеренная в определенные часы суток через Знаковые интервалы времени.
Показателями, характеризующими микроклимат в производственных помещениях, являются:
- температура воздуха;
- температура поверхностей;
- относительная влажность воздуха;
- скорость движения воздуха;
- интенсивность теплового облучения.
Кроме этих параметров, являющихся основными, не следует забывать об атмосферном давлении Р, которое влияет на парциальное давление основных компонентов воздуха (кислорода и азота), а, следовательно, и на процесс дыхания.
Жизнедеятельность человека может проходить в довольно широком диапазоне давлений 734 - 1267 гПа (550 - 950 мм рт. ст.). Однако здесь необходимо учитывать, что для здоровья человека опасно быстрое изменение давления, а не сама величина этого давления. Например, быстрое снижение давления всего на несколько гектопаскалей по отношению к нормальной величине 1013 гПа (760 мм рт. ст.) вызывает болезненное ощущение.
К показателям, характеризующим тепловое состояние человека, относятся температура тела, температура поверхности кожи и ее топография, теплоощущения, количество выделяемого пота, состояние сердечно-сосудистой системы и уровень работоспособности.
Показатели микроклимата должны обеспечивать сохранение теплового баланса человека с окружающей средой и поддержание оптимального или допустимого теплового состояния организма.
Необходимость учета основных параметров микроклимата может быть объяснена на основании рассмотрения теплового баланса между организмом человека и окружающей средой производственных помещений.
Величина тепловыделения Q организмом человека зависит от степени физического напряжения в определенных метеорологических условиях и составляет от 85 (в состоянии покоя) до 500 Дж/с (тяжелая работа).
Отдача теплоты организмом человека в окружающую среду происходит в результате теплопроводности через одежду Q>т>, конвекции у тела Q>к>, излучения на окружающие поверхности Q>и>, испарения влаги с поверхности кожи Q>исп>. Часть теплоты расходуется на нагрев вдыхаемого воздуха Q>в>.
Нормальное тепловое самочувствие (комфортные условия), соответствующее данному виду работы, обеспечивается при соблюдении теплового баланса:
Q=Q>т>+Q>к>+Q>и>+Q>исп>+Q>в>,
поэтому температура внутренних органов человека остается постоянной (36,0°-37,0° С). Вместе с изменением параметров микроклимата меняется и тепловое самочувствие человека. Условия, нарушающие тепловой баланс, вызывают в организме реакции, способствующие его восстановлению. Эта способность человеческого организма поддерживать постоянной температуру при изменении параметров микроклимата и при выполнении различной по тяжести работы называется терморегуляцией.
Чтобы физиологические процессы в организме протекали нормально, выделяемая организмом теплота должна полностью отводиться в окружающую среду. Нарушение теплового баланса может привести к перегреву либо к переохлаждению организма и как следствие к потере трудоспособности, быстрому утомлению, потере сознания и тепловой смерти.
Одним из важных интегральных показателей теплового состояния организма является средняя температура тела (внутренних органов) около 36,5 °С. Она зависит от степени нарушения теплового баланса и уровня энергозатрат при выполнении физической работы. При выполнении работы средней тяжести и тяжелой при высокой температуре воздуха она может повышаться от нескольких десятых градуса до 1...2°С. Наивысшая температура внутренних органов, которую выдерживает человек, составляет 43 °С, минимальная — 25 °С.
Температура тела человека характеризует процесс терморегуляции организма. Она зависит от скорости потери теплоты, которая, в свою очередь, зависит от температуры и влажности воздуха, скорости его движения, наличия тепловых излучений и теплозащитных свойств одежды. Выполнение работ категорий Пб и III сопровождается повышением температуры тела на 0,3...0,5 °С. При повышении температуры тела на 1°С начинает ухудшаться самочувствие, появляются вялость, раздражительность, учащаются пульс и дыхание, снижается внимательность, растет вероятность несчастных случаев. При температуре 39 °С человек может упасть в обморок.
Температура кожного покрова человека, находящегося в состоянии покоя в комфортных условиях, находится в пределах 32...34 °С. С повышением температуры воздуха она также растет до 35 °С, после чего возникает потоотделение, ограничивающее дальнейшее увеличение температуры кожи, хотя в отдельных случаях (особенно при высокой влажности воздуха) она может достигать 36...37 °С. Установлено, что при разности температур на центральных и периферических участках поверхности тела менее 1,8 °С человек ощущает жару; 3...5° С — комфорт; более 6°С — холод. При увеличении температуры воздуха также уменьшается разница между температурой кожи на открытых и закрытых участках тела.
Теплоощущения человека чаще всего оценивают по пяти- или семибалльной шкале:
по пятибалльной — «холодно», «прохладно», «комфорт», «тепло», «жарко»;
по семибалльной — «очень холодно», «холодно», «прохладно», «комфорт», «тепло», «жарко», «очень жарко».
Эти ощущения человека зависят также от термического сопротивления Rj его одежды, представляющего собой отношение толщины слоя одежды (толщина хлопковых тканей колеблется в пределах 0,10...0,22 мм, а шелковых — 0,043...0,07 мм) к коэффициенту теплопроводности материала X, из которого она сделана. Для натурального шелка Х = 0,043...0,053 Вт/(м * К), шерстяной ткани—0,052, льняной ткани —0,088, кожи —0,15, для капрона X = 0,24 Вт/(м • К).
Сердечно-сосудистая система испытывает большое напряжение при выполнении тяжелой работы в условиях повышенных температур. Нарушается водный обмен, сгущается кровь, усиливается ее приток к коже и подкожной жировой клетчатке, расширяются периферические сосуды, учащается пульс и снижается артериальное давление. При одной и той же физической нагрузке частота пульса тем больше, чем выше температура окружающего человека воздуха.
Работоспособность человека в значительной степени снижается при труде в условиях, сильно отличающихся от комфортных. Отрицательное влияние соответствующих параметров микроклимата на центральную нервную систему, другие органы и системы проявляется в ослаблении внимания, замедлении реакций, ухудшении координации движений, в результате чего уменьшается производительность труда и могут возникать травмы. В отдельных случаях работа при высокой температуре воздуха ведет к снижению производительности труда до 80 % по сравнению с аналогичным показателем, зафиксированным в комфортных условиях.
Процессы регулирования тепловыделений осуществляются в основном тремя способами: биохимическим путем; путем изменения интенсивности кровообращения и интенсивности потовыделения.
Терморегуляция биохимическим путем, называемая химической терморегуляцией, заключается в изменении теплопродукции в организме за счет регулирования скорости окислительных реакций. Изменение интенсивности кровообращения и потовыделения изменяет отдачу теплоты в окружающую среду и поэтому называется физической терморегуляцией.
Параметры микроклимата оказывают непосредственное влияние на тепловое самочувствие человека и его работоспособность. Установлено, что при температуре воздуха более 30 °С работоспособность человека начинает падать. Предельная температура вдыхаемого воздуха при которой человек в состоянии дышать в течение нескольких минут без специальных средств защиты, около 116°С.
При высокой температуре воздуха в помещении кровеносные сосуды кожи расширяются, при этом происходит повышенный приток крови к поверхности тела, и теплоотдача в окружающую среду значительно увеличивается. Однако при температурах окружающего воздуха и поверхностей оборудования и помещений 30 - 35° С отдача теплоты конвекцией и излучением в основном прекращается. При более высокой температуре воздуха большая часть теплоты отдается путем испарения с поверхности кожи. В этих условиях организм теряет определенное количество влаги, а вместе с ней и соли, играющие важную роль в жизнедеятельности организма. Поэтому в горячих цехах рабочим дают подсоленную воду.
При понижении температуры окружающего воздуха реакция человеческого организма иная: кровеносные сосуды кожи сужаются, приток крови к поверхности тела замедляется, и отдача теплоты конвекцией и излучением уменьшается. Таким образом, для теплового самочувствия человека важно определенное сочетание температуры, относительной влажности и скорости движения воздуха в рабочей зоне.
Переносимость человеком температуры, как и его теплоощущение, в значительной мере зависит от влажности и скорости окружающего воздуха. Чем больше относительная влажность, тем меньше испаряется пота в единицу времени и тем быстрее наступает перегрев тела.
Влажность воздуха оказывает большое влияние на терморегуляцию организма. Повышенная влажность (φ>85%) затрудняет терморегуляцию из-за снижения испарения пота, а слишком низкая влажность (φ<20%) вызывает пересыхание слизистых оболочек дыхательных путей. Оптимальные величины относительной влажности составляют 40 - 60%.
Для восстановления водного баланса работающих в горячих цехах устанавливают пункты подпитки подсоленной газированной питьевой водой из расчета 4...5 л на человека в смену. На ряде заводов для этих целей применяют белково-витаминный напиток. В жарких климатических условиях рекомендуется пить охлажденную питьевую воду или чай.
Длительное воздействие высокой температуры особенно в сочетании с повышенной влажностью может привести к значительному накоплению теплоты в организме и развитию перегревания организма выше допустимого уровня - до 38-39 °С.
В горячих цехах промышленных предприятий большинство технологических процессов протекает при температурах, значительно превышающих температуру воздуха окружающей среды. Нагретые поверхности излучают в пространство потоки лучистой энергии, которые могут привести к отрицательным последствиям. Инфракрасные лучи оказывают на организм человека в основном тепловое действие, при этом наступает нарушение деятельности сердечно-сосудистой и нервной систем. Лучи могут вызвать ожог кожи и глаз. Наиболее частым и тяжелым поражением глаз вследствие воздействия инфракрасных лучей является катаракта глаза.
Производственные процессы, выполняемые при пониженной температуре, большой подвижности и влажности воздуха, могут быть причиной охлаждения и даже переохлаждения организма—гипотермии. В начальный период воздействия умеренного холода наблюдается уменьшение частоты дыхания, увеличение объема вдоха. При продолжительном действии холода дыхание становится неритмичным, частота и объем вдоха увеличиваются. Появление мышечной дрожи, при которой внешняя работа не совершается, а вся энергия превращается в теплоту, может в течение некоторого времени задерживать снижение температуры внутренних органов. Результатом действия низких температур являются холодовые травмы.(1)
Движение воздуха в помещениях является важным фактором, влияющим на тепловое самочувствие человека. В жарком помещении движение воздуха способствует увеличению отдачи теплоты организмом и улучшает его состояние, но оказывает неблагоприятное воздействие при низкой температуре воздуха в холодный период года.
Минимальная скорость движения воздуха, ощущаемая человеком, составляет 0,2 м/с. В зимнее время года скорость движения воздуха не должна превышать 0,2 - 0,5 м/с, а летом - 0,2 - 1,0 м/с. В горячих цехах допускается увеличение скорости обдува рабочих (воздушное душирование) до 3,5 м/с.
В соответствии с ГОСТ 12.1.005 - 88 устанавливаются оптимальные и допустимые метеорологические условия для рабочей зоны помещения, при выборе которых учитываются:
1) время года - холодный и переходный периоды со среднесуточной температурой наружного воздуха ниже +10° С; теплый период с температурой +10°С и выше;
2) категория работы; категории работ разграничиваются на основе интенсивности энерготрат организма в ккал/ч (Вт)(табл.1)
Таблица 1
Классификация работ по тяжести

3) характеристика помещения по избыткам явной теплоты: все производственные помещения делятся на помещения с незначительными избытками явной теплоты, приходящимися на 1 м3 объема помещения, 23,2 Дж/(м3с) и менее, и со значительными избытками - более 23,2 Дж/(м3с).
Явная теплота - теплота, поступающая в рабочее помещение от оборудования, отопительных приборов, нагретых материалов, людей и других источников, в результате инсоляции и воздействующая на температуру воздуха в этом помещении.(6)
1.2 Оптимальные условия микроклимата
Оптимальные микроклиматические условия установлены по критериям оптимального теплового и функционального состояния человека. Они обеспечивают общее и локальное ощущение теплового комфорта в течение 8-часовой рабочей смены при минимальном напряжении механизмов терморегуляции, не вызывают отклонений в состоянии здоровья, создают предпосылки для высокого уровня работоспособности и являются предпочтительными на рабочих местах.
Оптимальные величины показателей микроклимата необходимо соблюдать на рабочих местах производственных помещений (ГОСТ 12.1.005-88, на которых выполняются работы операторского типа, связанные с нервно-эмоциональным напряжением (в кабинах, на пультах и постах управления технологическими процессами, в залах вычислительной техники и др.). Перечень других рабочих мест и видов работ, при которых должны обеспечиваться оптимальные величины микроклимата определяются Санитарными правилами по отдельным отраслям промышленности и другими документами, согласованными с органами Государственного санитарно-эпидемиологического надзора в установленном порядке.
Оптимальные параметры микроклимата на рабочих местах должны соответствовать величинам, приведенным в табл.1, применительно к выполнению работ различных категорий в холодный и теплый периоды года.
Перепады температуры воздуха по высоте и по горизонтали, а также изменения температуры воздуха в течение смены при обеспечении оптимальных величин микроклимата на рабочих местах не должны превышать 2°С и выходить за пределы величин, указанных в табл.2 для отдельных категорий работ.
Таблица 2
Оптимальные величины показателей микроклимата на рабочих местах производственных помещений

1.3 Допустимые условия микроклимата
Допустимые микроклиматические условия установлены по критериям допустимого теплового и функционального состояния человека на период 8-часовой рабочей сиены. Они не вызывают повреждений или нарушений состояния здоровья, но могут приводить к возникновению общих и локальных ощущений теплового дискомфорта, напряжению механизмов терморегуляции, ухудшению самочувствия и понижению работоспособности.
Допустимые величины показателей микроклимата устанавливаются в случаях, когда по технологическим требованиям, техническим и экономически обоснованным причинам не могут быть обеспечены оптимальные величины.
Допустимые величины показателей микроклимата на рабочих местах должны соответствовать значениям, приведенным в табл.2 применительно к выполнению работ различных категорий в холодный и теплый периоды года(ГОСТ 12.1.005-88).
При обеспечении допустимых величин микроклимата на рабочих местах:
- перепад температуры воздуха по высоте должен быть не более 3° С;
-перепад температуры воздуха по горизонтали, а также ее изменения в течение смены не должны превышать:
при категориях работ Iа и Iб - 4° С;
при категориях работ IIа и IIб - 5° С;
при категории работ III - 6° С.
При этом абсолютные значения температуры воздуха не должны выходить за пределы величин, указанных в табл.2 для отдельных категорий работ.
При температуре воздуха на рабочих местах 25° С и выше максимально допустимые величины относительной влажности воздуха не должны выходить за пределы:
70% - при температуре воздуха 25°С;
65% - при температуре воздуха 26°С;
60% - при температуре воздуха 27°С;
55% - при температуре воздуха 28°С.
При температуре воздуха 26-28°С скорость движения воздуха, указанная в табл.3 для теплого периода года, должна соответствовать диапазону:
0,1-0,2 м/с - при категории работ Iа;
0,1-0,3 м/с - при категории работ Iб;
0,2-0,4 м/с - при категории работ IIа;
0,2-0,5 м/с - при категориях работ IIб и III.
Таблица 3
Допустимые величины показателей микроклимата на рабочих местах производственных помещений

Допустимые величины интенсивности теплового облучения работающих на рабочих местах от производственных источников, нагретых до темного свечения (материалов, изделий и др.) должны соответствовать значениям, приведенным в табл.5.
Таблица 5
Допустимые величины интенсивности теплового облучения поверхности тела работающих от производственных источников

Допустимые величины интенсивности теплового облучения работающих от источников излучения, нагретых до белого и красного свечения (раскаленный или расплавленный металл, стекло, пламя и др.) не должны превышать 140 Вт/кв.м. При этом облучению не должно подвергаться более 25% поверхности тела и обязательным является использование средств индивидуальной защиты, в том числе средств защиты лица и глаз.
При наличии теплового облучения работающих температура воздуха на рабочих местах не должна превышать в зависимости от категории работ следующих величин:
25° С - при категории работ Iа;
24° С - при категории работ Iб;
22° С - при категории работ IIа;
21° С - при категории работ IIб;
20° С - при категории работ III.
В производственных помещениях, в которых допустимые нормативные величины показателей микроклимата невозможно установить из-за технологических требований к производственному процессу или экономически обоснованной нецелесообразности, условия микроклимата следует рассматривать как вредные и опасные. В целях профилактики неблагоприятного воздействия микроклимата должны быть использованы защитные мероприятия (например, системы местного кондиционирования воздуха, воздушное душирование, компенсация неблагоприятного воздействия одного параметра микроклимата изменением другого, спецодежда и другие средства индивидуальной защиты, помещения для отдыха и обогревания, регламентация времени работы, в частности, перерывы в работе, сокращение рабочего дня, увеличение продолжительности отпуска, уменьшение стажа работы и др.).
Для оценки сочетанного воздействия параметров микроклимата в целях осуществления мероприятий по защите работающих от возможного перегревания рекомендуется использовать интегральный показатель тепловой нагрузки среды (ТНС).(10)
2.4 Определение индекса тепловой нагрузки среды (ТНС-индекса)
1. Индекс тепловой нагрузки среды (ТНС-индекс) является эмпирическим показателем, характеризующим сочетанное действие на организм человека параметров микроклимата (температуры, влажности, скорость движения воздуха и теплового облучения).
2. ТНС-индекс определяется на основе величин температуры смоченного термометра аспирационного психрометра (tвл.) и температуры внутри зачерненного шара (tш).
3. Температура внутри зачерненного шара измеряется термометром, резервуар которого помещен в центр зачерненного полого шара; tш отражает влияние температуры воздуха температуры поверхностей и скорости движения воздуха. Зачерненный шар должен иметь диаметр 90 мм, минимально возможную толщину и коэффициент поглощения 0,95. Точность измерения температуры внутри шара +-0,5° С.
4. ТНС-индекс рассчитывается по уравнению:
ТНС = 0,7 x tвл. + 0,3 x tш.
5. ТНС-индекс рекомендуется использовать для интегральной оценки
тепловой нагрузки среды на рабочих местах, на которых скорость движения
воздуха не превышают 0,6 м/с, а интенсивность теплового облучения - 1200 Вт/м2 .
6. Метод измерения и контроля ТНС-индекса аналогичен методу измерения и контроля температуры воздуха (п.п.7.1-7.6 настоящих Санитарных правил).
7. Значения ТНС-индекса не должны выходить за пределы величин, рекомендуемых в табл.6.(10)
Таблица 6
Рекомендуемые величины интегрального показателя тепловой нагрузки среды (ТНС-индекса)для профилактики перегревания организма

2.5 Регламентирование времени работы при температуре воздуха на рабочем месте выше или ниже допустимых величин
1. В целях защиты работающих от возможного перегревания или охлаждения, при температуре воздуха на рабочих местах выше или ниже допустимых величин, время пребывания на рабочих местах (непрерывно или суммарно за рабочую смену) должно быть ограничено величинами, указанными в приложении 1 (табл.1 и табл.2). При этом среднесменная температура воздуха, при которой работающие находятся в течение рабочей смены на рабочих местах и местах отдыха, не должна выходить за пределы допустимых величин температуры воздуха для соответствующих категорий работ, указанных в табл.8.
Среднесменная температура воздуха (tв) рассчитывается по формуле:
_ tв1 x 1 + tв2 x 2 + ... + tвп x п
tв = ———————————————————————————,
8
где tв1, tв2 ... tвп - температура воздуха (°С) на соответствующих участках рабочего места;
1, 2, ... п - время (ч) выполнения работы на соответствующих участках рабочего места;
8 - продолжительность рабочей смены (ч).
Остальные показатели микроклимата (относительная влажность воздуха, скорость движения воздуха, температура поверхностей, интенсивность теплового облучения) на рабочих местах должны быть в пределах допустимых величин.(10)
2. Технологические процессы и оборудование, обуславливающие неблагоприятные микроклиматические параметры на рабочих места
Производственные процессы и отдельные операции, сопровождающиеся образованием и выделением конвекционного и лучистого тепла, должны быть автоматизированы или обеспечены устройствами дистанционного наблюдения.
Все технологические источники тепла надлежит обеспечивать устройствами и приспособлениями, предотвращающими или резко ограничивающими выделение конвекционного и лучистого тепла в рабочее помещение. При этом температура наружных поверхностей технологического оборудования или его ограждающих устройств, интенсивность теплового облучения работающих, обслуживающих закрытые и открытые источники излучения, должны соответствовать требованиям действующих санитарных правил к микроклимату производственных помещений.
В случае, когда по техническим причинам не представляется возможным обеспечить нормируемые параметры микроклимата, необходимо предусматривать мероприятия по защите работающих от возможного перегревания. В целях профилактики тепловых травм температура поверхности технологического оборудования и ограждающих устройств должна соответствовать требованиям, указанным в табл.7 и табл.8.
Таблица 7
Допустимая температура поверхности технологического оборудования и ограждающих устройств, С
|
Материал |
Контактный период до |
||
|
1 мин |
10 мин |
8 час. и более |
|
|
Непокрытый металл |
51 |
48 |
43* |
|
Покрытый металл |
51 |
48 |
43 |
|
Керамика, стекло, камень |
59 |
48 |
43 |
|
Пластик |
60 |
48 |
43 |
|
Дерево |
60 |
48 |
43 |
(*) Температура поверхности 43 град. С допускается, если с горячей поверхностью соприкасается менее 10% поверхности тела или менее 10% поверхности головы, исключая дыхательные пути.
Таблица 8
Допустимая температура поверхности технологического оборудования при случайном (непреднамеренном) контакте с ней, С
|
| Материал |
| Продолжительность контакта, с |
|||||||||
|
1 |
2 |
3 |
4 |
5 |
6 |
7 |
8 |
9 |
10 |
|
|
Непокрытый металл |
70 |
67 |
65 |
63 |
62 |
61 |
61 |
60 |
60 |
59 |
|
Керамика, стекло, камень |
86 |
81 |
78 |
76 |
74 |
73 |
73 |
72 |
71 |
70 |
|
Пластмассы |
94 |
87 |
84 |
82 |
81 |
79 |
78 |
78 |
77 |
76 |
|
Дерево |
140 |
122 |
116 |
113 |
109 |
108 |
108 |
108 |
107 |
107 |
Нагревательные и сушильные печи должны быть герметичными и в рабочем состоянии находиться под небольшим (2 - 3 мм вод. ст.) разрежением. При невозможности полной герметизации их надлежит обеспечивать устройствами для удаления горячих газов на участках загрузки и выгрузки. Выпуск горячих газов из нагревательных и сушильных печей в помещение не допускается.
Нагревательные и сушильные печи, работающие на газе, оборудуются устройствами для автоматического отключения в случае прекращения в них тяги при остановке вентилятора.
Выгрузка материалов из нагревательных и сушильных печей должна производиться после их охлаждения до нормируемой температуры.
В конструкции нагревательных и обжиговых печей для штучных изделий, сушильных и других камер должны быть предусмотрены механизированные системы загрузки, выгрузки и транспортировки изделий, исключающие необходимость захода рабочих внутрь нагретых агрегатов.
Ручная разгрузка и загрузка камерных печей впредь до замены их печами проходного (туннельного) типа, а также производство ремонтных работ в печах, ковшах, регенераторах, шлаковниках, обжиговых горнах, сушильных камерах и др. с заходом рабочих внутрь нагретых агрегатов допускаются как исключение при температуре воздуха не выше 40 град. С и выполнении требований, указанных в табл.9, а также обязательном использовании средств индивидуальной и коллективной защиты, в том числе с искусственным охлаждением, в соответствии с требованиями нормативно-технической документации к средствам коллективной и специальной защиты от повышенных температур, инфракрасных излучений.(3)
Таблица 9.
Допустимая продолжительность однократной непрерывной работы и необходимое время отдыха при выполнении ремонтных работ с заходом внутрь нагретых агрегатов
|
Температура воздуха, град. С |
Продолжительность, мин. |
|
|
работы |
отдыха |
|
|
28 |
36 |
24 |
|
30 |
34 |
25 |
|
32 |
32 |
26 |
|
34 |
30 |
27 |
|
36 |
28 |
28 |
|
38 |
26 |
29 |
|
40 |
24 |
30 |
Охлаждение нагретых материалов, изделий и передвижного оборудования непосредственно в рабочих помещениях следует производить на специальном участке, оборудованном эффективным устройством для местного удаления выделяемого тепла и защиты работающих от теплового облучения.
Участки технологического оборудования с использованием хладагентов должны иметь ограждения. Металлические поверхности ручных инструментов, металлические ручки и задвижки технологического оборудования необходимо покрывать теплоизолирующим материалом.
В целях профилактики холодовых травм температура металлических поверхностей оборудования при наличии возможности случайного (непреднамеренного до 20 сек.) контакта открытого участка кожи с ними не должна быть ниже 4 град. С. Обязательным является использование защитных перчаток или рукавиц.
При работе в холодной среде работники должны быть обеспечены комплектами теплоизолирующих СИЗ, соответствующими условиям трудовой деятельности, в соответствии с действующими нормативными документами.
Технологические процессы, сопровождающиеся влаговыделениями, должны быть непрерывными, механизированными или автоматизированными и осуществляться с преимущественным использованием оборотных циклов воды при максимальном ограничении контакта работающих с водой и водными растворами.
Оборудование, являющееся источником влаговыделения, должно быть герметичным и снабжено устройствами для механического открывания и автоматического закрывания загрузочно-выгрузочных отверстий.
Смотровые окна и люки оборудования, предназначенные для визуального контроля и отбора проб, должны иметь уплотнительные прокладки или самоуплотняющиеся задвижки, обеспечивающие герметичность оборудования.
Использование негерметизированного оборудования с выделением влаги допускается в исключительных случаях при условии его установки в отдельном специально оборудованном помещении.
Оборудование, в котором используется вода и водные технологические растворы с температурой выше 30 С и которое не исключает поступление водных паров в рабочую зону, необходимо обеспечивать укрытиями с устройством систем вытяжной вентиляции.
Температура воды или растворов смачивающих жидкостей, используемых в технологических процессах с применением ручных операций, должна быть в диапазоне
25 С - 30 С.
Слив в канализацию сточных вод из оборудования надлежит производить закрытым способом. Спуск сточных вод на пол производственного помещения, а также устройство открытых желобов для их стока в канализацию не допускаются. (13,14).
3. Профилактика перегревания и переохлаждения
3.1 В целях профилактики перегревания работников при температуре воздуха выше допустимых величин время пребывания на этих рабочих местах следует ограничить величинами, указанными в табл. 9, при этом среднесменная температура воздуха не должна выходить за пределы допустимых величин температуры воздуха для соответствующих категорий работ, установленных санитарными правилами и нормами по гигиеническим требованиям к микроклимату производственных помещений.
Допускается перегревание работника выше допустимого уровня при регламентации периодов непрерывного пребывания на рабочем месте и периодов отдыха в условиях теплового комфорта. При температуре воздуха 50 - 40 С допускается не более, чем трехкратное пребывание за рабочую смену указанной продолжительности.
Время непрерывного пребывания на рабочем месте, указанное в табл.9 для лиц, не адаптированных к нагревающему микроклимату (вновь поступившие на работу, временно прервавшие работу по причине отпуска, болезни и др.), сокращается на 5 минут, а продолжительность отдыха увеличивается на 5 минут.
При работе в специальной защитной одежде, материалы которой являются воздухо- и влагонепроницаемыми, температура воздуха (табл. 9) снижается из расчета 1,0 С на каждые 10% поверхности тела, исключенной из тепломассообмена.
Работники, подвергающиеся тепловому облучению в зависимости от его интенсивности, обеспечиваются соответствующей спецодеждой, имеющей положительное санитарно-эпидемиологическое заключение.
Используемые коллективные средства защиты должны отвечать требованиям действующих нормативных документов на средства коллективной защиты от инфракрасных излучений (ИК-излучений).
В целях уменьшения тепловой нагрузки на работников допускается использовать воздушное душирование.
Для интегральной оценки термической нагрузки среды, обусловленной комплексом факторов (температура воздуха, скорость его движения, относительная влажность, тепловое излучение), следует использовать индекс тепловой нагрузки среды (ТНС-индекс), величины которого с учетом уровня энерготрат и продолжительности воздействия в течение рабочей смены приведены в таблице 6.
Профилактике нарушения водного баланса работников в условиях нагревающего микроклимата способствует обеспечение полного возмещения жидкости, различных солей, микроэлементов (магний, медь, цинк, йод и др.), растворимых в воде витаминов, выделяемых из организма с потом.
Для оптимального водообеспечения работающих целесообразно размещать устройства питьевого водоснабжения (установки газированной воды-сатураторы, питьевые фонтанчики, бачки и т.п.) максимально приближенными к рабочим местам, обеспечивая к ним свободный доступ.
Для восполнения дефицита жидкости целесообразно предусматривать выдачу работающим чая, минеральной щелочной воды, клюквенного морса, молочнокислых напитков (обезжиренное молоко, пахта, молочная сыворотка), отваров из сухофруктов при соблюдении санитарных норм и правил их изготовления, хранения и реализации.
Для повышения эффективности возмещения дефицита витаминов, солей, микроэлементов, применяемые напитки следует менять. Не следует ограничивать работников в общем количестве потребляемой жидкости, но объем однократного приема регламентируется (один стакан). Наиболее оптимальной является температура жидкости, равная
12 – 15 С
3.2 Работающие на открытой территории в холодный период года обеспечиваются комплектом средств индивидуальной защиты (СИЗ) от холода с учетом климатического региона (пояса). При этом комплект СИЗ должен иметь положительное санитарно-эпидемиологическое заключение с указанием величины его теплоизоляции.
Во избежание локального охлаждения работающих следует обеспечивать рукавицами, обувью, головными уборами применительно к конкретному климатическому региону (поясу). На рукавицы, обувь, головные уборы должны иметься положительные санитарно-эпидемиологические заключения с указанием величин их теплоизоляции.
При разработке внутрисменного режима работы следует ориентироваться на допустимую степень охлаждения работающих, регламентируемую временем непрерывного пребывания на холоде и временем обогрева в целях нормализации теплового состояния организма.
В целях нормализации теплового состояния работника температура воздуха в местах обогрева поддерживается на уровне 21 - 25С. Помещение следует также оборудовать устройствами, температура которых не должна быть выше 40 С (35 – 40 С), для обогрева кистей и стоп.
Продолжительность первого периода отдыха допускается ограничить 10 минутами, продолжительность каждого последующего следует увеличивать на 5 минут.
В целях более быстрой нормализации теплового состояния и меньшей скорости охлаждения организма в последующий период пребывания на холоде, в помещении для обогрева следует снимать верхнюю утепленную одежду.
Во избежание переохлаждения работникам не следует во время перерывов в работе находиться на холоде (на открытой территории) в течение более 10 минут при температуре воздуха до -10С и не более 5 минут при температуре воздуха ниже -10С.
Перерывы на обогрев могут сочетаться с перерывами на восстановление функционального состояния работника после выполнения физической работы. В обеденный перерыв работник обеспечивается "горячим" питанием. Начинать работу на холоде следует не ранее, чем через 10 минут после приема "горячей" пищи (чая и др.).
При температуре воздуха ниже -30С не рекомендуется планировать выполнение физической работы категории выше IIa. При температуре воздуха ниже -40 С следует предусматривать защиту лица и верхних дыхательных путей.
4. Контроль параметров микроклимата, требования к его организации и методам измерения
4.1 Контроль параметров микроклимата
При работах, выполняемых сидя, температуру и скорость движения воздуха измеряют на высоте 0,1 и 1,0 м, а относительную влажность воздуха - на высоте 1,0 м от пола или рабочей площадке.
При работах, выполняемых стоя, температуру и скорость движения воздуха измеряют на высоте 0,1 и 1,5 м, а относительную влажность воздуха - на высоте 1,5 м
Температуру поверхностей измеряют в случаях, если рабочие места удалены от них на расстояние не более двух метров.
Скорость движения воздуха измеряют анемометрами вращательного действия (крыльчатые, чашечные). Скорости движения воздуха до 0,5 м/с можно измерять кататермометрами.
Интенсивность теплового облучения измеряют актинометрами, радиометрами и др.
По результатам измерений параметров микроклимата составляется протокол, где даётся оценка соответствия полученных результатов нормативным требованиям.
Исключительно важную роль на состояние работоспособности оказывает комплекс вредных производственных факторов. Как видам, производственная среда оказывает на работающего вредные воздействия: тепловыделение, шум, вибрация, различные излучения, специфические нарушения органов зрения и т.д. Выделение тепла видеотерминалами влияет на повышение температуры, изменение влажности воздуха на рабочем месте.
Измерения показателей микроклимата проводят в рабочей зоне на высоте 1,5 м от пола, повторяя их в различное время дня и года, в разные периоды технологического процесса. Измеряют температуру, относительную влажность и скорость движения воздуха. Для измерения температуры и относительной влажности воздуха используют аспирационный психрометр Асмана. Он состоит из двух термометров. Сухой термометр показывает температуру воздуха. Показания влажного термометра зависят от относительной влажности воздуха: температура его тем меньше, чем ниже относительная влажность, поскольку с уменьшением влажности возрастает скорость испарения воды с увлажненной ткани и поверхность резервуара охлаждается более интенсивно.
Скорость движения воздуха измеряется с помощью анемометров. При скорости движения воздуха свыше 1 м/с используют крыльчатые или чашечные анемометры, при меньших скоростях — термоанемометры.(2,8,9)
4.2 Требования к организации контроля и методам измерения микроклимата
Измерения показателей микроклимата в целях контроля их соответствия гигиеническим требованиям должны проводиться в холодный период года - в дни с температурой наружного воздуха, отличающейся от средней температуры наиболее холодного месяца зимы не более чем на 5° С, в теплый период года - в дни с температурой наружного воздуха, отличающейся от средней максимальной температуры наиболее жаркого месяца не более чем на 5° С. Частота измерений в оба периода года определяется стабильностью производственного процесса, функционированием технологического и санитарно-технического оборудования.
При выборе участков и времени измерения необходимо учитывать все факторы, влияющие на микроклимат рабочих мест (фазы технологического процесса, функционирование систем вентиляции и отопления и др.). Измерения показателей микроклимата следует проводить не менее 3 раз в смену (в начале, середине и в конце). При колебаниях показателей микроклимата, связанных с технологическими и другими причинами, необходимо проводить дополнительные измерения при наибольших и наименьших величинах термических нагрузок на работающих.
Измерения следует проводить на рабочих местах. Если рабочим местом являются несколько участков производственного помещения, то измерения осуществляются на каждом из них.
При наличии источников локального тепловыделения, охлаждения или влаговыделения (нагретых агрегатов, окон, дверных проемов, ворот, открытых ванн и т.д.) измерения следует проводить на каждом рабочем месте в точках, минимально и максимально удаленных от источников термического воздействия.
В помещениях с большой плотностью рабочих мест, при отсутствии источников локального тепловыделения, охлаждения или влаговыделения, участки измерения температуры, относительной влажности и скорости движения воздуха должны распределяться равномерно по площади помещения.
При работах, выполняемых сидя, температуру и скорость движения воздуха следует измерять на высоте 0,1 и 1,0 м, относительную влажность воздуха - на высоте 1,0 м от пола или рабочей площадки. При работах, выполняемых стоя, температуру и скорость движения воздуха следует измерять на высоте 0,1 и 1,5 м, а относительную влажность воздуха - на высоте 1,5 м.
При наличии источников лучистого тепла тепловое облучение на рабочем месте необходимо измерять от каждого источника, располагая приемник прибора перпендикулярно падающему потоку. Измерения следует проводить на высоте 0,5; 1,0 и 1,5 м от пола или рабочей площадки.
Температуру поверхностей следует измерять в случаях, когда рабочие места удалены от них на расстояние не более двух метров. Температура каждой поверхности измеряется аналогично измерению температуры воздуха.
Температуру и относительную влажность воздуха при наличии источников теплового излучения и воздушных потоков на рабочем месте следует измерять аспирационными психрометрами. При отсутствии в местах измерения лучистого тепла и воздушных потоков температуру и относительную влажность воздуха можно измерять психрометрами, не защищенными от воздействия теплового излучения и скорости движения воздуха. Могут использоваться также приборы, позволяющие раздельно измерять температуру и влажность воздуха.
Скорость движения воздуха следует измерять анемометрами вращательного действия (крыльчатые, чашечные и др.). Малые величины скорости движения воздуха (менее 0,5 м/с), особенно при наличии разнонаправленных потоков, можно измерять термоэлектроанемометрами, а также цилиндрическими и шаровыми кататермометрами при защищенности их от теплового излучения.
Температуру поверхностей следует измерять контактными приборами (типа электротермометров) идя дистанционными (пирометры и др.).
Интенсивность теплового облучения следует измерять приборами, обеспечивающими угол видимости датчика, близкий к полусфере (не менее 160°) и чувствительными в инфракрасной и видимой области спектра (актинометры, радиометры и т.д.).
Диапазон измерения и допустимая погрешность измерительных приборов должны соответствовать требованиям, указанным в табл.3 приложения.
По результатам исследования необходимо составить протокол, в котором должны быть отражены общие сведения о производственном объекте, размещении технологического и санитарно-технического оборудования, источниках тепловыделения, охлаждения и влаговыделения, приведены схема размещения участков измерения параметров микроклимата и другие данные.
В заключении протокола должна быть дана оценка результатов выполненных измерений на соответствие нормативным требованиям.(2,14,9)
5. Мероприятия по нормализации состояния воздушной среды производственных помещений
Требуемое состояние воздуха рабочей зоны может быть обеспечена выполнением определенных мероприятий, к основным из которых относятся:
5.1 Механизация и автоматизация производственных процессов, дистанционное управление ими. Эти мероприятия имеют большое значение для защиты от воздействия вредных веществ, теплового излучения, особенно при выполнении тяжелых работ. Автоматизация процессов, сопровождающихся выделением вредных веществ, не только повышает производительность, но и улучшает условия труда, поскольку рабочие выводятся из опасной зоны. Например, внедрение автоматической сварки с дистанционным управлением вместо ручной дает возможность резко оздоровить условия труда сварщика, применение роботов-манипуляторов позволяет устранить тяжелый ручной труд.
5.2 Применение технологических процессов и оборудования, исключающих образование вредных веществ или попадание их в рабочую зону. При проектировании новых технологических процессов и оборудования необходимо добиваться исключения или резкого уменьшения выделения вредных веществ в воздух производственных помещений. Этого можно достичь, например, заменой токсичных веществ нетоксичными, переходом с твердого и жидкого топлива на газообразное, электрический высокочастотный нагрев; применением пылеподавления водой (увлажнение, мокрый помол) при измельчении и транспортировке материалов и т. д.
Большое значение для оздоровления воздушной среды имеет надежная герметизация оборудования, в котором находятся вредные вещества, в частности, нагревательных печей, газопроводов, насосов, компрессоров, конвейеров и т. д. Через неплотности в соединениях, а также вследствие газопроницаемости материалов происходит истечение находящихся под давлением газов. Количество вытекающего газа зависит от его физических свойств, площади неплотностей и разницы давлений снаружи и внутри оборудования.
5.3 Защита от источников тепловых излучений. Это важно для снижения температуры воздуха в помещении и теплового облучения работающих.
5.4 Кондиционирование воздуха: искусственное поддержание его в помещении в определенных условиях (кондициях) по температуре, влажности и чистоте. В соответствии с заданными условиями воздух нагревают или охлаждают, увлажняют или осушают, очищают от пыли или запахов (дезодорация), подвергают ионизации (лучами) или озонированию.
На промышленных предприятиях кондиционирование воздуха применяется либо для обеспечения комфортных санитарно-гигиенических условий, создание которых обычной вентиляцией невозможно, либо как составная часть технологического процесса. В последнем случае кондиционирование применяют:
а) для поддержания определенных температурно-влажностных условий, позволяющих производить обработку материалов и изделий с минимальными допусками (точное машиностроение);
б) для обеспечения особой чистоты воздуха и исключения выделения влаги из него, а также пота с рук рабочих на точно обработанные поверхности изделий (полупроводниковая, электровакуумная промышленность);
в) для поддержания заданного влагосодержания материалов и изделий.
6.5. Устройство вентиляции и отопления, что имеет большое значение для оздоровления воздушной среды в производственных помещениях.
5.6 Применение средств индивидуальной защиты.(5,11,14)
6. Проектирование систем защиты организма работающих от действия неблагоприятных производственных факторов
6.1 Архитектурно-планировочные мероприятия
Производственные здания и помещения должны отвечать требованиям СНиП и СН. На этапах проектирования и строительства необходимо учитывать санитарный класс помещения, нормы полезной площади для работающих и под оборудование, а также соблюдать требуемую ширину проходов для безопасного и удобного обслуживания оборудования.
Помещения, в которых выделяется большое избыточное количество влаги или явного тепла (более 83,8кДж/(м3-ч)), следует располагать у наружной стены здания с подветренной стороны. Помещения, в которых процесс производства связан с выделением пыли, паров, газов или сопровождается шумом, вибрацией, должны быть изолированы от других помещений. Ворота и технологические проемы в наружных стенах зданий, как правило, проектируют с тепловыми воздушными завесами, а входы в отапливаемые здания - с двойными тамбурами при глубине открытия каждого отделения из них не менее 1,2 м.
Объем производственного помещения на одного работающего должен быть не менее 15 м3, а площадь — не менее 4,5 м2.
Запрещается устраивать производственные помещения в подвальных этажах. Размещение оборудования в подвальных помещениях допускается лишь в тех случаях, когда это необходимо в связи с особенностями технологических процессов. Для исключения пересечения технологических потоков наиболее целесообразно располагать помещения с учетом последовательности выполнения производственных операций.
Высоту помещений выбирают в зависимости от характера технологического процесса такой, чтобы обеспечивалось удаление избыточных количеств теплоты, влаги и газов, но не менее 3 м. В помещениях, где предполагается устройство аэрации, для создания необходимого теплового напора от теплоизлучающей поверхности высота должна быть не менее 4...6 м. Ширину пешеходных галерей принимают в пределах 0,3...1,5 м, проходов между стеллажами — не менее 1 м.
Стены и потолки зданий должны быть достаточно теплостойкие, чтобы на их внутренних поверхностях не конденсировалась влага. Поверхности ограждающих строительных конструкций следует выполнять ровными из материалов, устойчивых к химически агрессивной среде и легко обрабатываемых при проведении влажной уборки и дезинфекции. Полы должны быть ровные, гладкие, но нескользкие, иметь низкую теплопроводность, не выделять пыли и возвышаться над уровнем прилегающей территории на величину не менее 0,15 м. Допустимая высота порогов менее 0,1 м.
В световых проемах предусматривают фрамуги или форточки с приспособлениями для открывания с пола помещения и фиксации в требуемом положении. При заполнении оконных проемов стеклоблоками в зданиях применяют устройства для естественного проветривания. В зданиях с верхним светом, при наличии больших площадей остекления, устанавливают специальные механизмы для открывания окон и фрамуг. Ворота, двери и окна должны легко открываться на всю ширину проема.
6.2 Инженерно-технологические мероприятия
6.2.1 Вентиляционные системы
Виды вентиляции. Процесс замены загрязненного воздуха помещений свежим, чистым называют вентиляцией. После принятия мер по совершенствованию технологии и оптимизации конструктивного исполнения оборудования с целью исключения воздействия вредностей на человека или снижения их уровней и концентраций до предельно допустимых значений вентиляция позволяет наилучшим образом снизить избыточные количества теплоты, влаги, вредных газов, паров и пыли. Определяющий показатель при выборе систем вентиляции — коэффициент кратности воздухообмена, ч-1

где L, — воздухообмен в помещении, м3/ч; V>п> — внутренний объем помещения, м3.
Для помещения объемом 120 м3 с величиной воздухообмена 140 м3/ч коэффициент кратности воздухообмена равен 1,33 ч-1
При k<3 ч-1 рекомендуется применять естественную систему вентиляции, при 3...5 ч-1 -искусственную, а при k > 5 ч-1 — искусственную с подогревом приточного воздуха.
Назначение рабочих систем вентиляции — удаление из помещений вредностей или снижение их концентраций до предельно допустимых для постоянного поддержания требуемых параметров воздушной среды. Тем не менее существуют определенные производства, в воздух рабочих зон которых могут внезапно поступать большие количества вредных веществ (кроме пыли). Для предотвращения острых отравлений работающих в таких помещениях устраивают аварийную систему вентиляции (как правило, вытяжную), которая совместно с рабочей вентиляцией должна обеспечивать k 8. С помощью аварийной вентиляции также поддерживают необходимые параметры воздушной среды при выходе из строя рабочей системы вентиляции.
Общеобменная вентиляция характеризуется более или менее равномерными подачей и удалением воздуха по всему объему помещения. Местная вентиляция — это удаление заданных объемов воздуха только от определенных рабочих мест или подача его к определенным рабочим местам.
Вытяжная общеобменная вентиляция необходима для активного удаления воздуха, загрязненного по всему объему помещения, при малой кратности воздухообмена. Приточная общеобменная вентиляция применима в помещениях с локальным выделением вредностей для создания воздушного подпора, усиливающего эффективность работы местной вытяжной вентиляции. Приточно-вытяжная вентиляция, которая может быть только общеобменной, целесообразна для обеспечения интенсивного и надежного обмена воздуха в помещениях.
Нерегулируемая естественная вентиляция (инфильтрация) осуществляется через неплотности строительных конструкций зданий — поры стен, перегородок, щели дверей, окон и пр. Организованный и управляемый воздухообмен за счет естественных природных сил (ветрового и теплового напоров) называется аэрацией (рис. 1). Применение аэрации эффективно и экономически выгодно в горячих цехах. Например, для поддержания концентрации вредностей в пределах ПДК в кузнечном цехе на 1 т поковок требуется около 100 т чистого воздуха. Замена механической вентиляции аэрацией в этом случае позволяет сэкономить десятки тысяч кВт*ч электроэнергии. Однако следует помнить, что аэрация

Рис. 1. Схема возникновения теплового и ветрового напоров:
И — источники вьщеления теплоты; + — зоны повышенного давления; -- зоны разрежения
применима лишь при наличии определенных конструктивных особенностей здания и значительных тепловыделений.
Местная вытяжная система вентиляции состоит из устройств, конструктивное оформление которых в зависимости от вида вредности (избыточные количества теплоты, влаги, пыли и т. п.) различно. Это могут быть кожухи, полностью или частично закрывающие источник вредных выделений, вытяжные шкафы с рабочими окнами для обслуживания, вытяжные зонты и бортовые отсосы (устройства, всасывающие отверстия которых приближены к источнику выделения). Отсасывание воздуха непосредственно из оборудования или из-под кожуха, которым оно укрыто, называется аспирацией. Степень создаваемого в системах аспирации разрежения должна быть тем большей, чем выше токсичность удаляемой вредности.
Местную приточную вентиляцию в виде воздушных душей устраивают в горячих цехах для защиты работающих от перегревания, а в виде воздушно-тепловых завес — для предотвращения проникновения наружного воздуха в помещения в холодный период года через открывающиеся ворота или двери.
Санитарно-гигиенические требования, предъявляемые к системам вентиляции:
превышение объема приточного воздуха над объемом вытяжки 10.. .15%;
подача воздуха в зоны с наименьшим выделением вредностей и удаление из мест наибольшего его загрязнения;
отсутствие переохлаждения или перегревания работающих;
выход загрязненного воздуха только в проветриваемые участки прилегающей территории;
соответствие уровней шума и вибрации при работе вентиляции установленным нормам;
простота устройства и надежность в эксплуатации;
пожаро- и взрывобезопасность.
Определение необходимого воздухообмена
Воздухообмен, м3/ч, при нормальном микроклимате и отсутствии вредных веществ или содержании их в пределах норм можно определить по формуле

где п — численность работающих; L>1> — расход воздуха на одного работающего, м3/ч, не менее: 30 при объеме помещения, приходящемся на одного рабочего, менее 20м3; 20 — при 20...40 м3 и 40 — в производственных помещениях без световых проемов.
Для помещения, в котором работает 7 человек, воздухообмен равен 140 м3/ч
Для помещений, где на одного работающего приходится более 40 м3 воздуха, и при естественной вентиляции (через открытые форточки, двери и т. п.) воздухообмен не рассчитывают.
Для санитарно-бытовых, общественных и вспомогательных помещений необходимое для удаления вредностей количество воздуха допускается определять по кратности воздухообмена. Например, коэффициент кратности воздухообмена для административных помещений равен 1,5 (по вытяжке), вестибюлей — 2 (по притоку), залов совещаний вместимостью до 100 человек — 3 (по притоку и вытяжке), курительных — 10 (по вытяжке), помещений для отдыха — 5 (по притоку) и 4 (по вытяжке), умывальных — 1 (по вытяжке) и т. д.
При выделении в воздух производственных помещений вредных веществ производительность систем вентиляции по притоку и вытяжке следует определять, руководствуясь количеством вредностей, поступающих в помещения.
Количество воздуха, необходимое для обеспечения требуемых параметров воздушной среды в рабочей зоне, рассчитывают:
а) для помещений с тепловыделениями — по избыточному количеству явной теплоты;
б) для помещений с тепло- и влаговыделениями — по избыточному количеству явной теплоты, влаги и скрытой теплоты в рабочей зоне;
в) для помещений с выделением вредных газов и пыли — по количеству вредностей, поступающих в рабочую зону, исходя из условий снижения их концентраций до предельно допустимых. Если неизвестно количество вредностей, выделяющихся в пределах рабочей зоны, то воздухообмен следует рассчитывать по всему помещению на основе полного количества выделяющихся в нем вредностей.
Воздухообмен, м3/ч, необходимый для поддержания температуры воздуха в помещении в заданных пределах,

где Q - избыточное количество теплоты, выделяемое всеми источниками внутри помещения, кДж/ч; с>м> - удельная массовая теплоемкость воздуха, равная 0,99 кДж/(кг • К);
Т>в-> нормативное значение температуры внутреннего воздуха в помещении, К; Т>н.>>в.> - расчетная температура наружного воздуха для проектирования систем вентиляции, К; р>н.в.> -плотность наружного воздуха, кг/м3.
Максимальную производительность систем вентиляции большинства зданий, необходимую для удаления избыточного количества выделяемой теплоты, определяют по летнему периоду с учетом теплоты от солнечной радиации.
Воздухообмен, требуемый для сохранения оптимальной относительной влажности воздуха в помещении,

Где W — количество водяных паров, выделяющихся в помещении г/ч; d>в >, d>н> — влагосодержание соответственно внутреннего и наружного воздуха при максимальном его насыщении и заданной температуре, г/кг; φ>в>, φ>н> — относительная влажность соответственно внутреннего и наружного воздуха, %.
Расчет воздухообмена для удаления избыточного тепла.
Исходные данные:
категория тяжести работ - IIа (средней тяжести); количество работников – 24 человека Fост=72м2;
Fп=432м2; Установочная мощность – 9,6кВт; Вид топлива – ЭП (электрическая печь);
расходуемая мощность светильников – 4,8 кВТ; количество воздуха, удаляемое через местные отсосы – L>0.3>=600м3/час; t>0.3>=36oC; t>п>=22оС;
Порядок расчета:
Количество тепла, поступающего от солнечной радиации:
Qост=F>ост>*q>ост>*A>ост>=72*140*0,7=7056Вт;
Для покрытий:
Q>п.рад>=F>п>*q>п>*К>п>=432*15*0,5=3240Вт;
F>ост> и F>п >– площадь поверхности остекления и покрытия, м2;
q>ост> и q>п> – теплопоступления (qост=70-210; qост=140Вт/м2; qп=6-24; qп=15Вт/м2)
А>ост> – коэффициент остекления
К>п> – коэффициент теплоотдачи покрытия
Тепловыделения в производственное помещение от оборудования, приводимого в движение электродвигателем.
Q=1000 N*n>1>*n>2>*n>3>*n>4>=1000*9.6*0.15=1440Вт;
Тепловыделения от электрических печей и ванн.
Q=1000 N*L*n=1000*9.6*0.7*1=6720Вт;
L – коэффициент, учитывающий долю тепла, выходящего в цех;
n – коэффициент одновременности работы печей
Тепловыделения от искусственного освещения.
Q=1000*N=1000*4.8=4800Вт;
5. Необходимое количество воздуха
L>1>=L>0.3 >+ (Q>я> – L>0.3>*C*p(t>0.3>-tn)/C*p*(t>yx>-t>n>));
Qя – избыток явного тепла в помещении
(Qя= 7056+3240+1440+6720+4800=23256 кДж/ч);
р – плотность поступающего воздуха; р=1,2 кг/см3;
t>yx> – температура воздуха, удаляемого из помещения за пределы рабочей или обследуемой зоны;
t>yx> =7+t>п>=7+22=29оС;
С – массовая удельная теплоемкость воздуха, С = 1кДж/кг*оС;
L>1>= 600+(23256-600*1*1.2(36-22)/1*1.2(29-22))=600+(23256-10080/8.4)=2168,6 м3/ч
Расчет естественной общеобменной вентиляции
Естественная вентиляция зданий и помещений обусловлена тепловым напором (разностью плотностей внутреннего и наружного воздуха) и ветровым напором. Согласно закону Гей—Люссака при нагревании воздуха на 1 К его объем увеличивается на 1/273, а плотность соответственно уменьшается. Следовательно, тепловой напор тем больше, чем значительнее разница температур наружного и внутреннего воздуха. В соответствии с указаниями СНиП 2.04.05—91 ветровой напор надлежит учитывать только при решении вопросов защиты вентиляционных проемов от задувания. Поэтому естественную вентиляцию рассчитывают, основываясь только на действии теплового напора.
Естественная вентиляция зданий осуществляется посредством удаления загрязненного воздуха с помощью вытяжных труб (шахт) и поступления чистого наружного воздуха через приточные каналы или неплотности в строительных конструкциях (рис. 2).
Разность давлений, Па, на концах вытяжной трубы:

где g = 9,81 м/с2 — ускорение свободного падения; h —длина вытяжной трубы, м; p>н>, p>в> - плотность соответственно наружного и внутреннего воздуха, кг/м3: при нормальном атмосферном давлении и температуре Т (К) плотность воздуха р = 353/ T (здесь 353 — переводной коэффициент).
ΔН=9,81*4*(1,3-1,19)=4,3 Па

Рис. 2 Схема действия естественной вентиляции зданий
Теоретическая скорость воздуха в вытяжной трубе, м/с,

V=(2*4,3/1,3)1/2=2,58 м/с
Действительная скорость движения воздуха в трубе меньше теоретической, так как на своем пути он преодолевает сопротивление, зависящее от формы поперечного сечения трубы и качества поверхности ее стенок. Эту скорость рассчитывают по формуле

где ψ = 0,32...0,65 — коэффициент, учитывающий сопротивление движению воздуха в вытяжной трубе; в расчетах принимают ψ = 0,5.
V>д>=4,43*0,5*(4*(1,3-1,19)/1,3)1/2=1,3 м/с
По найденному значению V>д> вычисляют суммарную площадь сечения вытяжных труб, м2,
S>r> = L/(3600 V>д>),
где L — требуемый воздухообмен, м3/ч.
S>r>=2168,6/(3600*1,3)=0,5
Число вытяжных шахт определяют, исходя из конструктивных размеров шахты:
n = S>r>/S,
где S — площадь поперечного сечения шахты, м2.
n=0,5/0,25=2
Для увеличения пропускной способности вытяжных шахт за счет использования энергии ветра на их верхних концах в некоторых случаях устанавливают дефлекторы (рис. 3). Дефлекторы устроены таким образом, что при обдувании их ветром площадь сечения участка,работа ющего на вытяжку, значительно больше, чем участка, работающего на приток
Рис. 3. Дефлекторы:
А - ЦАГИ: 1-колпак, 2-обечайка, 3-конус, 4 -диффузор, 5 - шахта; б -остроугольный: 1-фланец, 2-диффузор, 3- колпак, 4- корпус, 5 -лапка; в -звездообразный: 1- колпак, 2 -корпус, 3 -косынка для крепления корпуса к трубе

Рис. 4. Схема работы дефлекторов:
а — звездообразного (горизонтальный разрез); б— ЦАГИ (вертикальный разрез); + — зоны повышенного давления;-- -зоны разрежения
В результате разность давлений на концах вытяжной трубы увеличивается, поэтому воздухообмен также возрастает. Дефлектор подбирают по диаметру, м, вычисляемому по формуле

где L>д> — пропускная способность дефлектора, м3/ч; k>э> — коэффициент эффективности: для цилиндрического дефлектора ЦАГИ k>э> = 0,4, для звездообразного k>э>, = 0,42; V>B> — скорость обдувающего дефлектор воздуха, м/с.

Рис. 5 Принципиальная схема вентиляции для выбора соотношения объемов приточного и удаляемого воздуха:
а – L>в>>L>пр>,p>1><p>2>; б – L>в><L>пр>,p>1>>p>2>

Рис. 6 Схемы организации воздухообмена при общеобменной вентиляции
Расчет искусственной общеобменной вентиляции
В производственных помещениях широко применяют системы вентиляции с искусственным побуждением воздуха. Несмотря на повышенные затраты на их устройство и эксплуатацию, такие системы обладают следующими преимуществами: подача воздуха в любую точку помещения; обработка приточного воздуха посредством его нагрева, увлажнения и очистки от нежелательных примесей; улавливание вредностей непосредственно в местах их выделения; очистка удаляемого воздуха и использование его теплоты для нагрева подаваемого в помещение наружного воздуха.
В состав системы вентиляции входят: воздухозаборники в виде отверстий в конструкциях ограждений или шахт, оснащенных жалюзийными решетками; устройства для регулировки количества поступающего воздуха (клапаны, заслонки, шиберы); вентилятор, воздуховоды, фильтры, воздухораспределительные устройства и пр.
Для побуждения воздуха в системах вентиляции применяют центробежные и осевые вентиляторы. По создаваемому давлению центробежные вентиляторы делят на три группы: низкого давления — до 1000 Па, среднего давления — от 1000 до 3000 Па и высокого давления — свыше 3000 Па. Давление, создаваемое осевыми вентиляторами, как правило, не превышает 350 Па. Существуют крышные вентиляторы, устанавливаемые на кровлях зданий, которые могут быть как центробежными, так и осевыми.
В зависимости от состава перемещаемой среды вентиляторы изготовляют:
обычного исполнения — для перемещения неагрессивных сред с температурой менее 423 К, не содержащих липких веществ, при концентрации пыли и других твердых примесей менее 150 мг/м3;
антикоррозийного исполнения — для перемещения агрессивных сред;
взрывобезопасного исполнения — для перемещения взрывоопасных смесей;
пылевые — для перемещения воздуха с содержанием пыли более 150мг/м3.
Проектирование и расчет системы искусственной (механической) вентиляции выполняют в следующем порядке. Выбирают конфигурацию вентиляционной сети в зависимости от формы помещения и размещения в нем оборудования, разбивают ее на участки. Зная требуемый расход воздуха на отдельных участках сети и задавая скорость движения воздуха (для участков, находящихся рядом с вентилятором, 8...12 м/с, а для отдаленных участков сети 1...4м/с), определяют диаметр воздуховодов, а также материал для их изготовления. Затем рассчитывают общие потери напора в сети, Па,
н>с >= н>м> + н>п>> >,
Н>с>=1,28+0,12=1,4 Па
где Н>м> — местные потери; Н>п> — потери на прямых участках воздуховодов.
Местные потери напора, Па, определяют по формуле

Н>м>=0,5*0,5*22*1,28=1,28 Па
где ψ>м> — коэффициент местных потерь напора: для жалюзи на входе 0,5, для внезапного сужения 0,2...0,3, для колена под углом 90° 1,1, колена под углом 120° 0,5, колена под углом 150° 0,2 и т. д.; v — скорость воздуха на соответствующем участке вентиляционной сети, м/с; р — плотность движущегося в сети воздуха, кг/м3.
Потери напора на прямых участках вентиляционной сети, Па, находят по формуле

Н>п>=0,5*0,02*10*4*0,3=0,12 Па
Где ψ>T> — коэффициент сопротивления движению воздуха в трубе, зависящий от материала, из которого она изготовлена: для железных труб 0,02, для труб из полиэтилена 0,01; l>T>> >— длина трубы соответствующего участка сети, м; v>cp> — средняя скорость движения воздуха на расчетном участке вентиляционной сети, м/с; d>T>, — принятый диаметр трубы на расчетном участке, м.
Зная требуемый воздухообмен, рассчитывают производительность вентиляторов, м3/ч, с учетом потерь или подсосов воздуха в вентиляционной сети:

где k>л> — поправочный коэффициент на расчетное количество воздуха: при использовании стальных, пластмассовых и асбоцементных воздуховодов из труб длиной до 50 м k>п> = 1,1, в остальных случаях k>п> = 1,15.
L>в>=1,1*1000=11000 м3/ч
На основе известных величин L>B> и Н>с> по номограммам (рис. 7) выбирают марку вентилятора с наибольшим значением коэффициента полезного действия (КПД) и в зависимости от состава воздушной среды определяют конструктивное исполнение вентилятора.

Рис. 7. Номограмма для выбора вентиляторов серии Ц 4-70
Центробежные вентиляторы с колесами диаметром 0,5 м и более должны иметь следующий КПД: при лопастях, загнутых назад, >0,8; при лопастях, загнутых вперед, >0,6; при лопастях, оканчивающихся радиально, >0,65.
КПД пылевых вентиляторов должен быть не менее 0,55, осевых вентиляторов с колесами диаметром 0,5 м и более — не менее 0,6.
Мощность электродвигателя, кВт, для принятого вентилятора рассчитывают по формуле

Где k>з>= 1,05...1,5— коэффициент запаса; η>в> — КПД вентилятора: для центробежных вентиляторов η|>в> = 0,4. .0,8; η>п> — КПД передачи: для плоскоременной передачи 0,9, клиноременной 0,95, при соединении электродвигателя с вентилятором с помощью муфты 0,98, при непосредственной насадке вентилятора на вал электродвигателя 1.
Для снижения аэродинамического шума вентиляторов необходимо добиваться выполнения следующего условия:

где D — диаметр рабочего колеса вентилятора, м; n —частота вращения вентилятора, мин-1: n = A/(60N); А — безразмерный параметр, определяемый по номограммам при выборе вентилятора; N— номер вентилятора (диаметр его рабочего колеса в дециметрах).
Расчет местной вентиляции
Расчет производительности вытяжного зонта. Над оборудованием, являющимся источником выделения загрязненного вредными веществами нагретого воздуха (кузнечные горны, горячие ванны или печи и т. п.), чаще всего устанавливают вытяжные зонты. Преимущество такого вида местной вентиляции заключается в том, что нагретый воздух при движении вверх увлекает выделяющиеся пары, газы и аэрозоли, приближая их к зоне всасывания. Площадь зонта должна перекрывать поверхность выделения вредностей, а его рабочий проем - быть максимально приближен к источнику. Скорость движения воздуха в рабочем проеме зонта принимают в пределах 0,15...1,25 м/с, причем большие ее значения при большей токсичности выделяющихся веществ и меньшей площади перекрытия источника. Объем воздуха, отсасываемого зонтом за единицу времени (производительность), м3/ч, находят из выражения
L = 3600a6v,
где а,6 — размеры рабочего проема (приемной части) зонта, м; v — скорость движения воздуха в приемной части зонта, м/с.
L=3600*0,4*0,6*0,2=173 м3/ч
Расчет местной вентиляции наплавочных установок. Выделяющиеся при полуавтоматической и автоматической сварках и наплавке под слоем флюса пыль и вредные газы удаляются через воронкообразные отсосы или отсосы щелевидной формы длиной 250...350 мм. В этом случае производительность местной вытяжной вентиляции, м3/ч, рассчитывают по формуле

где k>0> — коэффициент, зависящий от вида отсоса: для щелевого 12, для воронкообразного 13,2; I—сварочный ток, А.
L=12*(1000)1/3=120 м3/ч

|
Рис. 8. Вытяжная вентиляция на рабочем месте сварщика: 1 — вентилятор; 2 — вытяжная труба; 3 — стол сварщика; 4 — стена |
Рис. 9. Схема вытяжной вентиляции заточного станка |
Расчет местной вентиляции обдирочно-заточных станков. Источником образования пыли часто служат точильные, шлифовальные и полировочные круги. Их закрывают кожухами (рис.9), которые через воздуховоды соединяют с вытяжным вентилятором, причем вытяжной воздуховод должен быть направлен в сторону центробежного перемещения пылевых частиц. Эффективность кожуха зависит от количества удаляемого через него воздуха и возрастает при наличии специального козырька в передней части кожуха. Производительность вентиляции, м3/ч, заточных, шлифовальных и аналогичных станков зависит от диаметра установленных в них абразивных кругов:
L=1000DA,
где D — диаметр абразивного круга, м; А — коэффициент, зависящий от диаметра круга: 2 при D<0,25м, 1,8 при D= 0,25...0,6м и 1,6 при D>0,6m.
L=1000*0.3*1.8=540 м3/ч
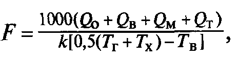
6.2.2 Кондиционирование воздуха
Кондиционирование — это процесс поддержания температуры, влажности и чистоты воздуха в соответствии с санитарно-гигиеническими требованиями, предъявляемыми к производственным помещениям. Одно из основных требований к системе кондиционирования воздуха — регулирование определенных соотношений между четырьмя переменными величинами: температурой воздуха; средневзвешенным значением температуры внутренних поверхностей ограждений (стены, пол, потолок); влажностью воздуха; средней скоростью и равномерностью движения воздуха внутри помещения.
Кроме того, системой кондиционирования воздуха должна регулироваться концентрация газов, паров и пыли в помещении. Если система предназначена для создания комфортных условий людям, то она должна также уменьшать запахи, выделяемые человеческим телом.
Кондиционером называют техническое устройство (рис.10), которое с помощью приборов автоматического регулирования поддерживает в помещении заданные параметры воздушной среды. В зависимости от предъявляемых требований по обеспечению необходимого состояния воздуха помещений кондиционеры бывают двух типов: полного кондиционирования (обеспечивают постоянными температуру, относительную влажность, скорость движения и чистоту воздуха) и неполного кондиционирования (поддерживают постоянными только часть параметров или один из них - чаще всего температуру).
По способу холодоснабжения различают автономные и неавтономные кондиционеры. В автономные кондиционеры для охлаждения воздуха встроены холодильные агрегаты, а неавтономные снабжают холодоносителем централизованно.
По способу подготовки и распределения воздуха кондиционеры делят на центральные и местные.
Конструкция центральных кондиционеров предполагает приготовление воздуха вне пределов обслуживаемых помещений и распределение его по системам воздуховодов. Их применяют в помещениях большого объема, так как производительность таких кондиционеров по воздуху сравнительно высока и составляет 30...250 тыс. м3/ч.
Местные кондиционеры подготавливают воздух непосредственно в обслуживаемых помещениях и подают его сосредоточенно в определенную зону. Их применяют в сравнительно небольших помещениях (объемом до 500 м3). Производительность таких кондиционеров по воздуху 1,5...20 тыс. м3/ч.
Кондиционирование воздуха по сравнению с вентиляцией требует больших капитальных вложений и эксплуатационных затрат, но вложенные денежные средства окупаются за счет повышения производительности труда и качества выпускаемой продукции, снижения заболеваемости работающих и процента бракованных изделий.
Рис. 10. Схема кондиционера:
1- заборный воздуховод; 2- фильтр; 3- соединительный воздуховод; 4- калорифер; 5- форсунки увлажнителя воздуха; 6- каплеуловитель; 7- калорифер второй ступени; 8- вентилятор; 9- отводной воздуховод.
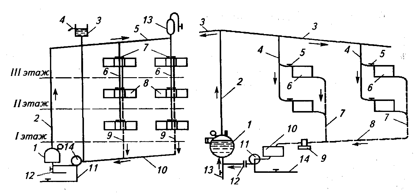
6.2.3 Отопление производственных помещений
Отопление предназначено для поддержания нормируемой температуры воздуха в производственных помещениях в холодное время года. Кроме того, оно способствует лучшей сохранности зданий и оборудования, так как одновременно позволяет регулировать и влажность воздуха. С этой целью сооружают различные системы отопления.
В холодный и переходный периоды года следует отапливать все здания и сооружения, в которых время пребывания людей превышает 2 ч, а также помещения, в которых поддержание температуры необходимо по технологическим условиям. Это требование не распространяется на помещения, где работа по условиям труда приравнивается к работе вне зданий или постоянное пребывание людей необязательно (например, склады, кладовые и т. п.). В последней ситуации следует предусмотреть специальные устройства на рабочих местах или дополнительные помещения для обогревания работающих.
В нерабочее время в отапливаемых помещениях зданий и сооружений различного назначения в холодный и переходный периоды года должна поддерживаться температура 5 °С, если это необходимо и допустимо по условиям производства. В данном случае мощность системы отопления должна быть достаточной для восстановления нормального температурного режима в помещениях к началу рабочего времени.
К системам Отопления предъявляют следующие санитарно-гигиенические требования: равномерный прогрев воздуха помещений; возможность регулирования количества выделяемой теплоты и совмещения процессов отопления и вентиляции; отсутствие загрязнения воздуха помещений вредными выделениями и неприятными запахами; пожаро- и взрывобезопасность; удобство в эксплуатации и ремонте.
Отопление производственных помещений по радиусу действия бывает местное и центральное.
Местное отопление устраивают в одном или нескольких смежных помещениях площадью менее 500 м2. В системах такого отопления генератор теплоты, нагревательные приборы и теплоотдающие поверхности конструктивно объединены в одном устройстве. Воздух в этих системах чаще всего нагревается за счет использования теплоты сгорающего в печах топлива (дров, угля, торфа и т. д.). Значительно реже в качестве своеобразных отопительных приборов применяются полы или стеновые панели со встроенными электронагревательными элементами, а иногда — электрорадиаторы. Существуют также воздушные (основной элемент — калорифер) и газовые (при сжигании газа в отопительных приборах) системы местного отопления.
Центральное отопление по виду используемого теплоносителя может быть водяное (рис. 11), паровое (рис. 12), воздушное и комбинированное. Системы центрального отопления включают в себя генератор теплоты, нагревательные приборы, средства передачи теплоносителя (трубопроводы) и средства обеспечения работоспособности (запорная арматура, предохранительные клапаны, манометры и пр.). Как правило, в таких системах теплота вырабатывается за пределами отапливаемых помещений.
Системы отопления должны компенсировать теплопотери через строительные ограждения, расход теплоты на нагрев нагнетаемого холодного воздуха, поступающих извне сырья, машин, оборудования и на технологические нужды.
При отсутствии точных данных о строительном материале ограждений, толщине слоев материалов ограждающих конструкций и вследствие этого невозможности определения термического сопротивления стен, потолков, полов, окон и прочих элементов расход теплоты приближенно определяют с помощью удельных характеристик.(5)

|
Рис. 11. Схема системы центрального водяного отопления с искусственным побуждением: / — котел; 2— главный горячий стояк; 3— расширительный сосуд; 4 — сливная труба; 5—водяная магистраль; б—горячие стояки; 7—вентили; 8— приборы отопления; 9 — стояки охлажденной воды; 10 — обратная магистраль; 11 — центральный водопровод; 12— канализация; 13— воздухосборник; 14— насос |
Рис. 12. Схема системы центрального парового отопления: I — паровой котел; 2— главный паровой стояк; 3 — паровая магистраль; 4 — паровые стояки; 5— паровые вентили; 6—нагревательные приборы; 7— конденсационные стояки; <?—конденсационная магистраль; 9— конденсационный горшок; 10 — сливной бак; II — насос; 12— обратный клапан; 13 — канализация; 14— центральный водопровод |
Расход теплоты через наружные ограждения зданий, кВт,

где q>0> — удельная отопительная характеристика здания, представляющая собой поток теплоты, теряемой 1 м3 объема здания по наружному обмеру в единицу времени при разности температур внутреннего и наружного воздуха в 1 К, Вт/(м3 • К): в зависимости от объема и назначения здания q>0> = 0,105...0,7 Вт/(м3 • К); V>н> — объем здания без подвальной части по наружному обмеру, м3; Т>в> — средняя расчетная температура внутреннего воздуха основных помещений здания, К; Т>н> — расчетная зимняя температура наружного воздуха для проектирования систем отопления, К: для Волгограда 248 К, Кирова 242 К, Москвы 247 К, Санкт-Петербурга 249 К, Ульяновска 244 К, Челябинска 241 К.
Q>0>=10-3*0,5*500*(295-248)=11,75 кВт
Расход теплоты на вентиляцию производственных зданий, кВт,

где q>в> — удельная вентиляционная характеристика, т. е. расход теплоты на вентиляцию 1 м3 здания при разности внутренней и наружной температур в 1 К, Вт/ (м3 • К): в зависимости от объема и назначения здания q>в> = 0,17...1,396 Вт/(м3 * К); Тн.в — расчетное значение температуры наружного воздуха для проектирования систем вентиляции, К: для Волгограда 259 К, Вятки 254 К, Москвы 258 К, Санкт-Петербурга 261 К, Ульяновска 255 К, Челябинска 252 К.
Q>в>=10-3*1,2*500*(295-260)=21 кВт
Количество теплоты, поглощаемое ввозимыми в помещения материалами, машинами и оборудованием, кВт,

где с>м> — массовая теплоемкость материалов или оборудования, кДж/(кг-К): для воды 4,19, зерна 2,1...2,5, железа 0,48, кирпича 0,92, соломы 2,3; m — масса ввозимых в помещения сырья или оборудования, кг; Т>м> — температура ввозимых в помещение материалов, сырья или оборудования, К: для металлов Т>м> = Т>н>, для несыпучих материалов Т>и> = Т>и> + 10, сыпучих материалов Т>м> = Т>н> + 20; τ — время нагрева материалов, машин или оборудования до температуры помещения, ч.
Q>м>=0,48*500*(295-282)/3600*1,5=0,58 кВт
Количество теплоты, потребляемой на технологические нужды, кВт,
определяют через расход горячей воды или пара:

где G>r> — расход на технологические нужды воды или пара, кг/ч: для ремонтных мастерских 100...120, на одну корову 0,625, на теленка 0,083 и т. д.; i — теплосодержание воды или пара на выходе из котла, кДж/кг; k>в >— коэффициент возврата конденсата или горячей воды, изменяющийся в пределах 0...0,7: в расчетах обычно принимают k>в> = 0,7; i>B> — теплосодержание возвращаемых в котел конденсата или воды, кДж/кг: в расчетах можно принять равным 270...295 кДж/кг.
Q>т>=100*(270-0,7*280)/3600=5,45 кВт
Тепловая мощность котельной установки Р>К> с учетом расхода теплоты на собственные нужды котельной и потерь в теплосетях принимается на 10...15 % больше суммарного расхода теплоты:
Р>к>=(1,1...1,15)( Q>0>+ Q>B>+ Q>M>+ Q>T>).
Р>к>=1,12*(11,75 +21+0,58 +5,45)=43,5 кВт
По полученному значению Р>к> подбирают тип и марку котла. Рекомендуется устанавливать однотипные котельные агрегаты с одинаковой тепловой мощностью. Число стальных агрегатов должно быть не менее двух и не более четырех, чугунных — не более шести. Следует учитывать, что при выходе из строя одного котла оставшиеся должны обеспечить не менее 75...80 % расчетной тепловой мощности котельной установки.
Для непосредственного обогрева помещений применяют нагревательные приборы различных видов и конструкций: радиаторы, чугунные ребристые трубы, конвекторы и пр.
Общую площадь поверхности нагревательных приборов, м2, определяют по формуле
'
где k — коэффициент теплопередачи стенок нагревательных приборов, Вт/(м2 • К): для чугуна 7,4, для стали 8,3; Т>r> — температура воды или пара на входе в нагревательный прибор, К: для водяных радиаторов низкого давления 338...348, высокого давления 393...398; для паровых радиаторов 383...388; T>х> — температура воды на выходе из нагревательного прибора, К: для водяных радиаторов низкого давления 338...348, для паровых и водяных радиаторов высокого давления 368.
F=1000*(11,75 +21+0,58 +5,45)/7.4*(0.5*(345+339)-295)=30 м2
По известному значению F находят требуемое число секций нагревательных приборов:

где f— площадь одной секции нагревательного прибора, м2, зависящая от его типа: 0,254 у радиаторов М-140; 0,299 у М-140-АО; 0,64 у МЗ-500-1; 0,73 у конвектора плинтусного типа 15КП-1; 1 у чугунной ребристой трубы диаметром 500 мм.
При использовании радиаторов МЗ-500-1 необходимо:
n=30/0,64=47 секций
Заключение
Микроклимат производственных помещений определяется сочетанием температуры, влажности, подвижности воздуха, температуры окружающих поверхностей и их тепловым излучением, а также атмосферного давления. Параметры микроклимата определяют теплообмен организма человека и оказывают существенное влияние на функциональное состояние различных систем организма, самочувствие, работоспособность и здоровье. Параметры микроклимата производственных помещений зависят от теплофизических особенностей технологического процесса, климата, сезона года, условий отопления и вентиляции.
Борьба с неблагоприятным влиянием производственного микроклимата осуществляется с использованием архитектурно-планировочных, инженерно-технологических, санитарно-технических, медико-профилактических и организационных мероприятий.
В профилактике вредного влияния высоких температур инфракрасного излучения ведущая роль принадлежит технологическим мероприятиям: замена старых и внедрение новых технологических процессов и оборудования, автоматизация и механизация процессов, дистанционное управление, использование систем вентиляции и кондиционирования.
Для предупреждения попадания в производственные помещения холодного воздуха необходимо оборудовать у входных ворот воздушные завесы, тамбуры-шлюзы.
При невозможности обогрева всего здания применяется воздушное и лучистое отопление. При работе на открытом воздухе в холодных климатических зонах страны устраиваются перерывы на обогрев в специально оборудованных тепловых помещениях.
В профилактике переохлаждения важную роль играет спецодежда, обувь, рукавицы (из шерсти, меха, искусственных тканей с теплозащитными свойствами, обогревающая одежда).
Способами улучшения метеорологических условий на рабочем месте является устройство систем искусственной вентиляции, кондиционирования и отопления производственных помещений.
Список литературы
Безопасность жизнедеятельности (медико-биологические основы) /Феоктистова О.Г., Феоктистова Т.Г, Экзерцева Е.В., М.:Феникс, 2006.
Безопасность жизнедеятельности. Учебник для студентов средних проф. учеб. Заведений // Под ред. С.В. Белова.—М.: Высш. шк., 2000.—343с.: ил.
Гигиенические требования к организации технологических процессов, производственному оборудованию и рабочему инструменту. СП 2.2.2.1327-03
ГОСТ 12.1.005-88 "Общие санитарно-гигиенические требования к воздуху рабочей зоны".
Б.И. Зотов, В.И. Курдюмов Безопасность жизнедеятельности на производстве. – М.: КолосС, 2004.
Методические рекомендации "Оценка теплового состояния человека с целью обоснования гигиенических требований к микроклимату рабочих мест и мерам профилактики охлаждения и перегревания" N 5168-90 от 05.03.90.
Мучин П.В. Безопасность жизнедеятельности: Учебное пособие для вузов. Новосибирск: СГГА, 2003.
Охрана окружающей среды: учеб. для техн. спец. вузов/ С. В. Белов, Ф.А. Барбинов, А.Ф. Козьяков и др./ под ред. С.В.Белова.- М.: Высшая школа, 1991.
Руководство Р 2.2.013-94. Гигиена труда. Гигиенические критерии оценки условий труда по показателям вредности и опасности факторов производственной среды, тяжести и напряженности трудового процесса. Госкомсанэпиднадзор России, М, 1994.
9. Руководство Р 2.2.4/2.1.8. Гигиеническая оценка и контроль физических факторов производственной и окружающей среды
10. Санитарные правила и нормы СанПиН 2.2.4.548-96 "Гигиенические требования к микроклимату производственных помещений"
11. Седельников Ф.И. Безопасность жизнедеятельности (охрана труда)/ Учебное пособие (электронная версия). – Вологда, 2001.
12. Строительные нормы и правила. СНиП 2.01.01. "Строительная климатология и геофизика".
13. Строительные нормы и правила. СНиП 41.01-2003 "Отопление, вентиляция и кондиционирование".
14.Титов И.К. Основы безопасности жизнедеятельности. - М., 1996
15. http://truddoc.narod.ru
Приложение
Таблица 1
Время пребывания на рабочих местах при температуре воздуха выше допустимых величин

Таблица 2
Время пребывания на рабочих местах при температуре воздуха ниже допустимых величин

Таблица 3
Требования к измерительным приборам
