Исследование радиоэлектронных схем с использованием их виртуальных аналогов
Цель работы
Осуществить связь между программными средствами NI MultiSim 10.1 и NI LabVIEW 8.5 с помощью дополнения Multisim Automation with the LabVIEW Multisim Connectivity Toolkit (beta);
Ознакомиться и научиться пользоваться инструментами добавления Multisim Automation with the LabVIEW Multisim Connectivity Toolkit (beta);
Собрать исследуемую модель лабораторного макета «входная цепь бытовых радиоприемников» – «схема с внутриемкостной связью с антенной и внутриемкостной связью с нагрузкой» по дисциплине «устройства приема и обработки сигналов» в программной среде NI LabVIEW, с использованием Multisim Automation with the LabVIEW Multisim Connectivity Toolkit (beta).
Введение
В современном мире, мире компьютеризации, человек уже не может обходиться без компьютеров и специального программного обеспечения для достижения каких-либо целей. Все производство требует участие компьютерных технологий. Другими словами, компьютер – облегчает жизнь человека, а именно ускоряет требуемое время, экономит денежные средства и увеличивает качество и количество производимых товаров в производстве.
Но по сей день появляются некоторые трудности, связанные со спецификой программного обеспечения.
В предприятиях, которые занимаются разработкой различных РЭС, используют множество программных пакетов, позволяющие ускорить проектируемый процесс, устранить множество ошибок, возникшие при проектировании, и т.п. эти программные средства известны как САПР – система автоматического проектирования.
В процессе обучения, для исследования различного рода схем, в отсутствии реальных, мы использовали их виртуальные аналоги, с помощью САПР Electronics Workbench. Спустя некоторое время, эта САПР развивалась и переросла уже в САПР NI MultiSim. И на данный момент, исследования схем проводятся с помощью этой программного средства.
MultiSim разработана компанией National Instrument. Ею так же разработан ряд других программных средств, таких как Ultiboard, LabVIEW, Signal Express и т.д. Одной из особенностей этих программных средств является способность обмениваться между собой различными данными. Что позволяет сделать проектирование универсальным в своей области.
Что такое MultiSim?
Multisim – это уникальная возможность разработки схемы и ее тестирования/эмуляции из одной среды разработки. У такого подхода есть множество преимуществ. Новичкам в Multisim не нужно беспокоиться о сложном синтаксисе SPICE (Simulation Program with Integrated Circuit Emphasis – программа эмуляции со встроенным обработчиком схем) и его командах, а у продвинутых пользователей есть возможность настройки всех параметров SPICE.
Благодаря Multisim описание схемы стало как никогда простым и интуитивно понятным. Представление в виде электронной таблицы позволяет одновременно изменять характеристики любого количества элементов: от схемы печатной платы до модели SPICE. Безрежимное редактирование – это наиболее эффективный способ размещения и соединения компонентов. Работать с аналоговыми и цифровыми составными элементами интуитивно просто и понятно.
Кроме традиционного анализа SPICE, Multisim позволят пользователям подключать к схеме виртуальные приборы. Концепция виртуальных инструментов – это простой и быстрый способ увидеть результат с помощью имитации реальных событий.
Также в Multisim есть специальные компоненты под названием «интерактивные элементы" (interactive parts), вы можете изменять их во время эмуляции. К интерактивным элементам относятся переключатели, потенциометры, малейшие изменения элемента сразу отражаются в имитации.
При необходимости более сложного анализа Multisim предлагает более 15 различных функций анализа. Некоторые примеры включают использование переменного тока, Монте-Карло, анализ наиболее неблагоприятных условий и Фурье. В Multisim входит Grapher – мощное средство просмотра и анализа данных эмуляции.
Функции описания и тестирования схемы, представленные в Multisim помогут любому разработчику схем, сэкономят его время и спасут от ошибок на всем пути разработки схемы.
Что такое LabVIEW?
До недавних нор специалисты при решении задач в собственной предметной области были вынуждены прибегать к помощи профессиональных программистов, как правило, не являющихся носителями знаний в этой области. Такое посредничество чаще всего увеличивало материальные и временные издержки, а самое главное, снижаю качество исследований и разработок. Даже использование специализированных программных средств лишь частично снимало эту проблему. Появление программных продуктов последнего поколения с весьма дружественными интерфейсами, адаптированных к менталитету и профессиональным навыкам специалистов, сделало возможным их использование специалистами напрямую, не прибегая к помощи посредников. К таким новым программным продуктам относится LabVIEW имеющий весьма удобный пользовательский интерфейс и мощные средства графического программирования. С каждой последующей версией LabVIEW возрастает уровень интеллектуализации интерфейса пользователя и удобство его использования.
LabVIEW является идеальным программным средством для создания систем измерения, а также систем автоматизации управления на основе технологии виртуальных приборов. LabVIEW – программа в комплексе с такими аппаратными средствами, как встраиваемые в компьютер многоканальные измерительные аналого-цифровые платы, платы захвата и синхронизации видеоизображения для систем машинного зрения, платы управления движением и исполнительные механизмы, а также измерительные приборы, подключаемые к компьютеру через стандартные интерфейсы RS-232, RS-485, USB, GPIB (КОП), PXI, VXI, позволяет разрабатывать системы измерения, контроля, диагностики и управления практически любой сложности.
LabVIEW имеет собственную мощную математическую поддержку. Кроме того, LabVIEW может интегрировать в себя программы, написанные в среде MatLab. Большое количество встроенных алгоритмов цифровой обработки одномерных и двумерных сигналов позволяет осуществлять весьма сложную обработку сигнала, изображения и экспериментальных данных во временной, пространственной и спектральной областях. Программная среда LabVIEW постоянно расширяется новыми средствами обработки сигналов на основе вейвлет-анализа, алгоритмов нечеткой логики, сетевых технологий и т.д.
Роль программных сред, подобных LabVIEW, в научных исследованиях и технических экспериментах весьма велика. В настоящее время в науке наблюдается своего рода «ренессанс» эксперимента. Вызвано это развитием и совершенствованием измерительной техники и появлением нового поколения высокоточных и высокочувствительных измерительных приборов и автоматизированных измерительных систем, с помощью которых регистрируются тонкие эффекты 3-4-го порядка малости. Несмотря на свою «малость», эти эффекты часто играют ключевую роль в формировании основного явления, влияния на качество конечной продукции и т.д. Анализ подобных эффектов, как правило, оказывается вне досягаемости теоретических моделей. Поэтому в большинстве случаев эксперимент является единственным источником качественно новой и надежной информации. При этом результат достигается гораздо быстрее, чем методами «чистой» теории. Зачастую это выгодно и экономически, так как рядовой экспериментатор, вооруженный современным инструментарием, подобным LabVIEW, может достаточно скоро получить нужную информацию.
Традиционно для исследователя функции моделирования и экспериментирования разделены. Моделирование осуществляется в среде математических программных пакетов, а эксперименты поддерживаются другими программными средствами, что отнюдь не повышает эффективность исследований. Эффективность использования среды LabVIEW в научных исследованиях состоит в том, что, оставаясь в ее рамках, можно разрабатывать как математическую модель объекта, так и снабжать эту модель экспериментальными данными с помощью аппаратных средств ввода-вывода, сопряженных с реальным объектом.
Перспектива использования LabVIEW для продления испытаний и проверки
Инженер проектировщик, имея теоретические знания в различных областях, может производить различные анализы, получать, вычислять, преобразовать и сравнивать необходимые данные. Т.е. LabVIEW гибкий в своем использовании, за счет обширного набора функций.
Проведение испытаний и проверки проводится большей точностью и скоростью, по сравнению с MultiSim.
Позволяет пользователю делать лицевую панель удобную для регулировки и визуализации.
Существует онлайн режим, благодаря чему пользователю предоставляется возможность проводить испытания с использованием специального высокопроизводительного оборудования посредством интернет обмена.
Имея эти и другие достоинства, LabVIEW идеально подходит для проведения испытаний и проверки РЭС.
До октября 2008 года пользователь мог осуществлять связь между
MultiSim и LabVIEW только посредством экспорта данных через «Grapher», и интегрировать созданные виртуальные приборы (ВП) LabVIEW в MultiSim вручную. Это и многое другое затрудняло работу пользователя. 7 октября 2008 года вышла статья An Introduction to Multisim Automation with the LabVIEW Multisim Connectivity Toolkit (beta) [1], в которой рассказывается о осуществления связи LabVIEW и MultiSim посредством дополнительных инструментов. Благодаря этому дополнению устранены выше упомянутые недостатки.
СВЯЗЬ «MULTISIM + LABVIEW»
Используя дополнение An Introduction to Multisim Automation with the LabVIEW Multisim Connectivity Toolkit (beta) инженеру достаточно собрать схему РЭС в MultiSim, согласно определенному правилу (см. ниже) и произвести моделирование в LabVIEW в зависимости от того, что хочет получить сам инженер.
Каким образом происходит эта связь?
MultiSim Automation API позволяет производить и получать данные моделирования MultiSim через COM-интерфейс. Т.е. API позволяет программно управлять моделированием MultiSim без необходимости просмотра в MultiSim. Таким образом, клиенты, написанные на любом COM-Aware языке программирования, таких как NI LabVIEW, могут получать доступ к MultiSim через этот интерфейс, а так же управлять и получать данные моделирования движка.
Через API можно:
Открывать и закрывать существующие схемы MultiSim/
Изменить сигнал в месте установленного источника тока или напряжения.
Управлять запуском, остановкой, паузой и т.п. моделирования.
Получать результаты моделирования от установленного «пробника».
Получить перечисления компонентов схемы.
Заменить компоненты компонентами из базы данных.
Получить и установить значения резисторов, конденсаторов и катушек индуктивности.
Перечислять варианты.
Получить и установить активный вариант для моделирования.
Создать отчет по схеме, включая перечень элементов и список соединений.
Получить изображение схемы.
Изменять и заменить компоненты схемы на верхнем уровне проектирования, компоненты подсхем и иерархические блоки не могут быть изменены.
Подготовка схемы в MultiSim
Настройка входов
Используя API можно менять значение источника сигнала (питания). Для этого необходимо в схеме установить этот источник. В зависимости от надобности, источников может несколько, и нужно установить их там где понадобится их контролирование.
Установка источника:
Выберите Place → Component
Database установите Master Database
Group установите Sources
В Family выберите POWER_SOURCES
Здесь выбираем AC_POWER или DC_POWER
Настройка выходов
Для того чтобы API понял с какой ветви схемы нужно брать сигнал необходимо установить «Пробник» (Probe). Каждый «Пробник» в схеме должен иметь свое индивидуальное имя.
Установка «Пробника»:
Выберите Simulate → Instruments → Measurement Probe
Подключите «Пробник» к интересующей ветви
Дважды щелкните по «Пробнику»
Выберите вкладку «Monitor»
В разделе RedDes введите имя «Пробника». Для ветви, которое является выходом, используют имя «output».
Multisim Automation with the LabVIEW Multisim Connectivity Toolkit (beta)
Как было сказано выше, Multisim Automation with the LabVIEW Multisim Connectivity Toolkit (beta) позволяет связывать схему в MultiSim с LabVIEW через Multisim Automation API. Инструменты Multisim Automation API, такие как открытие, закрытие, просмотр схемы, запуск, пауза и т.п., представлены в LabVIEW как ВП.
Данное дополнение можно найти по адресу ni.com/labs.
После установки Multisim Automation with the LabVIEW Multisim Connectivity Toolkit (beta) новую палитру ВП можно найти в Functions → Connectivity → Multisim, а так же в Functions → Addons → Multisim (см. рис.1).

Рис.1. Палитра MultiSim Automation API
Подключаемые функции
|
Подключаемые функции |
Описание |
|
|
Эти ВП позволяют подключать и отключать движок Multisim. |
|
|
Эти ВП позволяют открыть, сохранить, создать новый пустой файл Multisim, увидеть имя файла и схемы. |
|
|
Для моделирования существуют различные элементы ввода/вывода. Эти ВП ввода/вывода позволяют получить, установить и удалить элементы ввода/вывода при моделировании. |
|
|
Эти ВП позволяют контролировать процесс моделирования: запуск, пауза, остановка, возобновление и т.п. Также производить частотные характеристики и контролировать процесс с помощью команд командной строки (SPICE). |
|
|
Эти ВП позволяют изменять значения компонентов схемы. |
|
|
Здесь часть ВП позволяют обрабатывать ошибки и часть ВП – утилиты, которые позволяют LabVIEW согласовываться с automation API. |
Полиморфные функции
Для облегчения многие из функций LabVIEW являются полиморфными, т.е. один блок имеет несколько функций. Например, если рассмотрим функцию Log File (Файл Журнала), то можем увидеть что он может иметь одно из трех подфункций:
Get the Log File Path (Получить путь к Файлу Журналу);
Set the Log File Path (Установить путь к Файлу Журналу);
Disable the Log File Path (Отключить путь к Файлу Журналу).
Имеющиеся полиморфные функции и связанные с ними подфункции:
|
Функция |
Подфункция |
|
Enum Inputs |
1D String Array Variant |
|
Enum Outputs |
1D String Array Variant |
|
Set Input Data |
Raw Sampled |
|
Clear Input |
Input All Inputs |
|
Clear Output |
Output All Outputs |
|
AC Sweep |
String 1D String Array Variant |
|
Save |
Save Save As… |
|
Enum Components |
1D String Array Variant |
|
Active Variant |
Get Set |
|
RLC Value |
Get Set |
|
Last Error Message |
From Application From Circuit |
|
Report |
BOM (Real, Virtual, Txt, Csv) Netlist (Probes, No Probes, Txt, Csv) |
|
Log File |
Get Set Disable |
|
Multisim Path |
Get Set |
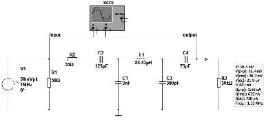
Модель лабораторного макета «входная цепь бытовых радиоприемников» – «схема с внутриемкостной связью с антенной и внутриемкостной связью с нагрузкой»
Используя вышеупомянутые инструкции соберем схему с внутриемкостной связью с антенной и внутриемкостной связью с нагрузкой входной цепи бытовых радиоприемников (см. рис.2). На вход реального лабораторного макета подается синусоидальный сигнал с ВЧ генератора амплитудой 50 мВ и частотой, изменяемой в пределах 600…1400 кГц. Поэтому в схеме собранной в Multisim установим источник переменного напряжения – DC_POWER. Конечно, далее, уже в LabVIEW значение источника будем менять по частоте в заданном диапазоне, но для правильной синхронизации программных средств, нам нужно установить любое значение. Поэтому выбрано значение чатоты 1 МГц. R3 является нагрузкой схемы, поэтому выбор ветви пал на ветвь «output». Куда и устанавливаем «пробник». Изменим имя пробника с «Probe1» на «output». На этом подготовка в среде Multisim закончена.

Рис.2. Схема в Multisim
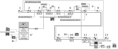
Переходим к сборке модели исследования в LabVIEW. Связь будет осуществляться таким образом:

Рис.3. Обмен данными между MultiSim и LabVIEW модели
Сборку модели начнем с установкой необходимых ВП в окне Block Diagram LabVIEW. Расположим блоки по их надобности (см. рис.4).
Включаем «движок» Multisim;
Открываем файл cхемы в MultiSim;
Определяем входной источник входного сигнала;
Включаем блок, с помощью которого можно подавать сигнал из LabVIEW в исследуемую схему в MultiSim, через источник V1;
4'. Генератор, с помощью которого подается сигнал на блок синхронизации с MultiSim;
Устанавливаем значение ферровариометра L1;
Определяем местоположение «Пробника»;
Определяем какие данные нужно получить из «Пробника»;
Запускаем моделирование в MultiSim (кстати, в этот момент начинает работать MultiSim в фоновом режиме);
Получаем данные после моделирования;
Смотрим, изменилось ли значение ферровариометра L1;
Выводим необходимые данные для контроля сигнала, в нашем случае на осциллограф и на вольтметр;
Останавливаем моделирование;
Отключаем «движок» MultiSim;
Осциллограф.
Далее переходим в окно Front Panel в LabVIEW. Здесь установим и разместим необходимые инструменты контроля (см. рис.5)
Полученная виртуальная модель лабораторного макета полностью соответствует реальному лабораторному макету.

Рис.4. Блок диаграммы лабораторного макета

Рис.5. Лицевая панель лабораторного макета
Заключение
Проделанная работа позволяет с уверенностью сказать
Проектирование занимает меньшее время, сил и денежных средств.
С помощью данного дополнения инженер с легкостью может продемонстрировать функциональность разрабатываемого устройства.
Студенты могут выполнять лабораторные работы используя виртуальные лабораторные макеты, например как представленный в данном докладе. И т.к. этот любой виртуальный макет можно размножить, то за одно занятие все студенты могут выполнять одну и ту же лабораторную работу, используя каждый свой макет. А это позволяет лучше понять лекционный курс, т.к. студент уже имеет все необходимые знания. А так же студент может выполнить лабораторную работу дома, используя при этом свой ПК.
Если рассматривать второй и третий пункты достоинств, то при исследовании устройства, можно выявить еще одно достоинство: выход из строя виртуального устройства–макета невозможен.
В [2] предложены модели исследования по дисциплине «Электродинамика и распространение радиоволн». Смею предположить, что благодаря дополнению можно исследования передатчика, передачи и прием сигнала объединить в единое целое.
И еще можно выявить ряд не перечисленных выше достоинств…
Список использованной литературы
http://zone.ni.com/devzone/cda/tut/p/id/7785 An Introduction to Multisim Automation with the LabVIEW Multisim Connectivity Toolkit (beta).
Евдокимов Ю.К., Линдваль В.Р., Щербаков Г.И. LabVIEW для радиоинженера: от виртуальной модели до реального прибора. Практическое руководство для работы в программной среде LabVIEW. – М: ДМК Пресс, 2007. – 400 с.
National Instruments. Введение в Multisim. Трехчасовой курс.





