Оценка условий труда на рабочем месте и разработка комплекса мероприятий по их улучшению
Балтийский государственный технический университет
«Военмех» им. Д.Ф.Устинова
Расчетно-графическая работа
Оценка условий труда на рабочем месте и разработка
комплекса мероприятий по их улучшению
14 вариант
Выполнил:
Студент Степурин Р.А.
Санкт-Петербург 2010г.
Введение
Обеспечение широких возможностей для высокопроизводительной и творческой работы, улучшение условий труда – одно из важнейших направлений экономической и социальной политики нашего государства. Условия труда существенно влияют на состояние здоровья трудящихся, производительность труда, на основные экономические показатели деятельности предприятий. Основная задача охраны труда – создание безопасных и здоровых условий труда.
Работа по улучшению условий труда на предприятии начинается с анализа и оценки их состояния.
Карта условий труда на рабочем месте
Цель работы: оценка степени опасности и вредности производственной среды и разработка комплекса технических средств безопасности, нормализующих условия труда.
Исходные данные представлены в Таблице 1.
Таблица 1.1
|
Цех (участок) |
Термостатирования и гидроиспытаний |
|
|
Профессия |
слесарь-сборщик |
|
|
Количество рабочих мест Численность рабочих |
4 30 |
|
|
Наименование оборудования |
термостаты (воздушный нагрев) |
|
|
Время работы в течение смены, мин |
480 |
|
|
Фактическое состояние факторов производственной среды |
ВВ. Класс опасности Превышение ПДК в число раз |
III 5 |
|
АПФД. Класс опасности Превышение ПДК в число раз |
III 5 |
|
|
Шум. Эквивалентный уровень звука, дБА |
105 |
|
|
Шум. Уровни звуков. давления, дБ Частота, Гц |
105 31.5 |
|
|
ИЗ. Уровни звуков. давления, дБ Частота, Гц |
115 8 |
|
|
УЗ. Уровни звуков. давления, дБ Частота, кГц |
113 20 |
|
|
Вибрация общая. Виброскорость, дБ Частота, Гц |
110 8 |
|
|
ТНС-индекс. Категория работ С○ |
IIа 26 |
|
|
Освещение. Разряд зрит. раб. Езад / Ен |
IVa 0.6 |
|
|
Неионезирующие излучения. Превышение ПДУ (раз) Частота, МГц |
8 15 |
|
|
Тяжесть труда, кг |
80 |
|
|
Число переключений в час |
130 |
Присвоение классов условий труда
Определяем фактическое состояние условий труда на рабочих местах по факторам с учётом гигиенической классификации труда [1].
Присвоение классов условий труда по химическому фактору
Вредное вещество имеет III класс опасности (умеренно опасное вещество), его концентрация превышает ПДК в 5 раз. Класс опасности условий труда по содержанию вредных химических веществ в воздухе рабочей зоны определяется как 3.2.
Вредное вещество, содержащееся в воздухе рабочей зоны – пыль двуоксида кремния (кристаллического). ПДК = 1,0 мг/м3
Исходная величина для расчета устройства нормализации: 1,0*5 = 5,0 мг/м3.
Присвоение классов опасности условий труда по наличию в воздухе рабочей зоны аэрозолей преимущественно фиброгенного действия
АПФД имеет III класс опасности, его концентрация превышает ПДК в 5 раз. Класс опасности условий труда по содержанию АПФД в воздухе рабочей зоны определяется как 3.3.
АПФД, содержащимися в воздухе рабочей зоны, принимаем керамику. ПДК = 2 мг/м3.
Исходная величина для расчета устройства нормализации: 2*5 = 10 мг/м3
2.3 Присвоение классов опасности условий труда по шуму, инфразвуку, ультразвуку, вибрации
В соответствии с данным характером выполняемых работ, предельно допустимый эквивалентный уровень звука составляет 80 дБА; ПДУ звукового давления равен 107 дБ; ПДУ инфразвука равен 90 дБ; ПДУ ультразвука 100 дБ; предельно допустимое значение виброскорости 93 дБ.
Тогда:
Экв.ур.зв.: 105 80 = 25 ≤ 25 – 3-я степень 3-го класса вредных условий труда.
Инфразвук: 115 90 = 25 > 20 – 4-й класс опасных (экстрем.) условий труда.
Ультразвук: 113 100 = 13 < 20 – 2-я степень 3-го класса вредных условий труда.
Вибрация общ.: 110 93 = 17 < 20 – 4-я степень 3-го класса вредных условий труда.
2.4 Присвоение класса опасности условий труда при воздействии неионизирующих излучений
В соответствии с вариантом, частота э/м излучений – 15 МГц, превышение ПДУ – в 8 раз. Это обуславливает 3-ю степень 3-го класса вредных условий труда.
2.5 Присвоение класса опасности условий труда в соответствии с гигиеническими требованиями к микроклимату производственных помещений
В соответствии с вариантом, категория работ - IIа, температура – 26 C○. Это обуславливает 2-ю степень 3-его класса вредных условий труда по ТНС-индексу.
2.6 Присвоение класса опасности условий труда в соответствии с показателями световой среды
В соответствии с вариантом, разряд зрительной работы – IVа, Езад = 0,6 Ен. Это обуславливает 1-ую степень 3-его класса вредных условий труда.
Нормируемая величина освещенности на рабочем месте для данного разряда, подразряда зрительной работы: 750 лк (система комбинированного освещения).
2.7 Присвоение классов опасности условий труда в соответствии с показателями тяжести и напряженности трудового процесса
В соответствии с вариантом, тяжесть труда составляет 80 (кг, масса поднимаемого и перемещаемого груза вручную). Это обуславливает 2-ую степень 3-его класса вредных условий труда, т.е. вредный (тяжелый) труд.
Время работы за смену составляет 8 часов, что обуславливает 2-й класс допустимых условий труда, т.е. напряженность труда средней степени.
Результаты работы по присвоению классов условий труда занесены в сводную таблицу: см. Таблица 2.
Таблица 2.
|
Фактор |
Класс условий труда |
||||||
|
Оптимальный |
Допустимый |
Вредный |
Опасный (экстрем.) |
||||
|
1 |
2 |
3.1 |
3.2 |
3.3 |
3.4 |
4 |
|
|
Химический |
|||||||
|
Аэрозоли ПФД |
|||||||
|
Шум |
|||||||
|
Инфразвук |
|||||||
|
Ультразвук |
|||||||
|
Вибрация общая |
|||||||
|
Неионизирующие излучения |
|||||||
|
Микроклимат |
|||||||
|
Освещение |
|||||||
|
Тяжесть труда |
|||||||
|
Напряженность труда |
|||||||
|
Общая оценка условий труда |
3. Разработка мероприятий по улучшению условий труда
По составленной карте условий труда видно, что на рабочем месте превышены ПДК и ПДУ по следующим факторам:
Вредные вещества
АПФД
Вибрация
Шум
Инфразвук
Ультразвук
Неионизирующие излучения
Микроклимат
Освещение
Тяжесть труда
3.1 Расчет средств защиты по установленным ОВПФ
Расчёт виброизоляции
Средства и методы защиты от вибрации, применяемые для защиты работающих, по отношению к защищаемому объекту подразделяются на:
методы и средства индивидуальной защиты:
по месту контакта оператора с вибрирующим объектом,
по форме исполнения;
методы и средства коллективной защиты:
снижение вибрации в источнике образования,
вибродемпфирование,
виброизоляция,
виброгашение колебаний.
Для снижения вибрации от источника вибрации необходимо провести его виброизоляцию. Основу большинства виброзащитных средств составляют виброизоляторы. По конструкции виброизоляторы, применяемые в машиностроении, подразделяются на:
пружинные,
пневматические,
цельнометаллические,
комбинированные,
резинометаллические,
резиновые.
Резиновые виброизоляторы имеют форму параллелепипедов или цилиндров, которые могут быть сплошными или пустотелыми. Резиновые элементы должны иметь конструкцию, допускающую деформацию в боковые стороны.
Расчет эффективности виброизоляции:
Превышение вибрации на рабочем месте L = 110 93 = 17 дБ. Частота fВ = 8 Гц в соответствии с заданием. Т.к. требуемое снижение вибрации приближённо равно её эффективности, то можно найти fС (частота собственных колебаний виброизолируемого объекта, Гц).
LВ = 20*lg (fВ / fС) L = 17.
Отсюда fC = 1.13 Гц.
Пусть масса установки равна 1000 кг, тогда жёсткость виброизоляторов
K = (P*fC 2)/25 = 510.76 (кг*с)/см.
Установка установлена на четырёх одинаковых виброизоляторах
k = K/n = 127.7 (кг*с/см).
Такой жёсткости соответствует стандартный виброизолятор типа АКСС-15М [5].
В итоге вибрация снижена до 93 дБ, т.е. до нормы.
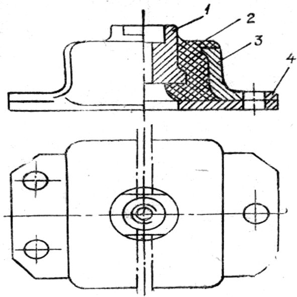
Виброизолятор типа АКСС:
1 – несущая планка-втулка;
2 – резиновый массив;
3 – скоба;
4 – нижняя планка.
Расчёт и проектирование средств шумозащиты
Повышенный шум является одним из наиболее распространенных вредных и опасных производственных факторов. Повышенный шум воздействует как на органы слуха, так и на весь организм.
Средства и методы коллективной защиты от шума в зависимости от способа реализации подразделяются на: акустические; архитектурно-планировочные (рациональное размещение рабочих мест, оборудования, машин, механизмов, рациональная планировка здания); организационно-технические (применение малошумных технологических процессов, малошумных машин, оснащение шумных машин средствами дистанционного управления и автоматического контроля).
Акустические средства защиты от шума в зависимости от конструкции подразделяются на: средства звукоизоляции; звукопоглощения (звукопоглощающие облицовки); виброизоляции (виброизоляторы, упругие прокладки); демпфирования.
Средства звукоизоляции являются основными средствами защиты от шума в машиностроении. Звукоизолирующие перегородки устанавливаются там, где необходимо отделить источник повышенного шума от остального помещения. Звукоизолирующие кабины устанавливаются в шумных помещениях для наблюдения или управления разнообразными технологическими процессами. Звукоизолирующие капоты устанавливаются на источники повышенного шума, расположенные в помещение, обслуживание которых не требует непосредственного доступа к ним или автоматизировано. Акустические экраны устанавливаются вблизи шумных источников, создавая за ними зону акустической тени.
Для защиты от ультразвукового воздействия приемлемы те же методы и способы, которые применимы к акустическому излучению в слышимом диапазоне.
Зададим размеры источника шума. Пусть l = 1 м, lmax = 2 м. По заданию расчёт произвожу для частоты 31.5 Гц. УЗД>31.5 >= 95-5 = 90 дБ = L
Одним из эффективных способов снижения шума в производственных помещениях является устройство звукоизолирующих кожухов, полностью закрывающих наиболее шумные агрегаты.
Рассчитаем такой кожух. Требуемая акустическая эффективность звукоизолирующего кожуха определяется по формуле:
Lэф тр = L – Lдоп + 5 = 90 – 80 + 5 = 15 дБ.
Акустическая эффективность кожуха определяется по формуле:
Lкож = Rк + 10*lg – отв;
где – приведённый коэффициент звукоизоляции кожуха; отв – поправка на уменьшение звукоизоляции за счёт наличия отверстий, при площади отверстий до 5% от общей площади ограждений кожуха, принимается отв = 35 дБ; Rк – звукоизолирующая способность стенки кожуха (определяется поверхностной плотностью и жёсткостью, и увеличивается при нанесении на стенку кожуха слоя звукопоглощающего материала).
= (обл * Sобл + н * Sн + отв * Sотв + ист * Sист ) / (Sобл + Sн + Sотв + Sист);
где обл – коэффициент звукопоглощения звукопоглощающей облицовки; Sобл – площадь звукопоглощающей облицовки; н – коэффициент звукопоглощения необлицованных областей; Sн – площадь необлицованных областей; отв – коэффициент звукопоглащения отверстий; Sотв – площадь отверстий; ист – коэффициент звукопоглащения источника;
Sист – площадь источника.
Пусть обл = 0, н =0.01, ист = 0.03, отв = 1, Sобл = 0, Sн = 3, Sист =2, Sотв = 3* Sн/100 = 0.09, тогда = 0.035, 10*lg = – 14.56.
Требуемая звукопоглощающая способность стенки кожуха определяется по формуле:
Rк тр = Lэф тр + отв – 10*lg = 15 + 5 + 14.56 = 34.5 дБ;
Rк > Rк тр Rк = 50 дБ; Lкож = 50 – 14.56 – 5 = 30.44.
Кожухи могут выполняться из стали, дюралюминия, стеклопластика, фанеры и других материалов. Данный кожух выполняется из стали толщиной 20мм.
Lфактич. = L - Lкож +5 = 95 – 30.44 + 5 = 69.56 дБ.
УЗД = 69.56+5 = 74.56. В итоге шум снижен до уровня 74.56 дБ.

Звукоизолирующий кожух:
1 кожух; 2 вторичный глушитель;
3 первичный глушитель; 4 гибкие соединения;
5 глушитель на впуске воздуха;
6 звуконепроницаемая дверь; 7 виброизолятор;
8 глушитель на выпуске воздуха.
Расчёт защиты воздуха рабочей зоны от вредных веществ и аэрозолей
Для поддержания в производственных помещениях нормальных параметров воздушной среды устраивают вентиляцию. В зависимости от направления воздушного потока вентиляционные системы подразделяют на приточные, вытяжные или приточно-вытяжные, а по характеру охвата производственного помещения воздухообменом – на общеобменные и местные.
Воздух, поступающий в помещение через неплотности ограждающих конструкций не содержит вредных веществ, поэтому применяем местную вытяжную вентиляцию, схема которой представлена на рисунке:
В
ытяжная
местная вентиляция состоит (см. рис. 1)
из вытяжных отверстий или насадков
1, через которые воздух удаляется из
помещения; вентилятора
3, воздуховодов 2;
устройства для очистки воздуха от пыли
или газов 4,
устанавливаемого в тех случаях, когда
выбрасываемый воздух необходимо очищать
с целью обеспечения нормативных
концентраций вредных веществ в
выбрасываемом воздухе и воздухе
населенных мест, а также в приточном
воздухе, подаваемом в производственные
здания; устройства для выброса воздуха
5, которое должно
быть расположено на 1-1,5 м выше конька
крыши.
При работе вытяжной системы чистый воздух поступает в помещение через неплотности в ограждающих конструкциях.
Необходимый воздухообмен в производственных помещениях рассчитывают в зависимости от конкретных условий каждого помещения, однако наиболее широко используют следующие методы: исходя из количества работающих; наличия в воздухе рабочей зоны вредных веществ, избытков явного тепла.
При наличии вредных веществ в воздухе рабочей зоны необходимый воздухообмен определяют по формуле:
,
где К коэффициент, учитывающий неравномерность распределения вредных веществ по помещению, К = 1,5; G количество вредных веществ, поступающих в воздух рабочей зоны, мг/ч; q>1> допустимое содержание вредного вещества в воздухе рабочей зоны ( q>1> = q>ПДК> ), мг/м3; q>2> допустимое содержание вредного вещества в приточном воздухе (q>2> = 0,3 q>ПДК> ), мг/м3.
Пусть объем помещения равен 1000 м3.
Тогда для вредных веществ:
м3/ч.
И для пыли:
м3/ч.
Принимаем величину вытяжки L = 10714.3 м3/ч.
Для обеспечения требуемого воздухообмена будем использовать радиальный вентилятор с загнутыми вперед лопатками:

При рассчитанном необходимом воздухообмене 10714.3 м3/ч подойдет вентилятор ВР 80-75 №6 с электродвигателем АИР100L4, полным давлением 886-780 Па, мощностью 4 кВт.
Данную вентиляционную систему необходимо присоединить к пылеуловителю.

Пылеуловитель камерный:
1 – патрубок; 2 – патрубок выходной; 3 – расширительная камера; 4 – бункер
Защита от ультразвука и инфразвука
Для защиты от ультразвука следует перевести рабочие частоты источника в слышимый диапазон, либо провести звукоизоляцию источника, либо, если это невозможно, установить абстракционный глушитель.
Чтобы снизить воздействие инфразвука, нужно перевести рабочие частоты источника в слышимый диапазон, либо устранить причины генерации и/з в источнике (например, повысить жесткость конструкции больших размеров), либо провести звукоизоляцию источника (установить капот), либо снабдить рабочего средствами индивидуальной защиты (спец. противошумами). Звукоизоляция и звукопоглощение в борьбе с инфразвуком малоэффективны, поэтому наиболее надежно воспользоваться методом, направленным на ослабление и/з или снижение его возникновения в источнике.
Разработка мер по снижению температуры.
Для поддержания определённых температурно-влажностных условий применяют кондиционирование. Кондиционер-это вентиляционная установка, которая с помощью приборов автоматического регулирования поддерживает в помещении заданные параметры воздушной среды. Установка центрального кондиционера позволит поддерживать температуру в заданных пределах.
Меры по снижению тяжести труда
Физическая нагрузка уменьшается за счёт механизации и различных приспособлений, организации работ и др. При этом необходимо учитывать, что в соответствии с ГОСТ 12.3.020-80, перемещение грузов массой более 20 кг. В технологическом процессе должно производиться с помощью подъёмно – транспортных устройств или средств механизации. Также должно быть механизировано перемещение грузов в технологическом процессе на расстояние более 25 м.
Оценка условий труда после применения мероприятий по улучшению условий труда
В соответствии с проведёнными мероприятиями по улучшению условий труда производим оценку условий труда.
Оценки условий труда работника по степени вредности и опасности после проведения комплекса мероприятий по их улучшению приведены в итоговой таблице 3.
Таблица 3
|
Фактор |
Класс условий труда |
||||||
|
Оптимальный |
Допустимый |
Вредный |
Опасный (экстрем.) |
||||
|
1 |
2 |
3.1 |
3.2 |
3.3 |
3.4 |
4 |
|
|
Химический |
|
||||||
|
Аэрозоли ПФД |
|
||||||
|
Шум |
|
||||||
|
Инфразвук |
|
||||||
|
Ультразвук |
|
||||||
|
Вибрация общая |
|
||||||
|
Неионизирующие излучения |
|
||||||
|
Микроклимат |
|
||||||
|
Освещение |
|
||||||
|
Напряженность труда |
|
||||||
|
Общая оценка условий труда |
|
Заключение
На основании исходных данных был проведен анализ условий труда на рабочем месте слесаря-сборщика, в результате которого было обнаружено превышение допустимых значений факторов производственной среды.
Разработка мероприятий по улучшению условий труда была осуществлена для каждого из факторов, по которым были превышены ПДК и ПДУ.
Был предложен комплекс мер по их улучшению, позволяющий снизить класс условий труда, превышающих допустимые значения, до оптимального уровня.
Список использованной литературы
Оценка условий труда на рабочем месте и разработка комплекса мероприятий по их улучшению, под ред. Н.И. Иванова, И. М. Фадина, 2009.
Государственные стандарты. Система стандартов безопасности труда.
Охрана труда: Альбом. Под редакцией Н.И. Иванова, И. М. Фадина. 1990.
Организационные основы охраны труда. В.Н. Сидоров. 2005.
ГОСТ 17053.1-80, ГОСТ 17053.2-80. Амортизаторы корабельные АКСС-М и арматура.
1
