Оценка условий труда на рабочем месте инженера-механика в лаборатории вибродиагностики
ОЦЕНКА УСЛОВИЙ ТРУДА НА РАБОЧЕМ МЕСТЕ ИНЖЕНЕРА-МЕХАНИКА В ЛАБОРАТОРИИ ВИБРОДИАГНОСТИКИ
Уфа 2008
Содержание
Реферат
Введение
1. Основные понятия безопасности труда и аттестация рабочих мест
1.1 Обзор основных опасных и вредных производственных факторов
1.1.1 Естественное и искусственное освещение
1.1.2 Производственный шум
1.1.3 Микроклимат помещений
1.1.4 Электромагнитное излучение
1.1.5 Производственная вибрация
1.2 Проведение аттестации рабочих мест по условиям труда
1.3 Аттестация рабочих мест по санитарно-гигиеническим условиям
2. Идентификация вредных факторов, воздействующих на работников лаборатории вибродиагностики
2.1 Характеристика аттестуемого объекта
2.2 Характеристика выполняемой работы
3. Оценка опасных и вредных производственных факторов на рабочем месте в лаборатории вибродиагностики
3.1 Измерение и оценка уровня шума
3.2 Условия труда по показателям микроклимата
3.3 Измерение и оценка уровня освещенности
3.4 Измерение и оценка электромагнитного излучения
4. Аттестация рабочего места по условиям труда на рабочем месте инженера-механика в лаборатории вибродиагностики
5. Мероприятия по улучшению условий труда в лаборатории вибродиагностики
5.1 Разработка мероприятий по снижению уровня шума лаборатории
5.2 Расчет общеобменной вентиляции при выделении вредных веществ
Выводы
Список литературы
РЕФЕРАТ
БЕЗОПАСНОСТЬ ТРУДА, ОПАСНЫЕ И ВРЕДНЫЕ ПРОИЗВОДСТВЕННЫЕ ФАКТОРЫ, АТТЕСТАЦИЯ РАБОЧИХ МЕСТ, ШУМ, ОСВЕЩЕНИЕ, МИКРОКЛИМАТ, ЭЛЕКТРОМАГНИТНОЕ ИЗЛУЧЕНИЕ, ТЯЖЕСТЬ ТРУДА, ОПТИМАЛЬНЫЕ И ДОПУСТИМЫЕ УСЛОВИЯ ТРУДА.
Объект изучения: лаборатория вибродиагностики подшипников.
В ходе работы изучены опасные и вредные производственные факторы в лаборатории.
Составлено описание рабочих мест и выполняемых работ.
Выявлены и оценены присутствующие опасные и вредные производственные факторы и их источники.
Произведены измерения и расчет характеристик освещения, шума, параметров микроклимата, электромагнитного излучения на рабочих местах.
Определен класс условий труда по санитарно-гигиеническим критериям и принципам классификации условий труда.
Разработаны мероприятия по улучшению условий труда и повышению уровня безопасности.
Пояснительная записка: страниц 42, рисунков 2, таблиц 7, библиограф. 25.
Введение
Охрана труда – это система законодательных актов, социально-экономических, организационных, технических, гигиенических и лечебно-профилактических мероприятий и средств, обеспечивающих безопасность, сохранение здоровья и работоспособности человека в процессе труда. Полностью безопасных и безвредных производственных процессов не существует. Задачи охраны труда – свести к минимальной вероятность поражения или заболевания работающего с одновременным обеспечением комфорта при максимальной производительности труда [1].
Охрана труда играет важную роль в трудовой жизни человека. Правильная организация труда значительно повышает его производительность и резко снижает возможность производственных травм, увечий. Это, в свою очередь, оказывает и непосредственное положительное влияние на экономическую сторону труда: происходит снижение на оплату больничных листов и лечения сотрудников, уменьшается количество и размер компенсаций за работу во вредных условиях и пр. По статистическим подсчетам, затраты на необходимые мероприятия и средства для охраны труда и безопасности жизнедеятельности обходятся в десять раз меньше, чем расходы из-за несчастных случаев и т.п.
Одной из важнейших составляющих охраны труда является защита от производственных вредностей – факторов, которые негативно влияют на состояние здоровья работников. Отклонения от допустимых условий деятельности, вызывающие эти негативные факторы, отрицательно влияют на производительность труда, ухудшают самочувствие, приводят к травмам, заболеваниям, а иногда и к гибели людей [2].
В связи с этим весьма актуальными являются анализ опасных и вредных факторов на рабочем месте, а также разработка мероприятий, направленных на обеспечение безопасных и комфортных условий труда. Полученные результаты курсовой работы могут быть использованы для практического улучшения условий труда на рассматриваемом рабочем месте.
Социальный аспект. Аттестация рабочего места имеет важное социально-гигиеническое значение. С ее помощью определяют вредные и опасные факторы производственной среды и трудового процесса, приоритетные направления модернизации оборудования и технологических процессов, осуществляют разработку и внедрение соответствующих санитарно-гигиенических и медико-профилактических мероприятий, исходя из специфики условий труда на конкретных предприятиях [3].
Экономический аспект. Существует определенная связь между уровнем организации работ по охране труда в организациях и показателями травматизма и профессиональной заболеваемости, а также такими показателями, как рост производительности труда, снижение текучести кадров, повышение экономических показателей деятельности предприятий в целом. Положительное влияние аттестации на все аспекты деятельности организации – от финансовых результатов до социально-психологического климата в коллективе – отмечено на многих крупных, средних и малых предприятиях различных форм собственности.
Цель работы: провести исследование и оценку рабочих мест по условиям труда в лаборатории вибродиагностики подшипников. Для достижения поставленной цели необходимо решить следующие задачи:
- изучить опасные и вредные производственные факторы (ОВПФ);
- составить описание рабочих мест и выполняемых работ;
- выявить и оценить присутствующие опасные и вредные производственные факторы и их источники;
- измерить характеристики освещения, шума, вибрации, микроклимата, электромагнитного излучения на рабочих местах.
- определить класс условий труда по санитарно-гигиеническим критериям и принципам классификации условий труда;
- разработать мероприятия по улучшению условий труда и повышению уровня безопасности.
1. Основные понятия безопасности труда и аттестация рабочих мест
Проблемами приспособления производственной среды к возможностям человеческого организма занимается эргономика. Эргономика изучает систему «человек – орудие труда – производственная среда» как единый процесс и ставит своей задачей разработать рекомендации по его оптимизации. Оптимизация этого процесс предполагает поставить человека в наиболее благоприятные условия при выполнении функциональных задач.
Система, которую человек создает в процессе труда, называется эргатической системой. Ключевыми понятиями эргатических систем являются: производственная среда, рабочая зона, рабочее место, опасная зона, опасная ситуация.
Производственная среда – пространство, в котором осуществляется трудовая деятельность человека.
Рабочая зона – пространство над рабочей площадкой, ограниченное высотой 2м, в котором находятся места постоянного или временного пребывания работающих.
Условия труда – это совокупность факторов производственной среды и трудового процесса, оказывающих влияние на здоровье и работоспособность человека в процессе труда.
Опасная зона – пространство, в котором проявляется действие опасных и вредных факторов [12].
При оценке категории тяжести и напряженности труда и аттестации рабочих мест используются следующие понятия:
Опасный производственный фактор – это фактор среды и трудового процесса, воздействие которого на работающего в определенных условиях приводит к травме или другому резкому ухудшению здоровья.
Вредный производственный фактор – фактор среды и трудового процесса, воздействие которого на работающего при определенных условиях (интенсивность, длительность и др.) может вызвать профессиональное заболевание, временное или стойкое снижение работоспособности, повысить частоту инфекционных и соматических заболеваний, привести к нарушению здоровья потомства.
Гигиенические нормативы условий труда (ПДК, ПДУ) – уровни вредных производственных факторов, которые при ежедневной (кроме выходных дней) работе, но не более 40 часов в неделю, в течение всего рабочего стажа не должны вызывать заболеваний или отклонений в состоянии здоровья, обнаруживаемых современными методами исследований, в процессе работы или в отдаленные сроки жизни настоящего и последующего поколений.
Профессиональные заболевания – заболевания, в возникновении которых решающая роль принадлежит воздействию неблагоприятных факторов производственной среды и трудового процесса.
Трудоспособность – состояние человека, при котором совокупность физических, умственных и эмоциональных возможностей позволяют трудящемуся выполнять работу определенного объема и качества.
Работоспособность – состояние человека, определяемое возможностью физиологических и психических функций организма, которое характеризует его способность выполнять определенное количество работы заданного качества за требуемый интервал времени (ГОСТ 12.0.002-80 «ССБТ. Термины и определения») [12].
1.1 Обзор основных опасных и вредных производственных факторов
Все виды негативных воздействий, формируемых в процессе трудовой деятельности, разделяют на четыре основные группы: физические, химические, биологические и психофизиологические (социальные).
Физические факторы – движущиесямашины и механизмы; передвигающиеся изделия, заготовки, материалы; повышенные уровни шума и вибраций; повышенная запыленность и загазованность воздуха рабочей зоны; повышенная или пониженная температура поверхностей оборудования, материалов; электромагнитные и ионизирующие излучения, недостаточная освещенность, повышенный уровень статического электричества, повышенное значение напряжения в электрической цепи и другие.
Химические факторы – вещества и соединения, различные по агрегатному состоянию и обладающие токсическим, раздражающим, сенсибилизирующим, канцерогенным и мутагенным воздействием на организм человека и влияющие на его репродуктивную функцию.
Биологические факторы – патогенные микроорганизмы (бактерии, вирусы, грибы, простейшие и др.) и продукты их жизнедеятельности; а также макроорганизмы (животные и растения).
Психофизиологические факторы – по характеру действия подразделяются на физические и нервно-психические перегрузки. Физические перегрузки подразделяются на статические и динамические, а нервно-психические – на умственное перенапряжение, перенапряжение анализаторов, монотонность труда, эмоциональные перегрузки [18].
1.1.1 Естественное и искусственное освещение
Свет является естественным условием жизни человека, необходимым для сохранения здоровья и высокой производительности труда, и основанным на работе зрительного анализатора. Ощущение зрения происходит под воздействием света, которое представляет собой электромагнитное излучение с длиной волны 0,38-0,76 мкм.
Недостаточное освещение рабочего места затрудняет длительную работу, вызывает повышенное утомление и способствует развитию близорукости. Слишком низкие уровни освещенности вызывают апатию, сонливость, а в некоторых случаях способствуют развитию чувства тревоги.
Излишне яркий свет слепит, снижает зрительные функции, приводит к перевозбуждению нервной системы, уменьшает работоспособность, нарушает механизм сумеречного зрения. Воздействие чрезмерной яркости может вызывать фотоожоги глаз и кожи, катаракты и другие нарушения [15].
При освещении помещений используют естественное освещение, создаваемое прямыми солнечными лучами и рассеянным светом небосвода и меняющимся в зависимости от географической широты, времени года и суток, степени облачности и прозрачности атмосферы; искусственное освещение создаваемое электрическими источниками света, и совмещенное освещение, при котором недостаточное по нормам естественное освещение дополняют искусственным.
Конструктивно естественное освещение подразделяют на боковое, осуществляемое через световые проемы в кровле и перекрытиях; верхнее –через световые проемы в кровле и перекрытиях; комбинированное- сочетание верхнего и бокового освещения.
Действующими строительными нормами и правилами предусмотрены две системы искусственного освещения: система общего освещения и комбинированного освещения. Общее – для освещения всего помещения, местное (в системе комбинированного) – для увеличения освещения только рабочих поверхностей или отдельных систем оборудования. Применение только местного освещения не допускается.
Необходимые уровни освещенности нормируются в соответствии со СНиП 23-05-95 «Естественное и искусственное освещение» в зависимости от точности выполняемых производственных операций, световых свойств рабочей поверхности и рассматриваемой детали, системы освещения [10].
Для работы на персональном компьютере существуют особые подходы к нормированию освещенности: санитарно-эпидемиологические правила и нормативы СанПиН 2.2.2/2.4.1340-03 «Гигиенические требования к персональным электронно-вычислительным машинам и организации работы» [17].
Характеристика зрительной работы определяется наименьшим размером объекта различения. В зависимости от размера объекта различения все виды работ, связанные со зрительным напряжением, делятся на восемь разрядов, которые в свою очередь в зависимости от фона и контраста объекта с фоном делятся на четыре подразряда [7].
К гигиеническим требованиям, отражающим качество производственного освещения, относятся:
—равномерное распределение яркостей в поле зрения и ограничение теней;
ограничение прямой и отраженной блесткости;
ограничение или устранение колебаний светового потока.
Для обеспечения наиболее благоприятных условий зрительной работы принято нормировать минимальную освещенность (освещенность на наиболее темном участке рабочей поверхности).
Естественное освещение положительно влияет не только на зрение, но также тонизирует организм человека в целом и оказывает благоприятное психологическое воздействие. В связи с этим все помещения в соответствии с санитарными нормами и правилами должны иметь естественное освещение. Исключение составляют производства, где естественное освещение нарушает технологический процесс.
Нормирование естественного освещения производится при помощи коэффициента естественной освещенности (КЕО).
Освещенность помещения естественным светом характеризуется коэффициентами естественной освещенности ряда точек, расположенных в пересечении вертикальной плоскости характерного разреза помещения и горизонтальной плоскости, находящейся на 1 м над уровнем пола и принимаемой за условную рабочую поверхность.
Минимальный КЕО в зависимости от точности работы при верхнем и комбинированном освещении нормируется в пределах от 10 до 2, а при одном боковом освещении – от 3,5 до 0,5 [1].
1.1.2 Производственный шум
Шумом называют всякий нежелательный звук. Длительное воздействие интенсивного шума (выше 80 дБА) на человека приводит к частичной или полной потере слуха. В зависимости от длительности и интенсивности воздействия шума происходит большее или меньшее снижение чувствительности органов слуха, которое выражается либо:
а) во временном смещении порога слышимости, которое исчезает после окончания воздействия шума;
б) в необратимой потере слуха (тугоухость), характеризуемой постоянным изменением порога слышимости.
Шумы классифицируются по частоте, спектральным и временным характеристикам. По частоте звуковое поле различается на три области: инфразвук – колебания, распространяющиеся в воздушной среде с частотой ниже 16 Гц; звук – колебания с частотой от 16 до 20000 Гц, распространяющиеся в воздухе и воспринимающиеся органом слуха человека; ультразвук – колебания, распространяющиеся как в воздухе, так и в твердых средах с частотой более 20000 Гц.
По частоте шумы звукового диапазона подразделяются на низкочастотные (максимум звукового давления в диапазоне частот ниже 350 Гц), среднечастотные (350 – 800 Гц) и высокочастотные (свыше 800 Гц). По характеру спектра шум подразделяется на широкополосный и тональный.
По временным характеристикам шум подразделяется на постоянный и непостоянный (колеблющийся во времени, прерывистый, импульсивный). Постоянным считается шум, уровень которого за восьмичасовой рабочий день изменяется во времени не более чем на 5 дБ, непостоянным – более чем на 5 дБ.
Органы слуха человека воспринимают звуковые волны с частотой от 16 до 20000 Гц. Колебания с частотой ниже 16 Гц (инфразвук) и выше 20000 Гц (ультразвук) не вызывают слуховых ощущений, но оказывают биологическое воздействие на организм [24].
Шум отрицательно влияет на организм человека, и в первую очередь на его центральную нервную и сердечно-сосудистую системы. Длительное воздействие шума снижает остроту зрения и слуха, повышает кровяное давление. Производственный шум нарушает информационные связи, что вызывает снижение эффективности и безопасности деятельности человека, так как высокий уровень шума мешает услышать предупреждающий сигнал об опасности. Кроме того, шум вызывает обычную усталость. При действии шума снижаются работоспособность, сосредоточение внимания, точность выполнения работ, связанных с приемом и анализом информации, производительность труда. При постоянном воздействии шума рабочие жалуются на бессонницу, снижение зрения, вкусовых ощущений, расстройство органов пищеварения и т.д. Энергозатраты организма при выполнении работы в условиях шума больше, т.е. работа оказывается более тяжелой [8].
Для профилактической работы по обеспечению безопасных условий труда по шумовому фактору, служит аудиометрический контроль (аудиометрия) работающих, проводимый для оценки состояния органов слуха. При этом состояние слуховой функции оценивают как среднеарифметическое значение снижения слуховой чувствительности в диапазоне речевых частот (500-2000 Гц) и на частоте 4000 Гц.
Основными нормативно-техническими документами в области шумового воздействия являются ГОСТ 12.1.050-86 «ССБТ. Методы измерения шума на рабочих местах», ГН 2.2.4/2.1.8.562-96 «Шум на рабочих местах, в помещениях жилых, общественных зданий и на территории жилой застройки» [20,21].
1.1.3 Микроклимат помещений
Микроклимат помещений определяется сочетанием температуры, относительной влажности, скорости движения воздуха, температуры окружающих поверхностей и интенсивности их теплового излучения. Параметры микроклимата определяют теплообмен организма человека и оказывают существенное влияние на функциональное состояние различных систем организма, самочувствие, работоспособность и здоровье.
Температура в помещениях является одним из ведущих факторов, определяющих метеорологические условия производственной среды. Высокие температуры оказывают отрицательное воздействие на здоровье человека. Работа в условиях высокой температуры сопровождается интенсивным потоотделением, что приводит к обезвоживанию организма, потере минеральных солей и водорастворимых витаминов, вызывает серьезные и стойкие изменения в деятельности сердечно-сосудистой системы, увеличивает частоту дыхания, а также оказывает влияние на функционирование других органов и систем – ослабляется внимание, ухудшается координация движений, замедляются реакции и т.д. Длительное воздействие высокой температуры, особенно в сочетании с повышенной влажностью, может привести к значительному накоплению тепла в организме (гипертермии). При гипертермии наблюдается головная боль, тошнота, рвота, временами судороги, падение артериального давления, потеря сознания [6].
При воздействии на организм человека отрицательных температур наблюдается сужение сосудов пальцев рук и ног, кожи лица, изменяется обмен веществ. Низкие температуры воздействуют также и на внутренние органы, и длительное воздействие этих температур приводит к их устойчивым заболеваниям.
Влажность воздуха оказывает значительное влияние на терморегуляцию организма человека. Переносимость человеком температуры, как и его теплоощущение, в значительной мере зависит от влажности воздуха. Относительная влажность воздуха – это отношение содержания водяных паров в 1 м3 воздуха в их максимально возможному содержанию в этом же объеме. Высокая относительная влажность при высокой температуре воздуха способствует перегреванию организма, так как с поверхности кожи в единицу времени меньше испаряется пота и поэтому перегрев тела наступает быстрее. Особенно неблагоприятное воздействие на тепловое самочувствие человека оказывает высокая влажность при температуре окружающей среды более 30°C, так как при этом пот не испаряется, а стекает каплями с поверхности кожного покрова. Возникает так называемое проливное течение пота, изнуряющее организм и не обеспечивающее необходимую теплоотдачу. Вместе с потом организм теряет значительное количество минеральных солей, микроэлементов и водорастворимых витаминов (С, В1, В2). При неблагоприятных условиях потеря жидкости может достигать 8-10 л за смену и с ней до 40 г NaCl (всего в организме около 140 г). Потери более 30 г NaCl крайне опасны для организма человека, так как приводят к нарушению желудочной секреции, мышечным спазмам, судорогам. Компенсация потерь воды в организме человека при высоких температурах происходит за счет распада углеводов, жиров и белков .
При низкой температуре высокая относительная влажность увеличивает теплопотери организма в результате интенсивного поглощения водяными парами энергии излучения человека. Это ведет к переохлаждению организма – гипотермии. Низкая влажность вызывает пересыхание слизистых оболочек дыхательных путей работающего [3].
В помещениях, оборудованных ПЭВМ, должна проводится ежедневная, влажная уборка и систематическое проветривание после каждого часа работы на ПЭВМ. Уровни положительных и отрицательных аэроионов в воздухе помещений, где расположены ПЭВМ, должны соответствовать действующим санитарно-эпидемиологическим нормативам.
Содержание вредных химических веществ в воздухе производственных помещений, в которых работа с использованием ПЭВМ является вспомогательной, не должно превышать предельно допустимых концентраций вредных веществ в воздухе рабочей зоны в соответствии с действующими гигиеническими нормативами.
Содержание вредных химических веществ в воздухе помещений, предназначенных для использования ПЭВМ во всех типах образовательных учреждений, не должно превышать предельно допустимых среднесуточных концентраций для атмосферного воздуха в соответствии с действующими санитарно-эпидемиологическими нормативами.
Основными нормативно-техническими документами являются: ГОСТ 12.1.003-83 «ССБТ. Воздух рабочей зоны», СанПиН 2.2.2/2.4.1340-03 ««Гигиенические требования к персональным электронно-вычислительным машинам и организации работы» [19,17].
Оптимальные микроклиматические условия – это такое сочетание параметров микроклимата, которое при длительном и систематическом воздействии на человека обеспечивает ощущение теплового комфорта и создает предпосылки для высокой работоспособности.
Допустимые микроклиматические условия – это такие сочетания параметров микроклимата, которое при длительном и систематическом воздействии на человека могут вызывать напряжение реакций терморегуляции и которые не выходят за пределы физиологических приспособительных возможностей. При этом не возникает нарушений в состоянии здоровья, не наблюдаются дискомфортные теплоощущения, ухудшающие самочувствие, и понижение работоспособности.[13]
Методы снижения неблагоприятного влияния производственного микроклимата регламентируются гигиеническими требованиями к производственному оборудованию: ГОСТ 12.2.003-91 «ССБТ. Оборудование производственное. Общие требования безопасности», и осуществляются комплексом технологических, санитарно – технических, организационных и медико – профилактических мероприятий [11].
1.1.4 Электромагнитное излучение
Опасное воздействие на работающих могут оказывать электромагнитные поля радиочастот (60 кГц-300 ГГц) и электрические поля промышленной частоты (50 Гц).
Источником электрических полей промышленной частоты являются токоведущие части действующих электроустановок (линии электропередач, индукторы, конденсаторы термических установок, фидерные линии, генераторы, трансформаторы, электромагниты, соленоиды, импульсные установки полупериодного или конденсаторного типа, литые и металлокерамические магниты и др.). Длительное воздействие электрического поля на организм человека может вызвать нарушение функционального состояния нервной и сердечно-сосудистой систем. Это выражается в повышенной утомляемости, снижении качества выполнения рабочих операций, болях в области сердца, изменении кровяного давления и пульса.
Устройство ПЭВМ излучает свет в оптическом диапазоне, помимо этого является потенциальным источником электромагнитного излучения в диапазоне радиочастот, сверхнизких частот, а также ионизирующего излучения и электростатических полей.
Спектр электромагнитного излучения природного и техногенного происхождения, оказывающий влияние на человека как в условиях, имеет диапазон волн от тысяч километров (переменный ток) до триллионной части миллиметра (космические энергетические лучи). Характер воздействия на человека электромагнитного излучения в разных диапазонах различен. В связи с этим значительно различаются и требования к нормированию различных диапазонов электромагнитного излучения.
Наибольшее влияние из всего спектра электромагнитного излучения на операторов персональных компьютеров оказывает электромагнитное поле (ЭМП) диапазона радиочастот [14].
В ЭМП существуют 3 зоны, которые различаются по расстоянию от источника ЭМП:
Зона индукции с радиусом R≤λ/2π (λ – длина волны электромагнитного излучения). В этой зоне электромагнитная волна не сформирована и поэтому на человека действует независимо друг от друга напряженность электрического и магнитного полей.
Дальняя зона – зона cформировавшейся электромагнитной волны – имеет радиус R≥ λ/2π. В этой зоне на человека воздействуют только энергетическая составляющая ЭМП – плотность потока энергии.
Зона интерференции имеет радиус R >ПР >= R>ИЗЛ> – R>БЛИЖ >– промежуточная зона. В этой зоне одновременно воздействуют на человека напряженность электрического, магнитного поля, а также плотность потока энергии.
Биологическое действие ЭМП радиочастот характеризуется тепловым и нетепловым эффектом. Под тепловым действием подразумевается интегральное повышение температуры тела или отдельных его частей при общем или локальном облучении. Нетепловой эффект связан с переходом электромагнитной энергии в объекте в нетепловую форму энергии (молекулярное резонансное истощение, фотохимическая реакция и др.). Чем меньше энергия ЭМИ, тем выше тепловой эффект, который он производит.
Возле монитора могут образовываться электромагнитные поля радиочастот (5-10 Мгц), создаваемые системой модуляции электронного луча. Наиболее высокая напряженность их электростатического поля фиксируется на расстоянии 10-15 см от боковых, верхних и задних поверхностей дисплея. У экрана и клавиатуры на расстоянии 30-70 см, где находится оператор, эти значения не превышают 1В/м [13] .
Вблизи компьютера обнаруживаются также импульсные магнитные поля сверхнизкой (50-100Гц) и низкой (15-53 кГц) частот создаваемые системой вертикальной и горизонтальной развертки электронного луча.
Наиболее высокие значения составляющих электромагнитных полей фиксируются на расстоянии 10-15 см от боковых, верхних и задних поверхностей дисплея и а меньшей степени перед экраном.
По своим биофизическим свойствам ткани организма неоднородны, поэтому может возникнуть неравномерный нагрев на границе раздела с высоким и низким содержанием воды, что определяет высокий и низкий коэффициент поглощения энергии. Это может привести к образованию стоячих волн и локальному перегреву ткани, особенно с плохой терморегуляцией (хрусталик, желчный пузырь, кишечник, семенники).
Наиболее биологически активен диапазон СВЧ, менее активен УВЧ и ВЧ (длинные и средние волны), т.е. с укорочением длины волны биологическая активность возрастает [13].
Оценка воздействия ЭМИ радиочастот на человека согласно СанПиН 2.2.2/2.4.1340-03 осуществляется по следующим параметрам:
- По энергетической экспозиции. Определяется интенсивностью ЭМИ радиочастот и временем его воздействия на человека. Применяется для лиц, работа и обучение которых связаны с необходимостью пребывания в зонах влияния источников ЭМИ радиочастот.
- По значениям интенсивности ЭМИ радиочастот. Применяется для лиц, работа и обучение которых не связаны с необходимостью пребывания в зонах влияния источников ЭМИ радиочастот.
Предельно допустимые уровни ЭМИ радиочастот должны, как правило, определяться, исходя из предположения, что воздействие имеет место в течение всего рабочего дня (рабочей смены) [17,25].
1.1.5 Производственная вибрация
Вибрация представляет собой процесс распространения механических колебаний в твердом теле. Она характеризуются частотой и амплитудой смещения, скоростью и ускорением. Вибрации могут быть непреднамеренными (например, из-за плохой балансировки и центровки вращающихся частей машины и оборудования, работы перфоратора и др.) и специально используемые в технологических процессах (вибропогрузители свай, специальное оборудование для ускорения химических реакций и др.). Длительное воздействие вибрации ведет к развитию профессиональной вибрационной болезни. Особенно вредны вибрации с вынужденной частотой, совпадающей с частотой собственных колебаний тела человека или его отдельных органов (для тела человека 6..9 Гц, головы 6 Гц, желудка 8 Гц, других органов в пределах 25 Гц). При частоте колебаний рабочих мест, близкой к собственным частотам внутренних органов, возможны механические повреждения или даже разрывы.
Общая вибрация нормируется с учетом свойств источника ее возникновения и делится на вибрацию:
транспортную, которая возникает в результате движения машин по местности и дорогам;
транспортно-технологическую, которая возникает при работе машин, выполняющих технологическую операцию в стационарном положении, а также при перемещении по специально подготовленной части производственного помещения, промышленной площадке или на оптовых базах;
технологическую, которая возникает при работе стационарных машин или передается на рабочие места, не имеющие источников вибраций (например, от работы холодильных, фасовочно-упаковочных машин).
Систематическое воздействие общих вибраций, характеризующихся высоким уровнем виброскорости, приводит к вибрационной болезни, которая характеризуется нарушениями физиологических функций организма, связанными с поражением центральной нервной системы. Эти нарушения вызывают головные боли, головокружения, нарушения сна, снижение работоспособности, ухудшение самочувствия, нарушения сердечной деятельности.
Различают гигиеническое и техническое нормирование вибраций. Гигиенические – ограничивают параметры вибрации рабочих мест и поверхности контакта с руками работающих, исходя из физиологических требований, исключающих возможность возникновения вибрационной болезни. Технические – ограничивают параметры вибрации не только с учетом указанных требований, но и исходя из достижимого на сегодняшний день для данного типа оборудования уровня вибрации.
Вибрация по способу передачи телу человека подразделяется на общую (воздействие на все тело человека) и локальную (воздействие на отдельные части тела – руки или ноги). Для санитарного нормирования и контроля вибраций используются среднеквадратичные значения виброускорения и виброскорости, а также их логарифмические уровни в децибелах (ГОСТ 12.1.047-85) [22].
Для измерения вибрации применяются виброметры и шумомеры с дополнительным приспособлением – предусилителем, устанавливаемый вместо микрофона. Широкое распространение получили приборы ВШВ-3М2 – измерители шума и вибраций.
1.2 Проведение аттестации рабочих мест по условиям труда
Аттестация рабочего места – система анализа оценки рабочего места, применяемая для охраны здоровья рабочего, ознакомления его с условиями труда, а также сертификации производственных объектов для подтверждения или отмены действующих компенсаций и льгот работникам, занятых на тяжёлых работах с вредными и опасными условиями труда.
Аттестация рабочих мест по условиям труда является важной составляющей организации охраны труда на предприятии. Проведение аттестации рабочих мест определяется «Положение о порядке проведения аттестации рабочих мест по условиям труда» Минтруда России. Задачами аттестации рабочих мест являются:
Определение фактических значений опасных и вредных производственных факторов на этих рабочих местах;
Оценка фактического состояния условий труд на рабочих местах;
Предоставление льгот и компенсаций за работу с вредными и тяжелыми условиями труда;
Разработка мероприятий по улучшению и оздоровлению условий труда [16].
Аттестация проводится специально созданной аттестационной комиссией, которая оформляет результаты своей работы общим протоколом аттестации рабочих мест по условиям труда, к которому прилагаются все материалы аттестации и план мероприятий по улучшению условий труда.
Аттестация рабочих мест начинается с определения фактических значений опасных и вредных производственных факторов на рабочих местах. При аттестации рабочего места по условиям труда оценке подлежат все имеющиеся на рабочем месте опасные и вредные производственные факторы (физические, химические, биологические), тяжесть и напряженность труда.
Уровни опасных и вредных производственных факторов определяются на основе инструментальных измерений. Инструментальные измерения ОВПФ, эргономические исследования должны выполняться в процессе работы, то есть при проведении производственных процессов в соответствии с технологическим регламентом, при исправных и эффективно действующих средствах коллективной и индивидуальной защиты.
Аттестация рабочих мест по условиям труда проводится 1 раз в 5 лет. Обязательной аттестации подлежат рабочие места после замены оборудования, изменения технологического процесса, реконструкции помещения, а также по требованию органов государственной экспертизы условий труда [4].
1.3 Аттестация рабочих мест по санитарно-гигиеническим условиям
Исходя из гигиенических критериев и принципов, классификации условия труда подразделяются на 4 класса:
1-й класс — оптимальные (комфортные) условия труда обеспечивают максимальную производительность труда и минимальную напряженность организма человека. Этот класс установлен только для оценки параметров микроклимата и факторов трудового процесса (тяжесть и напряженность труда). Для остальных факторов условно оптимальными считаются такие условия труда, при которых неблагоприятные факторы не превышают допустимых пределов для населения;
2-й класс — допустимые условия труда характеризуются такими уровнями факторов среды и трудового процесса, которые не превышают гигиенических нормативов для рабочих мест. Возможные изменения функционального состояния организма восстанавливаются во время регламентированного отдыха или к началу следующей смены и не должны оказывать неблагоприятное воздействие в ближайшем и отдаленном периоде на состояние здоровья работающего и его потомство. Оптимальные и допустимые условия труда безопасны;
3-й класс — вредные условия труда характеризуются наличием вредных производственных факторов, превышающих гигиенические нормативы и оказывающих неблагоприятное воздействие на организм работающего и/или его потомства. В зависимости от уровня превышения нормативов факторы этого класса подразделяются на четыре степени вредности:
3.1 — вызывающие обратимые функциональные изменения организма;
3.2 — приводящие к стойким функциональным изменениям и росту заболеваемости;
3.3 — приводящие к развитию профессиональной патологии в легкой форме и росту хронических заболеваний;
3.4 — приводящие к возникновению выраженных форм профессиональных заболеваний, значительному росту хронических и высокому уровню заболеваемости с временной утратой трудоспособности;
4-й класс — травмоопасные (экстремальные) условия труда. Уровни производственных факторов этого класса таковы, что их воздействие на протяжении рабочей смены или ее части создает угрозу для жизни и/или высокий риск возникновения тяжелых форм острых профессиональных заболеваний [16].
2. Идентификация опасных и вредных производственных факторов в лаборатории вибродиагностики
2.1 Характеристика аттестуемого объекта
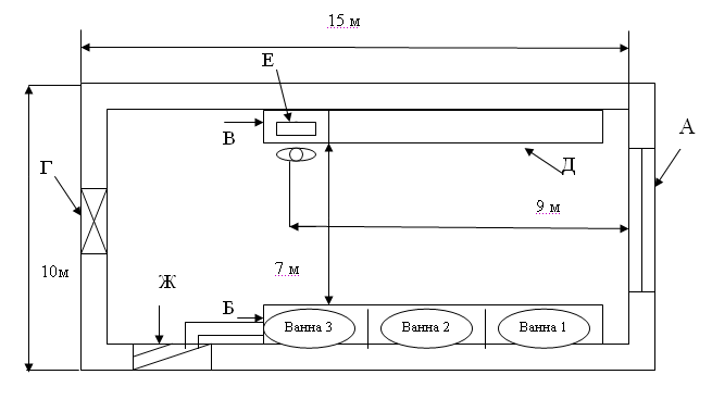
На рисунке 1 изображена планировка лаборатории вибродиагностики. Аттестуемым местом является место инженера-механика.

Рисунок 1 – Планировка лаборатории вибродиагностики
А – окно; Б – отсек с ваннами; В – компьютерный стол; Г – выход из лаборатории; Д – установка для вибродиагностики; Е – компьютер; Ж – вентиляция.
2.2 Характеристика выполняемой работы
Станок для вибродиагностики предназначен для проверки качества подшипников, поступающих на предприятие. Входной контроль включает в себя следующие этапы:
1. Визуальный контроль качества;
2. Снятие с консервации подшипников в первой ванне с мыльным раствором;
3. Промывка во второй ванне с водой;
4. Смазка подшипников в третьей ванне с техническим маслом при повышенной температуре 80°С;
5. Загрузка в виброустановку, которая представляет собой станок КВП-508. При этом на подшипники оказывается радиальное и осевое давление.
6. Показания датчика обрабатываются на компьютере.
Работа инженера-механика категории IIa, т.е. средней тяжести – с расходом энергии 175…290 Вт (постоянная ходьба и перемещение мелких предметов (до 1 кг). 8-часовой рабочий день включает перерыв продолжительностью 1 час. Так как есть необходимость работы с ПЭВМ, зрительным работам присвоена категория IIIв – высокой точности.
3. Измерение и оценка опасных и вредных производственных факторов на рабочем месте в лаборатории вибродиагностики
При работе в лаборатории диагностики подшипников выделяют следующие опасные и вредные производственные факторы (ГОСТ 12.0.003-74) [18]:
повышенный уровень шума на рабочем месте;
несоответствие нормам параметров микроклимата;
повышенное содержание вредных веществ в воздухе рабочей зоны (выделение нефтепродуктов);
недостаточная освещенность рабочей зоны;
повышенный уровень электромагнитного излучения.
3.1 Измерение и оценка уровня шума
Шум измеряется с помощью шумомера (ВШВ – 003 с октавными фильтрами). Допустимый уровень звука регламентируется в соответствии с СН 2.2.4/2.1.8.562-96 «Санитарные нормы допустимых уровней шума на рабочих местах». При нормирование шума определяют следующие параметры:
уровни звукового давления (дБ) в октавных полосах частот со среднегеометрическими частотами 31.5, 63, 125, 250, 500, 1000, 2000, 4000, 8000 Гц;
уровни звука (дБА);
На рассматриваемом рабочем месте шум непостоянный. Источником шума является вибродиагностический станок КВП-508. Шум действует на рабочего в течение 5 часов. Получены следующие значения уровней звукового давления (таблица 1):
Таблица 1. Уровни звукового давления.
|
Уровни звукового давления, дБ, в октавных полосах со среднегеометрическими частотами, Гц. |
Уровень звука, дБА |
|||||||||
|
31.5 |
125 |
250 |
500 |
1000 |
2000 |
4000 |
8000 |
|||
|
Допустимый уровень звукового давления |
103 |
91 |
83 |
77 |
73 |
70 |
68 |
66 |
64 |
75 |
|
Фактический уровень звукового давления |
80 |
79 |
79 |
81 |
76 |
75 |
78 |
79 |
76 |
84 |
Из приведенных выше данных видно, что уровень звукового давления и эквивалентный уровень звука не соответствуют требованиям СН 2.2.4/2.1.8.562-96.
Уровень шума в лаборатории в течение рабочего дня непостоянен. При этом в течение одного часа действует шум с уровнем звука 83 дБА, в течение следующих двух часов с уровнем звука 86 дБА, остальное время 81 дБА. Учитывая данный факт, гигиеническую оценку уровня шума необходимо производить по эквивалентному уровню шума.
L >ЭКВ> = 10 *
lg
,
где
>i> – относительное время воздействия шума класса i в процентах от общего времени работы
L>i> – уровень звука (дБа) шума класса i.

Как видим, для постоянных рабочих мест и рабочих зон лаборатории имеет место превышение предельно допустимых уровней по эквивалентному уровню шума на 9 дБА. Значит, рабочее место по показателю уровня шума относится к классу условий труда 3.2 – вредный.
3.2 Условия труда по показателям микроклимата
Измерения и оценка параметров микроклимата: температуры, влажности, скорости движения воздуха проводились в соответствии с СанПиН 2.2.2/2.4.1340-03 «Требования к микроклимату, содержанию аэроионов и вредных химических веществ в воздухе на рабочих местах, оборудованных ПЭВМ».
Работа, выполняемая в лаборатории вибродиагностики относится к категории IIа, т.е. работа средней тяжести. Для измерения температуры воздуха применялся ртутный термометр. Для измерения атмосферного давления применялся барометр. Для измерения скорости движения воздуха применялся анемометр.
Расчет относительной влажности воздуха производится по формулам:
А = р>1> – α(t>с> – t>в>)∙Р, (1)
В = А/р>2 >(2)
где А – абсолютная влажность воздуха, р>1>, р>2>– упругость насыщенных паров воды при температуре влажного и сухого термометров соответственно, кПа, α –психрометрический коэффициент, зависящий от скорости движения воздуха, подаваемого вентилятором, Р – барометрическое давление воздуха, кПа, t>с>, t>в> – показания сухого и влажного термометра, В – относительная влажность, %.
Т.к. скорость движения воздуха v = 0,4 м/с, то α = 0,0009.
Рассчитаем абсолютную и относительную влажность воздуха рабочей зоны:
А = 2,275 – 0,0009∙(23 – 18,5)∙97,36 = 1,885 кПа,
В = 1,885/3,256 = 0,57, или 57%.
Полученные данные и их соответствие нормативам приведены в таблице 2.
Таблица 2 – Результаты измерения показателей микроклимата
|
Категория работ |
Температура воздуха, °C |
Скорость движения воздуха, м/с |
Относительная влажность, % |
|||
|
Оптим. |
Факт. |
Оптим. |
Факт. |
Оптим. |
Факт. |
|
|
IIа |
19-24 |
23 |
0,1–0,5 |
0,4 |
15-75 |
57 |
Из таблицы видно, что параметры микроклимата соответствуют требованиям СанПиН 2.2.2/2.4.1340-03. Класс условий труда – 1.
3.3 Измерение и оценка уровня освещенности
Измерение и оценка освещенности проводились в соответствии со СНиП 23-05-95 «Естественное и искусственное освещение. Нормы проектирования», ГОСТ 17677-82 «Светильники. Общие технические условия», ГОСТ 24940-97 «Здания и сооружения. Методы измерения освещенности». В соответствии со СНиП 23.05-95, освещенность должна быть 200 лк [10].
В помещении лаборатории вибродиагностики горизонтальная освещенность – 160 лк, что не соответствует требованиям СНиП 23-05-95 «Естественное и искусственное освещение». Класс условий труда – 3.1.
Тип источника освещения – люминесцентная лампа белого цвета. Прибор для измерения уровня освещенности – люксметр.
Расчет освещения осуществляется методом коэффициента использования светового потока с учетом потока, отраженного от стен, потолка и рабочей поверхности. Данный метод дает возможность определить световой поток ламп, необходимый для создания заданной освещенности. Этот метод пригоден для расчета общего освещения горизонтальной рабочей поверхности с учетом света, отраженного стенами и потолком.
Помещение представляет собой прямоугольное в плане помещение, размером 10х15х4 м. Расчет освещения производится для комнаты площадью S = 150 м2, длина которой а = 15 м, ширина b = 10 м, высота Н = 4 м.
Основное уравнение метода:
(3)
где, F – световой поток всех ламп в помещении (лм);
E>Н> – минимальная нормируемая мощность (лк), принимаемая по СНиП 23-05-95 «Естественное и искусственное освещение»; Е>Н> = 200 лк.
k – коэффициент запаса, учитывающий снижение освещенности, вследствие старения ламп, запыления и загрязнения светильников (k=1,2…1,5) примем k=1,3;
S – площадь помещения, м2;
Z – отношение средней освещенности к минимальной (для люминесцентных ламп Z = 1,1);
N – число светильников;
n – число ламп в светильнике;
η – коэффициент использования светового потока, т.е. отношение, падающего на расчетную поверхность, к суммарному потоку всех ламп. Определяется в зависимости от индекса помещения i, коэффициента отражения потолка и пола.
i=(а*b)/(h*(a+b)) (4)
где, h – расчетная высота подвеса светильника над рабочей поверхностью, м; a = 15 м; b = 10 м.
h = Н – h>св >– h>рп >(5)
Н=4 м - высота помещения
h>св>=0,3 м - высота подвеса светильника
h>рп>=0,7 м - высота рабочей поверхности
h = 4 – 1= 3 м.
По формуле (4) получаем:
i=(15*10)/(3*(10+15))=2.
Стены на участке покрашены светлой краской с окнами без штор, коэффициент отражения стен 50%. Потолок побелен, коэффициент отражения потолка 50%. В соответствии с этим коэффициент использования светового потока лампы принимаем η = 54 %. В соответствии со СНиП 23-05-95 «Естественное и искусственное освещение», для рабочего места инженера-механика зрительную работу в лаборатории можно отнести к IVв разряду Е>норм>= 200 лк.
Рассчитаем необходимую мощность светового потока по формуле (3):
F = 200·150·1,3·1,1/0,54 = 79444,4 (лм),
Рассчитаем фактическое значение освещенности в лаборатории.
F>ф> = 160·150·1,3·1,1/0,54 = 63555,5 (лм)
Отклонение рассчитанного светового потока от действительного:
ΔF = |F –F>Ф>| /F = 79444,4 – 63555,5/ 79444,4 = 20%,
что является недопустимым.
В лаборатории 12 светильников, имеющих по 2 лампы в каждом. Расположены в 3 ряда по 4 светильника в каждом. Рассчитаем световой поток, который должен приходиться на каждую лампу:
F>л> = F /n ∙ N = 79444,4 /2∙12 = 3310 лм
Подберем лампу ЛД65-4, создающую световой поток F>л> = 3390 лм.
Расстояние между светильниками определяется по формуле:
L
h (6)
где - коэффициент равномерного распределения светового потока, =1,3
L
h1,3;
L
1,33;
L
3,9 м.
Предложенная схема расположения светильников представлена на рисунке 2.

Рисунок 2 – Предлагаемая схема расположения светильников
В ходе проведенных расчетов получили, что в данной лаборатории вибродиагностики необходимо использовать 12 светильников по 2 лампы ЛД65-4 в каждом. Данная система позволить улучшить качество освещения и равномерно распределить освещенность по всей площади помещения. Спроектированная система освещения позволит приблизить уровень освещенности к допустимым нормам согласно СНиП 23-05-95 «Естественное и искусственное освещение».
3.4 Измерение и оценка электромагнитного излучения
Измерение и оценка электромагнитного излучения проводились в соответствии с СанПиН 2.2.2/2.4.1340-03 «Гигиенические требования к персональным электронно-вычислительным машинам и организации работы» [17].
Основным источником электромагнитного излучения лаборатории вибродиагностики являются персональные компьютеры с системными блоками Intel Pentium и мониторами SVGA Samsung, SyncMaster 450b.
Измерения электромагнитного излучения осуществлялись с помощью прибора ВЕ – Метр АТ – 002 «Измеритель электрического и магнитного поля». Данный прибор предназначен для контроля норм электро-магнитной безопасности ПЭВМ в диапазонах частот 5 Гц – 2 кГц и 2кГц – 400 кГц.
Данные замеров приведены в таблице 3.
Таблица 3 – Параметры ЭМП, создаваемые компьютером
|
Наименование параметра |
Норматив, не более |
Фактический уровень |
|
Напряжение ЭМИ Е, В/м |
||
|
5 Гц-2 кГц |
25 |
17 |
|
2 кГц-400 кГц |
2,5 |
0,2 |
|
Магнитный поток В, нТл |
||
|
5 Гц-2 кГц |
250 |
120 |
|
2 кГц-400 кГц |
25 |
15 |
|
Эл.статическ.потенциал, В |
500 |
44 |
Таким образом, видно, что у экрана, где во время работы сидит пользователь (инженер-механик), электрическая составляющая ЭМП минимальна. Класс опасности – 2.
4. Аттестация рабочего места по условиям труда на рабочем месте инженера-механика в лаборатории вибродиагностики
В данном разделе рассмотрено фактическое состояние условий труда в лаборатории. А так же проведена аттестация рабочего места инженера-механика по воздействию на него опасных и вредных факторов производственной среды.
1. Организация ООО «Синтез-м».
2. Участок лаборатория вибродиагностики подшипников.
3. Рабочее место инженер-механик.
Строка 060. Фактическое состояние условий труда на рабочем месте
|
№ п/п |
Наименование производственного фактора, единица измерения |
ПДУ, ПДК, допустимый уровень |
Фактический уровень производственного фактора |
Величина отклонения |
Класс условий труда, степень вредности и опасности |
Продолжительность воздействия, мин. |
|
. |
Освещенность, лк |
200 |
160 |
на 40 |
3.1 |
480 |
|
. |
Шум, дБА |
75 |
84 |
на 9 |
3.2 |
300 |
|
. |
Нефтяное масло, мг/м3 |
5 |
9,5 |
В 1.9 раз |
3.2 |
480 |
|
4. |
Показатели микроклимата:температура, °C влажность, % Скорость, м/с |
19-24 15-75 0,1-0,5 |
23 40 0,4 |
- - - |
1 |
480 |
|
. |
Напряжение ЭМИ Е, В/м |
|||||
|
5 Гц-2 кГц |
25 |
17 |
- |
|||
|
2 кГц-400 кГц |
2,5 |
0,2 |
- |
|||
|
Магнитный поток В, нТл |
2 |
120 |
||||
|
5 Гц-2 кГц |
250 |
120 |
- |
|||
|
2 кГц-400 кГц |
25 |
15 |
- |
|||
|
Эл.статическ.потенциал, В |
500 |
44 |
Строка 060. Фактическое состояние травмобезопасности
|
Рабочее место |
Объект оценки |
Наименование правовых актов по охране труда |
Фактическое значение фактора |
Класс условий труда |
|
Инженер-механик |
Требования безопасности к производственному оборудованию |
ГОСТ 12.2.003-91 |
Оборудование соответствует требованиям безопасности |
1 |
|
Требования безопасности к инструменту и приспособлениям |
ГОСТ 12.2.003-91 |
Приспособления и инструменты соответствует требованиям безопасности |
||
|
Требования к инструктажу и обучению по охране труда |
ГОСТ 12.0.004-90 |
Проверка знаний по охране труда и электробезопасности проводится |
061. Оценка условий труда:
по степени вредности и опасности – класс 3.1 – вредные
по степени травмобезопасности – класс 1 – оптимальные
Строка 070. Обеспеченность средствами индивидуальной защиты
|
Дата Проведения оценки |
Наименование средств индивидуальной защиты |
Документ, регламентирующий требования к средствам индивидуальной защиты |
Фактическое значение оценки |
|
Декабрь 2008 г. |
Фартук резиновый |
ГОСТ 12.4.099 - 80 |
Соответствует |
|
При выполнение работ по обработке пошипников: ботинки кожаные. |
ГОСТ 5394 - 85 |
Соответствует |
|
|
Каска защитная |
ТУ 6 - 19 – 186 - 81 |
Соответствует |
|
|
При выполнении всех работ дополнительно: очки защитные от механических повреждений, респиратор. |
Отраслевые нормы… ГОСТ 12.4.013-85 |
Соответствует |
|
|
Рукавицы резиновые |
Отраслевые нормы… ГОСТ 12.4.010-75 |
Соответствует |
Строка 150. Рекомендации по улучшению условий труда, необходимость дополнительных исследований:
|
Дата |
Кем внесено (должность, фамилия) |
Содержание мероприятия |
Исполнитель (должность, фамилия) |
Срок внедрения |
Отметка о выполнении |
|
Декабрь 2008 г. |
1. установление между источником шума и рабочим местом звукоизолирующей перегородки. 2. расчет общеобменной вентиляции 3. Расчет освещения по методу коэффициента использования светового потока |
5. Мероприятия по улучшению условий труда в лаборатории вибродиагностики
5.1 Разработка мероприятий по снижению уровня шума в лаборатории
Основные мероприятия по борьбе с шумом – это технические мероприятия, которые проводятся по трем главным направлениям:
- устранение причин возникновения шума или снижение его в источнике;
- ослабление шума на путях передачи;
- непосредственная защита работающих.
Наиболее эффективным средством снижения шума является замена шумных технологических операций на малошумные или полностью бесшумные, однако этот путь борьбы не всегда возможен, поэтому большое значение имеет снижение его в источнике. Снижение шума в источнике достигается путем совершенствования конструкции или схемы той части оборудования, которая производит шум, использования в конструкции материалов с пониженными акустическими свойствами, оборудования на источнике шума дополнительного звукоизолирующего устройства или ограждения, расположенного по возможности ближе к источнику.
Одним из наиболее простых технических средств борьбы с шумом на путях передачи является звукоизолирующий кожух, который может закрывать отдельный шумный узел машины.
Значительный эффект снижения шума от оборудования дает применение акустических экранов, отгораживающих шумный механизм от рабочего места или зоны обслуживания машины.
Применение звукопоглощающих облицовок для отделки потолка и стен шумных помещений приводит к изменению спектра шума в сторону более низких частот, что даже при относительно небольшом снижении уровня существенно улучшает условия труда.
Учитывая, что с помощью технических средств в настоящее время не всегда удается решить проблему снижения уровня шума большое внимание должно уделяться применению средств индивидуальной защиты (антифоны, заглушки и др.). Эффективность средств индивидуальной защиты может быть обеспечена их правильным подбором в зависимости от уровней и спектра шума, а также контролем за условиями их эксплуатации.
Разработаем мероприятия по снижению уровня шума на рабочем месте путем установления между источником шума и рабочим местом звукоизолирующей перегородки.
Рассчитаем толщину звукоизолирующей
перегородки из алюминия (плотность
кг / м3) , чтобы снизить уровень
звукового давления на 23 дБ. Максимальное
превышение уровня звукового давления
наблюдается на частоте 4000 Гц (измеренное
значение составляет – 79 дБ, допустимый
уровень – 66 дБ).
Эффективность звукоизоляции однородной перегородки (дБ) рассчитывается по формуле:
,
где
-
масса 1 м2 изолирующей перегородки,
кг;
- частота, Гц;
Масса звукоизолирующей перегородки определяется по формуле:
,
где
-
толщина звукоизолирующей перегородки,
мм;
-
плотность звукоизолирующего материала,
кг / мм3;
Тогда толщина звукоизолирующего материала определяется как:

Значит, чтобы снизить уровень звукового давления на 23 дБ, необходимо установить звукоизолирующую перегородку (из алюминия) толщиной d = 1,1 мм.
5.2 Расчет общеобменной вентиляции при выделении вредных веществ
Произведем расчет общеобменной вентиляции при выделение вредных веществ (нефтепродукты при нагревании технического масла в ванне).
При выделении

вредного
вещества потребный воздухообмен
составит:
,
где
,
- концентрация вредных веществ в удаляемом
и приточном воздухе, (
).
Концентрация
не должна превышать ПДК, т. е.
.
По санитарным нормам
.
,
где
-
концентрация вредного вещества в воздухе
рабочей зоны,
;
-
объем помещения,
;
-
время воздействия вредных веществ,
;

Тогда объем приточного воздуха равен:
;
Таким образом, потребный воздухообмен для нормализации воздушной среды помещения составляет 271,4 м3/час.
Выводы
В данной курсовой работе были изучены опасные и вредные производственные факторы в лаборатории вибродиагностики.
Составлено описание лаборатории вибродиагностики, рабочих мест и выполняемых работ.
Выявлены и оценены присутствующие опасные и вредные производственные факторы и их источники в лаборатории вибродиагностики.
Заполнена карта аттестации рабочего места инженера-механика в лаборатории вибродиагностики подшипников.
По проведенному анализу можно сделать следующие выводы:
Электромагнитное излучение в лаборатории и микроклиматические факторы (температура, важность, скорость воздуха) находятся в пределах нормы. Искусственная освещенность на участке не соответствует нормативам на 40 лк. Концентрация технического масла в воздухе рабочей зоны в 1,9 раз превышает норматив. Производственный шум превышает норматив на 9 дБ.
По результатам аттестации рабочему месту инженера-механика присвоен 3.1 класс условий труда.
Разработаны мероприятия по устранению или снижению уровня рассмотренных ОВФ. В качестве мероприятий по улучшению условий труда предложено повысить искусственную освещенность – применить для освещения лампы ЛД65-4, между рабочим местом и источником шума установить звукоизолирующую перегородку, а также увеличить общеобменную вентиляцию до 271,4 м3/час.
Список литературы
Глебова Е.В. Производственная санитария и гигиена труда. Учеб. пособие для вузов. – М.: Высш. шк., 2005. – 383с.
Михнюк Т.Ф. Охрана труда и основы экологии. Учеб. пособие. – Минск.: Вышэйшая школа, 2007. – 356с.
Белов С.В. Безопасность жизнедеятельности. – М.: Высшая школа, 2001. – 485с.
Кукин П.П., Лапин В.Л. Безопасность жизнедеятельности. Безопасность технологических процессов и производств. Охрана труда. – М.: Высшая школа, 2002. – 318с.
Безопасность производственных процессов: Справочник/Под ред. Белова С.В. – М.: Машиностроение, 1985. – 448 с.
Еремин В.Г. Обеспечение безопасности жизнедеятельности. – М.: Высшая школа, 2002. – 485с.
Кноринг Г.М., Фадин И.М., Сидоров В.Н. Справочная книга для проектирования электрического освещения. – Л.: Энергоатомиздат, 1992 –448с.
Борьба с шумом на производстве: Справочник / под ред. Е.А. Юдина. – М.: Машиностроение, 1985 – 399с.
СанПиН 2.2.4.548-96 «Гигиенические требования к микроклимату производственных помещений».
СНиП 23-05-95 «Естественное и искусственное освещение. Нормы проектирования».
ГОСТ 12.2.003-91. «ССБТ. Оборудование производственное. Общие требования безопасности».
ГОСТ 12.0.002-80 «ССБТ. Термины и определения».
Девисилов В.А. Охрана труда. – М.:ФОРУМ-ИНФРА-М, 2006. – 448с.
Денисенко Г.Ф. Охрана труда. – М.: Высшая школа, 1985. – 317с.
Бакаева Т.Н. Безопасность жизнедеятельности. Часть II: Безопасность в условиях производства: Учебное пособие. – Таганрог: ТРТУ, 1997. – 365с.
Цвиленева Н.Ю. Безопасность труда. Методические указания. – Уфа.: УГАТУ, 2001.
СанПиН 2.2.2/2.4.1340-03 «Гигиенические требования к персональным электронно-вычислительным машинам и организации работы».
ГОСТ 12.0.003-74 (1999) ССБТ «Опасные и вредные производственные факторы. Классификация».
ГОСТ 12.1.003-83 «ССБТ. Воздух рабочей зоны».
ГОСТ 12.1.050-86 «ССБТ. Методы измерения шума на рабочих местах».
21. СН 2.2.4/2.1.8.562-96 «Шум на рабочих местах, в помещениях жилых, общественных зданий и на территории жилой застройки».
22. ГОСТ 12.1.047-85 «ССБТ. Вибрация. Метод контроля на рабочих местах и в жилых помещениях морских и речных судов».
23. Безопасность и гигиена окружающей среды и труда // http://www.medinfo.ru/medzakon/zak/mejdunar/ek91.phtml
24. Комкин А.И. Шум. Измерение. Нормирование. Защита.//Безопасность жизнедеятельности, 2004. – №10.
25. ГОСТ 12.1.045-84 «ССБТ. Электростатические поля. Допустимые уровни на рабочих местах и требования к проведению контроля».