Проектирование и создании безопасных условий труда на предприятии
Проектирование и создании безопасных условий труда на предприятии
Содержание
Введение
1. Индивидуальное задание
Физические
Психофизиологические
2 Схема "Ч-М-С" с выделением доминирующего фактора
3. Выполнение расчетов:
Зануление
Шумопоглощение
Схема пожароэвакуации и оснастка помещение средствами пожаропредупреждения и пожаротушения
Выводы
Список использованной литературы
Введение
Прогрессивное общество дает возможность использования техники на пользу работников для повышения уровня жизни, для оздоровления и улучшения условий труда. Для создания здоровых условий труда, предупреждения несчастных случаев и профессиональных заболеваний необходимым является решение ряда научных и технических проблем.
Соответствие трудовой деятельности свойствам и возможностям человека является обязательным условием для обеспечения безопасности труда, здоровья работающих и высокой производительности их труда.
Взаимодействие человека и техники в системе производства ("Человек-Машина-Среда") должно рассматриваться при проектировании и создании безопасных условий труда, при решении задач оптимизации труда.
Дисциплина "Охрана труда" - нормативная дисциплина, которая предназначена для изучения основ обеспечения безопасных и безвредных условий работы человека в процессе трудовой деятельности. В курсе "Охрана труда" в высших технических учебных заведениях изучаются правовые нормы по охране труда, основы научной организации труда работников различных систем, вопросы производственной санитарии, основы электро- и пожаробезопасности. Одним из средств контроля знаний студентов высшего учебного заведения в вопросах охраны труда являются индивидуальные расчетные задания, в которых для типичных параметров требуется рассчитать те или иные показатели условий труда, обеспечивающие его безопасность. Целью данного расчетного задания является приобретение навыков самостоятельной работы студентами, изучающими дисциплину "Охрана труда"; приобретение опыта работы со справочными и нормативными материалами и документами. Такой опыт имеет большую значимость для дальнейшей работы и учебы, а также является своеобразной тренировкой перед написанием части "Охрана труда" в дипломном проекте.
1. Индивидуальное задание
Производственное помещение
имеет размеры
.
Работает 5 человек. Потребляемая мощность
электрооборудования: 5 кВт. Расстояние
до подстанции: 120 м. Сеть трехфазная
четырехпроводная с глухозаземленной
нейтралью. Вид работ: настройка
радиоаппаратуры.
Содержание работы:
Провести анализ ОВПФ;
Составить схему "Ч-М-С" с выделением доминирующего фактора;
Выполнить расчет:
а) зануления;
б) шумопоглощения;
Привести схему пожароэвакуации и оснастить помещение средствами пожаропредупреждения и пожаротушения.
Ход работы:
1 Анализ опасных и вредных производственных факторов
Реальные производственные условия характеризуются, как правило, наличием некоторых опасных и вредных производственных факторов (ОВПФ).
Опасным производственным фактором называется такой производственный фактор, воздействие которого на работающего в определенных условиях приводит к травме или к другому внезапному, резкому ухудшению здоровья.
Вредным производственным фактором называется такой производственный фактор, воздействие которого на работающего в определенных условиях приводит к заболеванию или снижению трудоспособности.
Согласно ГОСТ 12.0.003 - 74. ССБТ. ОВПФ классифицируются по природе действия на 4 группы:
физические
химические
биологические
психофизиологические
К настройке радиоаппаратуры относятся следующие работы:
выявление и устранение дефектов, замена вышедших из строя или не соответствующих по своим параметрам деталей и узлов радиоаппаратуры;
включение аппаратуры и проверка ее работоспособности;
регулировка подстроечных элементов (конденсаторов, катушек индуктивностей, резисторов и т.п.)
выявление осмотром при включенном напряжении и снятых ограждениях или открытых дверях искрений, перекрытий, пробоев и других дефектов, которые не могут быть обнаружены без подачи напряжения;
проверка работы аппаратуры на эквивалент нагрузки;
испытания аппаратуры.
Проанализируем более детально ОВПФ, с которыми приходится сталкиваться в ходе своей работы специалистам, занимающимся настройкой радиоаппаратуры.
Физические
повышенное значение напряжения в электрической сети, замыкание которой может произойти через тело человека (питание радиоаппаратуры осуществляется от сети с напряжением 220 В); такая опасность возникает при случайном прикосновении к токоведущим частям оборудования, применении различных переносных электрических контрольно-измерительных приборов или неисправной защитной изоляции (ОФ);
повышенный уровень шума на рабочем месте (настройка радиоаппаратуры - работа, требующая постоянного слухового контроля); причиной появления этого вредного фактора является практически постоянная работа радиоприборов, издающих шумы, а также системы вентиляции (ВФ);
повышенный уровень электромагнитного излучения (люди, работающие с радиоаппаратурой, которая имеет генераторы и другие устройства с использованием электромагнитных колебаний, подвергаются прямому воздействию энергии этих колебаний) (ВФ);
острые кромки, заусеницы и шероховатость поверхностей заготовок, инструментов и оборудования (при настройке радиоаппаратуры работникам часто приходится сталкиваться со снятием крышек с оборудования с помощью острых инструментов при проверке внутреннего состава оборудования) (ОФ);
недостаточная освещенность рабочей зоны (возникает при некачественном освещении производственного помещения и конкретного места работы специалиста) (ВФ);
повышенная или пониженная температура рабочей зоны (плохая система вентиляции (кондиционирования) или ее отсутствие, а также неисправность работы отопительной системы) (ВФ);
Психофизиологические
монотонность труда (работа специалиста по настройке радиоаппаратуры достаточно кропотлива и монотонна, требует повышенного внимания) (ВФ);
перенапряжение зрительных и слуховых анализаторов (регулировка радиоаппаратуры требует постоянного слухового и зрительного контроля) (ВФ).
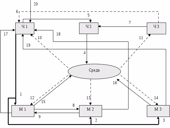
2. Схема "Ч-М-С" с выделением доминирующего фактора
Система "Человек-Машина-Среда" представляет собой объединение между собой в процессе взаимодействия человека, машины и окружающей их среды в современном производстве. В процессе функционирования системы изменяется ее внутреннее состояние. С позиции охраны труда нас будет интересовать только один из элементов внутреннего состояния системы - здоровье человека, работающего в системе и являющегося ее составной частью.
При анализе условий труда производится исследование данной системы с целью разработки защитных мероприятий, обеспечивающих безопасные условия труда. Для исследования нашей системы применим структурно-функциональный подход, предусматривающий декомпозицию системы на составные части.
Состав системы:
"Человек" - коллектив людей, занимающихся настройкой радиоаппаратуры (5 человек);
"Машина" - радиоприемники и другое электрооборудование, подлежащее настройке (5 (по одному радиоприемнику на 1 работающего в определенный момент времени));
"Среда" - ограниченное производственное помещение, в котором осуществляется настройка радиоаппаратуры.
Отметим, что площадь помещения,
приходящаяся на одного работника равна
6
(при норме 4.5
),
а объем- 24
(при норме 15
).
Система состоит из 11 элементов (5 человек + 5 машин + окружающая среда).
При анализе связей между элементами системы наибольший эффект дает не структурное разделение элемента "человек" (коллектив на структурные подразделения), а функциональное. Поэтому элемент системы "Человек" можно разделить на три функциональные составляющие:
Ч1 - человек, совершающий целенаправленные действия;
Ч2 - человек, влияющий на среду за счет потребления кислорода, тепло-, влаго- и др. выделений;
Ч3 - человек, рассматриваемый с точки зрения его психофизиологического состояния, заметим, что именно этот элемент является основным предметом изучения с позиции охраны труда.
Элемент "Машина" тоже можно разделить на три части:
М1 - выполняет основную технологическую функцию;
М2 -выполняет функции аварийной защиты;
М3 -проводит управление окружающей средой.
На рисунке 1 представлена схема описанной выше системы "Ч-М-С". Стрелки на рисунке обозначают три типа связи между элементами системы:

-
целенаправленное воздействие (управление);
информационные связи;
-
побочные влияния.
Номера возле стрелок обозначают следующие взаимодействия в системе:
1 - "Ч1-М1" (2 - "Ч1-М2", 3 - "Ч1-М3"): влияние человека на машину;
4 - "Ч2-С": влияние человека как биологического объекта на среду;
5 - "Ч1-Ч2": влияние характера труда на степень интенсивности обмена веществ с окружающей средой;
6 - "Ч3-Ч1": влияние состояния организма человека на качество его работы;
7 - "Ч3-Ч2": влияние физиологического состояния человека на степень интенсивности обмена веществ между его организмом и средой;
8 - "М1-М2": информация, необходимая для выработки аварийных управляющих воздействий;
9 - "М2-М1": аварийное управляющее воздействие;
10 - "С-Ч1": влияние окружающей среды на качество работы человека;
11 - "С-Ч3": влияние окружающей среды на психофизиологическое состояние человека;
12 - "С-М1" (13 - "С-М2", 14 - "С-М3"): влияние среды на работу машины;
15 - "М1-С": влияние машины на среду;
16 -"М3-С": целенаправленное воздействие машины на среду;
17 - "М1-Ч1" (19 - "М3-Ч1", 18 - "М2-Ч1"): информация о состоянии машины, обрабатыываемая человеком в процессе его труда;
2
0
- ВнС-Ч1: воздействие внешней системы
управления.
Рисунок 1 - Структурная схема системы "Ч-М-С"
Таким образом, проанализировав систему "Ч-М-С", можно сказать, что особо вредными факторами являются недостаточная освещенность рабочей зоны, повышенный уровень шума, повышенный уровень электромагнитного излучения, воздействие которых на человека может вызвать серьезные расстройства организма и привести к появлению профессиональных заболеваний.
Доминирующим вредным фактором (на мой взгляд) является повышенный уровень шума, вызывающий расстройства сердечно-сосудистой системы, угнетение ЦНС, возникновение гипертонической болезни, в результате чего у человека ухудшается зрение и слух, появляются головные боли, быстрая утомляемость и бессонница.
3. Выполнение расчетов
Зануление
Занулением называется преднамеренное электрическое соединение с нулевым защитным проводником металлических нетоковедущих частей, которые могут оказаться под напряжением. Нулевой защитный проводник - это проводник, соединяющий зануляемые части с глухозаземленной нейтральной точкой обмотки источника тока или ее эквивалентом.
Зануление превращает замыкание на корпус в однофазное короткое замыкание, в результате чего срабатывает максимальная токовая защита и селективно отключает поврежденный участок сети. Для этого ток короткого замыкания должен значительно превышать вставку защиты или номинальный ток плавких вставок.
В силу того, что в задании не оговорен материал, из которого выполнены фазные и нулевые проводники, вид защиты (автоматические выключатели или плавкие вставки) примем за исходные следующие данные:
фазные и нулевые проводники
выполнены из меди, удельная электроемкость
которой

;
вид защиты - предохранители
с плавкими вставками, коэффициент
кратности которых

.
Целью расчета зануления является определение условий, при которых оно быстро отключает поврежденный участок цепи от сети (срабатывание максимальной токовой защиты).
Это значит, что ток короткого
замыкания, необходимый для срабатывания
предохранителя, должен удовлетворять
условиют
,
где
- номинальный ток плавкой вставки.
Номинальный ток плавкой вставки
определяется по формуле
,
где
- фазное напряжение,
- потребляемая мощность (по условию
).
Таким образом,
.
Следовательно, ток короткого
замыкания должен быть:
.
Ток короткого замыкания рассчитывается по следующей формуле:
,
где
;
- полное сопротивление обмотки
трансформатора, берем его значение из
справочной таблицы для наименьшей
мощности и схемы соединения типа "звезда"
для трехфазных четырехпроводных сетей
с глухозаземленной нейтралью
.
и
- активные сопротивления фазного и
нулевого проводов, которые рассчитываются
по формуле:
,
где для нашей задачи
,
- длина линии (в нашем случае это расстояние
до подстанции
),
- поперечное сечение проводника;
и
- реактивные сопротивления фазного и
нулевого проводов;
- сопротивление взаимоиндукции между
ними (внешнее сопротивление).
Т. к. значения
,
и
для меди очень малы (
=
и
),
то мы ими пренебрегаем.
Получаем упрощенное выражение для тока короткого замыкания

Обычно нулевой провод имеет
сечение в 2 раза меньше, чем фазный,
поэтому его сопротивление, как минимум,
в 2 раза больше фазного при одинаковых
длинах и материалах проводников
.
Рассчитаем сопротивление
нулевого проводника. Возьмем значение
сечения проводника немного больше
минимального
(из справочной таблицы наименьших
размеров нулевых защитных проводников
).
Получаем
,
соответственно возьмем
.
Итак, ток короткого замыкания:
.
Видим, что расчетное значение тока короткого замыкания для подобранных параметров зануления удовлетворяет требованию
.
Следовательно, нулевой
защитный провод сечением
вполне обеспечивает при данных условиях
безопасность человека и отключение
поврежденного участка сети при замыкании
на корпус.
Шумопоглощение
Шум - это, с физиологической точки зрения, звук, мешающий разговорной речи и негативно влияющий на здоровье человека. Шум - это беспорядочное сочетание звуков различной частоты и интенсивности, вызывающее неприятные субъективные ощущения. В соответствии с ГОСТ 12.1 003 -83 защита от шума, создаваемого на рабочих местах внутренними источниками, а также шума, проникающего извне, осуществляется следующими методами: уменьшением шума в источнике, применением средств коллективной и индивидуальной защиты, рациональной планировкой и акустической обработкой рабочих помещений. Если невозможно уменьшение шума в самом источнике, излучающем звуковые волны, применяют меры к уменьшению интенсивности отраженных от поверхностей помещений волн, что достигается звукопоглощением. Под звукопоглощением понимают свойство акустически обработанных поверхностей уменьшать интенсивность отраженных ими волн за счет преобразований звуковой энергии в тепловую. Звукопоглощение является наиболее простым и достаточно эффективным мероприятием по уменьшению шума в производственных помещениях приборостроения, помещениях размещения работающей радиоаппаратуры.
Расчет ожидаемого снижения шума от применения звукопоглощающих облицовок сводится к следующему.
Определение требуемого снижения шума для каждой октавной полосы:
,
где
- измеренный уровень звукового давления
в
-й
октавной полосе,
- допустимый уровень звукового давления
в
-й
октавной полосе.
Эквивалентная площадь звукопоглощения в каждой октавной полосе до акустической обработки помещения
,
где
- однородные по материалу поверхности.
Эквивалентная площадь звукопоглощения после акустической обработки помещения
,
где
-
коэффициент звукопоглощения облицовки;
- площадь облицовки;
- эквивалентная площадь звукопоглощения
необлицованной поверхности
ограждений помещения.
Ожидаемая величина снижения шума в помещении в каждой октавной полосе определяется по формуле
.
Примем за исходные следующие данные:
размеры производственного
помещения
м, стены которого покрыты сухой
штукатуркой, пол выполнен из линолеума
толщиной 5 мм по твердому основанию.
для уменьшения шума будем
использовать маты из супертонкого
стекловолокна, оболочка из стеклоткани,
,
.
Отнесем работу по настройке радиоаппаратуры к виду работ, требующих постоянного слухового контроля. В силу того, что для каждой октавной полосы расчет шумопоглощения ведется по одному принципу, для упрощения расчетов произведем вычисления только для октавной полосы со среднегеометрической частотой 125 Гц.
Допустимый уровень звукового
давления определен из справочной таблицы
=74
дБ. Так как в задании не предусмотрено
другое значение, примем за измеренный
такой уровень звукового давления,
который превышает допустимый на 10%, т.е.
дБ.
Тогда требуемое снижение шума
дБ.
Цель расчета звукопоглощения
состоит в таком подборе материалов и
размеров звукопоглотителей, чтобы
ожидаемое снижение шума
дБ.
Максимальное звукопоглощение достигается при облицовке не менее 60% общей площади ограждающих поверхностей.
Поэтому для достижения хорошего эффекта шумопоглощения будем облицовывать стены и потолок, общая площадь которых составляет 74% от общей площади ограждений.
(окон) =

(стен и потолка) =

(пола) =

Рассчитываем эквивалентную площадь
звукопоглощения до облицовки:
Коэффициенты звукопоглощений для выбранных параметров (из справочной таблицы):
(окон) = 0.35
(стен и потолка) = 0.02
(пола) = 0.02

Рассчитываем эквивалентную площадь звукопоглощения после облицовки:
(окон) = 0.35
(стен и потолка) = 0.4
(пола) = 0.02

Ожидаемое снижение шума:
дБ
дБ.
Следовательно, подобранные параметры звукопоглотительных конструкций вполне обеспечивают снижение шума до допустимого значения с запасом в меньшую сторону.
Схема пожароэвакуации и оснастка помещение средствами пожаропредупреждения и пожаротушения
Производственное помещение, в котором производится настройка радиоаппаратуры представляет собой пожароопасное помещение, т.к в нем постоянно работают радиоприборы, питающиеся от электрической сети, повышение напряжения в которой может привести к возгоранию. Также следует учесть, что конденсаторы после выключения напряжения сохраняют электрический заряд (если конденсаторы высокоомны, то заряд сохраняется продолжительное время). Кроме того, электролитические конденсаторы при превышении на них рабочего напряжения могут взрываться, взрываться также могут полупроводниковые диоды, если проходящий через них ток значительно превышает допустимый. Все вышеперечисленные случаи могут привести к пожару.
Для предотвращения таких ситуаций все электроприборы, используемые в производственном помещении должны располагаться на столах, выполненных из токонепроводящих материалов. Столы должны иметь полки для размещения контрольно-измерительной аппаратуры и источников питания, оборудованы отдельными электрощитками с общим выключателем, сигнальной лампой (или вольтметром), утопленными штепсельными гнездами и шиной защитного заземления (зануления) с винтовыми зажимами, а также встроенными предохранителями.
Все ЛВЖ (если таковые имеются) должны храниться в посуде с герметическими крышками (пробками). По возможности, нужно использовать как можно меньше пожароопасных материалов.
Помимо вышеперечисленных мер предотвращения пожара, производственное помещение оснастим следующими средствами:
Автоматический комбинированный
извещатель типа КИ-1, имеющий чувствительный
элемент в виде ионизационной камеры
(реагирует на дым) и терморезисторы
(реагируют на повышение температуры).
Расчетная площадь обслуживания до 100
.
Температура срабатывания 50-80°С. Извещатель
(на рисунке 2 связь схематическая)
соединен с пунктом управления пожарной
сигнализации (ПУ).
Ручной углекислотный огнетушитель типа ОУ-5 емкостью 5 л, который предназначен для тушения различных материалов и установок напряжением до 1000 В. Продолжительность действия огнетушителя 35 с, дальность струи 2.9 м.
Пожарный кран, предназначен для тушения пожара водой, устанавливается на высоте 1,35 м от пола, оборудован пожарным рукавом 10 - 20 м и пожарным стволом.
Ящик с песком объемом 1% от
общего объема помещения; в нашем случае
объем ящика с песком составляет 1,2
.
Ящик должен быть оснащен совковой
лопатой и иметь удобную конструкцию.
Организационные мероприятия по пожарной безопасности:
Инструктажи по технике противопожарной безопасности дополненные плакатами наглядной агитации;
Периодический контроль состояния электропроводки и изоляции;
Запрет курения в неположенных местах.
Расстояние от наиболее удаленного рабочего места до эвакуационного выхода не превышает 25 метров, поэтому для нашего случая допустима проектировка одного эвакуационного выхода (двери шириной 0.8 м). Примерная схема пожароэвакуации приведена на рисунке 2.
Р
исунок
2 - схема пожароэвакуации из помещения
оснащенного средствами пожаропредупреждения
и пожаротушения
Выводы
В ходе выполнения расчетного задания проведен анализ опасных и вредных производственных факторов для специалистов по настройке радиоаппаратуры. Выявлен доминирующий вредный фактор - повышенный уровень шума в производственном помещении, причинами которого служат постоянно работающие радиоприемники и другое оборудование, принцип действия которого основан на использовании радиотехнических устройств, электронных, ионных, полупроводниковых и квантовых приборов. Длительное воздействие шума вызывает нарушения здоровья человека и зачастую ведет к профессиональному заболеванию - тугоухости.
Система "Ч-М-С" рассмотрена для указанного вида работ; исследованы основные функциональные зависимости между ее элементами.
Расчет зануления проведен по всем правилам, о чем свидетельствует расчетная величина тока короткого замыкания, на 28 А превышающая минимально допустимую. Обеспечена максимальная токовая защита для сети, в которой фазные и нулевой проводники выполнены из меди.
Для заданного объема производственного помещения выбрана эффективная звукоизоляция, снижающая уровень шума на величину, превышающую требуемую на 2 дБ.
Проведен анализ пожароопасности для заданного помещения, в котором выполняются работы по настройке, регулировке и испытанию радиоаппаратуры. Перечислены основные меры пожаропредупреждения, как организационные, так и технические. Проведена оснастка помещения средствами пожарной сигнализации и пожаротушения.
Составлена схема пожароэвакуации, на которой указано расположение рабочих мест в помещении, средств необходимых для предупреждения и тушения пожара, стрелками показан путь эвакуации людей при пожаре.
Список использованной литературы
С.П. Павлов: Охрана труда в радио - и электронной промышленности. - М.: Высшая школа, 1996.
Охрана труда в электроустановках: Учебник для вузов/Под ред. Б.А. Князевского. - М.: Энергоатомиздат, 1983.
Ю.Г. Сибаров: Охрана труда в вычислительных центрах, - М.: Машиностроение, 1990.
Н.И. Баклашов, Н.Ж. Китаева, Б.Д. Терехов: Охрана труда на предприятиях связи и охрана окружающей среды. - М.: Радио и связь, 1989.
Методические указания к выполнению раздела "Охрана труда" в дипломных проектах, Харьков, ХТУРЭ, 1998.
П.А. Долин: Справочник по технике безопасности. - М.: Энергоиздат, 1982.
Методические указания к лабораторным работам по дисциплине "Основы охраны труда" для студентов всех специальностей, Харьков, ХТУРЭ, 1999.
Е.Я. Юдин: Охрана труда в машиностроении. Учебник для машиностроительных вузов. - М.: Машиностроение, 1983.