История развития вычислительной техники (работа 4)
Министерство сельского хозяйства Российской Федерации
Алтайский государственный аграрный университет
Кафедра: Информационных технологий
КОНТРОЛЬНАЯ РАБОТА
по дисциплине: Информатика
Выполнила: студентка
Волкова Вера Александровна
Барнаул 2010 г.
Содержание
Введение
1 История развития и основные направления использования вычислительной техники
2 Операционная система
2.1 Понятие операционной системы
2.2 Развитие операционных систем
2.3 Файловая система
3 Системы управления базами данных (СУБД) и их применение
Задача №1
Вывод
Список литературы
вычислительная операционная файловая база данные
Введение
Слово «компьютер» означает «вычислитель», т.е. устройство для вычислений. Потребность в автоматизации обработки данных, в том числе вычислений, возникла очень давно. Многие тысячи лет тому назад для счета использовались счетные палочки, камешки и т.д. Более 1500 лет тому назад для облегчения вычислений стали использовать счеты.
В 1642 г. Блез Паскаль изобрел устройство, механически выполняющее сложение чисел, а в 1673 г. Готфрид Лейбниц сконструировал арифмометр, позволяющий механически выполнять четыре арифметических действия. Но расчеты производились очень медленно, к тому же требовался специально обученный человек для работы на арифмометре, поэтому все больше ученых и исследователей пытались изобрести универсальное вычислительное устройство. С ходом развития цивилизации возникало все больше потребности в электронике. В наше время трудно представить себе, что без компьютеров можно обойтись. А ведь не так давно, до начала 70-х годов вычислительные машины были доступны весьма ограниченному кругу специалистов, а их применение, как правило, оставалось окутанным завесой секретности и мало известным широкой публике. Однако в 1971 году произошло событие, которое в корне изменило ситуацию и с фантастической скоростью превратило компьютер в повседневный рабочий инструмент десятков миллионов людей. В том, вне всякого сомнения знаменательном году еще почти никому не известная фирма Intel из небольшого американского городка с красивым названием Санта-Клара (шт. Калифорния), выпустила первый микропроцессор. Именно ему мы обязаны появлением нового класса вычислительных систем – персональных компьютеров, которыми теперь пользуются, по существу, все, от учащихся начальных классов и бухгалтеров до ученых и инженеров.
Для экономистов появление персонального компьютера намного облегчило выполнение многих операций, при выполнении своих обязанностей. Если раньше для расчета заработной платы, расчета себестоимости продукции, амортизации и т.д. приходилось считать вручную начисления на каждого человека или единицу продукции, что отнимало много времени, то с появлением электронных таблиц нужно просто ввести данные в однажды созданную таблицу и все рассчитывается автоматически. Документы, создаваемые в компьютере, не теряются, их не нужно набирать много раз, если необходимо несколько экземпляров. Исчезла необходимость создавать многотомные бумажные архивы, занимающие много места и собирающие кучу пыли.
В настоящее века невозможно представить себе жизнь без персонального компьютера. Компьютер прочно вошел в нашу жизнь, став главным помощником человека. На сегодняшний день в мире существует множество компьютеров различных фирм, различных групп сложности, назначения и поколений.
1. История развития и основные направления использования вычислительной техники
История компьютера тесным образом связана с попытками облегчить и автоматизировать большие объемы вычислений. Даже простые арифметические операции с большими числами затруднительны для человеческого мозга. Поэтому уже в древности появилось простейшее счетное устройство - абак. В семнадцатом веке была изобретена логарифмическая линейка, облегчающая сложные математические расчеты. В 1642 году Блез Паскаль сконструировал восьмиразрядный суммирующий механизм. Два столетия спустя в 1820 году француз Шарль де Кольмар создал арифмометр, способный производить умножение и деление. Этот прибор прочно занял свое место на бухгалтерских столах.
Основные идеи, которые лежат в основе работы компьютеров, были изложены еще в 1833 году английским математиком Чарльзом Бэббиджем. Он разработал проект машины для выполнения научных и технических расчетов, где предугадал основные устройства современного компьютера, а также его задачи. Управление такой машиной должно было осуществляться программным путем. Для ввода и вывода данных Бэббидж предлагал использовать перфокарты - листы из плотной бумаги с информацией, наносимой с помощью отверстий. В то время перфокарты уже использовались в текстильной промышленности. Отверстия в них пробивались с помощью специальных устройств - перфораторов. Идеи Бэббиджа стали реально воплощаться в жизнь в конце 19 века.
В 1888 году американский инженер Герман Холлерит сконструировал первую электромеханическую счетную машину. Эта машина, названная табулятором, могла считывать и сортировать статистические записи, закодированные на перфокартах. В 1890 году изобретение Холлерита было впервые использовано в 11-й американской переписи населения. Работа, которую пятьсот сотрудников выполняли в течение семи лет, Холлерит сделал с 43 помощниками на 43 табуляторах за один месяц.
В 1896 году Герман Холлерит основал фирму Computing Tabulating Recording Company, которая стала основой для будущей Интернэшнл Бизнес Мэшинс (International Business Machines Corporation, IBM) - компании, внесшей гигантский вклад в развитие мировой компьютерной техники. Дальнейшие развития науки и техники позволили в 1940-х годах построить первые вычислительные машины. Создателем первого действующего компьютера Z1 с программным управлением считают немецкого инженера Конрада Цузе.
В феврале 1944 года на одном из предприятий Ай-Би-Эм (IBM) в сотрудничестве с учеными Гарвардского университета по заказу ВМС США была создана машина "Mark 1". Это был монстр весом около 35 тонн. В "Mark 1" использовались механические элементы для представления чисел и электромеханические - для управления работой машины. Числа хранились в регистрах, состоящих из десятизубных счетных колес. Каждый регистр содержал 24 колеса, причем 23 из них использовались для представления числа (т.е. "Mark 1" мог "перемалывать" числа длинной до 23 разрядов), а одно - для представления его знака. Регистр имел механизм передачи десятков и поэтому использовался не только для хранения чисел; находящееся в одном регистре, число могло быть передано в другой регистр и добавлено к находящемуся там числу(или вычтено из него). Всего в "Mark 1" было 72 регистра и, кроме того, дополнительная память из 60 регистров, образованных механическими переключателями. В эту дополнительную память вручную вводились константы - числа, которые не изменялись в процессе вычислений. Умножение и деление производилось в отдельном устройстве. Кроме того, машина имела встроенные блоки, для вычисления sin x, 10x и log x. Скорость выполнения арифметических операций в среднем составляла: сложение и вычитание - 0,3 секунды, умножение - 5,7 секунды, деление - 15,3 секунды. Таким образом "Mark 1" был "эквивалентен" примерно 20 операторам, работающим с ручными счетными машинами.
Наконец, в 1946 в США была создана первая электронная вычислительная машина (ЭВМ) - ENIAC (Electronic Numerical integrator and Computer - Электронный числовой интегратор и компьютер). Разработчики: Джон Мочи (John Маuchу) и Дж. Преспер Эккерт (J. Prosper Eckert). Он был произведен на свет в Школе электрической техники Moore (при университете в Пенсильвании). Время сложения - 200 мкс, умножения - 2800 мкс иделения-24000мкс. Компьютер содержал 17468 вакуумных ламп шестнадцати типов, 7200 кристаллических диодов и 4100 магнитных элементов. Потребляемая мощность ENIAC - 174 кВт. Занимаемое пространство - около 300 кв. м. В Советском Союзе первая электронная цифровая вычислительная машина была разработана в 1950 году под руководством академика С.А. Лебедева в Академии наук Украинской ССР. Она называлась «МЭСМ» (малая электронная счётная машина).
Основоположниками компьютерной науки по праву считаются Клод Шеннон - создатель теории информации, Алан Тьюринг - математик, разработавший теорию программ и алгоритмов, и Джон фон Нейман - автор конструкции вычислительных устройств, которая до сих пор лежит в основе большинства компьютеров. В те же годы возникла еще одна новая наука, связанная с информатикой, - кибернетика, наука об управлении как одном из основных информационных процессов. Основателем кибернетики является американский математик Норберт Винер. Одно время слово "кибернетика" использовалось для обозначения вообще всей компьютерной науки, а в особенности тех ее направлений, которые в 60-е годы считались самыми перспективными: искусственного интеллекта и робототехники.
Основная тенденция развития вычислительной техники – уменьшить трудоемкость подготовки программ для решения задач, облегчить связь операторов с машинами, повысить быстродействие, эффективность использования ЭВМ и их надежность.
Основным активным элементом первого поколения ЭВМ являлась электронная лампа. Остальные компоненты электронной аппаратуры – это обычные резисторы, конденсаторы, трансформаторы. Для построения основной памяти ЭВМ уже с середины 50-х гг. начали использоваться специально разработанные для этой цели элементы – ферритовые сердечники с прямоугольной петлей гистерезиса. В качестве устройств ввода – вывода сначала использовалась стандартная телеграфная аппаратура (телетайпы, ленточные перфораторы, трансмиттеры, аппаратура счетно-перфорационных машин), а затем специально для ЭВМ были разработаны электромеханические запоминающие устройства на магнитных лентах, барабанах и дисках. К первому поколению относятся отечественные машины БЭСМ-2, Стрела, М-3, Минск-1 и др. Они имели значительные размеры, потребляли много энергии, имели сравнительно малое быстродействие, малую емкость ОП, невысокую надежность работы и недостаточное программное обеспечение. В 1947 г. в ЭВМ «Edvac» Дж. Фон-Нейман разместил программу в памяти ЭВМ и сформулировал принципы построения электронных вычислительных машин, которые сохранили свое значение до настоящего времени. На смену электронным лампам в машинах второго поколения пришли транзисторы. В отличие от ламповых машин, транзисторные машины обладали большим быстродействием, емкостью ОП, надежностью. Существенно уменьшены размеры, масса и потребляемая электроэнергия. Большим достижением явилось применение печатного монтажа. Машины второго поколения обладали большими вычислительными и логическими возможностями. Появились машины для решения научно-технических задач, экономических задач, для управления производственными процессами и различными объектами (управляющие машины). Наряду с техническим совершенствованием ЭВМ развивались методы и приемы программирования вычислений, высшей ступенью которых является автоматическое программирование. Появились алгоритмические языки, многопрограммные ЭВМ. Расширилась сфера применения ЭВМ – они стали использоваться в качестве управляющего органа в автоматизированных и автоматических системах управления, а так же в системах передачи информации.
Третье поколение ЭВМ ( с1962 г.) характеризовалось широким применением интегральных схем, заменивших большинство транзисторов и различных деталей. Благодаря интегральных схемам удалось существенно улучшить технические и эксплуатационные характеристики машины. Этому же способствовало применение многослойного печатного монтажа.
Дальнейшее развитие получило программное обеспечение, особенно – операционные системы, которые обеспечивали работу ЭВМ в различных режимах – в режиме пакетной обработки, в режиме разделения времени, в режиме запрос-ответ и т. д.
Существенно расширены возможности по обеспечению доступа к ЭВМ со стороны абонентов, находящихся на различных расстояниях (от нескольких десятков метров до сотен километров). Основной объем документации разрабатывался с помощью ЭВМ.
Четвертое поколение ЭВМ начало развиваться с 1970 г. Для них характерно применение больших интегральных схем (БИС). Высокая степень интеграции способствовала увеличению плотности компоновки электронной аппаратуры, повышению ее надежности и быстродействия, снижению стоимости.
Размеры машины и их стоимость настолько уменьшились, что появились их новые типы – от мини ЭВМ до персональных, предназначенных для индивидуального пользования.
Стоимость ЭВМ настолько снизилась, что час их работы стал стоить в десять раз меньше часа работы среднеоплачиваемого клерка. Стал расширятся рынок сбыта за счет вовлечения в него «непрограммирующих пользователей», т.е. людей не являющихся профессионалами.
С 1991 г. началась разработка ЭВМ пятого поколения, отличительной особенностью которого стало стремление повысить интеллектуальность вычислительной системы за счет перехода от обработки данных к обработке знаний. В конструкцию ЭВМ стали активно внедрятся элементы самообучения, самонастройки, адаптации.
В настоящее время работа над пятым поколением ЭВМ не завершена.
2. Операционная система
2.1 Понятие операционной системы
Операцио́нная систе́ма, ОС (англ. operating system) — базовый комплекс компьютерных программ, обеспечивающий интерфейс с пользователем, управление аппаратными средствами компьютера, работу с файлами, ввод и вывод данных, а также выполнение прикладных программ и утилит.
ОС позволяет абстрагироваться от деталей реализации аппаратного обеспечения, предоставляя разработчикам программного обеспечения минимально необходимый набор функций. С точки зрения обывателей, обычных пользователей компьютерной техники, ОС включает в себя и программы пользовательского интерфейса.
Существуют две группы определений ОС: «совокупность программ, управляющих оборудованием» и «совокупность программ, управляющих другими программами». Обе они имеют свой точный технический смысл, который, однако, становится ясен только при более детальном рассмотрении вопроса о том, зачем вообще нужны операционные системы.
Операционные системы, в свою очередь, нужны, если:
- вычислительная система используется для различных задач, причём программы, исполняющие эти задачи, нуждаются в сохранении данных и обмене ими. Из этого следует необходимость универсального механизма сохранения данных; в подавляющем большинстве случаев ОС отвечает на неё реализацией файловой системы. Современные ОС, кроме того, предоставляют возможность непосредственно «связать» вывод одной программы с вводом другой, минуя относительно медленные дисковые операции;
- различные программы нуждаются в выполнении одних и тех же рутинных действий. Напр., простой ввод символа с клавиатуры и отображение его на экране может потребовать исполнения сотен машинных команд, а дисковая операция — тысяч. Чтобы не программировать их каждый раз заново, ОС предоставляют системные библиотеки часто используемых подпрограмм (функций);
- между программами и пользователями системы необходимо распределять полномочия, чтобы пользователи могли защищать свои данные от чужого взора, а возможная ошибка в программе не вызывала тотальных неприятностей;
- необходима возможность имитации «одновременного» исполнения нескольких программ на одном компьютере (даже содержащем лишь один процессор), осуществляемой с помощью приёма, известного как «разделение времени». При этом специальный компонент, называемый планировщиком, «нарезает» процессорное время на короткие отрезки и предоставляет их поочередно различным исполняющимся программам (процессам);
- наконец, оператор должен иметь возможность, так или иначе, управлять процессами выполнения отдельных программ. Для этого служат операционные среды, одна из которых — оболочка и набор стандартных утилит — является частью ОС (прочие, такие, как графическая операционная среда, образуют независимые от ОС прикладные платформы).
Таким образом, современные универсальные ОС можно охарактеризовать прежде всего как:
использующие файловые системы (с универсальным механизмом доступа к данным),
многопользовательские (с разделением полномочий),
многозадачные (с разделением времени).
2.2 Развитие операционных систем
В начале 1985 года корпорация Microsoft, уже изрядно отставшая в сфере разработки операционных систем с оконным графическим интерфейсом от своих многочисленных конкурентов, заявила о выходе новой пользовательской среды для платформы IBM PC, опирающейся на ранее выпущенную в свет и уже нашедшую к тому времени весьма широкое распространение другую операционную систему этой компании — MS-DOS. Новая система получила известное теперь каждому пользователю персональных компьютеров название Microsoft Windows.
Впервые концепция графической оконной среды для операционной системы MS-DOS была продемонстрирована Microsoft 10 ноября 1983 года на международной компьютерной выставке COMDEX, однако официальный выпуск этой системы состоялся значительно позже. Повсеместное же применение она получила лишь после 1984 года, когда IBM начала серийное производство персональных компьютеров класса IBM PC AT 286, оснащенных достаточно большим по тем временам жестким диском объемом в 40 Мбайт, цветным графическим монитором стандарта CGA и оперативной памятью в 640 Кбайт. Windows занимала чуть больше двух мегабайтов дискового пространства, поддерживала CGA- и EGA-совместимые графические адаптеры, а также видеокарты стандарта Hercules Graphic Card, позволяла управлять оконной средой с помощью мыши и поддерживала довольно ограниченное число матричных принтеров.
Когда фирма Microsoft созвала пресс-конференцию на выставке Comdex, проходившей в ноябре 1985 года в Лас-Вегасе, многие посчитали это событие последним шансом, особенно после того как среда Windows не была выпущена, как было обещано, в июне того же года. Пресс-конференция плавно перетекла в презентацию нового продукта - Microsoft Windows 1.0.
Выпущенная на рынок в 1987 году Windows 2.0/286. ОС несла на борту в большинстве своем все те же самые приложения, что и Windows 1.0, однако элементы ее управления были значительно улучшены.
Появившаяся на рынке в 1992 году операционная система Microsoft Windows 3.1 была первой платформой семейства Windows, имевшей русскую локализованную версию и получившей широчайшее распространение в нашей стране.
Завершившаяся полной и безоговорочной победой экспансия операционных систем Microsoft Windows 3.1 и Windows 3.11 на международный рынок программного обеспечения сдерживалась лишь тем, что эти платформы, всецело удовлетворявшие нужды владельцев домашних и настольных персональных компьютеров, не вполне соответствовали требованиям корпоративных пользователей. Бурное развитие и повсеместное распространение локальных сетей и Интернета, охватившее в начале девяностых годов практически все крупные предприятия индустриально развитых стран, определяло новые приоритеты и ставило перед разработчиками системного программного обеспечения принципиально новые задачи. В первую очередь на корпоративного потребителя была рассчитана новая операционная система, представленная корпорацией Microsoft на международной компьютерной выставке в Атланте 26 мая 1993 года. Именно она стала родоначальницей следующего поколения операционных систем, известных нам под маркой Windows NT.
А 24 августа 1995 года корпорация Microsoft представила пользователям принципиально новую 32-разрядную операционную систему для настольных ПК – Windows 95.
Windows 98 Ноябрь 1998
Изменения сделанные в Windows 98 по отношению к Windows 95 незначительные и в основном касаются интерфейса пользователя. Теперь работа с файлами и в Internet реализована с помощью Internet Explorer’а.
Благодаря тому что разработчики исправили много ошибок поэтому Windows 98 - это очень "послушная" и правильная операционная система, которая в хороших руках живёт очень долго и работает быстро. За несколько лет своего существования, к Windows 95 было выпущено масса дополнений, исправлений, обновлений и других "заплаток". Практически это всё и было воплощено и интегрировано в Windows 98.
Операционная система Microsoft Windows XP (от англ. eXPerience — опыт), известная также под названием Microsoft Codename Whistler, является новой ОС семейства Windows, созданной на базе технологии NT.
Windows XP собрала в себе достоинства уже знакомых пользователям операционных систем предыдущих поколений: удобство, простоту в установке и эксплуатации ОС семейства Windows 98 и Windows ME, а также надежность и многофункциональность Windows 2000. В настоящее время Windows XP для настольных ПК и рабочих станций выпускается в трех модификациях: Home Edition для домашних персональных компьютеров, Professional Edition – для офисных ПК. Microsoft Windows XP 64bit Edition – это версия Windows XP Professional для персональных компьютеров, собранных на базе 64-битного процессора Intel Itanium с тактовой частотой более 1 ГГц. 30 ноября 2006 года Microsoft официально выпустила Windows Vista и Office 2007 для корпоративных клиентов. 30 января 2007 года начались продажи системы для обычных пользователей.
Windows Home Server — это серверная операционная система компании Microsoft, которая построена на основе Windows Server 2003 SP2 и ориентирована на домашних пользователей (что видно из названия — англ. home — дом) для использования в домашних сетях.
Продукт был анонсирован Биллом Гейтсом 7 января 2007 года и вышел 16 июля 2007 года.
Windows 7 — версия компьютерной операционной системы семейства Windows, следующая за Windows Vista, с недавнего времени начавшаяся применятся и в России.
2.3 Файловая система
Файл – это именованная область на диске или другом магнитном носителе, содержащая информацию.
Информация на дисках записывается в секторах фиксированной длины, и каждый сектор и расположение каждой физической записи (сектора) на диске однозначно определяется тремя числами: номерами поверхности диска, цилиндра и сектора на дорожке. И контроллер диска работает с диском именно в этих терминах. А пользователь желает использовать не сектора, цилиндры и поверхности, а файлы и каталоги. Поэтому кто-то (операционная система или другая программа) должен при операциях с файлами и каталогами на дисках перевести это в понятные контроллеру действия: чтение и запись определенных секторов диска. А для этого необходимо установить правила, по которым выполняется этот перевод, то есть, прежде всего, определить, как должна храниться и организовываться информация на дисках. Набор этих правил и называется файловой системой.
Файлы организованы в виде древовидной структуры, называемой файловой системой. Корнем этого дерева является корневой каталог, имеющий имя «/». Имена всех остальных файлов содержат путь – список каталогов (ветвей), которые необходимо пройти, чтобы достичь файла. Таким образом, полное имя любого файла начинается с «/» и не содержит идентификатора устройства, на котором он фактически хранится.
Обычный файл представляет собой наиболее общий тип файлов, содержащий данные в некотором формате. Для ОС такие файлы представляют собой просто последовательность байтов. Эти файлы обрабатываются прикладной программой.
Каталог – это файл, содержащий имена находящихся в нем файлов, а также указатели на дополнительную информацию – метаданные, позволяющие ОС производить операции над этими файлами. Каталоги определяют положение файла в дереве файловой системы, поскольку сам файл не содержит информации о своем местонахождении. Любая программа может прочитать содержание каталога, но только ядро имеет право на запись в каталог.
Файловая система имеет защиту от возможного искажения или стирания каких либо важных файлов, например тех, где расположена операционная система.
Файловая система FAT поддерживает имена файлов и каталогов лишь из 8 символов, плюс три символа в расширении имени. Она приводит к значительным потерям (до 20%) дискового пространства из-за больших размеров кластеров на дисках высокой емкости. Это связано с тем, что в конце последнего кластера файла остается свободное место, в среднем равное половине кластера. А на больших дисках размер кластера в FAT может достигать 32 Кбайт. Таким образом, на диске емкостью 2 Гбайта с 20000 файлов потери составят 320 Мбайт, то есть около 16%. Наконец, файловая система FAT малопроизводительна, особенно для больших дисков, не приспособлена к многозадачной работе (все операции требуют обращений к таблице размещения файлов, а потому до завершения одной операции нельзя начинать другую) и т.д.
Файловая система FAT 8 Была разработана в 1977 году Марком Макдоналдом для Microsoft BASIC. FAT8 - File Allocation Table использующая 8-битную адресацию блоков была в первой редакции IBM PC, где в качестве носителя информации использовались односторонние дискеты 5.25" емкостью 176 кб.
Диск разбит на N кластеров и таблица размещения файлов (FAT) содержит столько же элементов. Если элемент FAT равен -2 то в соответствующем кластере ничего нет. Если элемент равен -1, то в соответствующем кластере файл заканчивается. Если элемент содержит неотрицательное число, то это значит что продолжение файла находится в кластере с таким же номером (нумерация с нуля).
К сожалению FAT не содержит информации о том, где расположено начало каждого файла. Требуется вывести номера кластеров с началами файлов (по возрастанию).
3. Системы управления базами данных (СУБД) и их применение
Основы современной информационной технологии составляют базы данных (БД) и системы управления базами данных (СУБД), роль которых как единого средства хранения, обработки и доступа к большим объемам информации постоянно возрастает. При этом существенным является постоянное повышение объемов информации, хранимой в БД, что влечет за собой требование увеличения производительности таких систем. Резко возрастает также в разнообразных применениях спрос на интеллектуальный доступ к информации. Это особенно проявляется при организации логической обработки информации в системах баз знаний, на основе которых создаются современные экспертные системы.
База данных – средство организации хранения и управления большим количеством упорядоченной разнородной информации. Обычно её характеризует жёсткая внутренняя структура и взаимосвязь между отдельными элементами хранящихся данных. Работая с базой данных, пользователь абстрагируется от конкретного способа их физического хранения на компьютере.
И вместо того, чтобы иметь дело с большим количеством отдельных файлов, например, текстовых, табличных и графических, мы оперируем единым интерфейсом, посредством которого добавляем новые записи, редактируем или удаляем уже имеющиеся. Кроме того, база данных подразумевает наличие механизма генерации аналитических отчётов, который избавляет пользователя от расчёта каких-либо сложных показателей вручную и поиска необходимых фрагментов в различных файлах.
В базе данных предприятия, например, может храниться: вся информация о штатном расписании, о рабочих и служащих предприятия; сведения о материальных ценностях; данные о поступлении сырья и комплектующих; сведения о запасах на складах; данные о выпуске готовой продукции; приказы и распоряжения дирекции и т.п.
Даже небольшие изменения какой-либо информации могут приводить к значительным изменениям в разных других местах.
Пример: издание приказа о повышении в должности одного работника приводит к изменениям не только в личном деле работника, но и к изменениям в списках подразделения, в котором он работает, в ведомостях на зарплату, в графике отпусков и т.п.
Организация структуры БД формируется исходя из следующих соображений:
1. Адекватность описываемому объекту/системе — на уровне концептуальной и логической модели.
2. Удобство использования для ведения учёта и анализа данных — на уровне так называемой физической модели.
На уровне физической модели электронная БД представляет собой файл или их набор в формате TXT, CSV, Excel, DBF, XML либо в специализированном формате конкретной СУБД. Также в СУБД в понятие физической модели включают специализированные виртуальные понятия, существующие в её рамках — таблица, табличное пространство, сегмент, куб, кластер и т. д.
Хорошая модель и правильный проект базы данных формируют основу информационной системы. Построение слоя данных - часто первый критичный шаг в направлении создания новой системы, который правомерно требует внимания к деталям и тщательного планирования. База данных, как и любая компьютерная система, является моделью небольшой части реального мира. И, как любая модель, это - узкое представление, которое значительно упрощает сложность реальной вещи. Современные системы баз данных основываются на реляционной модели хранения и извлечения данных.
Базы данных используются под управлением систем управления базами данных (СУБД).
Система управления базами данных (СУБД) — это система программного обеспечения, позволяющая обрабатывать обращения к базе данных, поступающие от прикладных программ конечных пользователей. Системы управления базами данных позволяют объединять большие объемы информации и обрабатывать их, сортировать, делать выборки по определённым критериям и т.п.
Современные СУБД – это многопользовательские системы управления базой данных, которые специализируется на управлении массивом информации одним или множеством одновременно работающих пользователей. Они имеют развитый пользовательский интерфейс, который позволяет вводить и модифицировать информацию, выполнять поиск и представлять информацию в графическом или текстовом режиме, дают возможность включать звуковые фрагменты и даже видеоклипы.
СУБД обеспечивают правильность, полноту и непротиворечивость данных, а также удобный доступ к ним. Простота использования СУБД позволяет создавать новые базы данных, не прибегая к программированию, а пользуясь только встроенными функциями.
К числу функций СУБД принято относить следующие:
1. Непосредственное управление данными во внешней памяти
Эта функция включает обеспечение необходимых структур внешней памяти как для хранения данных, непосредственно входящих в БД, так и для служебных целей, например, для убыстрения доступа к данным в некоторых случаях (обычно для этого используются индексы). В некоторых реализациях СУБД активно используются возможности существующих файловых систем, в других работа производится вплоть до уровня устройств внешней памяти. СУБД поддерживает собственную систему именования объектов БД.
2. Управление буферами оперативной памяти
СУБД обычно работают с БД значительного размера; по крайней мере, этот размер обычно существенно больше доступного объема оперативной памяти. Понятно, что если при обращении к любому элементу данных будет производиться обмен с внешней памятью, то вся система будет работать со скоростью устройства внешней памяти. Практически единственным способом реального увеличения этой скорости является буферизация данных в оперативной памяти. В развитых СУБД поддерживается собственный набор буферов оперативной памяти с собственной дисциплиной замены буферов.
3. Управление транзакциями
Транзакция - это последовательность операций над БД, рассматриваемых СУБД как единое целое. Либо транзакция успешно выполняется, и СУБД фиксирует (COMMIT) изменения БД, произведенные этой транзакцией, во внешней памяти, либо ни одно из этих изменений никак не отражается на состоянии БД. Понятие транзакции необходимо для поддержания логической целостности БД.
4. Журнализация
Одним из основных требований к СУБД является надежность хранения данных во внешней памяти. Под надежностью хранения понимается то, что СУБД должна быть в состоянии восстановить последнее согласованное состояние БД после любого аппаратного или программного сбоя.
Поддержание надежности хранения данных в БД требует избыточности хранения данных, причем та часть данных, которая используется для восстановления, должна храниться особо надежно. Наиболее распространенным методом поддержания такой избыточной информации является ведение журнала изменений БД.
5. Поддержка языков БД
Для работы с базами данных используются специальные языки, в целом называемые языками баз данных. В современных СУБД обычно поддерживается единый интегрированный язык, содержащий все необходимые средства для работы с БД, начиная от ее создания, и обеспечивающий базовый пользовательский интерфейс с базами данных. Стандартным языком наиболее распространенных в настоящее время реляционных СУБД является язык SQL (Structured Query Language).
Обычно современная СУБД содержит следующие компоненты:
ядро, которое отвечает за управление данными во внешней и оперативной памяти и журнализацию,
процессор языка базы данных, обеспечивающий оптимизацию запросов на извлечение и изменение данных и создание, как правило, машинно-независимого исполняемого внутреннего кода,
подсистему поддержки времени исполнения, которая интерпретирует программы манипуляции данными, создающие пользовательский интерфейс с СУБД
а также сервисные программы (внешние утилиты), обеспечивающие ряд дополнительных возможностей по обслуживанию информационной системы.
Быстрое развитие потребностей применений БД выдвигает новые требования к СУБД:
поддержка широкого спектра типов представляемых данных и операций над ними (включая фактографические, документальные, картинно-графические данные);
естественные и эффективные представления в БД разнообразных отношений между объектами предметных областей (например, пространственно-временных с обеспечением визуализации данных);
поддержка непротиворечивости данных и реализация дедуктивных БД;обеспечение целостности БД в широком диапазоне разнообразных предметных областей и операционных обстановок;
управление распределенными БД, интеграция неоднородных баз данных;
существенное повышение надежности функционирования БД.
По технологии обработки данных базы данных подразделяются на централизованные и распределенные.
Централизованная база данных хранится в памяти одной вычислительной системы, к которой подключены несколько других компьютеров.
Распределенная база данных состоит из нескольких, возможно пересекающихся или даже дублирующих друг друга частей, хранимых в различных ПК компьютерной сети. Работа с такой базой осуществляется с помощью системы управления распределенной базой данных (СУРБД).
По способу доступа к данным базы данных подразделяются на базы данных с локальным доступом и базы данных с удаленным (сетевым) доступом.
Системы централизованных баз данных с сетевым доступом предполагают различные архитектуры подобных систем:
Файл – сервер. Согласно этой архитектуре в компьютерной сети выделяется машина – сервер для хранения файлов централизованной базы данных. Файлы базы данных могут быть переданы на рабочие станции для обработки: ввода, корректировки, поиска записей. При большой интенсивности доступа к одним и тем же файлам производительность системы падает. В этой системе сервер и рабочие станции должны быть реализованы на достаточно мощных компьютерах.
На данный момент файл – серверные СУБД считаются устаревшими.
Примеры: Microsoft Access, Borland Paradox.
Клиент – сервер – архитектура, используемая не только для хранения файлов централизованной базы данных на сервере, но и выполняющая на том же сервере основной объем работы по обработке данных. Таким образом, при необходимости поиска информации в базе данных рабочим станциям – клиентам передаются не файлы данных, а уже записи, отобранные в результате обработки файлов данных. Такая архитектура позволяет использовать маломощные компьютеры в качестве рабочих станций, но обязательно в качестве сервера используется очень мощный компьютер.
Примеры: Firebird, Interbase, MS SQL Server, Sybase, Oracle, MySQL,
PostgreSQL.
Прежде чем создавать базу данных, с которой вам придется работать, необходимо выбрать модель данных, наиболее удобную для решения поставленной задачи.
Модель данных – совокупность структур данных и операций их обработки.
С помощью модели данных могут быть представлены объекты предметной области и взаимосвязи между ними. Модели данных, которые поддерживают СУБД, а, следовательно, и сами СУБД делят на:
иерархические;
сетевые;
реляционные;
файловые.
В базах данных, основанных на файловой модели, используются простейшие по современным понятиям СУБД, в которых реализовывается простейший механизм поиска необходимых пользователю записей. Фактически в них для реализации запроса нового типа требуется писать дополнительный программный модуль.
В различных СУБД описание объекта для БД иерархического типа может называться по-разному: тип записи, файл, сегмент (далее используем термин «запись»). В свою очередь, запись состоит из одного или нескольких элементов данных (это аналог поля в файловой модели). Элементы упорядочиваются в некотором порядке.
В СУБД на основе сетевой модели типичными являются операции:
- поиск указанной записи;
- переход от предка к потомку;
- переход от потомка к предку;
- просмотр предков или потомков в заданном порядке;
- добавление записи в заданную позицию иерархии и др.
Если говорить об основной идее СУБД, то она заключается в передаче управления данными из прикладной программы и/или от пользователя одной специальной системе, которая вне зависимости от того, какая программа или версия программы, или же какой пользователь работает с данными, единым во всех случаях образом отслеживает защиту данных от рассогласованности, оптимизирует выполнение операций над данными, обращения к ним и т.д.
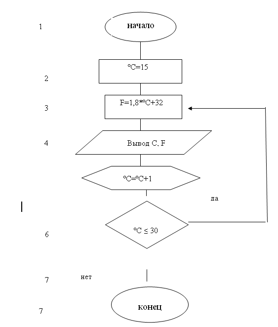
Задача №1
Напечатать таблицу перевода температуры из градусов по шкале Цельсия (ºС) по шкале Фаренгейта (F), для значений от 15 ºС до 30 º с шагом 1 ºС. Перевод осуществляется по формуле F=1,8*ºС+32.

Заключение
В данной контрольной работе были рассмотрены моменты возникновения и развития ЭВМ, развитие и примеры операционных систем а также системы управления базами данных и их применение.
С начала возникновения и до наших дней ЭВМ претерпели значительные изменения, с каждым разом становясь все более совершенными.
Современные персональные IВМ РС-совместимые компьютеры являются наиболее широко используемым видом компьютеров, их мощность постоянно увеличивается, а область применения расширяется. Эти компьютеры могут объединяться в сети, что позволяет десяткам и сотням пользователей легко обмениваться информацией и одновременно получать доступ к общим базам данных. Средства электронной почты позволяют пользователям компьютеров с помощью обычной телефонной сети посылать текстовые и факсимильные сообщения в другие города и страны и получать информацию из крупных банков данных. Глобальная система электронной связи Intеrnеt обеспечивает за крайне низкую цену возможность оперативного получения информации из всех уголков земного шара, предоставляет возможности голосовой и факсимильной связи, облегчает создание внутрикорпоративных сетей передачи информации для фирм, имеющих отделения в разных городах и странах.
В совершенствовании будущих ЭВМ видны два пути. На физическом уровне это переход к использованию иных физических принципов построения узлов ЭВМ – на основе оптоэлектроники, использующей оптические свойства материалов, на базе которых создаются процессор и оперативная память, и криогенной электроники, использующей сверхпроводящие материалы при очень низких температурах. На уровне совершенствования интеллектуальных способностей машин, отнюдь не всегда определяемых физическими принципами их конструкций, постоянно возникают новые результаты, опирающиеся на принципиально новые подходы к программированию. Уже сегодня ЭВМ выигрывает шахматные партии у чемпиона мира. А ведь совсем недавно это казалось совершенно невозможным. Создание новейших информационных технологий, систем искусственного интеллекта, баз знаний, экспертных систем продолжаются и в XXI веке.
Для многих мир без компьютера – далекая история, примерно такая же далекая, как открытие Америки или Октябрьская революция. Но каждый раз, включая компьютер, невозможно перестать удивляться человеческому гению, создавшему это чудо.
Вывод
Как мы видим из данной контрольной работы, с начала возникновения и до наших дней ЭВМ претерпели значительные изменения, с каждым разом становясь все более совершенными. С развитием цивилизации людям становятся необходимы все более развитые технологии. Стремясь облегчить свой труд и быт, человек создает все более совершенные машины. Однако какими бы интеллектуальными не были современные ЭВМ они все же остаются бездушными механизмами, которые создают гениальные умы людей, с каждым новым изобретением все лучше и прогрессивнее. Операционная система – базовый комплекс программ, обеспечивающий интерфейс с пользователем, управление аппаратными средствами компьютера, работу с файлами, ввод и вывод данных, а также выполнение программ и утилит. Как мы видим из контрольной работы операционная система постоянно развивается и совершенствуется. С развитием ЭВМ возникает необходимость создавать и обновленную операционную систему для удобства работы персональных компьютеров. С каждым новым выходом операционной системы разработчики стараются исправить как можно больше ошибок, для того чтобы система быстро работала и служила очень долго. Система управления базами данных служит для обработки обращений к базам данных от конечных пользователей. СУБД позволяют управлять массивом информации одним или множеством одновременно работающих пользователей, обеспечивая правильность, полноту и достоверность данных. Если бы СУБД не существовало, каждое изменение в базе данных приводило бы к разрозненности и недостоверности информации в последствии, ведь при изменении одной информации другая бы не менялась автоматически, и пришлось бы следить за этим самим пользователям, что не очень удобно при работе с большим объемом информации.
Список литературы
1. А. Гордеев. «Операционные системы» — СПб.: Питер, 2007 (учебник для ВУЗов)
2. Екимов К.А., Подрядчиков С.Ф. Учебно-методическое пособие по подходу пользователей к выбору операционной системы, Петрозаводск 1999.
3. Коннолли Т., Бегг К. Базы данных. Проектирование, реализация и сопровождение. Теория и практика — 3-е изд. — М.: «Вильямс», 2003.
4. Семенов Н.И. Автоматизированные информационные технологии. Учебник. – Москва.: «Инфра-М». 2000г.
5. Фигурнов В.Э. IBM PC для пользователя. Изд. 6-е, переработ и доп. – М.: ИНФРА-М, 1996
6. Алехина Г.В. вычислительные сети системы и телекоммуникаций. Московский международный институт эконометрики, информатики, финансов и права. – М., 2003
1