Захист від виробничого шуму і вібрації
РЕФЕРАТ
з дисципліни «Охорона праці»
Тема: «Захист від виробничого шуму і вібрації»
План
1. Дія на організм людини
2. Основні поняття і їх фізичні параметри
3. Нормування шуму і вібрації
4. Вимірювання шуму і вібрації
5. Методи боротьби з шумом і вібрацією
6. Захист від дії ультразвуку, інфразвуку
7. Захист від лазерних випромінювань
1. Дія на організм людини
Шум і вібрацію на виробництві створюють різні механізми і машини (ДВЗ, компресори, насоси, вентилятори, молоти, металоріжучі верстати, електродвигуни, трансформатори, генератори і ін.).
Шкідлива дія вібрацій виражається в зниженні ККД, спрацюванні деталей, частому ремонті і наладці машин, а також небезпеці виникнення аварій машин. За статистикою близько 80% поломок і аварій є результатом недопустимих коливань. Крім того, шум і вібрація несприятливо впливають на людину. Шум не лише негативно діє на слух, але і може викликати розлади сердечно-судинної і нервової систем, травного тракту, а також гіпертонічні хвороби. Шум є однією з причин швидкого стомлення робітників, може викликати запаморочення, що призводить до нещасних випадків. Від постійної дії шуму з'являються професійна хвороба – глухота.
У тижневику «За кордоном» в статті «Децибели, що забирають здоров'я» наголошується, що втрата слуху є найпоширенішим фізичним недоліком в країні, стверджує канадське товариство слуху, а промисловий шум складає його основну причину. За повідомленням міністерства охорони здоров'я, близько двох мільйонів канадців погано чують. Глухота «урожає більшу кількість людей, ніж рак, сліпота, туберкульоз, склероз, венеричні хвороби і ниркова недостатність, разом узяті».
Шум діє не лише на слух. В першу чергу, він розладжує нервову систему. Це було виявлено ще дві тисячі років назад, коли Юлій Цезар заборонив в Римі їзду вночі на гуркотливих колісницях. Чотириста років тому королева Єлизавета I заборонила чоловікам бити своїх дружин після 10 годин вечора, «щоб їх крики не непокоїли сусідів».
Шум може бути причиною виразки шлунку, викликає підвищення рівня холестерину в крові, сприяє виникненню стресового стану, скорочує життя людини. Звук зумера в автомобілі, який попереджує про те, що не застебнуті паси безпеки, служить причиною різкого підвищення тиску крові; гудіння кухонних машин погіршує травлення.
Американські вчені довгий час вели спостереження за ростом квітів при шумі і в тиші. Виявилось, що шум уповільнює їх ріст на 47%. Одна з рослин було піддано звуковому «обстрілу» в 10 децибел (по силі – це шум рухаючого поблизу поїзда). Через десять днів квітка зів’яла. Сильного шуму не витримують навіть ті, кому чути і говорити природою не дано.
В 1239 г. татарське військо, увірвавшись до Таврії, підійшло до столиці Аланського феодального князівства Киркер. Узяти фортецю вони не могли, т. до. вона мала дуже гарні укріплення (висічені в скелях печери, невидимі сторонньому оку). Атакуючі вирішили взяти фортецю шумом. Кожен воїн стукав в будь-який металевий предмет протягом декількох днів і ночей. Коли розвідники донесли, що жителі, змучені шумом, заснули, орди завойовників зі свіжих підкріплень, що не брали участі в операції «шум», проникли в печери.
У древньому Китаї найстрашнішими тортурами вважали тортури музикою. Людину садили до ями, над головою ревли труби і гуділи барабани. І в'язень або зізнавався, або божеволів.
У медицині встановлено, що шкідлива для здоров'я межа гучності, больовий поріг – 90 дБ, тривалий звук в 155 дБ викликає опіки, гучність в 180 дБ – смертельна (рис. 1).

Рис. 1. Шкала сили звуку (дБ)
Рок і дискоритми можуть порушити функціональну рівновагу півкуль головного мозку. Вони сприяють виділенню стрес-гормонів, які можуть «стирати» в мозку частина інформації. Це особливо помітно у студентів в період екзаменаційної сесії, коли знання буквально «вилітають» з голови (див. Иконникова С.Н., Лисовский В.Т. «На пороге гражданской зрелости». Л., 1982, с. 85; Н.С. Назарова «Охрана окружающей среды и экологическое воспитание студентов», 1989 с. 104).
Вібрація від устаткування передається через конструкцію і підлогу до людини і викликає загальну вібрацію його тіла. Особливо шкідливими є коливання з частотою 6-9 Гц, близькою до частоти коливань людини. Резонанс, що виникає, збільшує коливання внутрішніх органів, розширюючи або звужуючи їх. Систематична дія вібрації викликає вібраційну хворобу з втратою працездатності. Ця хвороба виникає поступово, викликаючи головний біль, роздратування, поганий сон, з’являється біль у суглобах, судоми пальців, спазми судин. У організмі виникають незворотні зміни, що призводять до інвалідності.
2. Основні поняття і їх фізичні параметри
Шум – безладне поєднання різноманітних за рівнем і частотою небажаних звуків. Вухо людини сприймає коливання з частотою від 20 до 20000 Гц, коливання нижче 20 Гц – інфразвук, вище 20 кГц – ультразвук. Звуковий діапазон прийнято підрозділяти:
– низькочастотний (до 400 Гц);
– середньочастотний (400-1000 Гц);
– високочастотний (більш 1000 Гц).
Фізично звук характеризується частотою, інтенсивністю, звуковим тиском. Вухо чутливе до звукового тиску. За одиницю звукового тиску прийнятий паскаль (Па).
Звук характеризується інтенсивністю (силою) – потік звукової енергії через одиницю площі, Вт/м2. Найменша інтенсивність звуку, яку чує вухо, називається порогом чутності: J>min >= 10-12 Вт/м2 при f = 1000 Гц. Найбільша інтенсивність звуку, яка сприймається на слух, створює відчуття болю – больовий поріг J>max >=102 Вт/м2 . У діапазоні від порогу чутності до больового порогу сила звуку збільшується в 1014 раз.
Такий величезний діапазон доступний нам завдяки здатності вуха реагувати не на абсолютну інтенсивність звуку, а на її приріст, і називається він рівнем інтенсивності звуку. Рівень інтенсивності звуку L – це логарифм відношення, що розглядається J, і на порозі чутності J>min >сил звуку, вимірюється в дБ:
,(1)
де J – інтенсивність даного звуку, Вт/м2;
J>min> – інтенсивність на порозі чутності, Вт/м2.
В ГОСТ 12.1.003-83 наводяться допустимі рівні звукового тиску. Зв'язок рівня інтенсивності звуку і звукового тиску виражається формулою:
-

(2)
де P – звуковий тиск даного звуку, Па;
P>min> – звуковий тиск на порозі чутності; P>min >= 210-5 Па на частоті 1000Гц.
Вібрація – механічне коливання пружних тіл при низьких частотах (3-100 Гц) з великими амплітудами (0,5-0,003 мм). Фізично вібрація характеризується частотою, амплітудою, швидкістю, прискоренням. Ці ж параметри враховуються для гігієнічної оцінки вібрацій.
3. Нормування шуму і вібрації
Гігієнічне нормування шуму і вібрацій визначає ДСН 3.3.6.039-99, ГОСТ 12.1.003-83 і ГОСТ 12.1.012-90, СН 245-73. При нормуванні шуму використовується два методи:
– нормування по граничному спектру шуму;
– нормування рівня звуку в дБА.
Перший метод нормування є основним для постійних шумів. Тут нормуються рівні звукових тисків в 8 октавних смугах частот з середньо-геометричними частотами 63; 125; 250; 500; 1000; 2000; 4000; 8000 Гц. Деякі граничні спектри показані на рис. 2., з якого видно, що із зростанням частоти допустимі рівні зменшуються. Наприклад: ПС-80, де 80 – допустимий рівень звукового тиску в октавній смузі з середньо-геометричною частотою 1000 Гц. Сукупність 8 допустимих рівнів звукового тиску називається граничним спектром.

Рис. 2. Криві граничних спектрів
Другий метод нормування загального рівня шуму, що вимірюється за шкалою «А» шумоміра і зветься рівнем звуку в дБА, використовується для орієнтовної оцінки постійного і непостійного шуму, оскільки в цьому випадку ми не знаємо спектру шуму. Рівень звуку (дБА) пов'язаний з граничним спектром залежністю:
L>A> = ПС + 5.
Згідно ГОСТ 12.1.012-90, гранично допустимим параметром вібрації на робочому місці залежно від частоти є: швидкість коливань, амплітуда переміщень, що виникла при роботі устаткування і передається на сидінні, робочий майданчик в зоні робочого місця – це санітарно-гігієнічне нормування. Технічне нормування за СН626-66 – «Санітарні норми і правила при роботі з інструментами, механізмами і обладнанням, що створюють вібрації, які передаються на руки робітників»
4. Вимірювання шуму і вібрації
Основним приладом для вимірювання шуму є шумомір, який складається з:
– мікрофону;
– підсилювача;
– фільтрів;
– випрямляча;
– стрілочного приладу в дБ.
У шумомірі є вихід для аналізатора спектру шуму, який дозволяє визначити рівень звукового тиску в октавних смугах частот. Для вимірювання шуму використовують:
– вітчизняні прилади Ш-70, прилад ИШВ-1, ШУМ-1М, ШМ-1, ШВК-1, ШВК-М;
– зарубіжні акустичні комплекти фірм RFT (ГДР) і «Брюль та Кьер» (Данія).
Для оцінки вібрації використовують прилад ИШВ-1, прилад НВА-1, ШВК-1, а також апаратуру фірм RFT і «Брюль та Кьер». Для вимірювання шуму і вібрацій використовується пересувна лабораторія «Віброшум-2».
5. Методи боротьби з шумом і вібрацією
Основними методами боротьби з виробничим шумом і вібрацією є:
– зменшення шуму в джерелі;
– звукопоглинання і вібропоглинання;
– звукоізоляція і віброізоляція;
– акустична обробка приміщень;
– зменшення шуму на шляху його поширення;
– раціональне планування підприємства і цехів;
– установка глушників шуму;
– вживання засобів індивідуального захисту.
Шум виникає внаслідок пружних коливань як машини в цілому, так і окремих її деталей. Причини виникнення цих коливань:
– механічні;
– аеродинамічні;
– гідродинамічні;
– електроявища.
У зв'язку з цим розрізняють шуми:
– механічні;
– аеродинамічні;
– гідродинамічні;
– електромагнітного походження.
Основним джерелом механічного шуму є:
– підшипники кочення;
– зубчасті передачі;
– неврівноважені обертаючі частини машин.
Зменшення механічного шуму може бути досягнуте шляхом вдосконалення технологічних процесів і устаткування:
– заміна ударних процесів і механізмів безударними, наприклад, застосування устаткування з гідроприводом замість устаткування з кривошипними і ексцентриковими приводами; штампування – пресуванням, клепку – зваркою, обрубування – різанням;
– заміна зворотно-поступального руху – обертальними рухами, застосування замість прямозубих шестерень – косозубих і шевронних, підвищення класу точності обробки, заміна зубчастих і ланцюгових передач – клинопасовими, що дає зниження шуму на 10-14 дБ;
– заміна підшипників кочення на ковзання, зниження шуму на 10-15 дБ;
– заміна металевих деталей на пластмасові – 10-12 дБ зниження шуму;
– застосування примусового змазування поверхонь, що труться;
– балансування обертальних елементів машин.
Основні джерела шуму верстатів можна розділити на 5 груп:
Зубчасті передачі – головного і допоміжного руху, коробки передач.
Гідравлічні агрегати.
Електродвигуни.
Напрямні труби токарних автоматів.
Інше різання.
Крім того, джерелом шуму є:
– підшипники;
– пасові передачі;
– кулачкові механізми;
– дискові муфти.
Насоси і електродвигуни повинні вмонтовуватися на віброізоляторах. На дільницях токарних автоматів джерелом шуму є удари оброблюваного прутка по стінках напрямних труб. Розроблена велика кількість конструкцій малошумних напрямних труб.
Найефективнішим методом зниження шуму при обробці металів різанням є оснащення верстата рухливими кожухами, що герметично закривають зону різання. Звичайні кожухи виготовляються з листового заліза, призначені вони лише для захисту оператора від попадання емульсії і стружки. Звукоізолюючий кожух складається з 2-х шарів листового заліза, між якими знаходиться демпфуючий матеріал. Місця контакту кожуха ущільнені вібропоглинальним матеріалом.
Кожухи і обгороджування на верстаті, призначені для усунення випадкового контакту людини з рухливим механізмом, необхідно виконувати герметичними, стінки мають бути багатошаровими або мати демпфуюче покриття.
Рівні сил виробничих шумів (в дБ):
– обдирочний верстат95-105;
– токарний верстат93-96;
– стругальний верстат97;
– ковальський цех98;
– штампувальний цех112;
– клепальний цех117;
– реактивний двигун до 130 (больовий поріг людини);
– ракетний двигун до 170.
Аеродинамічні шуми є головною складовою шуму вентиляторів, повітродувок, компресорів, газових турбін, випусків пари і повітря в атмосферу, двигунів внутрішнього згорання і ін. У двигуні внутрішнього згорання основним джерелом шуму є шум систем випуску і впуску. Аеродинамічний шум в джерелі може бути понижений збільшенням зазору між вінцями лопаток, підбором співвідношення чисел направляючих і робочих лопаток; поліпшенням аеродинамічних характеристик припливної частини компресорів, турбін і тому подібне Часто заходи з ослаблення аеродинамічних шумів в джерелі бувають недостатніми, тому застосовується звукоізоляція джерел і установка глушників.
Гідродинамічні шуми виникають внаслідок:
– стаціонарних процесів;
– нестаціонарних процесів в рідинах (кавітація, турбулентність потоку, гідравлічний удар).
Заходи боротьби:
– поліпшення гідродинамічних характеристик насосів;
– вибір оптимальних режимів роботи;
– при гідроударах – правильне проектування і експлуатація гідросистеми.
Електромагнітні шуми виникають в електромашинах і устаткуванні. Причини – взаємодія феромагнітних мас під впливом змінних магнітних полів.
Заходи захисту:
– конструктивні зміни в електромашинах, наприклад, виготовлення скошених пазів якоря ротора;
– у трансформаторах – щільніше пресування пакетів, використання демпфуючих матеріалів.
Інтенсивний шум, викликаний вібрацією, можна зменшити покриттям вібруючої поверхні матеріалом з великим внутрішнім тертям (гума, азбест, бітум), при цьому частина звукової енергії поглинається. Процес поглинання звуку відбувається за рахунок переходу енергії коливаючи частинок повітря в теплоту внаслідок втрат на тертя в порах матеріалу. Найчастіше як звукопоглинальна облицьовка застосовується конструкція у вигляді шару однорідного пористого матеріалу певної товщини, укріпленого безпосередньо на поверхні обгороджування або віднесеного від нього на деяку відстань (рис. 3.).

Рис. 3. Звукопоглинальна облицьовка 1 – стіна (стеля); 2 – звукопоглинальний матеріал; 3 – захисна оболонка; 4 – захисний перфорований шар; 5 – повітряний проміжок
Якщо стіни приміщення виконані прозоро або площа вільної поверхні недостатня для встановлення плоскої звукопоглинальної облицьовки, для зменшення шуму застосовують об'ємні штучні звукопоглиначі (мал. 4.). Це об'ємні тіла, заповнені звукопоглинальним матеріалом і підвішені до стелі рівномірно по приміщенню на певній висоті.

Рис. 4. Об'ємні штучні звукопоглиначі
В даний час застосовуються звукопоглинальні матеріали:
– ультратонке волокно;
– скловолокно;
– капронове волокно;
– мінеральна вата;
– дерево-волоконні плити;
– пористий полівінілхлорид.
Звукоізоляція – це метод зниження шуму шляхом створення конструкцій, що перешкоджають поширенню шуму з одного в інше ізольоване приміщення.
Звукоізолюючі конструкції виготовляють з щільних твердих матеріалів (метал, дерево, пластмаса), що добре перешкоджають поширенню шуму. Звукоізоляція однорідної перегородки R, дБ може бути визначена за формулою:
-

(3)
де m – маса 1 м2 перегородки, кг;
f – частота, Гц.
Шумні агрегати можна ізолювати за допомогою звукоізолюючих кожухів, які слід встановлювати без жорстких зв'язків з устаткуванням. Для збільшення ефективності звукоізоляції внутрішню поверхню кожухів облицьовують звукопоглинаючими матеріалами (рис. 5.).

Рис. 5. Звукоізоляція кожухом 1 – джерело шуму; 2 – звукопоглинаючий матеріал; 3 – глушник шуму
Ефективність (звукоізоляція) кожухів визначається за формулою:
(4)
де – коефіцієнт звукопоглинальної облицьовки;
R – звукоізоляція однорідної перегородки, дБ.
Звукоізолюючі перегородки і звукопоглинаючі кабіни ефективно знижують лише повітряний шум, але у виробництві часто зустрічається і структурний шум (при роботі вентиляторів, компресорів, ковальських молотів, насосів і ін.). Вібрація цих машин у вигляді пружних хвиль поширюється від фундаментів по конструкції будівлі в усі приміщення, де і проявляється у вигляді шуму. Ослаблення такого шуму досягається віброізоляцією і вібропоглинанням.
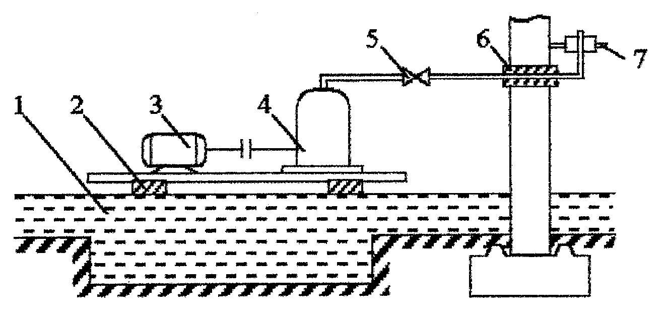
Віброізоляція усуває жорсткі зв'язки між неврівноваженими машинами і конструкцією будівлі за рахунок застосування пружних прокладок (пружин, гуми) (рис. 6.).

Рис. 6. Віброізоляція 1 – фундамент; 2 – амортизатори; 3 – електродвигун; 4 – насос-компресор; 5 – вентиль; 6 – пружна прокладка; 7 – кронштейн
Зниження вібрації, що поширюється по трубопроводах вентиляції, досягається влаштуванням розривів в окремих ділянках трубопроводів з установкою в ці ділянки м'яких вставок з брезенту (гуми).
Для захисту працюючих від прямої дії шуму використовують екрани, встановлені між джерелом шуму і робочим місцем (рис. 7.).

Рис. 7. Екранування робочого місця 1 – екран; 2 – звукопоглинаюча облицьовка; 3 – устаткування; 4 – робоче місце
Акустичний ефект екрану заснований на утворенні за ним області тіні, куди звукові хвилі проникають лише частково. Для зменшення шуму аеродинамічних установок і пристроїв застосовують в основному глушники шуму. Вони поділяються на:
– активні;
– реактивні;
– комбіновані.
Активні – поглинають шум, реактивні – відбивають енергію назад до джерела. Екранні глушники встановлюються на виході з каналу в атмосферу або на вході в канал (рис. 8.).

а) б) в)

г) д) е)
Рис. 8. Різновиди екранних глушників
-
звукопоглинаючий матеріал;
-
металевий лист
На високих частотах ефект їх встановлення досягає 10-25 дБ. Велике значення має відстань від екрану до каналу і діаметр екрану; чим ближче розташований екран і чим більший його діаметр, тим ефективніша його установка. Зниження виробничого шуму може бути досягнуте раціональним плануванням цехів і підприємств. При плануванні підприємства найбільш шумні цехи мають бути сконцентровані в одному-двох місцях. Між шумними цехами і тихими приміщеннями (заводоуправління, конструкторське бюро) мають бути розміщені зелені насадження і дотримуватися необхідна відстань. Всередині будівлі тихі приміщення необхідно розміщувати далеко від шумних, щоб їх розділяло декілька інших приміщень або обгороджувань з ефективною ізоляцією.
Загальні технічні рішення не завжди дозволяють знизити шум і вібрацію до допустимих величин. У цих випадках застосовують індивідуальні захисні засоби. До них відносять:
– вкладиші;
– навушники;
– шлеми.
Вкладиші у вигляді м'яких тампонів з ультратонкого волокна, інколи просочених воском і парафіном, жорсткі вкладиші (ебонітові, гумові) вставляють в слуховий апарат і знижують шум на 5-20 дБ. Широке застосування знайшли «Беруші».
У промисловості широко застосовують навушники ВЦНІЇОТ, що знижують рівень звукового тиску від 7 до 38 дБ. При дії шумів з високими рівнями ((120 дБ) вкладиші і навушники не забезпечать необхідного захисту, оскільки шум діє безпосередньо на мозок людини. У цих випадках застосовують шлеми.
До засобів індивідуального захисту рук від дії вібрації відносяться:
– віброзахисні рукавиці;
– прокладки або пластини, забезпечені кріпленнями для рук.
Також необхідне дотримання раціонального режиму праці і виконання гігієнічних заходів: 10 хвилинна перерва після 1 години роботи, гігієнічні ванни для кистей рук, душ після роботи, ультрафіолетове опромінення.
6. Захист від дії ультразвуку, інфразвуку
У машинобудуванні основним джерелом інфразвуку є:
– ДВЗ;
– реактивні двигуни;
– вентилятори;
– поршневі компресори.
При дії інфразвуку з рівнями 100-120 дБ виникає головний біль, відчутний рух барабанних перетинок, зниження уваги і працездатності, поява почуття страху, порушення функції вестибулярного апарату.
Основні заходи щодо боротьби з інфразвуком:
– підвищення швидкохідності машин, що забезпечує переведення максимального випромінювання в області чутних частот;
– усунення низькочастотних вібрацій;
– установка глушників реактивного типу.
При інфразвуку первинною є боротьба з цим шкідливим виробничим чинником в джерелі його виникнення.
Ультразвук знаходить широке застосування в металообробній промисловості, машинобудуванні, металургії і т. д. Частота застосування ультразвуку більше 20 кГц, потужність – до декількох кіловат. Ультразвук здійснює шкідливу дію на організм людини. В робітників спостерігається порушення нервової системи, зміна тиску, складу і властивості крові. Часті скарги на головний біль, швидку стомлюваність, втрату слухової чутливості.
Відповідно до ГОСТ 12.1.001-83 норми поширюються на рівні звукового тиску, що створюються на робочому місці коливаннями повітряного середовища з частотами більш 11,2 кГц. Допустимі рівні звукового тиску нормуються в третьоктавних смугах частот і мають наступні значення:
– 12,5 кГц – 80 дБ;
– 16 кГц – 90 дБ;
– 20 кГц – 105 дБ;
– 25 і більше – 110 дБ.
Захист від дії ультразвуку забезпечується:
– використанням в устаткуванні вищих робочих частот;
– влаштуванням екранів між устаткуванням і працюючим;
– розміщенням ультразвукових установок в спеціальних приміщеннях, кабінетах;
– дистанційним керуванням, облицюванням окремих приміщень і кабінетів звукопоглинаючими матеріалами;
– організаційно-профілактичними заходами – інструктаж, вибір раціональних режимів праці і відпочинку, застосування засобів індивідуального захисту.
шум ультразвук лазерне випромінювання
7. Захист від лазерних випромінювань
У промисловості все ширше застосовується лазерна техніка. Робота оптичних квантових генераторів (ОКГ) супроводжується випромінюванням в діапазоні оптичної частини спектру особливо небезпечному для зору, тому що випромінювання видимого діапазону фокусується на поверхні сітківки. За рахунок фокусування щільність потоку потужності на сітківці може бути на декілька порядків вище, ніж на рогівці ока.
При ураженні лазерним випромінюванням можливий також опік шкіри.
В процесі роботи лазерних установок, окрім термічних опіків, мають місце наступні небезпеки:
– висока напруга;
– іонізація повітря і поява озону;
– утворення токсичних речовин при обробці деяких матеріалів;
– надвисокочастотне електромагнітне поле;
– акустичний шум.
Захист від лазерних випромінювань полягає в наступному:
– генератор і лампа накалювання поміщається в світлонепроникну камеру;
– промінь лазера огороджують екраном або передають по світлопроводу;
– лінзи, призми, мішень забезпечують блендами і діафрагмами;
– приміщення всередині і устаткування забарвлюють в темні матові тони;
– штучне освітлення влаштовують комбіноване і не менше за нормоване;
– попереджувальний сигнал про роботу лазерної установки повинен з'являтися не лише поза приміщенням, але і всередині нього.
До індивідуальних засобів захисту відносяться:
– захисні окуляри зі склом синьо-зеленого кольору;
– руки захищають чорними рукавичками, інші частини тіла – звичайним одягом.