Устройство и классификация метательных машин
УСТРОЙСТВО И КЛАССИФИКАЦИЯ МЕТАТЕЛЬНЫХ МАШИН
Содержание
Введение
Прототипы: праща и лук
Гастрафет
Тенсионные и торсионные машины
Онагры
Основные направления развития античной артиллерии
Метательные машины в Средние Века
Итоговая классификация
Введение
С названиями метательных машин в научной литературе царит ужасная неразбериха. На то есть четыре причины:
– путаница между греческими, римскими и позднейшими системами классификации;
– смешивание названий метательных машин вообще (катапульта) с названиями отдельных видов (скорпион, онагр);
– туманное изложение технических вопросов в трудах античных и средневековых авторов;
– небрежность современных исследователей.
Я тоже исследователь неблагонадежный. С Архимедом я лично знаком не был, с Вегецием на брудершафт не пил и в осаде Алезии не участвовал.
Данная статья призвана ввести неосведомленного читателя в основной круг понятий, связанных с допороховой артиллерией, а не расставить все точки над "и" в этом темном вопросе. Однако, автора не покидает надежда, что и достаточно осведомленные в вопросе читатели смогут найти здесь по меньшей мере две-три любопытных иллюстрации.
|
|
|
Р |
Прототипы: праща и лук
Самым первым метательным устройством была праща. Как все знают, праща представляет собой кожаную или веревочную вроде бы авоську. В эту авоську вкладывали поначалу камень, а позднее стали использовать и небольшие свинцовые слитки, лат.glandes *. Потом авоську искусно раскручивали над головой, отпускали веревочку (?) – и смертоносный предмет летел в лоб противнику.
Предмет летел, конечно, не очень прицельно. Однако за счет увеличения линейной скорости камня при отрыве от авоськи по сравнению с простым броском рукой, это был прогресс, первый шаг вперед на нелегком пути человечества к нейтронной бомбе.
Позднее, но никак не позже 1500 г. до н.э., появился лук. Называя столь позднюю дату, я не имею в виду, что именно тогда появился первый лук – ясно, что история метательных устройств подобного типа насчитывает многие тысячи, если не десятки тысяч лет. Я имею в виду лишь неоспоримо достоверную датировку массового применения луков в военном деле.
Вначале лук делался из цельного куска подходящего дерева. (В Средние Века самым подходящим считался испанский тис, а как обстояли дела с военными материалами в Египте или в Ассирии мне неизвестно.) Такой цельнодеревянный лук у современных исследователей называется простым.
Потом был изобретен лук композитный. Это уже своего рода HiTec. Композитный лук изготавливался по меньшей мере из трех частей:
1. Одной центральной, как правило прямой, за которую, собственно, лучник держал лук при стрельбе.
2. Двух "плечей" или "рогов", которые являлись упругими метательными элементами и изготавливались из дерева, из кости (рога крупных животных) или по более сложным технологиям, например выклеивались во много слоев из различных пород древесины.
Конструкция лука могла усиливаться дополнительными элементами, костяными или бронзовыми пластинами, металлическими или роговыми наконечниками в местах крепления тетивы и т.д.
Первыми композитный лук достоверно применили скифы в VI в. до н.э., но как любые "первые" они были наверняка по меньшей мере вторыми. В частности, у Гомера тоже описаны композитные луки. Другой вопрос, что датировка самих "Одиссеи" и "Илиады" по сей день остается под большим вопросом, а потому относить изобретение композитного лука ко временам Троянской войны (XII в. до н.э.?) было бы опрометчиво.
Забавно, что эти два вида ручного метательного оружия – праща и лук – по сути исчерпывают физические принципы, на которых работали серийные метательные машины Античности. (О не-серийных я расскажу отдельно.) Эти принципы таковы: использование потенциальной энергии согнутого/скрученного упругого элемента (как в луке) и удлинение плеча броскового рычага при вращательном движении для увеличения линейной скорости снаряда (как в праще).
Исследователи архаической военной техники на второй принцип обычно закрывают глаза, поскольку в любой метательной машине Античности в конечном итоге главным являлась энергия сгибания/скручивания. До принципа пращи дошли только в онаграх, а до этого все метательные машины представляли собой импровизации на тему лука или, если угодно, арбалета.
С этих импровизаций и начнем.
Гастрафет
Есть мнение, что метательные машины были изобретены ассирийцами приблизительно в VII в. до н.э. и позднее через персов и финикийцев заимствованы греками. Это вполне вероятно, однако за полным отсутствием конкретной информации муссировать тему ассиро-финикийской артиллерии я не буду, а перейду сразу к греческому гастрафету.
|
|
|
Р |
Гастрафет ("брюшной лук") представляет собой по существу примитивный арбалет (Рис.2). Арбалет настолько тугой, что его для заряжания одним концом упирали в землю, а на другой конец, уперев его предварительно в живот, наваливались всем весом тела, отчего и происходит название "гастрафет". Наличие гастрафета в греческой армии начиная с IV в. до н.э. опровергает расхожее мнение о том, что арбалеты были изобретены не то китайцами в II в. до н.э. (как от вольной масти уверял Л.Гумилев), не то европейцами в X в. (как обычно утверждают поверхностные научно-популярные источники).
Гастрафет стрелял сравнительно короткими (40-60 см) стрелами с гранеными металлическими наконечниками. Такие стрелы принято называть болтами (англ.bolt) или карро (лат.carro) в противоположность длинным стрелам луков (англ.arrow).
|
|
|
Р |
Естественным развитием гастрафета стало увеличение его размеров, использование более тугого лука и появление заряжающего механизма с воротом (Рис. 3).
Это были уже достаточно внушительные и тяжелые механизмы, которые использовались стационарно, а именно при осадах и обороне крепостей. Это были первые полноценные метательные машины, которые принято именовать станковыми луками (греч. оксибелес, Рис.4).
|
|
|
Р |
Следующим шагом был переход от стрельбы стрелами по настильной траектории к метанию камней по облической или, если угодно, баллистической траектории. По этой причине такие машины принято называть баллистами, хотя в некоторых книгах подпись "баллиста" можно встретить и под стрелометом. Нет в научном мире порядка, нет стандартов и совершенства...
Для того, чтобы метать камни, тонкую тетиву заменили широкой полотняной/кожаной полосой, ложе расширили и придали ему значительный угол возвышения. Благодаря этим усовершенствованиям супостата можно было достать "навесом", через крепостную стену.
Тенсионные и торсионные машины
Мы подходим к еще двум весьма важным дистинкциям. Во-первых, к переходу от не-торсионных (англ.non-torsion) машин к торсионным (англ.torsion). (Вместо неблагозвучного термина "не-торсионные" иногда используют другой термин – тенсионные (англ.tension), однако это не вполне одно и то же, поскольку есть еще гравитационные машины, которые рассматриваются ниже.) Во-вторых, мы подходим к разделению на эвтитоны и палинтоны.
Не-торсионными называют либо те метательные машины, принцип действия которых основан на сгибании плечей лука, являющегося основой конструкции метательной машины (тенсионные машины), либо те, которые используют энергию поднятых на высоту противовесов и/или мускульную силу обслуги (гравитационные машины). Торсионными – машины, в которых произошел переход к использованию энергии скручивания толстых канатов из пучков жил животных, конского волоса или человеческих волос. Второй принцип более эргономичен и надежен (см., например, Дж.Гордон, "Луки и катапульты").
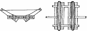
Для того, чтобы использовать энергию скручивания, потребовалось изменить конструкцию метательных механизмов. Основой торсионных машин становится не лук, а рычаг, вставленный в канат из воловьих жил / человеческих волос. На цветном изображении палинтона (Рис.1) оба рычага, на которые натянута тетива, видны хорошо, а сами пучки жил просматриваются неважно. Зато на схематичной иллюстрации (Рис.5) отлично видны оба пучка жил и оба рычага.
|
|
|
Р |
Обязательным атрибутом новых метательных машин становится рама, к которой крепятся торсионные элементы (жилы/волосы), и которая в свою очередь прикреплена к ложу, служащему направляющей для камня, стрелы или другого метательного снаряда.
В это же время возникает жесткое разделение торсионных метательных машин на палинтоны (palintonon, греч. камнемет) и эвтитоны (euthytonon, греч.стреломет). По этой классификации машина, изображенная вверху страницы, является палинтоном, а скорпион – эвтитоном (Рис.6). Заметим, что обе эти машины двухплечевые, то есть используют два рычага и два блока упругих элементов.
|
|
|
Р |
Онагры
Венцом развития античной артиллерии исследователи называют онагр. Он появляется в римской армии в III в. до н.э. и не исчезает из военных сводок вплоть до падения Римской империи. (Впрочем, и относительно "венца", и по поводу датировки появления онагра существуют самые разные мнения. В этой статье мы не будем останавливаться на нюансах онагроведения. Подробнее см. Артиллерия римской сухопутной армии)
|
|
|
Р |
По существу, онагр представляет собой одноплечевой палинтон. Упругий элемент в нем один и, в отличие от двухплечевых машин, расположен горизонтально (Рис.7). В конструкции онагра наконец-то происходит полный отказ от миметического следования внешней форме лука и своеобразный откат к принципу пращи.
"Классически"-голливудская катапульта "с ложкой" является скорее упрощенческой фантазией реквизиторов, нежели данью исторической истине. Снаряд настоящего, исторического онагра размещался обычно не в "ложке", а в праще, подвешенной к верхнему концу метательного плеча на достаточно длинных веревках (Рис.8). Когда метательное плечо ударялось о стопорную балку, влекомая инерцией праща выводила снаряд в верхнюю точку дуги, что придавало ему дополнительную кинетическую энергию.
|
|
|
Р |
Конечно, не исключено использование и "ложечных" онагров. Из общих механических соображений следует, что при прочих равных условиях онагр с "ложкой" должен был иметь меньшую дальность выстрела, но более крутую траекторию полета снаряда и несколько большую техническую надежность.
Основные направления развития античной артиллерии
Если онагры представляли собой аналог тяжелой осадной артиллерии XX в., то скорпионы можно сравнить со скорострельной полевой артиллерией, предназначенной для стрельбы прямой наводкой (Рис.9). Скорпионы были достаточно компактными и технически совершенными двухплечевыми стрелометами и широко использовались в римской армии со времен I Пунической войны (середина III в. до н.э.).
|
|
|
Р |
Скорпионы также использовались римлянами и в качестве корабельной артиллерии. Онагры на кораблях устанавливались значительно реже; мне известен только один случай, а именно осада Марцеллом Сиракуз, когда римские корабли были использованы в качестве носителей осадной техники и, в частности, онагров.
Дальнейшее развитие метательных машин в Античности шло по следующим направлениям:
– облегчение конструкции, повышение точности, стандартизация деталей;
– замена некоторых деревянных частей бронзовыми или железными; в частности, как в хиробаллистре Герона (Рис. 9, 10);
– создание многоствольных скорпионов и псевдоавтоматических многозарядных камне- и стрелометов (полиболы).
|
|
|
Р |
|
|
|
Р |
Метательные машины в Средние Века
В Средние Века к торсионным и не-торсионным машинам в Европе прибавились машины с противовесами и машины, использующие мускульную силу от нескольких до нескольких тысяч (!?) солдат. Этими машинами стали требюше и перрье (перьеры). В них вообще не было упругих элементов.
Вместо упругих элементов в требюше применялась потенциальная энергия противовесов, поднятых на большую высоту мускульной силой обслуги. Во всем остальном требюше представляли собой громоздкие и мощные одноплечевые камнеметы. Требюше имели сравнительно низкую скорострельность, но зато их калибр мог достигать 1000 фунтов (400 кг). Свои снаряды требюше могли метать на дальность 50-400 м.
Перрье же являлись уменьшенными по физическим размерам требюше, в которых, однако, отсутствовал противовес. Метание снарядов осуществлялось обслугой, которая резко и согласованно дергала за канаты, прикрепленные к основанию плеча (рычага) перрье. Такие требюше можно назвать "мускульными" или "ручными". Бриколи представляли собой ручные требюше, в которых, однако, все-таки имелся небольшой дополнительный противовес.
Также в Средневековье появились спрингалды. Это было своеобразное не-торсионное оружие, использующее для метания стрелы энергию оттянутой назад упругой доски. С классификаторной точки зрения такой спрингалд можно назвать одноплечевым гастрафетом, хоть и звучит это дико.
Наряду с тенсионными спрингалдами существовали спрингалды торсионные, представляющие собой вариации на темы античных скорпионов.
Тогда же, в Средние Века, в Германии был изобретен эйнарм – своеобразная метательная машина, по принципу действия сходная с тенсионным спрингалдом, но предназначенная для метания камней.
Возможно, встречались – правда, весьма редко – гибридные камнемёты, использующие один вертикальный рычаг, который, отводясь назад, натягивал лук. Такое сооружение следовало бы по логике вещей именовать двухплечевым гастрафетом-онагром, но этот диковинный классификационный гибрид может служить разве что иллюстрацией к абсурдности стремления быть наукообразным.
На сладкое – Summa Summarum, классификация.
Итоговая классификация
Гастрафеты: увеличенные луки (тенсионные машины); в зависимости от конструкции, могут метать как камни, так и стрелы; все гастрафеты по определению являются машинами двухплечевыми. К гастрафетам я классификационно причисляю все разновидности станковых луков, в т.ч. и греческий оксибелес.
Эвтитоны: двухплечевые стрелометы, использующие пучки жил/волос (торсионные машины); к эвтитонам, в частности, относятся римские скорпионы.
Палинтоны: двухплечевые камнеметы, использующие пучки жил/волос (торсионные машины);
(К двухплечевым торсионным машинам следует отнести и такой подкласс как полиболы – легкие автоматические стрело- и камнемёты, в которых действие автоматики гарантировалось за счет притока энергии извне, от мускульной силы обслуги.
Онагры (монанконы): одноплечевые камнеметы, использующие пучки жил/волос (торсионные машины) и, для усиления броска, принцип пращи;
Тенсионные спрингалды: одноплечевые стрелометы, использующие энергию упругой доски;
Эйнармы: одноплечевые камнеметы, также использующие энергию упругой доски или нескольких досок (тоже тенсионные машины);
Требюше: одноплечевые камнеметы, использующие противовесы (гравитационные или т.н. "не-деформационные машины с противовесами") и принцип пращи;
Перрье (перьеры), использующие мускульную силу обслуги (не-деформационные машины без противовесов).
Термины "баллиста", "катапульта" и "скорпион", из-за которых происходит в научной литературе великая путаница, имеют следующее значение:
Баллиста – римское название двухплечевого палинтона, как правило не очень большого; типовые легионные баллисты метали камень диаметром 15-18 см. (Рис.11) Не типовые могли выступать и в качестве эвтитонов, то есть крупнокалиберных стреломётов, использующих для стрельбы фактически не стрелы, а массивные колья или даже бревна.
Катапульта – греческий термин, которым обозначается любая метательная машина. Правда, в более узком смысле его применяют обычно к двухплечевым торсионным стрелометам, но нельзя сказать, что это жесткий, узаконенный узус слова "катапульта". В римский период "катапультой" называли что угодно: хоть баллисту, хоть онагр, хоть скорпион.
Скорпион – легкий римский эвтитон, широко использовавшийся не только при осаде крепостей, но и в качестве корабельной и полевой артиллерии.
Триада баллиста-онагр-скорпион исчерпывает типовой состав артиллерийского парка римского легиона. Подробнее об артиллерии в римской армии можно прочесть здесь. Большинству остальных перечисленных в данной статье образцов допороховой артиллерии посвящены отдельные статьи, список которых вынесен на титульную страницу раздела "Метательные и осадные машины".

ис.
1. Мощный греческий палинтон
http://xlegio.enjoy.ru/gastraphetes.htm
http://xlegio.enjoy.ru/gastraphetes.htmhttp://xlegio.enjoy.ru/gastraphetes.htm

http://xlegio.enjoy.ru/scorpio.htm
http://xlegio.enjoy.ru/onager.htm
http://xlegio.enjoy.ru/onager.htm
http://xlegio.enjoy.ru/scorpio.htm
http://xlegio.enjoy.ru/cheiroballistra.htm