К-3600
ВВЕДЕНИЕ
Телефонная связь - это основной вид связи по объему передаваемой информации. В нынешнее время междугородная телефонная связь развивается стремительными темпами. Возрастает протяженность линий и количество каналов, внедряются современные системы многоканальной связи, вводится в эксплуатацию современное коммутационное оборудование, автоматизируются процессы установления соединения.
Внутризоновые, первичные и магистральные сети оснащены, в основном аналоговыми системами передачи. На магистральных линиях связи работают системы передач К-3600 и К-1920П, для реконструкции симметричных линий широко применяется система К-1220С, для внутризоновых и ведомственных сетей применяют систему передачи К-420, работающую на коаксиальном кабеле ВКПАШп. На местных сетях СТС широко применяется система передачи К-60П,В-12-3 и другие.
В настоящее время создается интеллектуальная сеть многоцелевого назначения на базе цифровых системы передачи, при использовании волоконно-оптических линий связи. Но, несмотря на эти новшества и усовершенствования первичной сети ВСС РФ, используются и еще долго, будут использоваться аналоговые системы передачи, которые нашли место при разработке данного кусоового проекта.
1 ВЫБОР ТИПА КАБЕЛЯ И СИСТЕМЫ
ПЕРЕДАЧИ
Выбор системы передачи и типа кабеля осуществляется на основании заданного количества каналов на проектируемой магистрали. В соответствии с исходными данными на участке проектируемой магистрали ОП1-ОПЗ требуется организовать 3600 каналов. Для организации заданного числа каналов целесообразно использовать систему передачи К-3600 каторая предназначена для организации мощных пучков каналов на магистральной первичной сети ВСС РФ.
СП К-3600 раблтает по симметричным парам коаксиального
кабеля КМ-4. КМ-4 содержит четыре коаксиальные пары 2,6/9,4 мм и пять симметричных четверок с медными жилами диаметром 0,9 мм.
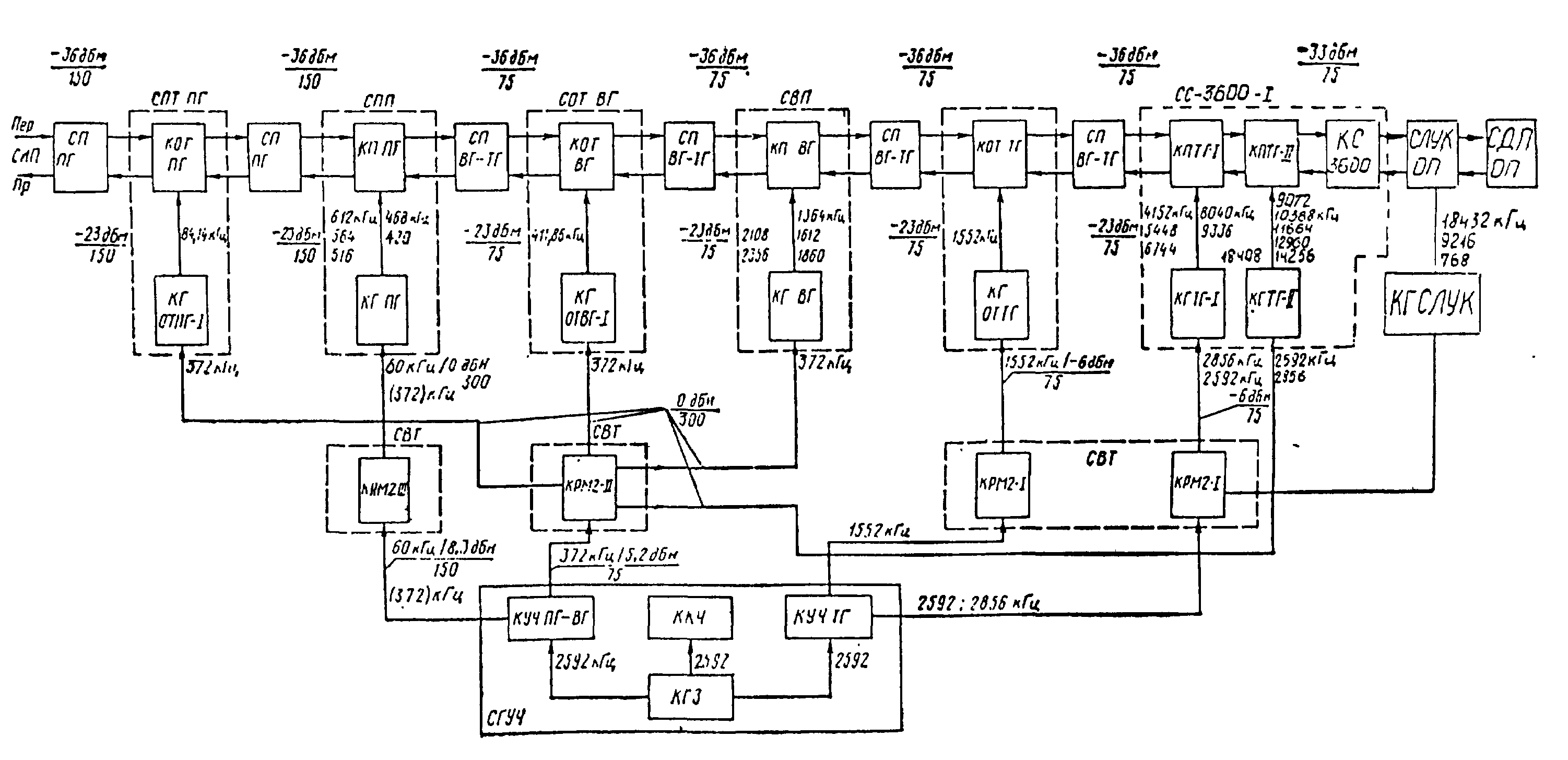
Технические данные СП К- 3600 приведены в таблице 1. Структурная схема оконечной станции СП К- 3600 приведена на рисунке 1.
1 ВЫБОР ТИПА КАБЕЛЯ И СП
Выбор СП и типа кабеля осуществляется на основании заданного количества каналов на проектируемой магистрали. В соответствии с исходными данными на участке проектируемой магистрали ОП1- ОПЗ требуется организовать 36000 каналов. Для организации заданного числа каналов целесообразно использовать систему передачи К- 3600. СП К- 3600 предназначена для организации мощных пучков каналов на магистральной первичной сети ВСС РФ.
На участке магистрали ОП1- ОУП2 (ОУП2- ОПЗ) необходимо организовать 24 канала. Для организации данного числа каналов необходимо использовать распределительную систему К- 24Р, работающую совместно с К- 3600 по симметричным парам коаксиального кабеля КМ- 4. КМ-4 содержит четыре коаксиальные пары 2,6/9,4 мм и пять симметричных четверок с медными жилами диаметром 0,9 мм.
Технические данные СП К- 3600 приведены в таблице 1. Структурная схема оконечной станции СП К- 3600 приведена на рисунке 1.
Технические данные К-24Р приведены в таблице 2.
4 КОМПЛЕКТАЦИЯ ОБОРУДОВАНИЯ
ОКОНЕЧНОЙ СТАНЦИИ
Расчет оборудования в ЛАЦ производится на основании исходных данных схемы организации связи проектируемой кабельной линии. Число требуемых стоек N рассчитывается по формуле (23).
N=E
+1,
(23)
где Е(х) - функция целой части.
n - потребляемое число каналов, групп каналов системы
передачи;
m - емкость одной стойки.
Результаты распределение каналов по группам представленны в таблице 6.
Данные расчета оборудования ЛАЦ приведены в таблице 7.
Таблица 7
|
Наименование стойки |
Тип стойки |
Ёмкость стойки |
Количество оборудования |
||||
|
ОП1 |
ОУП |
ОПЗ |
НУП |
Всего |
|||
|
Стойка индивидуального преобразования с ГО |
СИП-ГО-252 |
252 |
2 |
2 |
4 |
||
|
Стойка индивидуального преобразования |
СИП-300 |
300 |
4 |
4 |
8 |
||
|
Стойка переключения первичных групп |
СППГ |
1200 |
2 |
2 |
4 |
||
|
Стойка образования трактов ПГ |
СОТ-ПГ |
432 |
4 |
4 |
8 |
||
|
Стойка первичного преобразования |
СПП |
900 |
2 |
2 |
4 |
||
|
Стойка переключения |
СПВГ-ТГ |
4800 |
1 |
1 |
2 |
||
|
Стойка образования трактов ВГ |
СОТ-ВГ |
2160 |
1 |
1 |
2 |
||
|
Стойка вторичного преобразования |
СВП |
2400 |
1 |
1 |
2 |
||
|
Стойка образования трактов ТГ |
СОТ-ТГ |
5400 |
1 |
1 |
2 |
||
|
Стойка сопряжения |
СС |
1 сист |
1 |
1 |
2 |
||
|
Стойка линейных усилителей и корректоров |
СЛУК-ОП |
1 сист |
1 |
1 |
2 |
||
|
СЛУК-ОУП |
1 |
1 |
|||||
|
Стойка ДП |
СДП-4 |
1 сист |
1 |
1 |
Продолжение таблицы 7
|
Наименование стойки |
Тип стойки |
Ёмкость стойки |
Количество оборудования |
||||
|
ОП1 |
ОУП |
ОПЗ |
НУП |
Всего |
|||
|
Комплект автоматического выключения |
КВА-5 |
1 сист |
1 |
1 |
1 |
3 |
|
|
Стойка фильтров ДП |
СФДП |
14 к.п |
1 |
1 |
2 |
||
|
Стойка вспомогательно-торцевая |
СВТ |
2 на магист |
2 |
2 |
2 |
6 |
|
|
Стойка контроля |
СК |
1 на магист |
1 |
1 |
1 |
3 |
|
|
Стойка контрольно-измерительная |
КИС |
1 на магист |
1 |
1 |
1 |
3 |
|
|
Стойка служебной связи |
ССС |
1 на магист |
1 |
1 |
1 |
3 |
|
|
Стойка телемеханики |
СТМ |
1 на магист |
1 |
1 |
1 |
3 |
|
|
Промежуточная стойка переключений |
ПСП |
600 кросс |
6 |
6 |
12 |
||
|
Стойка генератора управляющих частот |
СГУЧ |
10000 |
1 |
1 |
2 |
||
|
Испытательное оборудование |
ИС1УВ ИС-1У ИС-2У |
370 вх 160 исх 2 сист ИС-1У |
5 4 2 |
5 4 2 |
10 8 4 |
||
|
Стойка транзита |
СТТГ |
5 тр-ов |
1 |
1 |
2 |
||
|
Стойка коммутации |
СКТВ |
1 на магист |
1 |
1 |
2 |
||
|
Стойка корректоров ТВ трактов |
СККТ |
1 на магист |
1 |
1 |
2 |
||
|
Стойка контроля ТВ и ЗВ программ вещания |
СКТПВ |
1 на магист |
1 |
1 |
1 |
||
|
Основной НУП |
20 |
20 |
|||||
|
Регулирующий НУП |
6 |
6 |
Министерство Российской Федерации
по связи и информатизации
Ростовский - на - Дону Колледж связи и информатики
ОДОБРЕНО УТВЕРЖДАЮ
на заседании цикловой комиссии Зам. Директора по УР
П
редседатель
ЦК
П.П.Беленький


« » 200 г.
«
» 200 г.
ЛАБОРАТОРНАЯ РАБОТА №
п
о
дисциплине
Т
ема
Кличество часов

Для специальности

П
реподаватель
200 г.
2 ПРЕДВАРИТЕЛЬНЫЙ РАСЧЁТ МАГИСТРАЛИ
2.1 Расчёт номинальной длины УУ
Номинальная длина усилительного участка l>ном.уу >,км> >рассчитывается по формуле (1).
l>ном.уу >= l>н>. • >t ср.г.> / >t ср.расч >, (1)
где l>н >- номинальная длина усилительного участка при
среднегодовой температуре грунта,км (l>н> =3км);
>t>>ср.г>>. >- коэффициент затухания кабеля на верхней
передаваемой частоте при среднегодовой
температуре грунта,дБ;
>t>>ср.расч>>.- >коэффициент затухания кабеля на верхней
передаваемой частоте при среднегодовой
температуре грунта в данной местности, дБ/км.
Коэффициент затухания кабеля на верхней передаваемой частоте >tср>, дБ/км рассчитывается по формуле (2).
>t>>ср.расч> = >t>>=+20 >о> >> >[1 + >> (t>ср>>.> – 20 оС)] , (2)
где >t>>= +20 >о - коэффициент затухания кабеля при t=20 о на
верхней частоте линейного спектра, дБ/км.
>t>>= +20 >= 10.36 дБ/км;
>> - температурный коэффициент затухания
кабеля, 1/град.
Расчёт:
>t>>max>>
>>=>>
>>+>>19>
о>
>=10,36[1+1,96
10-3(19
о-20
о)]
=10,34 дБ;
>t>>ср.=
+8>о>
>=10,36[1+1,96
10-3(8
о-20
о)]
=10,12 дБ;
>t>>ср.расч>>=+8,5>о=10,36[1+1,96
10-3(8,5
о-20
о)]=10,13
дБ;
L>ном.уу
>= 3
= 2,99 км.
Разработка схемы организации связи
Проектом предлагается организовать 3600 каналов тональной частоты (ТЧ). Для организации данного числа каналов предусматривается установка одной Системы передачи К-3600. Проектируемая магистраль разбивается на две секции:
1-ая секция ОП1-ОУП2, длина секции 39 км;
2-ая секция ОУП2-ОПЗ, длина секции 45 км.
Число усилительных участков секции N>уу>, рассчитывается по формуле (3).
n>уу>=Е
+
1,
(3)
где Е(х) - функция целой части,
> L>>секц>> >- длина секции дистанционного питания, км;
l>ном.уу> - номинальная длина усилительного участка, км.
Число НУП в секции ДП N>нуп>, расcчитывается по формуле (4).
N>нуп>=n>yy >-1, (4)
где n>у>>у> – число НУП в усилительном участке.
Pасчёт:
N
>уу>=E
+
1=13;
N>н>>yп 1 секц >=13 - 1=12;
45
2,99
N>yy>=E|
| +
1=15;
N>н>>yп 2 секц >=15 - 1=14.
Схема организации связи представлена на рисунке 2.
Таблица 6
|
Вид каналов |
ТТ |
Ф |
ПД |
ЗВ |
Газета |
Транзит |
ТЛВ |
ТЛФ |
||
|
Приведенное число каналов |
1 |
1 |
1 |
2(6) |
5 |
3 |
1 |
591 |
||
|
ТГ1- ТГ6 |
ВГ 4 ВГ 8 |
ПГ-1 ПГ-2 ПГ-3 ПГ-4 ПГ-5 |
||||||||
|
Итого по ТГ |
300 |
|||||||||
|
ТГ 7 |
ВГ 4 |
ПГ-1 ПГ-2 ПГ-3 ПГ-4 ПГ-5 |
1 |
1 |
1 |
1(3) 1(3) |
8 11 11 9 12 |
|||
|
Итого |
1 |
1 |
1 |
2(6) |
51 |
|||||
|
ВГ 5 ВГ 8 |
ПГ-1 ПГ-2 ПГ-3 ПГ-4 ПГ-5 |
12 12 12 12 12 |
||||||||
|
Итого |
60 |
|||||||||
|
Итого по ТГ |
1 |
1 |
1 |
2(6) |
300 |
291 |
||||
|
ТГ 8 |
ВГ 4 ВГ 8 |
ПГ-1 ПГ-2 ПГ-3 ПГ-4 ПГ-5 |
12 12 12 12 12 |
|||||||
|
Итого |
60 |
|||||||||
|
Итого по ТГ |
300 |
|||||||||
|
ТГ 9 |
ВГ 4 ВГ 8 |
ПГ-1 ПГ-2 ПГ-3 ПГ-4 ПГ-5 |
12 12 12 12 12 |
|||||||
|
Итого |
60 |
|||||||||
|
Итого по ТГ |
300 |
|||||||||
|
ТГ10 ТГ 12 |
ВГ 4 ВГ 8 |
ПГ-1 ПГ-2 ПГ-3 ПГ-4 ПГ-5 |
12 12 12 12 12 |
|||||||
|
Итого |
60 |
|||||||||
|
Итого по ТГ |
300 |
3.4 Расчёт мощности шумов линейного тракта
3.4.1 Расчет допустимой мощности шумов линейного
тракта
Допустимая мощность шумов линейного тракта в точке относительного нулевого уровня Р>ш.лт. доп>> >(О), пВт псоф, рассчитывается по формуле (14).
Р>ш.лт. доп>> >(О) = 1 L , (14)
где L - длина магистрали, км.
1пВт псоф./км.- это норма шума на 1 км. линейного
тракта.
Напряжение допустимого псофометрического шума в канале ТЧ в точке относительного уровня (ТОУ) -7дБ, U>шлтдоп(-7), >мВпсоф рассчитывается по формуле (15).
U>шлтдоп(-7>>)>=10
2,65
(15)
где 600(Ом)-это входное сопротивление канала ТЧ.
3.4.2 Расчет ожидаемой мощности шумов линейного
тракта.
Ожидаемая мощность шумов линейного тракта, Р>шлтож(0>>) >, пВт псоф., рассчитывается по формуле (16).
Р>шлтож(0>>)>=Р>сшож(0)>+Р>нпож(0)>+Р>лпож(0) >, (16)
где Р>сшож(0)> - мощность собственных шумов в ТОНУ, пВт псоф;
Величина собственных шумов в ТОНУ Р>сшож(0) >, пВт псоф, рассчитывается по формуле (17).
n
Р>сшож(0)>=К2ΣР>сшожуу>>i >>(0)> , (17)
i=1
где К – псофометрическая коэффициент, К=0,75;
Р>сшожуу>>i (0)>> >- ожидаемая мощность собственных шумов
каждого УУ в ТОНУ, пВт псоф;
Р>сшожуу>>i (0) >, пВт , определяется по формуле (18).
Р>сшожуу>>i (0>>)>=100,1(Lсшус-Lвх)+9 (18)
где L>сшус>> >- уровень собственных шумов приведенных ко входу
усилителя в ТОНУ,дБ. L>сшус> =-132 дБ ;
L>вх >– уровень на входе усилителя, дБ.
Данные расчеты ожидаемой мощности собственных шумов каждого усилительного участка приведены в таблице 5.
Ожидаемая мощность шума от нелинейных переходов в ТОНУ, Р>нпож(0)> , пВт, определяется по формуле (19).
Р>нпож(0) >= Р>сшож(0) >,> >(19)
Ожидаемая мощность шумов от нелинейных переходов в ТОНУ, Р>лпож(0) >, пВт,> >определяется по формуле (20).
Р>лпож(0)>=0, (20)
> >Напряжние ожидаемого> >псофометрического шума в точке относительного шума (-7дБ), U>шлтож(-7,0)>,мВ псоф, определяется по формуле (21).
U>шлтож(-7,0)>=102,65
(21)
Напряжение ожидаемого псофометрического шума в точке относительного уровня -7дБ<U допустимого псофометрического шума, следовательно, усилительные пункты по магистрали распределены правильно.
U>шлтож(-7,0)>> >< U>шлтдоп(-7,0)>> > (22)
> >
Расчёт:
Р
>ш.лт.
доп>> (О)>
= 1
L =1
84
=84
пВт псоф.
;
U>шлтдоп(-7>>)>=10
2,65
=
446,7 8410
-12
600 = 0,1 мВ;
Р>шлтож(0>>)>=Р>сшож(0)>+Р>нпож(0)>+Р>лпож(0)>= 34,99 + 34,99+0 = 69,98 пВт псоф;
n
Р>сшож(0)>=К2ΣР>сшожуу>>i>>(0)> = 0,75 2 62,21=34,99 пВт псоф.;
i=1
Р>нпож(0) >= Р>сшож(0) >= 34,99 пВт псоф.;
Р>лпож(0)>=0 пВт псоф.;
U
>шлтдоп(-7>>)>=102,65
=446,7
69,98
10–12
600=0,092 мВ;
U>шлтож(-7,0)>> >< U>шлтдоп(-7,0)>> >;
0,092 мВ < 0,1 мВ.
3.3 Расчет и построение диаграммы уровней
Расчет диаграммы уровней заключается в определении уровней передачи. Приема на входе и выходе усилений для верхнего по частоте канала, при наиболее тяжелых условиях работы. Уровень передачи ОП-1 равен номинальному для данной системы передачи - 13 дБ.
Уровень на входе усилителя, L>вх>, необходимо рассчитывать по формуле (10).
L>вх>=L>вых> - А>уутах>> >, (10)
где L>вых>> > - уровень на выходе предшествующего ОП, ОУП или
НУП, дБ;
А>уутах> - затухание предшествующего участка при тах
температуре грунта,дБ.
Уровень на выходе усилителя рассчитывается по формуле (11).
L>вых>=L>вх> +S, (11)
где L>вх> - уровень на входе данного усилителя, дБ;
S - усиление данного усилителя, дБ.
Рассчитаем уровень на входе НУП 1/1:
L>в>>х >= L>вых> - А>уутах>;
L>вх>> >= -13 – 31,52 = -44,52 дБ;
L>вых>> >= L>вх> +S;
L>вых> = -44,52 +31,31 = -12,14 дБ.
Результаты расчета диаграммы уровней для двух направлений приведены в таблицах 4, 4а.
3.2 Расчёт рабочего усиления усилителя
Система передачи К-3600 имеет следующие типы НУП:
НУП-0 - основной не регулирующий, оборудован
установочной регулировкой;
НУП-Р - регулирующий, оборудован АРУ по КЧ и АРУ по
температуре грунта.
Усиление не регулирующих НУП S>НУП-0>, дБ рассчитывается по формуле (7).
S>НУП-0>> >= S>уст>> , > (7)
где S>уст> - установочное усиление усилителя, выбирается
по затуханию УУ при среднегодовой
температуре грунта с учетом ступенчатой
регулировки, дБ; S>уст>=31 ± 1,5 дБ.
Усиление
регулирующих НУП
S>нул-р>,
дБ >
>
рассчитывается по формуле (8).
S >НУП-Р> = S>уст> +ΔS>КЧ> +ΔS>ТРУ, > (8)
где ΔS>кч>> >- усиление усилителя за счет АРУ по КЧ, дБ.
Рассчитывается по формуле (9).
ΔS >КЧ> =Δ • l>секции1 >/2, (9)
где Δ - изменение коэффициента затухания кабеля, дБ.
Рассчитывается по формуле (10).
Δ= t>тах> - t>ср.расч. >(10)
где l>секции1> /2 - половина расстояния от предыдущего
НУП-Р до данного, км.
S>ТРУ> - изменение усиления усилителя за счет АРУ по
температуре грунта, дБ.
Рассчитывается по формуле (11).
ΔS>тру> =Δ - l>секции2> / 2 (11)
где l>секции2 >/ 2 - половина расстояния от данного НУП-Р
до следующего, км.
Результаты расчёта усиления усилителя двух направлений приведены в таблице 3, 3а.
СОДЕРЖАНИЕ
Введение 3
1 Выбор системы передачи и типа кабеля 4
2 Предварительный расчёт магистрали 7
2.1 Расчёт номинальной длины усилительных
участков 7
2.2 Разработка схемы организации связи 9
3 Электрический расчёт каналов 12
3.1 Расчёт рабочего затухания усилительных
участков 12
3.2 Расчёт усиления усилителей 14
3.3 Расчёт и построение диаграммы уровней
передачи 18
3.4 Расчет мощности шумов линейного тракта 22
3.4.1 Расчёт допустимой мощности шумов линейного
тракта 22
3.4.2 Расчёт ожидаемой мощности шумов линейного
тракта 22
4 Комплектация оборудования оконечной станции 26
Список литературы
СПИСОК ЛИТЕРАТУРЫ
1 Справочник. – Коаксиальные и В.Ч. симметричные
кабели связи. – М.: Связь, 1987
2 Шляхтер М.С. Справочник аппаратуры сетей
связи. – М.: Связь, 1980
3 Система передачи К-3600. – М.: Радиосвязь, 1986
Таблица 6
|
Участок |
Lсшуy,дБ |
Lвх,дБ |
0,1(Lсшуу Lвх)+9 , |
100,1(Lсшуу Lвх)+9 |
|
НУП1/1 |
-132 |
-44,52 |
0,25 |
1,78 |
|
НУП2/1 |
-132 |
-42,64 |
0,06 |
1,15 |
|
НУПЗ/1 |
-132 |
-43,14 |
0,11 |
1,3 |
|
НУП4/1 |
-132 |
-44,37 |
0,23 |
1,7 |
|
НУП5/1 |
-132 |
-45,2 |
0,32 |
2,09 |
|
НУП6/1 |
-132 |
-45,71 |
0,37 |
2,34 |
|
НУП7/1 |
-132 |
-42,56 |
0,05 |
1,12 |
|
НУП8/1 |
-132 |
-45,11 |
0,31 |
2,04 |
|
НУП9/1 |
-132 |
-44,63 |
0,26 |
1,82 |
|
НУП10/1 |
-132 |
-44,94 |
0,29 |
1,86 |
|
НУП11/1 |
-132 |
-46,17 |
0,41 |
1,95 |
|
Нуп12/1 |
-132 |
-44,47 |
0,24 |
1,74 |
|
ОУП-2 |
-132 |
-45,51 |
0,35 |
2,24 |
|
НУП1/2 |
-132 |
-44 |
0,2 |
1,58 |
|
НУП2/2 |
-132 |
-46,05 |
0,40 |
2,51 |
|
НУПЗ/2 |
-132 |
-44,54 |
0,25 |
1,78 |
|
НУП4/2 |
-132 |
-44,48 |
0,22 |
1,66 |
|
НУП5/2 |
-132 |
-43,97 |
0,19 |
1,55 |
|
НУП6/2 |
-132 |
-46,21 |
0,42 |
2,63 |
|
НУП7/2 |
-132 |
-47,06 |
0,50 |
3,16 |
|
НУП8/2 |
-132 |
-47,29 |
0,52 |
3,31 |
|
НУП9/2 |
-132 |
-45,08 |
0,30 |
2,00 |
|
НУП10/2 |
-132 |
-45,58 |
0,34 |
2,18 |
|
НУП11/2 |
-132 |
-47,12 |
0,51 |
3,24 |
|
НУП12/2 |
-132 |
-47,45 |
0,55 |
3,55 |
|
НУП13/2 |
-132 |
-47,68 |
0,57 |
3,72 |
|
НУП14/2 |
-132 |
-45,46 |
0,35 |
2,24 |
|
ОП3 |
-132 |
-48,01 |
0,60 |
3,98 |
|
Итого: |
= 62,21 |
Таблица 4
|
Участок |
А>yy>>.ср.расч>>.>,дБ |
S>уст>, дБ |
ΔS>кч>, дБ |
ΔS>тру>, дБ |
S, дБ |
|
НУП1/1-Р |
31,09 |
31,0 |
0,78 |
1,95 |
33,73 |
|
НУП2/1 |
31,19 |
31,5 |
- |
- |
31,5 |
|
НУПЗ/1 |
30,38 |
30,5 |
- |
- |
30,5 |
|
НУП4/1 НУП4/1 |
30,59 |
30,5 |
- |
- |
30,5 |
|
НУП5/1 |
31,4 |
31,5 |
- |
- |
31,5 |
|
НУП6/1-Р |
30,89 |
31,0 |
1,95 |
1,95 |
34,9 |
|
НУП7/1 |
31,19 |
31,0 |
- |
- |
31,0 |
|
НУП8/1 |
30,38 |
30,5 |
- |
- |
30,5 |
|
НУП9/1 |
30,59 |
31,0 |
- |
- |
31,0 |
|
НУП10/1 |
31,4 |
31,5 |
- |
- |
31,5 |
|
НУП11/1-Р |
30,89 |
31,0 |
1,95 |
0,77 |
33,72 |
|
НУП12/1 |
31,19 |
31,5 |
- |
- |
31,5 |
|
ОУП-2 |
30,38 |
30,5 |
0,77 |
- |
31,27 |
|
НУП1/2-Р |
30,59 |
31,0 |
0,77 |
1,95 |
33,72 |
|
НУП2/2 |
31,4 |
31,5 |
- |
- |
31,5 |
|
НУПЗ/2 |
30,89 |
31,0 |
- |
- |
31,0 |
|
НУП4/2 |
31,19 |
31,0 |
- |
- |
31,0 |
|
НУП5/2 |
30,38 |
30,5 |
- |
- |
30,5 |
|
НУП 6/2-Р |
30,59 |
30,5 |
1,95 |
0,39 |
32,84 |
|
ОП-3 |
31,19 |
31,0 |
0,39 |
- |
31,39 |
Таблица 4а
|
Участок |
А>yy>>.ср.расч>>.>,дБ |
S>уст>, дБ |
ΔS>кч>, дБ |
ΔS>тру>, дБ |
S, дБ |
|
НУП6/2-Р |
31,19 |
31,0 |
0,78 |
1,95 |
33,73 |
|
НУП5/2 |
30,59 |
30,5 |
- |
- |
30,5 |
|
НУП4/2 |
30,38 |
30,5 |
- |
- |
30,5 |
|
НУП3/2 НУП4/1 |
31,19 |
31,0 |
- |
- |
31,0 |
|
НУП2/2 |
30,89 |
31,0 |
- |
- |
31,0 |
|
НУП1/2-Р |
31,4 |
31,5 |
1,95 |
0,39 |
33,84 |
|
ОУП-2 |
30,59 |
30,5 |
0,39 |
- |
30,89 |
|
НУП12/1 |
30,38 |
30,5 |
- |
- |
30,5 |
|
НУП11/1-Р |
31,19 |
31,0 |
0,77 |
1,95 |
33,72 |
|
НУП10/1 |
30,89 |
31,0 |
- |
- |
31,0 |
|
НУП9/1 |
31,4 |
31,5 |
- |
- |
31,5 |
|
НУП8/1 |
30,59 |
30,5 |
- |
- |
30,5 |
|
НУП7/1 |
30,38 |
30,5 |
- |
- |
30,5 |
|
НУП6/1-Р |
31,19 |
31,0 |
1,95 |
1,95 |
34,9 |
|
НУП5/1 |
30,89 |
31,0 |
- |
- |
31,0 |
|
НУП4/1 |
31,4 |
31,5 |
- |
- |
31,5 |
|
НУП3/1 |
30,59 |
30,5 |
- |
- |
30,5 |
|
НУП2/1 |
30,38 |
30,5 |
- |
- |
30,5 |
|
НУП 1/1-Р |
31,19 |
31,0 |
1,95 |
0,39 |
33,34 |
|
ОП-1 |
31,09 |
31,0 |
0,39 |
- |
31,39 |
Таблица 4а
|
Участок |
L>вых >, дБ |
А>уу.>>max>, дБ |
L>вх >, дБ |
S, дБ |
S>уточн>>.>>факт>,> >дБ |
|
ОП3-НУП14/2 |
-13,55 |
32,55 |
-45,55 |
32 |
|
|
НУП14/2-НУП13/2 |
-11,84 |
30,49 |
-44,04 |
32,2 |
|
|
НУП13/2-НУП12/2 |
-12,57 |
31,23 |
-43,07 |
30,5 |
|
|
НУП12/2-НУП11/2 |
-13,4 |
31,83 |
-44,4 |
31 |
|
|
НУП11/2-НУП10/2 |
-13,94 |
32,04 |
-45,44 |
31,5 |
|
|
НУП10/2-НУП9/2 |
-14,44 |
31 |
-44,94 |
30,5 |
|
|
НУП9/2-НУП8/2 |
-12,1 |
31,31 |
-45,75 |
33,65 |
|
|
НУП8/2-НУП7/2 |
-12,83 |
31,73 |
-43,83 |
31 |
|
|
НУП7/2-НУП6/2 |
-13,68 |
32,35 |
-45,18 |
31,5 |
|
|
НУП6/2-НУП5/2 |
-14,42 |
32,24 |
-45,92 |
31,5 |
|
|
НУП5/2-НУП4/2 |
-14,91 |
30,49 |
-44,91 |
30 |
|
|
НУП4/2-НУП3/2 |
-12,91 |
31,52 |
-46,43 |
33,52 |
|
|
НУП3/2-НУП2/2 |
-13,4 |
30,49 |
-43,4 |
30 |
|
|
НУП2/2-НУП1/2 |
-13,95 |
32,55 |
-45,95 |
32 |
|
|
НУП1/2-ОУП2 |
-13 |
31 |
-44,95 |
31,44 |
-31,95 |
|
ОУП2-НУП12/1 |
-13,54 |
32,04 |
-45,04 |
31,5 |
|
|
НУП12/1-НУП11/1 |
-11,84 |
31,52 |
-45,06 |
33,22 |
|
|
НУП11/1-НУП10/1 |
-12,57 |
31,73 |
-43,57 |
31 |
|
|
НУП10/1-НУП9/1 |
-13,38 |
31,31 |
-43,88 |
30,5 |
|
|
НУП9/1-НУП8/1 |
-13,9 |
31,52 |
-44,9 |
31 |
|
|
НУП8/1-НУП7/1 |
-14,45 |
32,55 |
-46,46 |
32 |
|
|
НУП7/1-НУП6/1 |
-11,79 |
30,49 |
-44,94 |
33,15 |
|
|
НУП6/1-НУП5/1 |
-12,79 |
31,51 |
-43,3 |
30,5 |
|
|
НУП5/1- НУП4/1 |
-13,63 |
31,83 |
-44,63 |
31 |
|
|
НУП4/1-НУП3/1 |
-14,36 |
31,73 |
-45,36 |
31 |
|
|
НУП3/1/НУП2/1 |
-114,86 |
31 |
-45,36 |
30,5 |
|
|
НУП2/1-НУП1/1 |
-14,48 |
31,31 |
-45,86 |
32,39 |
|
|
НУП1/1-ОП1 |
-13 |
31,52 |
-45 |
31,32 |
-32 |
Таблица 5.
-
Участок
L>вых> ,дБ
А>уу>>.>>max>,дБ
L>вх >,дБ
S ,дБ
S> >>уточн.факт>, дБ
ОП-1-НУП1/1
-11,14
31,87
-44,87
33,73
-
НУП1/1-НУП2/1
-11,62
31,98
-43,12
31,5
-
НУП2/1-НУП3/1
-12,27
31,15
-42,77
30,5
-
НУПЗ/1-НУП4/1
-13,13
31,36
-43,63
30,5
-
НУП4/1-НУП5/1
-13,82
32,19
-45,32
31,5
-
НУП5/1-НУП6/1
-10,59
31,67
-45,49
34,9
-
НУП6/1-НУП7/1
-11,57
31,98
-42,57
31,0
-
НУП7/1-НУП8/1
-12,22
31,15
-42,72
30,5
-
НУП8/1-НУП9/1
-12,58
31,36
-43,58
31,0
-
НУП9/1-НУП10/1
-13,27
32,19
-44,77
31,5
-
НУП10/1-НУП11/1
-11,22
31,67
-44,94
33,72
-
НУП11/1-НУП12/1
-11,7
31,98
-43,2
31,5
-
НУП12/1-ОУП-2
-13
31,15
-42,85
31,27
29,85
ОУП-2- НУП1/2
-10,64
31,36
-44,36
33,72
-
НУП1/2-НУП2/2
-11,33
32,19
-42,83
31,5
-
НУП2/2-НУП3/2
-12
31,67
-43
31,0
-
НУПЗ/2-НУП4/2
-12,98
31,98
-43,98
31,0
-
НУП4/2-НУП5/2
-13,63
31,15
-44,13
30,5
-
НУП5/2-НУП6/2
-12,15
31,36
-44,99
32,84
-
НУП6/2-ОП3
-13
31,98
-44,13
31,39
31,13
Таблица 5а
Участок |
L>вых >, дБ |
А>уу.>>max>, дБ |
L>вх >, дБ |
S, дБ |
S>уточн>>.>>факт>,> >дБ |
|
ОП3-НУП6/2 |
-11,25 |
31,98 |
-44,98 |
33,73 |
|
|
НУП6/2-НУП5/2 |
-12,11 |
31,36 |
-42,61 |
30,5 |
|
|
НУП5/2-НУП4/2 |
-12,76 |
31,15 |
-43,24 |
30,5 |
|
|
НУП4/2-НУП3/2 |
-13,74 |
31,98 |
-44,74 |
31,0 |
|
|
НУП3/2-НУП2/2 |
-14,41 |
31,67 |
-45,4 |
31,0 |
|
|
НУП2/2-НУП1/2 |
-12,76 |
32,19 |
-46,6 |
33,84 |
|
|
НУП1/2-ОУП2 |
-13 |
31,36 |
-44,12 |
31,27 |
-31,12 |
|
ОУП2-НУП12/1 |
-13,65 |
31,15 |
-44,15 |
30,5 |
|
|
НУП12/1-НУП11/1 |
-11,91 |
31,98 |
-45,63 |
33,72 |
|
|
НУП11/1-НУП10/1 |
-12,58 |
31,67 |
-43,58 |
31,0 |
|
|
НУП10/1-НУП9/1 |
-13,27 |
32,19 |
-44,77 |
31,5 |
|
|
НУП9/1-НУП8/1 |
-14,13 |
31,36 |
-44,93 |
30,5 |
|
|
НУП8/1-НУП7/1 |
-14,78 |
31,15 |
-45,28 |
30,5 |
|
|
НУП7/1-НУП6/1 |
-11,86 |
31,98 |
-46,76 |
34,9 |
|
|
НУП6/1-НУП5/1 |
-12,53 |
31,67 |
-43,53 |
31,0 |
|
|
НУП5/1- НУП4/1 |
-13,22 |
32,19 |
-44,72 |
31,5 |
|
|
НУП4/1-НУП3/1 |
-14,08 |
31,36 |
-44,58 |
30,5 |
|
|
НУП3/1/НУП2/1 |
-14,73 |
31,15 |
-45,23 |
30,5 |
|
|
НУП2/1-НУП1/1 |
-13,37 |
31,98 |
-46,71 |
33,34 |
|
|
НУП1/1-ОП1 |
-13 |
31,87 |
-45,04 |
31,39 |
-32,04 |
Таблица 2.
|
Участок |
L>yy>,км |
А>ктах>,дБ |
А>к ср рас>,дБ |
А>ст>,дБ |
А>уутах>,дБ |
А>уусррас>,дБ |
|
ОП-1-НУП1/1 |
3,02 |
31,37 |
30,59 |
0,5 |
31,87 |
31,09 |
|
НУП1/1-НУП2/1 |
3,03 |
31,48 |
30,69 |
0,5 |
31,98 |
31,19 |
|
НУП2/1-НУПЗ/1 |
2,95 |
30,65 |
29,88 |
0,5 |
31,15 |
30,38 |
|
НУПЗ/1-НУП4/1 НУП4/1 |
2,97 |
30,86 |
30,09 |
0,5 |
31,36 |
30,59 |
|
НУП4/1-НУП5/1 |
3,05 |
31,69 |
30,9 |
0,5 |
32,19 |
31,4 |
|
НУП5/1-НУП6/1 |
3 |
31,17 |
30,39 |
0,5 |
31,67 |
30,89 |
|
НУП6/1-НУП7/1 |
3,03 |
31,48 |
30,69 |
0,5 |
31,98 |
31,19 |
|
НУП7/1-НУП8/1 |
2,95 |
30,65 |
29,88 |
0,5 |
31,15 |
30,38 |
|
НУП8/1-НУП9/1 |
2,97 |
30,86 |
30,09 |
0,5 |
31,36 |
30,59 |
|
НУП9/1-НУП10/1 |
3,05 |
31,69 |
30,9 |
0,5 |
32,19 |
31,4 |
|
НУП10/1-НУП11/1 |
3 |
31,17 |
30,39 |
0,5 |
31,67 |
30,89 |
|
НУП11/1-НУП12/1 |
3,03 |
31,48 |
30,69 |
0,5 |
31,98 |
31,19 |
|
НУП12/1-ОУП-2 |
2,95 |
30,65 |
29,88 |
0,5 |
31,15 |
30,38 |
|
ОУП-2-НУП1/2 |
2,97 |
30,86 |
30,09 |
0,5 |
31,36 |
30,59 |
|
НУП1/2-НУП2/2 |
3,05 |
31,69 |
30,9 |
0,5 |
32,19 |
31,4 |
|
НУП2/2-НУПЗ/2 |
3 |
31,17 |
30,39 |
0,5 |
31,67 |
30,89 |
|
НУП3/2-НУП4/2 |
3,03 |
31,48 |
30,69 |
0,5 |
31,98 |
31,19 |
|
НУП4/2-НУП5/2 |
2,95 |
30,65 |
29,88 |
0,5 |
31,15 |
30,38 |
|
НУП5/2-НУП 6/2 |
2,97 |
30,86 |
30,09 |
0,5 |
31,36 |
30,59 |
|
НУП6/2-ОП3 |
3,03 |
31,48 |
30,9 |
0,5 |
31,98 |
31,19 |
3 ЭЛЕКТРИЧЕСКИЙ РАСЧЕТ КАНАЛОВ ТЧ
3.1 Расчет рабочего затухания УУ
Рабочее затухание УУ А>уу>, дБ, рассчитывается по формуле (5).
А>уу>=А>к>+А>ст> , (5)
где А>к> - затухание участка кабеля при заданной температуре грунта. А>к,>дБ>. >
Затухание участка кабеля рассчитывается по формуле (6).
А>к>= >t >• l>yy >, (6)
где >t> - коэффициент затухания кабеля при заданной температуре грунта на верхней частоте СП, дБ;
l>уу >- длина усилительного участка, км;
А>ст> - затухание станционных устройств,дБ
(А>ст>=2 А>фп>=0,5 дБ).
Рассчитаем рабочее затухание на участке кабельной линии ОП1 - НУП1/1.
А>к>>
max >=>
>
>t>>max>>
>
l>yy1>>,
>дБ
A>k
max >= 10,34
3
= 31,02 дБ
A>yy max >= A>k max>+ А>ст >,дБ
A>yy max >= 31,02+0,5 =31,52 дБ
А>к
ср расч >=
>t>>ср.расч>
l>yy1>
дБ
А>к
ср расч >=
10,13
3
= 30,39 дБ
A>уу ср расч >= А>к ср> + А>ст, >дБ
A>уу ср расч >= 30,39+0,5=30,89 дБ
Результаты расчетов рабочего затухания остальных участков приведены в таблице 2.

Рисунок 1-Структурная схема станции СП К-3600.