Bipolar transistors
6. Bipolar transistors
6.1. Device, constructive – technological features, circuit of insert
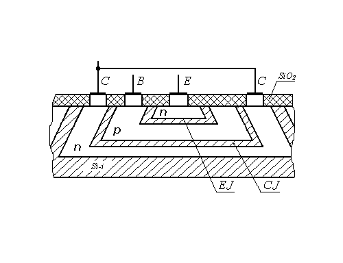
The bipolar transistor terms a three-electrode semiconductor device with two or more interacting electron-hole junction. In the transistor alternate as an electrical conductivity three regions of a semi-conductor, for what in a homogeneous semi-insulating sub>strate of silicon Si-i the methods of epiplanar technique shape regions of a collector, basis and emitter, (fig. 6.1). For it in a plate Si-n, employee by a collector, the method of a local diffusion (introduction of atoms of doping sub>stance in a chip of a semi-conductor through some part of its surface) forms base region (Si-p). In this region also method of a local diffusion forms emitter region (Si-n) with high density of a donor dopant. On boundary region of emitter with base, and also on boundary of base region with collector are formed two electron-hole (p-n) junctions - emitter and collector (on a title of extreme regions of transistor structure).

Fig. 6.1. Planar n-p-n structure of the bipolar transistor
The
junctions appear interacting, if distance between them, called in
breadth of basis
,
is smaller diffusion lengths of mobile carriers of a charge. The
diffusion length
is a distance, which transits an electron and vacant electron site
from a moment of occurrence in a semi-conductor up to a moment of a
recombination
.
The area of collector junction always is more than the area of emitter junction. The region of the emitter should have higher electrical conductivity, than basis and collector. An impurity concentration in the region of the transistor owe corresponds as:
.
(6.1)
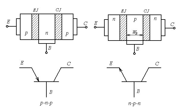
Depending on the order of alternation of regions as an electrical conductivity distinguish structures p-n-p and n-p-n of types.
In a fig. 6.2 the structures p-n-p and n-p-n and their legend on circuitries are shown.

Fig. 6.2. Flat one-dimensional model BT and legends

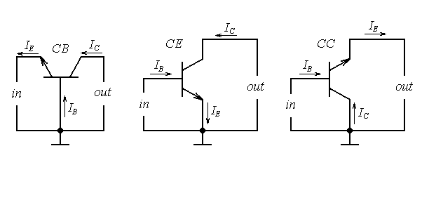
Fig. 6.3. The circuits of insert of bipolar transistors
As a device of an electric circuit, transistor use by such fashion, that one of its electrodes is entering, and another-output. The third electrode is common concerning an input and exit. Depending on what electrode is common, distinguish three circuits of insert of the transistor: common-base (CB), common emitter (CE) and common collector (CC) (fig. 6.3).
6.2. Conditions of insert of the transistor. Static parameters.
Physical processes
By operation of the transistor the voltages from exterior power supplys are affixed to its electrodes. Depending on polarity voltages affixed to electrodes, each of p-n-junctions the transistor can be switched on in direct or in the opposite direction. Four conditions of insert of the transistor are possible.
The table 6.1
|
Title of junction |
Insert of junction |
A title of a condition of insert of the transistor |
|
EJ CJ |
Backward Backward |
Condition a splitting contact |
|
EJ CJ |
Direct Direct |
Condition of saturation |
|
EJ CJ |
Direct Backward |
Fissile condition |
|
EJ CJ |
Backward Direct |
Inverse condition |
1. Condition a splitting contact. In a condition a splitting contact both p-n- junction are backswitched on (high-ohmic state of a section E-C). In electrodes of the transistor the thermal currents backswitched of junctions flow past which are static parameters of a condition the splitting contact. In each of three circuits of insert of the transistor these parameters have particular magnitudes. Their labels look like
for
the circuit with CB -
;
for
the circuit with CE -
;
for
the circuit with CC -
,
where the first index means an electrode, in which the current flows past;
the second index – circuit of insert;
the third index - requirement in the rest of the circuit:
о - absence of a current in the other electrode - no-load operation,
s - short-circuit in the rest of the circuit.
2. Condition of saturation. In a condition of saturation both p-n-junctions are directly switched on, the junctions saturated with mobile carriers of a charge, their resistances are small. The section E-C has high conductance and it is possible to consider it short-circuited.
Static
parameters are the saturation currents in electrodes the transistor
and residual voltages
.
A voltage ratio and currents relevant electrodes give magnitudes of
resistances of saturation:
;
.
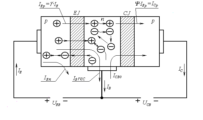
3. Fissile condition. In a fig. 6.4 the flat one-dimensional model of the transistor is shown, which emitter junction is switched on in a forward direction, and collector junction - in backward. Such insert corresponds to a fissile condition, and the transistor has intensifying properties. The principle of operation of the transistor in a fissile condition grounded on use of the following phenomena:
- injection of majority carriers through emitter junction;
- transport of injected carriers through basis owing to diffusions and drift;
- recombination of nonequilibrium carriers in basis;
- extractions of carriers from basis in a collector by a region of collector junction.
The
injection of carriers stipulates transiting through emitter
p-n-junction of diffusive currents: hole
and electronic
.
In an external circuit of emitter the current of injection flows past
,
(6.2)
where
- hole current of injection of the emitter;
-
electronic current of injection of the emitter.
For
transistor structure p-n-p of a type the relation between admixtures
in the emitter and basis is defined, as:
.
Therefore
.
The relation between component of an emitter current is evaluated coefficient of injection
(6.3)
The injection of carriers from the emitter in basis rises density
minority carriers in basis. Their density on boundary of emitter junction for p-n-p of structure is defined by a relation
(6.4)
Appeared
near to emitter junction in basis a charge of vacant electron sites
almost instantaneous, during a dielectric relaxation
seconds, is cancelled by a charge of electrons affluent in basis from
a radiant
.
Circuit of a current the emitter - basis appears made and ensures
course of an emitter current. Magnification near to emitter junction
the electron concentrations and vacant electron sites are established
by a lapse rate of densities nonequilibrium carriers in basis
and
.
Under
an operation of lapse rates densities there is a diffusive driving of
nonequilibrium vacant electron sites and electrons through basis from
the emitter to a collector.
Diffusion
of vacant electron sites in basis is attended their recombination
with by electrons. On place of recombined electrons in basis from the
external circuits of a radiant
act other electrons, establishing together with electrons leaving
basis in the emitter, base current recombinations
.
As breadth of basis is much less diffusion lengths of carriers
,
a loss of carriers in basis at the expense of recombination is
inappreciable, and current of a recombination
on one, two order are less than a current
.
The
vacant electron sites injected by the emitter in basis and which have
reached collector backswitched junction, get in its accelerating
region and are thrown in region of a collector. The collector current
is established:
.
Process
of transport of minority nonequilibrium carriers through basis is
evaluated by a transport coefficient
.
Coefficient
of
transport depends from breadth of basis
and diffusion length of vacant electron sites
:
(6.5)
Than
more vacant electron sites is injected by the emitter in basis, than
more them extract a collector, augmenting a collector current.
Therefore current
is proportional to an emitter current and is termed current
controlled of a collector, which in view of relations (6.3) and (6.5)
is defined by a relation (6.6) also records as follows:
(6.6)
-
is termed as an integrated (static) transmission factor current of
emitter in a collector circuit and in view of relations (6.3), (6,5)
is defined by the following formula:
.
(6.7)
Opportunity of control of an output current of the transistor by change entering current is the important property of the bipolar transistor, allowing to use it as a fissile device of electronic circuits.
Except
for a controllable part of a collector current
,
in an electrode
collector
the unguided part of a current - thermal current backswitched of
junction flows past. It is similar to a current backswitched of a
crystal diode and consequently has received a title of a backward
collector current
.
index c means, that it - current backswitched of collector junction,
index b - the measurings occur in the circuit with CB,
index
0 - the measurings occur at
=0, i.e. No-load operation on an input.
The
direction of a backward collector current
coincides with a direction of a controllable part of a collector
current and consequently
.
(6.8)
The
current
in a circuit of basis is guided towards to a base current of a
recombination
and base current of injection

.
(6.9)
In
an emitter circuit the current of injection is the total of a
collector current
and base current
:
.
(6.10)
The expressions (6.8) and (6.10) establish communication between currents of the transistor and valid for any circuit of insert.
The similar processes occur in n-p-n the transistor to that by variance, that instead of vacant electron sites it is necessary to speak about electrons and on the contrary. Positive directions of direct currents and supply voltages, relevant to a fissile condition, are shown in a fig. 6.3.
Reverse voltage affixed on collector junction, it is much more voltages directly switched of emitter junction, and the currents are equal emitter circuits and collector practically. Therefore load power established variable component collector current, appears much more power expended on control by a circuital current of the emitter, hence transistor has intensifying properties. These qualities in a combination to a small overall dimensions, high reliability, longevity and profitability have stipulated wide application of transistors in an electron technology.

Fig. 6.4. Driving of carriers and currents in BT (fissile condition)
In the circuit with CE and CC (fig. 6.3) a current basises becomes control current, and the equation of a collector current (6.8) will be copied in the following aspect:
;
;
.
(6.11)
where:
- transmission factor of a base current in the circuit with CE:
-
unguided part of a collector current in the circuit with CE, or
through current of the transistor.
For the circuit with CC an output current is the emitter current. Therefore

or
,where
.
(6.12)
4. Inverse condition. In an inverse condition emitter junction backswitched, and the collector junction is under direct voltage. Therefore in comparison with a fissile condition in an inverse condition the injection of carriers is carried out collector junction, and extractions of carriers - emitter junction. Practically emitter and collector vary by functions and places in the circuit.
For the circuit with CB
.
(6.13)
here
- inverse coefficient of transmission.
As
the area of emitter junction is much less than the area collector
junction and
,

For the circuit with CC
.
(6.14)
For the circuit with CE
.
(6.15)
6.3. Differential coefficient of transmission of a current
In
the equation (6.7) for an integrated (static) transmission factor of
an emitter current
.
Coefficient of injection
the efficiency of emitter junction characterizes, and coefficient of
diffusive transport
characterizes processes in basis, diffusive transport and
recombination of carriers, with which attends this process;
coefficient M is inlet for the account of processes in collector
junction and almost always M=1. The equation of a collector current
,
where
is static parameter of fissile condition of insert (fissile
condition), displays link between direct currents. Coefficient
is defined by the formula
and this formula displays link between stationary values of a control
current
and value of an output current
.
For
variable signals, which amplitude order much less grades of supply
voltages, link between collector currents and emitter is defined by
derivation of a relation (6.7) as functions two arguments in the
conjecture
=const, i.e.
,
or
.
(6.16)
-
differential transmission factor of an emitter current in circuit
with CB, which always is more than integrated coefficient
.
Calculations
display, that at major levels of injection, when
(see of the formula (6.1), (6.4)), derivative
aspires to zero and
.
Therefore
for the analysis of a major signal integrated (static) coefficient
is always used.
In
consequent viewing is not done variances between
and
.
Using
a label
,
but in each case the applications of these magnitudes should be
remembered a level of injection.
6.4. Ebers-Moll’s model
Links between currents and voltages in the transistor for four conditions of insert are well compounded with convenient and clear mathematical Ebers-Moll’s model, grounded on a dual circuit consisting of two diodes (emitter and collector), switched on meeting, and two current sources mapping interaction of these diodes (fig. 6.5).
(6.17)
.
(6.18)
where
and
- thermal currents emitter and collector junctions accordingly,
metered at short-circuit on exit and input accordingly (
=0 and
=0).
.
(6.19)
where
and
- back currents of emitter and collector junctions measured
accordingly at abruption of a collector and the emitter. With the
account (6.18), (6.19) relations (6.17) are conversed to an aspect
;
(6.20)
;
(6.21)
.
(6.22)

Fig. 6.5. Equivalent nonlinear Ebers-Moll’s model for BT
In computing methods of the analysis of transistor circuits with the help of a computer the wide circulation was received by nonlinear model of the Gummel-Pun’s transistor, which grounded on the solution of integrated relations for charges and links exterior electrical performances a charge in basis of transistor structure. It is very precise model explaining many physical effects, but its exposition needs major number of parameters, so for the analysis in a wide frequency range 25 parameters are necessary. The sequential simplification of Gummel-Pun’s model eventually reduces in the elementary Ebers-Moll’s model. Therefore at the analysis of the concrete circuits it is necessary to search for the reasonable compromise between an exactitude of the solution and complexity of model.