Базовый процесс обработки вызовов
Введение
Исходя из того, что мировая телекоммуникационная сеть превратилась в крупнейшую и наиболее сложную систему в мире, в 80–90 х годах телефонные сети стали брать на себя новые функции, ранее предоставляемые другими средствами (печатными изданиями, почтой, радио, телевидением).
Чтобы справиться с этими задачами операторам сетей и производителям телекоммуникационного оборудования потребовался новый подход, способный кардинально изменить все аспекты создания, эксплуатации и предоставления услуг. Проблема состояла в необходимости перехода от используемого в течении долгих лет консервативного подхода предоставления ограниченного перечня одинаковых услуг к созданию интеллектуальной платформы для введения широкого спектра нетрадиционных услуг с возможностью их модификации под индивидуальные требования клиента.
Подходы к решению обозначенного круга проблем были предложены в лабораториях Bell Systems в 80 х годах [1] и сформулированы в виде концепции интеллектуальной сети (Intelligent Network, IN) Международным союзом электросвязи (МСЭ) в 90 х годах [2]. Концепция представляет собой совокупность функциональных требований, интерфейсов и протоколов для поэтапного продвижения к долговременной целевой архитектуре IN. Эта совокупность специфицируется МСЭ в виде наборов возможностей (Capability Set, CS) для создания услуг, доступных в сети IN на данном этапе ее развития.
В отличие от традиционного подхода интеллектуальная сеть предполагает четкое разделение всех функций создания, модификации, предоставления, технического обслуживания и эксплуатации дополнительных услуг на небольшое число программных модулей со строго определенным перечнем функций, взаимодействие между которыми производится через стандартные интерфейсы. Кроме того, к предоставлению интеллектуальных услуг предъявляются жесткие требования: услуга, которую заказал абонент, должна быть предоставлена своевременно, на определенное время и с определенным качеством, а сеть должна быть надежной. Из изложенного вытекает задача реализации эффективной системы управления вызовами в IN.
В соответствии с рекомендациями ITU-T серии Q.1200 [2] для построения такой системы управления удобно использовать базовую модель состояний вызова (Basic Call State Model, BCSM), которая идентифицирует состояния вызова и всего процесса установления соединения, в которых допускается взаимодействие с логикой услуги IN.
BCSM состоит из двух частей: базового процесса обслуживания вызова на исходящей и входящей сторонах [3, 6], что обуславливает комплексный характер проводимых исследований в рамках построения системы управления вызовами в IN.
В данной части работы на основе BCSM анализируется возможность построения соответствующей модели управления вызовами на приемной или входящей стороне IN с использованием аппарата полумарковских процессов, что позволит более эффективно описывать и производить оценку различных параметров трафика интеллектуальной сети.
Раздел «Безопасность жизни и деятельности человека» выполняется с целью обеспечения безопасных условий труда при организации базовой модели управления вызовами на приемной стороне в интеллектуальной сети с использованием персональных ЭВМ в помещении исследовательской лаборатории контакт-центра.
В разделе технико-экономического обоснования дипломной работы для предварительной оценки затрат и экономической эффективности организации базовой модели управления вызовами на приемной стороне в IN путем проведения научно-исследовательской работы (НИР) рассчитываются предпроизводственные затраты и производится оценка совокупного научного и технического уровня НИР.
1. Анализ базовых концептуальных принципов и структуры построения интеллектуальных сетей
1.1 Этапы развития телекоммуникационных технологий, причины и условия перехода к интеллектуальным сетям
В историческом развитии сетей и услуг связи можно выделить четыре основных этапа (рис. 1.1). Каждый этап имеет свою логику развития, взаимосвязь с предыдущими и последующими этапами. Кроме того, каждый этап зависит от уровня развития экономики и национальных особенностей отдельного государства.

Рисунок 1.1 – Этапы развития сетей и услуг связи
Первый этап – построение телефонной сети общего пользования (ТФОП). В течение длительного времени каждое государство создавало свою национальную аналоговую ТФОП. Телефонная связь предоставлялась населению, учреждениям, предприятиям и отождествлялась с единственной услугой – передачей речевых сообщений. В дальнейшем по телефонным сетям с помощью модемов стала осуществляться передача данных. Тем не менее, и в настоящее время телефон остается основной услугой связи.
Второй этап – цифровизация телефонной сети. Для повышения качества услуг связи, увеличения их числа, повышения автоматизации управления и технологичности оборудования, промышленно развитые страны в начале 70 х годов начали работы по цифровизации первичных и вторичных сетей связи. Были созданы интегральные цифровые сети IDN (Integrated Digital Network), предоставляющие также в основном услуги телефонной связи на базе цифровых систем коммутации и передачи.
Третий этап – интеграция услуг. Цифровизация сетей связи позволила не только повысить качество услуг, но и перейти к увеличению их числа на основе интеграции. Так появилась концепция цифровой сети с интеграцией служб ISDN (Integrated Service Digital Network). Пользователю этой сети предоставляется базовый доступ (2B+D), по которому информация передается по трем цифровым каналам: два канала В со скоростью передачи 64 Кбит/с и канал D со скоростью 16 кбит/с.
Каналы В используются для передачи речевых сообщений и данных, канал D – для сигнализации и для передачи данных в режиме пакетной коммутации. Для пользователя с большими потребностями может быть предоставлен первичный доступ, содержащий (30B+D) каналов. В классическом виде концепция ISDN широкого распространения в мире не получила по нескольким причинам. Во-первых, оборудование ISDN достаточно дорого, чтобы стать массовым; во-вторых, пользователь постоянно оплачивает три цифровых канала; в-третьих, перечень услуг ISDN превышает потребности массового пользователя. Кроме того, при предоставлении услуг в сетях ISDN требуется весьма сложная обработка запросов, пересылка больших объемов данных с высокой скоростью. Если ресурсы, используемые для предоставления услуг, рассредоточены на многих объектах сети, то это приводит к недопустимым задержкам и искажениям информации при ее многократной пересылке от одной станции к другой [7].
Для преодоления этих недостатков необходимо использовать такую стратегию предоставления многообразных услуг, которая основывается на централизации наиболее сложной обработки данных и на использовании протоколов информационного обмена (Х.25, Frame Relay, ОКС №7, ATM) между элементами сети, гарантирующих высокие скорость и верность передачи информации. Поэтому интеграция услуг постепенно заменяться концепцией интеллектуальной сети.
Четвертый этап – интеллектуальная сеть IN (Intelligent Network). Эта сеть предназначена для быстрого, эффективного и экономичного представления информационных услуг массовому пользователю. Необходимая услуга предоставляется пользователю тогда, когда она ему требуется и в тот момент времени, когда она ему нужна. Соответственно и оплата за предоставленную услугу производится в течение этого интервала времени. Удовлетворение этих требований возможно лишь при построении сетей электросвязи на основе новой концепции, состоящей в том, что функции предоставления дополнительных видов обслуживания (ДВО) отделяются от основных услуг. Таким образом, быстрота и эффективность предоставления услуги позволяют обеспечить и ее экономичность, так как пользователь будет использовать канал связи значительно меньшее время, что позволит ему уменьшить затраты. В этом заключается принципиальное отличие интеллектуальной сети от предшествующих сетей – в гибкости и экономичности предоставления услуг.
Разработка технологии IN началась в 1990 г., а первые рекомендации ITU-T, посвященные интеллектуальным сетям, утверждены в 1992 г. (рекомендации Q.1201–Q.1203). Основная цель IN состоит в быстром, эффективном и экономичном предоставлении информационных услуг массовому пользователю.
В соответствии с рекомендациями ITU-T I.211 и І.212 вся совокупность услуг, предоставляемых сетью, делится на две группы: основные услуги и дополнительные виды обслуживания (ДВО). Основные услуги связаны с процессами установления соединений (при способе коммутации каналов), тарификации, организации виртуальных соединений (при способе коммутации пакетов), передачи пакетов между элементами сети. Основные услуги, как правило, редко изменяются и реализуются сетью при обслуживании каждого вызова.
Дополнительные услуги весьма разнообразны. В качестве примера можно привести следующие из них:
– универсальный номер доступа (Universal Access Number, UAN);
– персональный номер (Universal Personal Number, UPN);
– «служба 800» (Freephone, FPH).
Услуга UAN предоставляет возможность по единому номеру, закрепляемому, например, за предприятием, фирмой, банком, получить связь с требуемым пользователем. В процессе предоставления этой услуги IN запрашивает вызывающего абонента о требуемом подразделении, предлагает дополнительно набрать определенное число знаков номера и адресует вызов на свободный телефон (терминал). Вся требуемая для предоставления ДВО информация концентрируется в сетевых базах данных «интеллектуальной надстройки» коммутируемой сети (в частности, телефонной).
Услуга UPN подобна той, которой пользуются абоненты сетей подвижной связи. Абонент, желающий получить услугу UPN, регистрируется в IN и получает логический номер, по которому его можно отыскать независимо от того, где он находится. Для этого он, переезжая в другой населенный пункт страны или мира, сообщает IN номер (или номера) телефона, куда нужно переадресовать все входящие вызовы. Услуга FPH, относящаяся к «службе 800», обеспечивает установление местных и междугородных соединений с поставщиками информации (например, рекламными фирмами) и передачу информации за их счет. Услуги, относящиеся к ДВО, реализуются только по специальному запросу пользователя. Разные группы пользователей могут получать разные наборы ДВО. Элементом концепции IN является отделение функций управления основными услугами от управления ДВО.
1.2 Концепция, архитектура и свойства интеллектуальных сетей
Услуги могут быть отнесены к интеллектуальным, если при их предоставлении требуется использовать большие массивы данных и выполнять сложную обработку. Если при разработке и проектировании аппаратных и программных средств новых услуг не исходить из единой концепции, то затраты на их реализацию будут неоправданно велики. Поэтому современный подход к проектированию аппаратных и программных средств услуг основан на модульном принципе. Сущность его состоит в том, что все процедуры реализации услуг делят на законченные автономные модули услуг (МУ) – в терминологии IN независимые от услуг конструктивные блоки (Service Independent Block, SIB), не зависящие от видов услуг и друг от друга и представляющие собой законченные процедуры обработки запросов. Процедуры обмена между модулями услуг тоже стандартизируют. При таком подходе достаточно большой набор модулей позволяет создавать новые услуги путем сочетания имеющихся МУ и интерфейсных модулей. Программа реализации новой услуги будет простой и не потребует больших затрат. Лишь при проектировании экстраординарной по сложности услуги, реализация которой из имеющихся модулей невозможна, потребуется разработка новых модулей. Описанная концепция проектирования услуг интеллектуальных сетей предполагает использование языков программирования высокого уровня, обеспечивающих уменьшение затрат при вводе новых услуг. Таким образом, вторым элементом концепции IN является оригинальная методика структурного проектирования и реализации услуг.
Целью создания является интегрирование возможностей средств передачи и обработки данных для предоставления ДВО пользователям на базе традиционных средств телефонных сетей, сетей передачи данных и сетей связи с подвижными объектами. «Интеллект» таких сетей воплощается в скрытом от пользователя механизме выбора и предоставления услуг [8].
Прежняя стратегия ввода новых ДВО основывалась на замене старой (с меньшим набором ДВО) версии программного обеспечения (ПО) на всех узлах сети на новую (с новым набором ДВО). В IN добавление новых ДВО обеспечивается изменением программных средств в сетевой базе данных (БД) без изменения ПО на станциях и узлах сети. Однако такая индифферентность ПО станций к видам и составу ДВО подразумевает наличие на станциях сети средств доступа к ресурсам IN, а на одном из уровней распределения ресурсов IN – средств управления предоставлением ДВО [4, 5]. На рис. 1.2 показан пример расширения спектра ДВО в интеллектуальной сети. Для ввода новой услуги (выделено штриховкой) требуются изменения только в БД интеллектуальной сети.

Рисунок 1.2 – Расширение состава ДВО интеллектуальной сети
Характерны следующие свойства IN:
– наличие централизованных баз данных, в которых содержится исчерпывающая информация о сети и ее пользователях;
– доступ к БД с высокой скоростью;
– применение протоколов системы сигнализации №7 (ОКС №7) для связи разных компонентов сети и сетей друг с другом, обеспечивающих высокую верность обмена информацией;
– простота доступа к службам и БД при оперативном создании и модификации услуг и при предоставлении заказчикам доступа к данным, характеризующим обслуживание их запросов.
Интеллектуальные сети имеют следующие преимущества:
– контроль пользователем тех данных, которые характеризуют все нюансы обслуживания его запроса сетью;
– гибкость управления службами и услугами благодаря централизации данных в БД и высокой скорости обмена информацией в сети;
– упрощенный и оперативный ввод новых служб и услуг благодаря использованию модульного принципа проектирования и реализации новых услуг.
Структура интеллектуальной сети иерархичная, состоящая из четырех плоскостей (рис. 1.3). На одной из плоскостей этой иерархии размещают средства обработки запросов пользователей и реализации услуг. Такая централизация технологична в том отношении, что позволяет не распылять ресурсы. Однако она же требует высокой скорости транспортировки больших массивов данных между объектами разных плоскостей. Поэтому средства одной из плоскостей IN обеспечивают транспортировку сообщений с высокой скоростью и верностью.
Верхняя плоскость модели – плоскость услуг – представляет услуги так, как они «видны» конечному пользователю. Такое представление не содержит информации, относящейся к способу и деталям реализации услуги в сети. То, что услуга реализована в рамках IN, при представлении ее на плоскости услуг невидимо. Зато на этой плоскости видно, что услуги (services) компонуются из одной или из нескольких разных стандартизованных составляющих, каждую из которых пользователь воспринимает как одно из характерных свойств или, что то же самое, как один из атрибутов услуги (service features). Для каждого этапа стандартизации определяются совокупность таких составляющих и правила их использования.

Рисунок 1.3 – Структура интеллектуальной сети
Плоскость услуг в рамках структурной организации IN определяет подсистему административного управления (ПАУ) сетевыми ресурсами (Network Capabilities Manager, NCM).
Функциями ПАУ являются:
– предоставление технических средств эксплуатации и технического обслуживания интерпретаторам видов услуг (дистанционная загрузка программных средств, контроль работоспособности интерпретаторов вида услуг (ИВУ), дистанционное восстановление данных и техобслуживание);
– коммерческое управление (предоставление абонентам возможности пользоваться данными одной или нескольких служб).
Подсистема административного управления содержит собственную сетевую информационную БД (СИБД) и может вести обмен с внешними БД через сеть коммутации пакетов по протоколу Х.25, Frame Relay или по протоколу системы сигнализации ОКС №7. Эта подсистема обеспечивает управление ресурсами сети, необходимыми для предоставления ДВО, интерпретацию вида ДВО. Для связи с ИВУ используется сеть с коммутацией пакетов (КП).
Глобальная функциональная плоскость описывает возможности сети, которые необходимы разработчикам для внедрения услуг. Здесь находятся сетевые информационные базы данных, в том числе и внешние БД, в которых хранятся данные о номерах абонентов, категориях обслуживания, адресах, параметрах маршрута установления соединения и др., и программы реализации услуг – ПРУ (Service Logical Programs, SLP).
Каждой услуге соответствует своя ПРУ, которая составляется из модулей услуг – независимых от услуг конструктивных блоков SIB, одним из которых является SIB, реализующий базовый процесс обслуживания вызова – БПОВ (Basic Call Process, ВСР). BCP взаимодействует с другими блоками посредством точек инициации (Point of Initiation, POI) и завершения (Point of Return, POR). Если в процессе обработки вызова встретится одна из точек инициации, то это приводит к определенной последовательности обращений к блокам SIB. По завершении этой последовательности обращений осуществляется воздействие на процесс обработки вызова, зависящее от точки завершения. В результате такого взаимодействия может быть обеспечена услуга или компонент услуги. Определенные на верхней плоскости услуги декомпозируются на компоненты и на глобальной функциональной плоскости объединяются в один или несколько SIB, которые при взаимодействии определяют глобальную логику услуги GSL (Global Service Logic).
Таким образом, конкретная ПРУ определяет тип и последовательность действий для реализации какой-либо услуги.
Распределенная функциональная плоскость описывает функции, реализуемые узлами сети, которая здесь рассматривается как совокупность функциональных элементов (Functional Entity, FE), порождающих информационные потоки. Также на этой плоскости виден тот факт, что реализация услуги в среде IN производится программными средствами распределенным образом. Каждый FE может выполнять целый ряд определенных для него действий (Functional Entity Actions, FEAs). Одно и то же FEA может быть определено для нескольких разных FE, однако любое FEA выполняется всякий раз только каким-то одним FE.
На распределенной функциональной плоскости функционирует интерпретатор вида услуги – ИВУ (Service Logic Interpreter, SLI). Он выполняет в реальном времени функции обработки запросов для одной или многих служб. Запросы на предоставление услуги поступают в ИВУ от пунктов коммутации услуг (ПКУ). Основная функция ИВУ – контроль реализации протокола услуги, при этом необходим обмен с БД соответствующей службы.
Рассмотренные выше независимые конструктивные блоки SIB представляются на распределенной функциональной плоскости в виде последовательностей действий, выполняемых функциональными объектами. Некоторые такие действия связаны с обменом информацией между объектами, что отображено на этой плоскости в виде информационных потоков.
Физическая плоскость представляет физические элементы (Physical Entities, РЕ) сети, в которой реализована концепция IN. Этими РЕ могут быть коммутационные станции, выполняющие функции пунктов коммутации услуг – ПКУ (Service Switching Point, SSP). Пункт коммутации услуги распознает запросы на предоставление ДВО по коду (префиксу), набираемому пользователем, и формирует заявки к ИВУ. Средства ПКУ являются ведомыми по отношению к ИВУ. Команды, поступающие от ИВУ, определяют последовательность обработки запроса на предоставление услуги.
Для предоставления ДВО пользователям, независимо от того в какую из станций они включены (к средствам коммутационного узла существующей местной сети общего пользования или ведомственной (частной) сети), необходимо добавить модуль ПКУ. Кроме того, для охвата новыми услугами возможно большего количества пользователей, не являющихся абонентами ISDN, необходимы специальные средства взаимодействия с пользователем во время подготовки к предоставлению услуги (например, распознаватели и синтезаторы речи) – так называемая интеллектуальная периферия (ИП).
Если абонент включен в цифровую АТС, то функции ПКУ реализуются на этой же станции. Пользователи могут иметь доступ к ПКУ как с помощью телефонного аппарата, так и с помощью персонального компьютера. Если абонент включен в АТС, где нет ПКУ, то доступ к IN реализуется по межстанционным каналам, проложенным между данной АТС и узлом сети, где имеется ПКУ.
Таким образом, на основании вышеизложенного и приведенной на рис. 1.3 структуры интеллектуальной сети можно выделить ее следующие основные узлы с учетом определений, данных в рекомендации ITU-T Q.1205 [9].
1) SSP – узел коммутации услуг, представляющий собой АТС с соответствующей версией программного обеспечения и выполняющий функцию управления вызовом и функцию коммутации услуги. На рис. 1.3 данные узел представлен как пункт коммутации услуги (ПКУ).
2) SCP (Service Control Point) – узел управления услугами (контроллер услуг), делает возможной работу с базой данных с транзакцией в реальном масштабе времени (РМВ). SCP интерпретирует поступающие запросы, обрабатывает данные и формирует соответствующие ответы. На рис. 1.3 данные узлы представлены как интерпретаторы вида услуги (ИВУ).
3) SDP (Service Data Point) – узел базы данных услуг, содержащий данные, используемые программами логики услуги, чтобы обеспечить индивидуальность услуги. На рис. 1.3 данные узлы представлены как внешние БД, содержащие программы реализации услуг (ПРУ).
4) IP (Intelligent Peripheral) – интеллектуальные периферийные устройства, представляющие собой независимые от используемых приложений устройства интеллектуальных ресурсов, обеспечивающие дополнительные к SSP возможности. На рис. 1.3 эти устройства показаны в виде блоков интеллектуальной периферии (ИП).
5) SMP (Service Management Point) – узел менеджмента услуг, реализующий функции административного управления пользователями и / или сетевой информацией, включающей данные об услугах и программную логику услуги. Данный узел, как показано на рис. 1.3, реализует подсистему административного управления сетевыми ресурсами (ПАУ).
6) SCEP (Service Creation Environment Point) – узел создания услуг, выполняет функцию среды создания услуг и служит для разработки, формирования и внедрения услуг в пункте их обеспечения SMP, то есть является в рамках рассмотренной концептуальной структуры IN сетевой информационной БД (СИБД) (рис. 1.3).
В соответствии с вышеизложенным, обобщенно структуру сети, представляющую интеллектуальные услуги, можно классифицировать по времени выполнения и по функциональному назначению.
1.3 Аппаратные и программные средства IN
Для функционирования IN необходимы специфические аппаратные и программные средства. Аппаратные средства ПКУ и ИВУ представляют собой отдельные стативы с дисковыми накопителями и накопителями на магнитных лентах. В состав аппаратных средств ПАУ входят ЭВМ, терминалы администратора, накопители большой емкости. Программные средства IN обеспечивают обработку вызовов, требующих предоставления ДВО. Реализация ДВО в реальном времени возможна благодаря высокоскоростному информационному обмену между ПКУ, ИВУ и ПАУ через транспортные сети с КП. На рис. 1.4 показаны средства определения вида ДВО, последовательности действий при предоставлении услуги и контроля необходимых стандартных или специальных операций.

Рисунок 1.4 – Средства предоставления ДВО
1.4 Информационный обмен и предоставление интеллектуальных услуг в IN
1.4.1 Услуги интеллектуальной сети и их свойства
В основе архитектуры интеллектуальной сети лежит определение так называемых наборов возможностей (Capability Sets, CS), описывающих услуги, предоставляемые IN [3–5]. В России и в Украине наиболее распространены услуги набора CS 1, описанного в рекомендации ITU-T Q. 1211 [10], поэтому их целесообразно рассмотреть подробнее.
В рекомендациях ITU-T Q.1211 различают два термина «service» – услуга, и «service feature» – компонент (свойство) услуги.
Согласно рекомендации ITU-T Q.1290 услугой является самостоятельное коммерческое предложение, характеризуемое одним или более компонентами (возможностями), открытыми для дополнения. Компонент услуги является ее специфической частью, который в совокупности с другими услугами и компонентами услуг может составлять часть самостоятельного коммерческого предложения, определяя составляющую, которая может быть различима пользователем.
Согласно Q.1211 набор CS 1 включает 25 видов услуг, которые должны поддерживаться сетями ТФОП, ISDN и PLMN (Public Land Mobile Network – сеть связи с подвижными системами). Наиболее распространенные сегодня виды услуг представлены в таблице 1.1, где кроме англоязычного термина и аббревиатуры даются их значения и краткие пояснения.
Следует отметить, что определение набора услуг является одним из первых этапов при создании IN в конкретном регионе и зависит от требований, сложившихся на местном рынке услуг связи.
Таблица 1.1 – Услуги набора CS 1
|
Аббревиатура |
Термин |
Значение |
|
ААВ |
Automatic Alternative Billing (Автоматический альтернативный биллинг) |
Предоставляет возможность вести учет стоимости разговора с любого ТА с помощью специальной системы биллинга, не имеющей отношения к линиям вызывающего и вызываемого абонентов. |
|
ABD |
Abbreviated Dialing (Сокращенный набор) |
Услуга предоставляет пользователю осуществление вызова, используя, например, номер из 4 х цифр, даже в том случае, когда вызывающий и вызываемый абоненты обслуживаются разными коммутаторами. |
|
АСС |
Account Card Calling (Вызов по предоплаченной карте) |
Предоставляет возможность оплачивать разговор с любого ТА с помощью счета, указываемого набором дополнительного номера. |
|
ССС |
Credit Card Calling (Вызов по кредитной карте) |
Позволяет выполнять любые вызовы с любого ТА, оплачивая их по кредитной карте. |
|
CD |
Call Distribution (Распределение вызовов) |
Дает возможность направлять вызовы на другие номера в соответствии с программой переадресации и приоритетами |
|
CF |
Call forwarding (Направленный вызов) |
Пользователь может направлять поступившие к нему вызовы на терминал с другим номером. Включение и отключение услуги осуществляется самим пользователем. |
|
CON |
Conferencing (Телефонная конференция) |
Услуга позволяет нескольким абонентам принять участие в одном разговоре. |
|
CRD |
Call Rerouting Distribution (Перемаршрутизация вызова) |
Позволяет получать все входящие вызовы даже при занятом номере или других трудностях с установлением соединения (все вызовы, включая пейджерные сообщения и электронную почту, переводятся на другой номер и ставятся на автоответчик или в очередь). |
|
FMD |
Follow-me diversion (Функция «следуй за мной») |
Позволяет сохранить доступ к абоненту при его перемещении. |
|
FPH |
Freephone (Бесплатный вызов) |
Бесплатная телефонная служба, или «свободный телефон». Разговор при данном типе вызова состоится, если вызываемый абонент согласится его оплатить (в США эта услуга называется «Служба 800»). |
|
MAS |
Mass Calling (Опрос населения) |
Позволяет проводить опросы населения по телефону. Абонент после вызова слышит объявление и просьбу набрать одну из нескольких цифр на телефоне, чтобы выразить свое предпочтение. Все ответы регистрируются. |
|
MCI |
Malicious Call Identification (Идентификация вызова злоумышленников) |
Позволяет выявить злоумышленников, записывая коды вызывающего и вызываемого абонентов и время вызова, удерживая вызов и сообщая оператору. |
|
OCS |
Originating Call Screening (Ограничение исходящей связи) |
Дает возможность вводить ограничения на исходящую связь в определенное время или в соответствии с другими условиями. |
|
PRM |
Premium Rate (Приплата, передача части оплаты вызываемому абоненту) |
Позволяет пользоваться информационными услугами с дополнительной оплатой (часть стоимости вызова оплачивает вызывающая сторона, выступающая в роли поставщика дополнительной услуги, т.е. пользователь оплачивает стандартные телефонные услуги и дополнительные услуги. |
|
SPL |
Split charging (Перераспределение оплаты) |
Позволяет распределять оплату за разговор между абонентами. |
|
VOT |
Televoting (Телефонное голосование) |
Дает возможность посылать вызов на конкретный номер с последующим речевым сообщением или дополнительным набором определенного кода. |
|
VPN |
Virtual Private Network (Виртуальная частная сеть) |
Часть имеющихся линий связи и коммутаторов объединяются в частную сеть, функционирование которой определяется пользователем, в том числе номера для пользователей этой сети, их права и приоритеты, маршрутизация вызовов и т.д. |
|
UAN |
Universal Access Number (Универсальный номер) |
Данная услуга дает возможность пользователю, имеющему несколько географически распределенных терминальных устройств, быть доступным другим пользователям по единому универсальному номеру в соответствии с определенной им маршрутизацией входящих вызовов. |
|
UPT |
Universal Personal Telecommunication (Универсальная персональная связь) |
Позволяет абоненту пользоваться входящей и исходящей связью по единому номеру при его перемещении вне зависимости от сетевой инфраструктуры и местоположения. |
Услуги, предоставляемые набором возможностей CS 1 имеют в общем 38 свойств. Согласно Q.1211 кратко охарактеризуем некоторые основные из них.
1) ABD (Abbreviated Dialing) – сокращенный набор номера. Это свойство помогает, в частности, реализовать услугу Virtual Private Network (VPN).
2) AUTZ (Authorization Code) – код авторизации, например, набором пароля (PIN кода) пользователь получает доступ к сети при использовании кредитной карты, а в сети VPN может снять ограничения на доступные ему номера вызываемых пользователей. Разные наборы привилегий могут иметь разные коды. Один и тот же код может быть предоставлен многим абонентам VPN.
3) AUT (Authentication) – аутентификация, установление личности вызывающего пользователя с целью предоставления ему доступа к каким-то ресурсам телефонной сети.
4) CD (Call Distribution) – автоматическое распределение входящих вызовов между двумя или более пользователями в заданной пропорции.
5) CFC (Call Forwarding on Busy/Don’t Answer) – переадресация при условии занятости или не ответа вызываемого пользователя.
6) GAP (Call Gapping) – автоматическое прореживание вызовов, направляемых к пользователю, в частности, для предупреждения перегрузки на сети.
7) LIM (Call Limiter) – ограничитель вызовов, ограничение максимального числа одновременно входящих (удерживаемых) вызовов. В частности, максимальное число (порог) может меняться в реальном времени.
8) LOG (Call Logging) – запоминание входящих вызовов к какому-то заданному номеру.
9) CRG (Customized Ringing) – абонент услуги может заказать различный вызывной сигнал для заданного списка А-номеров.
10) ONE (One Number) – единый номер (на несколько линий). Абонент услуги может задавать, какие вызовы, с какой линией соединять.
11) ODR (Origin Dependent Routing) – позволяет абоненту услуги принять или отклонить вызов в зависимости от географического адреса вызова.
12) OCS (Originating Call Screening) – высвечивает на индикаторе номер входящего вызова, если он включен в заданный список, учитывая при этом географический адрес А-номера, время суток и т.п.
13) PRMC (Premium Charging) – передача части оплаты за разговор вызываемому пользователю.
14) REVC (Reverse Charging) – оплата за счет вызываемого пользователя.
1.4.2 Информационный обмен в IN
Процессы предоставления интеллектуальных услуг (ИУ) протекают в разных, рассредоточенных по территории сети, подсистемах IN, поэтому они должны быть строго согласованы. Потребность в предоставлении ИУ распознается на АТС, где имеется ПКУ, по коду, набираемому пользователем. Запрос предоставления ИУ ПКУ направляет через транспортную сеть в ИВУ. Здесь происходит определение вида ИУ. Если в ИВУ имеется собственная БД, то из нее считываются необходимые данные и ПРУ. Выполнение программы предоставления ИУ в соответствии с ее ПРУ осуществляется на АТС с программным управлением. Если в ИВУ нет собственной БД ИУ, то запрос передается через транспортную сеть во внешнюю БД (рис. 1.3). Задержка предоставления ИУ существенно зависит от скорости передачи информации между ПКУ и ИВУ и между ИВУ и БД. Поэтому реализация IN целесообразна на базе ISDN, в которой данные, необходимые для предоставления ИУ, передаются между элементами сети со скоростями не ниже, чем 64 Кбит/с.
Как уже упоминалось, каждый вызов, требующий предоставления ИУ, опознается в ПКУ. Здесь генерируется отчет со всеми параметрами вызова. Отчет в виде сообщения передается через сеть сигнализации (по протоколу ОКС №7) интерпретатору вида услуги, и проверяется возможность реализации услуги путем посылки запроса через транспортную сеть в ПАУ. В соответствии с требуемым видом услуги выполняется поиск ПРУ и сопровождающих данных в СИБД или во внешней БД. Интерпретатор вида услуги получает подтверждение о реализуемости запрошенной услуги и начинает контроль ее реализации путем обмена в реальном времени с ПКУ. Информационный обмен между ПКУ, ИВУ и ПАУ не требует специальных каналов (эти объекты IN являются узлами транспортной сети) и установления соединений и относится к транзакционному типу обмена в сети с коммутацией пакетов. Транзакция – это одноразовая обработка запроса, предполагающая передачу ответа источнику запроса о полученном результате. Каждый ПКУ обычно адресует запросы к одному ИВУ, последний может поддерживать несколько ИУ. Один ПАУ тоже может поддерживать несколько ИУ. В целях уменьшения задержки ресурсы для реализации конкретной ИУ предоставляются только одним ПАУ, если на сети их несколько.
1.4.3 Предоставление ИУ в IN
Рассмотрим процесс предоставления ИУ на примере «услуги 800». Как было отмечено, оплата за обмен в этом случае возлагается на вызываемого абонента. На рис. 1.5 показан обмен между уровнями IN при предоставлении данной услуги.

Рисунок 1.5 – Пример обмена в IN при предоставлении ДВО
Пусть абонент А, являющийся пользователем цифровой АТС, просит предоставить «услугу 800» путем набора номера 800–2345678. На этой АТС модуль ПКУ определяет по коду 800 требование на ИУ и передает запрос в ИВУ через сеть сигнализации. Запрос от ПКУ интерпретируется в ИВУ по логическому номеру заказанной услуги 2345678 как заявка на оплату разговора за счет вызываемого абонента.
Частная фирма, абонент или государственная организация по согласованию с администрацией сети получают логический номер, который заносится в СИБД. Ему ставится в соответствие определенный набор номеров телефонов, к которым может быть установлено соединение при реализации данной услуги. В приведенном примере логическому номеру 2345678 сопоставлен физический сетевой номер телефона абонента Б: 6–54–32–10. Если в пункте, где находится ИВУ, нет требуемой БД с необходимыми данными, то здесь формируется запрос для считывания данных из СИБД. Этот запрос передается через сеть сигнализации. Обмен с СИБД относится к типу транзакции. До завершения ориентирования в IN по поводу всех деталей предоставления ИУ абонент ожидает начала обслуживания, получая соответствующий оповещающий сигнал. Система управления СИБД обеспечивает считывание физического сетевого номера абонента Б. Пусть результатом пересчета логического номера 2345678 в физический будет номер абонента Б: 6–54–32–10. Сообщение об этом номере и ПРУ передаются из СИБД в ИВУ и далее в ПКУ на АТС к которой подключен абонент А. Здесь будет установлено соединение с абонентом Б с помощью стандартных средств и протоколов коммутируемой сети, а программа реализации услуги позволит начислить оплату за ИУ абоненту Б.
1.5 Особенности, назначение и архитектура прикладного протокола интеллектуальной сети
1.5.1 Функции узлов, функциональные связи и интерфейсы интеллектуальной сети
Узлы IN, как правило, выполняют одну или несколько функций, которые можно разделить на три основные категории: функции, относящиеся к управлению вызовом; функции, относящиеся к управлению услугами и функции, обеспечивающие услуги (эксплуатационная поддержка и администрирование сети). Данные функции определены в табл. 1.2.
Взаимодействие отдельных функциональных блоков IN осуществляется через стандартизированные эталонные точки и соответствующие им интерфейсы, которые образуют функциональные связи интеллектуальной сети.
Таблица 1.2 – Функции узлов IN
|
Аббревиатура |
Термин |
Значение |
|
1 |
2 |
3 |
|
Функции, относящиеся к управлению вызовом |
||
|
SSF |
Service Switching Function (Функция коммутации услуг) |
Обеспечивает интерфейс между SCF и CCF |
|
SRF |
Specialized Resources Function (Функция специализированных ресурсов) |
Обеспечивает доступ сетевых объектов к различным категориям сетевых средств (речевой автоинформатор, мосты конференц-связи и т.п.) |
|
CCF |
Call Control Function (Функция управления вызовом) |
Обеспечивает традиционные возможности обслуживания вызовов |
|
CCAF |
Call Control Agent Function (Функция управления доступом вызова) |
Обеспечивает доступ пользователя в сеть, т.е. является интерфейсом между пользователем и функцией CCF |
|
Функции, относящиеся к управлению услугами |
||
|
SCF |
Service Control Functin (Функция управления услугами) |
Определяет логику услуг IN и управляет услугой, связанной с выполняемым процессом |
|
SDF |
Service Data Function (Функция поддержки данных услуг) |
Управляет доступом услуг к базам данных сети и обеспечивает контроль данных. Обеспечивае логическую связь функции SCF с данными, «закрывая» от нее их реальное представление |
|
Функции, относящиеся к обеспечению услуг |
||
|
SCEF |
Service Creation Environment Function (Функция среды создания услуг) |
Используется для спецификации, создания, тестирования и загрузки программ логики услуг IN |
|
SMAF |
Service Management Access Function (Функция доступа к системе эксплуатационной поддержки и администрирования услуг) |
Обеспечивает интерфейс к функции SMF. |
|
SMF |
Service Management Function (Функция эксплуатационной поддержки и администрирования услуг) |
Обеспечивает предоставление услуг IN и административное управление услугами. |
Эталонные точки, представлены на рис. 1.6 и соответствуют функциональным интерфейсам, приведенным в табл. 1.3.

Рисунок 1.6 – Функциональные связи и эталонные точки IN для CS 1
Таблица 1.3 – Функциональные интерфейсы интеллектуальной сети
|
Эталонная точка |
Интерфейс |
Эталонная точка |
Интерфейс |
|
А В С D Е F G |
CCAF-CCF CCF-CCF CCF-SRF SSF-SCF SCF-SRF SCF-SDF SMF-SCF |
Н I J К L М |
SMF-SDF SMF-SRF SMF-SMAF SMF-SCEF SSF-CCF SMF-SSF |
Для CS 1 определены только три из приведенных на рис. 1.6 связей, а именно D, Е и F. Возможности управления требуются только для первых шести из приведенного списка функциональных связей (т.е. для связей А, В, С, D. E и F). Функциональная связь в некоторой опорной точке может предусматривать один или несколько классов управления. Любое сочетание функциональной связи и класса управления называется управляющей связью. Управляющая связь обозначается строкой вида <буква>.<цифра> [4, 11], где <буква> обозначает функциональную связь, а <цифра> – класс управления. Определено четыре класса управления:
– класс 1: средства управления соединением;
– класс 2: средства управления обслуживанием вызова;
– класс 3: средства управления услугой IN;
– класс 4: средства эксплуатационного управления.
Например, D.3 означает управляющую связь между функциональными элементами SSF и SCF для класса управления 3.
1.5.2 Назначение, основные понятия и особенности протокола INAP
Как было показано, принципы создания, предоставления, и управления услугами в рамках архитектурной концепции IN определяются концептуальной моделью, содержащей четыре плоскости (рис. 1.3). На распределенной функциональной плоскости модели действия, выполняемые разными блоками SIB, объединяются в группы, называемые функциональными объектами. При внедрении услуг интеллектуальной сети эти функциональные объекты могут гибко распределяться по физическим элементам сети – узлам IN. В процессе предоставления услуг IN функциональные объекты из разных физических элементов взаимодействуют друг с другом, причем взаимодействие происходит в форме диалога: один функциональный объект запрашивает выполнение операции, а другой выполняет ее и возвращает первому результат [12].
Все необходимые для этого связи между физическими элементами сети осуществляются через стандартизованные интерфейсы (рис. 1.6). Специально для поддержки информационных потоков между узлами IN специфицирован прикладной протокол интеллектуальной сети INAP (Intelligent Network Application Protocol), который определяет синтаксис и семантику вызываемых операций, назначение и порядок их обработки. Данный протокол поддерживается системой сигнализации ОКС №7 и цифровой абонентской системой сигнализации DSS1.
Протокол INAP представляет собой прикладной протокол, т.е. протокол 7 го уровня модели взаимодействия открытых систем (ВОС). Он предоставляет услуги для поддержки взаимодействия между прикладными процессами (АР – Application Process), происходящими в узлах IN (например, в SSP, SCP, IP). Прикладной процесс является самым верхним уровнем абстрактного представления в INAP и описывает обработку запроса услуги в узле сети. Один прикладной процесс может использовать несколько прикладных объектов (Application Entity, АЕ), каждый из которых поддерживает специфический набор функций (например, SSF АЕ, SRF АЕ, SCF АЕ), обеспечивающих взаимодействие с удаленными прикладными процессами.
АЕ представляет собой абстрактное описание функций, которые могут быть востребованы прикладным процессом АР для взаимодействия с удаленным АР. АЕ содержит определение каждой функции и правила использования этих функций. Базовым компонентом объекта АЕ является прикладной сервисный элемент (Application Service Element, ASE).
ASE объединяет в себе группу логически связанных функций, которые, в соответствии с рекомендацией ITU-T Q.775, могут быть использованы более чем одним АЕ. Применительно к интеллектуальной сети, ASE представляют собой набор спецификаций процедур обслуживания вызова, известных как операции, например InitialDP и др. Если в SSF, например, обнаружена точка DP, инициализирующая услугу и требующая участия SCF, то функция SSF формирует сообщение, которое называется InitialDP Operation, и посредством подсистемы транзакций ТСАР (Transaction Capabilities Application Part), где, в свою очередь, еще выделены два подуровня, начинается сеанс связи с соответствующими уровнями протоколов контроллера SCP. При этом используются, как будет показано дальше, также подсистема контроля соединений сигнализации системы сигнализации ОКС №7.
Прикладной процесс (например, в SSP) устанавливает логическую связь (так называемую ассоциацию), пользуясь которой, он будет взаимодействовать с другим прикладным процессом (например, в SCP), после чего начинается операций. Существуют определенные правила, в соответствии с которыми устанавливается порядок выполнения операций. За последовательность операций в ASE отвечает специальная функция. Если существует всего одна ассоциация, это – функция управления одиночной (отдельной) ассоциацией SACF (Single Association Control Function). Если одновременно имеется несколько ассоциаций, необходима синхронизация взаимодействия во всех установленных ассоциациях, которую обеспечивает общая для всех SACF функция управления множеством ассоциаций (Multiple Association Control Function, MACF).
Все средства (ассоциация, относящиеся к ней ASE, функции SACF), которые поддерживают диалог между двумя функциональными объектами, размещенными в разных узлах IN (например, диалог между SSF и SCF), образуют объект одиночной логической связи SAO (Single Association Object). На рисунке 1.7 приведена структура прикладного объекта AE.

Рисунок 1.7 – Структура прикладного объекта AE
Так, например, какой-либо абонент хочет получить обычную телефонную связь с другим абонентом. Будем рассматривать процесс организации этой связи как прикладной процесс (АР). При этом телефонный аппарат будет прикладным объектом (АЕ), который содержит следующие прикладные сервисные элементы (ASE): рычаг аппарата – «ASE – Рычаг», клавиши для набора цифр – «ASE – Цифры», клавиши для набора специальных символов – «ASE-*, #» и т.п. Все эти ASE участвуют в установлении соединения через телефонную сеть, иными словами, в создании ассоциации. Функции управления одиночной ассоциацией – SACF – должны в этом случае содержать, например, правило, говорящее о том, что перед набором номера трубка должна быть снята с рычага. Если телефонный аппарат поддерживает соединения по двум линиям, то нужны еще и функции управления множеством ассоциаций MACF, которые содержат правила переключения с одной линии на другую, а также правила объединения или разделения линий.
Протокол INAP является пользователем протокола ROSE (Remote Operations Service Element – сервисный элемент удаленных операций), определенного в рекомендациях ITU-T X.219 и Х.229, в том смысле, что INAP использует для переноса своей информации блоки данных протокола ROSE. Протокол ROSE содержится внутри подуровня компонентов ТСАР системы сигнализации ОКС №7 (ITU-T Q.771–775) и DSS1 (ITU-T Q.932) и является стандартизованным прикладным сервисным элементом. Поскольку ROSE предоставляет услуги вызова удаленных процедур, он используется во многих приложениях с распределенной обработкой. Для него определены четыре типа блоков данных протокола (Protocol Data Unit, PDU):
– Invoke – обращение;
– Return Result – возврат результата;
– Return Error – возврат ошибки;
– Reject – отказ.
Последним понятием, относящимся к определению прикладного протокола, является прикладной контекст (Application Context, АС). Формально прикладной контекст может быть определен как набор ASE и правил, которые должны соблюдаться при взаимодействии прикладных процессов друг с другом. Прикладной процесс, который инициировал взаимодействие, предлагает один или более контекстов в блоке данных (PDU) и получает ответ, в котором возможность использования контекста либо подтверждается, либо отвергается, либо предлагается другой контекст. В последнем случае текущая ассоциация должна быть закрыта, и открыта новая для представления нового набора прикладных контекстов.
Таким образом, охарактеризовав протокол в INАР соответствии с вышеприведенными понятиями прикладного процесса, прикладного объекта, прикладного сервисного элемента, прикладного контекста, а также протоколов ROSE и PDU, рассмотрим и проанализируем особенности протокола INAP.
1) Услуги, предоставляемые протоколом INAP.
Семантика услуг, предоставляемых протоколом INAP, определена на распределенной функциональной плоскости концептуальной модели IN. Основной задачей протокола INAP является перенос информации, которой обмениваются функциональные объекты FE и которая определена в информационных потоках IF и в соответствующих информационных элементах IE. Отличительной особенностью протокола INAP в данном случае является то, что он отвечает за обмен информацией между функциональными объектами ЕЕ, а не физическими объектами – узлами интеллектуальной сети. В частности, рекомендация ITU-T Q.1208, в которой изложены ключевые принципы архитектурной концепции IN гласит: «Протоколы должны быть определены таким образом, чтобы функциональные объекты можно было размещать по физическим элементам любым способом по желанию операторов и производителей оборудования» [13].
2) Словарь INAP.
Словарь протокола INAP состоит из операций, поддерживаемых протоколом ROSE, и их параметров, которые, в свою очередь, соответствуют представленным на распределенной функциональной плоскости информационным потокам и информационным элементам [3, 4].
3) Кодирование INAP.
Рекомендация ITU-T Q.I208 предписывает использовать для кодирования протокола INAP язык абстрактных описаний – ASN. 1. Язык ASN. 1 подобен языку Pascal и предназначен для независимого от кодирования определения блоков данных PDU прикладного уровня, которые, сами по себе, являются структурами данных. Язык ASN.1 содержит набор элементарных типов данных и способов создания структурированных типов данных из элементарных типов данных [4].
3) Процедуры INAP.
Процедуры протокола INAP выполняют функции синхронизации действий относящихся как к приему, так и к передаче сообщений между взаимодействующими объектами. Однако процедуры вызывают основные проблемы в процессе распределенной обработки. В то время как ошибки в синтаксисе протокола могут быть легко обнаружены и откорректированы человеком, нарушения в синхронизации являются настолько сложными, что их фактически невозможно выявить на стадии проектирования. Это ведет к непредсказуемому поведению системы, вследствие чего нормальную ситуацию бывает невозможно восстановить.
В рекомендациях ITU-T процедуры протокола обычно специфицируются двумя методами: стрелочными диаграммами (MSC диаграммы) и описанием на языке SDL. MSC диаграммы наглядно показывают общую картину обмена сообщениями между взаимодействующими объектами и служат для иллюстрации основной идеи протокола. Но с их помощью невозможно отразить все многообразие сочетаний сообщений, учитывающее все возможные ошибочные случаи. Описания на языке SDL охватывают все возможные ситуации; а также существуют специальные отладочные средства, позволяющие проверить правильность разработанных SDL описаний. Отмеченные достоинства разумеется, сказываются на объеме SDL описаний и их обозримости. Данные обстоятельства наглядно иллюстрирует приложение к обновленной редакции Q.1218, в котором содержится полный набор SDL описаний всех процедур относящихся к набору CS 1 [14].
На основании изложенных понятий и особенностей, касающихся протокола INAP, перейдем к рассмотрению архитектурных принципов реализации данного протокола.
1.5.3 Архитектура прикладного протокола интеллектуальной сети
Чтобы блоки данных протокола PDU могли достичь физического пункта назначения независимо от того, в какой сети он находится, INAP использует адресацию подсистемы SCCP (Signaling Connection Control Part – подсистема управления соединением сигнализации) системы сигнализации ОКС №7 (параметр «глобальный заголовок») и подсистему МТР (Message Transfer Part – подсистема передачи сообщений) – поле «код пункта сигнализации». Выбор номеров подсистем SSN (sub>system Numbers), присваиваемых INAP внутри узла, производится оператором сети по своему усмотрению Соответствующая архитектура протокола INAP представлена на рисунке 1.8.
0100090000032a0200000200a20100000000a201000026060f003a03574d46430100000000000100780f0000000001000000180300000000000018030000010000006c0000000000000000000000350000006f0000000000000000000000f8230000c00a000020454d46000001001803000012000000020000000000000000000000000000007f120000771a0000c80000001f010000000000000000000000000000000f030058600400160000000c000000180000000a00000010000000000000000000000009000000100000007f0800008c020000250000000c0000000e000080250000000c0000000e000080120000000c00000001000000520000007001000001000000a4ffffff00000000000000000000000090010000000000cc04400022430061006c006900620072006900000000000000000000000000000000000000000000000000000000000000000000000000000000000000000000000000000000003000b099300010000000149d3000949a3000e450ea65149d30000c9a3000100000007c9b3000f89c30008a4fea65149d30000c9a30002000000080e0fc660c9a3000149d300020000000ffffffffec121502fbe0fc66ffffffffffff0180ffff0180ffff0180ffffffff000000000008000000080000b8f5550501000000000000005802000025000000372e9001cc00020f0502020204030204ff0200e1ffac004009000000000000009f01000000000000430061006c006900620072000000000004000000d49a3000334efe66282edb67349e3000409a3000d532f66620000000010000007c9a30007c9a30000076f46620000000a49a3000ec1215026476000800000000250000000c00000001000000250000000c00000001000000250000000c00000001000000180000000c0000000000000254000000540000000000000000000000350000006f00000001000000e7298740a48e87400000000057000000010000004c0000000400000000000000000000007f0800008a02000050000000200035003600000046000000280000001c0000004744494302000000ffffffffffffffff800800008d020000000000004600000014000000080000004744494303000000250000000c0000000e000080250000000c0000000e0000800e000000140000000000000010000000140000000400000003010800050000000b0200000000050000000c024e000501040000002e0118001c000000fb020200010000000000bc02000000cc0102022253797374656d003f00003f3f3f3f3f3f3f3f3f3f0800000001003f3f3f3f3f00040000002d010000040000002d01000004000000020101001c000000fb02f5ff0000000000009001000000cc0440002243616c6962726900000000000000000000000000000000000000000000000000040000002d010100040000002d010100040000002d010100050000000902000000020d000000320a0a000000010004000000000004014e0020000600040000002d010000040000002d010000030000000000
Рисунок 1.8 – Архитектура протокола INAP
Протокол INAP представляет собой совокупность всех прикладных сервисных элементов ASE IN. Физический элемент может взаимодействовать всего с одним другим физическим элементом (случай (а) рис. 1.8) или с несколькими другими физическими элементами (случай (b) рис. 1.8). В случае (а) координацию использования разных ASE (т.е. организацию очередности поддерживаемых этими ASE операций согласно очередности приема соответствующих примитивов) выполняет функция управления одиночной ассоциацией SACF. Эту функцию и относящиеся к ней ASE представляет объект одиночной логической связи SAO. В случае (b) координацию взаимодействия во всех установленных ассоциациях выполняет MACF – функция управления множественными ассоциациями, синхронизирующая работу нескольких разных SAO, каждый из которых взаимодействует с SAO в одном из нескольких удаленных физических объектов.
Каждый ASE поддерживает одну или несколько операций. Согласно рекомендации ITU-T X.219 под операцией (operation) понимается совокупность действий, которые должен выполнить функциональный объект, получив соответствующий запрос (request) от другого функционального объекта. В ответ на запрос может последовать отклик (response), несущий информацию либо о результате выполнения этих действий, либо о невозможности их выполнить.
Использование механизма согласования прикладного контекста АС, определенного в рекомендациях ITU-T серии Q.77X, позволяет двум взаимодействующим элементам точно идентифицировать свои характеристики, а также и те характеристики, которыми должен обладать используемый для взаимодействия интерфейс.
Исходя из проведенного в разделе анализа базовых концептуальных принципов и структуры построения интеллектуальных сетей, можно сделать следующие выводы:
– целью создания платформы IN является интегрирование возможностей средств передачи и обработки данных для предоставления услуг пользователям на базе различных телекоммуникационных сетей;
– интеллектуальная сеть имеет иерархическую четырех плоскостную структуру, в которой выделяется шесть основных узлов;
– узлы IN выполняют одну или несколько функций, которые можно разделить на три основные категории: функции, относящиеся к управлению вызовом; функции, относящиеся к управлению услугами и функции, обеспечивающие услуги;
– взаимодействие сетевых ресурсов и размещенных в них функций при предоставлении IN обеспечивается прикладным протоколом INAP, который и определяет основные необходимые для этого операции и действия в виде соответствующих сценариев.
Однако следует отметить, что состав информационных потоков между узлами интеллектуальной сети реализации сценариев INAP по обслуживанию вызовов и предоставлению интеллектуальных услуг определяет базовая модель состояний вызова, которая описывает точки взаимодействия с «логикой услуги» IN. Протокол INAP и базовая модель состояний вызова, являются основой при организации системы управления вызовами в IN.
Отсюда на основании вышеизложенного и в соответствии с техническим заданием к дипломной работе, тема которой носит комплексный характер, далее проводится анализ методики обработки вызовов IN на приемной стороне, что соответствует основным задачам по проведению исследований в данной части дипломной работе.
2. Анализ методики обработки вызовов in на приемной стороне
2.1 Обобщенная модель обслуживания вызовов в интеллектуальных сетях
В общем случае обработка вызовов является одной из функций, которые должна выполнять телефонная станция в качестве центра обработки и установления соединений в телефонной сети. В рамках архитектурной концепции построения интеллектуальной сети телефонная станция представлена узлом SSP. Для понимания процессов, происходящих в SSP при установлении соединения и при наблюдении за ним вплоть до разъединения, удобно использовать модель базового процесса обслуживания вызова. Модель содержит последовательность точек, отображающих состояния этого процесса (PIC – Point In Call), между которыми могут присутствовать точки обнаружения (DP – Detection Point) обращений к услугам IN или событий, которые представляют интерес с точки зрения логики услуг IN.
Точки PIC являются представлениями обычных действий, выполняемых коммутационной станцией во время установления соединения, и состояний, через которые проходит процесс обслуживания вызова с момента, когда абонент снял трубку, до окончания связи. Например, нулевое состояние – это состояние, в котором SSP следит за свободной абонентской линией. В качестве других состояний (или точек PIC) можно назвать состояние вызова абонентом станции («трубка снята»), состояние, когда станция принимает набираемые абонентом цифры номера («накопление информации»), «анализ информации», «маршрутизация», «оповещение» и т.д.
Через подобные состояния проходит процесс обслуживания вызова в любой станции (с функциями SSP или без них). Однако рассматриваемая ниже формальная модель процесса обслуживания вызова, требующего услуг IN, используется только в концепции IN, а потому любая коммутационная станция с функциями SSP должна соответствовать этой модели. Эта модель, содержащая в себе модель базового процесса обслуживания вызова во взаимодействии с логикой услуг IN, приведена на рисунке 2.1.

Рисунок 2.1 – Обобщенная модель процесса обслуживания вызова
Точки обнаружения обращений к услугам IN или триггерные точки (Trigger Detection Points, ТDР), отмечают приостановку базового процесса обслуживания вызова для обращения к логике услуг IN, происходящую в соответствии с заранее назначенным критерием. Таким критерием могут быть определенное сочетание цифр в набранном абонентом номере, префикс, категория вызывающей абонентской линии и т.д. Важно отметить, что эксплуатационный персонал SSP может самостоятельно определять триггерные точки (т.е. делать их обнаруживаемыми) и назначать критерии для обращения к IN.
Кроме триггерных точек, назначаемых статически для каждого набора CS, определены также назначаемые динамически со стороны SCP точки обнаружения событий (Event Detection Point, EDP), которые интересны с точки зрения логики услуг IN. Такими событиями могут быть, например, занятость вызываемого абонента, ответ, отбой абонента и т.д. Переданная в SCP информация о том, какое именно событие наступило, используется сервисной логикой для того, чтобы принять решение о дальнейших инструкциях, которые нужно направить к SSP.
Если в процессе обслуживания вызова обнаруживается активная триггерная точка, процесс приостанавливается до тех пор, пока SSP и SCP не закончат обмен информацией, в результате которого определяются параметры следующего состояния базового процесса.
Рассмотрим пример работы модели. Предположим, что базовый процесс обслуживания вызова вышел из нулевого состояния, прошел состояние «трубка снята» и находится в состоянии «накопление информации». Если накопленная информация отвечает заданному критерию, процесс приостанавливается и «срабатывает» триггерная точка «информация накоплена». SSP формирует сообщение с необходимыми данными и направляет его через сеть ОКС №7 к SCP. После приема от SCP ответного сообщения, в котором содержатся инструкции для маршрутизации вызова, SSP переходит в следующее состояние «анализ информации». Далее процесс обслуживания вызова происходит обычным образом вплоть до разъединения.
Данная модель принципиально отличается от ранее существовавших моделей, в которых обработка вызова коммутационной станцией проходила от начального, до конечного состояния без остановки.
2.2 Основные компоненты и общая характеристика системы управления вызовами в интеллектуальной сети
В соответствии с распределенной моделью CS 1 процесс предоставления услуги интеллектуальной сетью заключается в установлении соединения объектами CCF/SSF, в выполнении логики услуги в SCF, а также в использовании вспомогательных ресурсов и данных (в объектах SRF и SDF). В рекомендации Q.1214 для CS 1 даны модели каждого функционального объекта распределенной функциональной плоскости в виде машины конечных состояний.
Система управления вызовами в IN описывается моделью внутренних ресурсов CCF/SSF и ориентирована на услуги (атрибуты услуг) типа А, то есть на такое обслуживание вызовов, когда услуги IN предоставляются независимо вызывающей и вызываемой стороне соединения [5].
В приложении А приведена модель внутренних ресурсов CCF/SSF на передающей стороне одной АТС и приемной стороне другой АТС, которые выступают в аспекте архитектуры интеллектуальной сети как узлы SSP. Как было показано ранее, предусматриваемые концепцией IN средства моделирования обслуживания вызовов функциями CCF/SSF используют абстрактное представление процессов обслуживания вызовов и установления соединений, не зависящее от реализации оборудования и от его производителя.
С точки зрения функций IN модель CCF/SSF содержит следующие основные блоки: ВСМ – менеджер базового процесса обслуживания вызова, IN-SM (IN-Switching Manager) – менеджер коммутации услуг IN, FIM/CM (Feature Interaction Manager/Call Manager) – менеджер взаимодействия между услугами.
ВСМ является абстрактным представлением той части коммутационной станции, в которой реализованы базовые функции управления связью пользователя и установлением соединений между пользователями. Он отслеживает происходящие в процессе управления события, о которых необходимо известить SCF. Кроме того, в ВСМ реализована модель состояний базового процесса обслуживания вызовов (Basic Call State Model, BCSM) и функции обработки точек обнаружения DP.
IN-SM служит интерфейсом, который делает видимыми для SCF события, происходящие в CCF/SSF, и обеспечивает доступ SCF к ресурсам CCF/SSF. Основную часть IN-SM составляет модель состояний процесса коммутации услуг IN-SSM (IN-Switching State Model), представляющая процесс обслуживания вызова ИС функциями CCF/SSF в терминах состояний соединения.
IN-SSM создается при каждом обращении к логике услуг IN, требующем управления соединением. Создание IN-SSM либо является следствием того, что в БМСВ встречается TDP, либо инициируется со стороны SCF независимо от наличия TDP. В задачу TDP входит инициирование и прекращение управляющей связи. Разрушается IN-SSM после того, как со стороны SCF получена информация о завершении работы логики услуги.
Функции SCF могут управлять несколькими трактами и соединениями при поддержке нескольких одновременно активных BCSM. В связи с этим, в числе прочего, необходима координация действий, обусловленных одновременно возникающими в разных BCSM событиями, и действий по приостановке / возобновлению процессов обслуживания, происходящих в разных BCSM, но относящихся к одному IN-SSM.
FIM/CM предусматривает механизм, обеспечивающий поддержку нескольких одновременных обращений к логике услуг (как ИС, так и обычных) при обслуживании одного вызова. В частности, он может предотвращать одновременное обращение к логике услуг. Таким образом, FIM/CM предоставляет функциям SSF унифицированную информацию о процессе обслуживания вызова.
2.3 Структура базовой модели состояний вызова на приемной стороне и ее анализ
2.3.1 Структура BCSM на приемной стороне
BCSM является описанием деятельности функции CCF на языке конечных автоматов. Эта модель показывает, как отдельные действия CCF соединяются вместе с целью обслуживания вызова, с целью установления и обеспечения соединительных путей для пользователей. Не все аспекты BCSM явно видны со стороны логики услуги IN, а только те, что передаются из CCF в SSF и далее в SCF, и только последние являются объектом стандартизации. С этой точки зрения BCSM является средством описания действий CCF и выбора тех аспектов BCSM, которые должны быть видны со стороны логики услуг IN, контролируемой в SCF.
BCSM идентифицирует состояния вызова и всего процесса установления соединения, в которых допускается взаимодействие с логикой услуги IN. Структура модели BCSM включает следующие элементы (рис. 2.2):
1) состояния или фазы вызова PIC;
2) точки обнаружения DP;
3) переходы;
4) события.

Рисунок 2.2 – Обозначение элементов БМСВ
В рамках архитектуры IN модель BCSM отражает существующий процесс коммутации базовых двусторонних вызовов и функциональное разделение между исходящим и входящим сегментами вызова [6]. Модель состоит из двух частей: BCSM на передающей и принимающей сторонах.
В соответствии с поставленными в техническом задании к дипломной работе задачах, в данной дипломной работе исследуется BCSM на приемной стороне (рис 2.3).
Следует отметить, что каждое состояние BCSM характеризуется перечнем стартовых событий (вызывающих переход в данное состояние или фазу вызова), перечнем выполняемых функций, доступной информацией и перечнем выходных событий (вызывающих переход из данного состояния).

Рисунок 2.3 – Структура BCSM на приемной стороне IN для CS 1
2.3.2 Основные фазы вызова BCSM на приемной стороне
Приемная часть BCSM соответствует той части ресурсов CCF, которые несут ответственность за установление соединения к вызываемому абоненту.
Фазы вызова описаны в рекомендации ITU-T Q.1214 [15] и показаны на рис. 2.3. В соответствии с этой рекомендацией существует одиннадцать основных состояний описания модели BCSM. Первые шесть относятся к BCSM на передающей стороне, а вторые пять – к BCSM на приемной стороне. Рассмотрим состояния, относящиеся к модели BCSM на приемной стороне.
1) Состояние 7 (PIC 7) – свободное состояние и проверка правомочности запроса входящей связи.
Стартовое событие: освобождение ресурсов, занятых в предыдущем соединении (переход от DP 17 или от DP 18); окончание обработки исключительной ситуации.
Функции: освобождение линий и каналов; контроль исходного состояния; проверка правомочности входящего вызова.
Доступная информация: номер счета для начисления платы; номер вызывающей стороны; категория вызывающей стороны; номер вызываемой стороны; дополнительная информация, доставленная входящей системой сигнализации.
Выходные события: индикация приема входящего вызова и разрешение направить его к адресату.
События выхода по исключению: индикация отказа со стороны передающей части или отрицательный результат проверки права входящей связи.
2) Состояние 8 (PIC 8) – выбор ресурса и извещение о принимаемом вызове.
Стартовое событие: индикация приема входящего вызова и разрешение направить его к адресату (переход от DP 12).
Функции: выбор ресурса для обслуживания вызова; подача извещения о вызове к вызываемому терминальному оборудованию (сообщения SETUP в случае ISDN или вызывного сигнала в случае аналоговой абонентской линии).
Доступная информация: та же, что для PIC 7.
Выходные события: приемная сторона извещается о вызове (переход к PIC 9); получен ответ вызываемой стороны (переход к DP 15).
События выхода по исключению: вызываемая сторона занята или недоступна (переход к DP 13); получена индикация отказа вызывающей стороны от связи (переход к DP 18).
3) Состояние 9 (PIC 9) – принимающая сторона передает оповещение (посылка вызова).
Стартовое событие: принимающая сторона извещается о вызове.
Функции: передача индикации оповещения к BSCM на исходящей стороне и ожидание ответа вызываемой стороны
Доступная информация: та же, что для PIC 8.
Выходные события: ответ вызываемой стороны (переход к DP 15).
События выхода по исключению: отсутствие ответа (переход к PIC 14); получена индикация отказа вызывающей стороны от связи (переход к DP 18).
4) Состояние 10 (РIС 10) – разговор.
Стартовое событие: ответ вызываемой стороны.
Функции: передача индикации ответа вызываемой стороны к BCSM на исходящей стороне; установление соединения между исходящей и входящей сторонами, наблюдение за состоянием связи.
Доступная информация: та же, что для PIC 9.
Выходные события: прием от вызванной стороны запроса услуги (атрибута услуги), например, кратковременное нажатие на рычаг телефонного аппарата, сигнал DTMF, сообщение DSS1 (переход к DP 16); запрос разъединения вызванной стороной или от BCSM на исходящей стороне (переход к DP 17).
5) Состояние 11 (PIC11) – освобождение.
Стартовое событие: возникновение условий, предполагающих выход по исключению из любой описанной выше точки PIC.
Функции: индикация в сторону исходящей BCSM возникновения нештатной ситуации; стандартная обработка исключительных ситуаций, предполагающая освобождение задействованных ресурсов.
Доступная информация: та, которая имеется в точке, где возникла исключительная ситуация.
Выходные события: завершение обработки исключительной ситуации функциями CCF/SSF (переход к PIC 7).
2.3.3 Точки обнаружения характерные для BCSM на приемной стороне
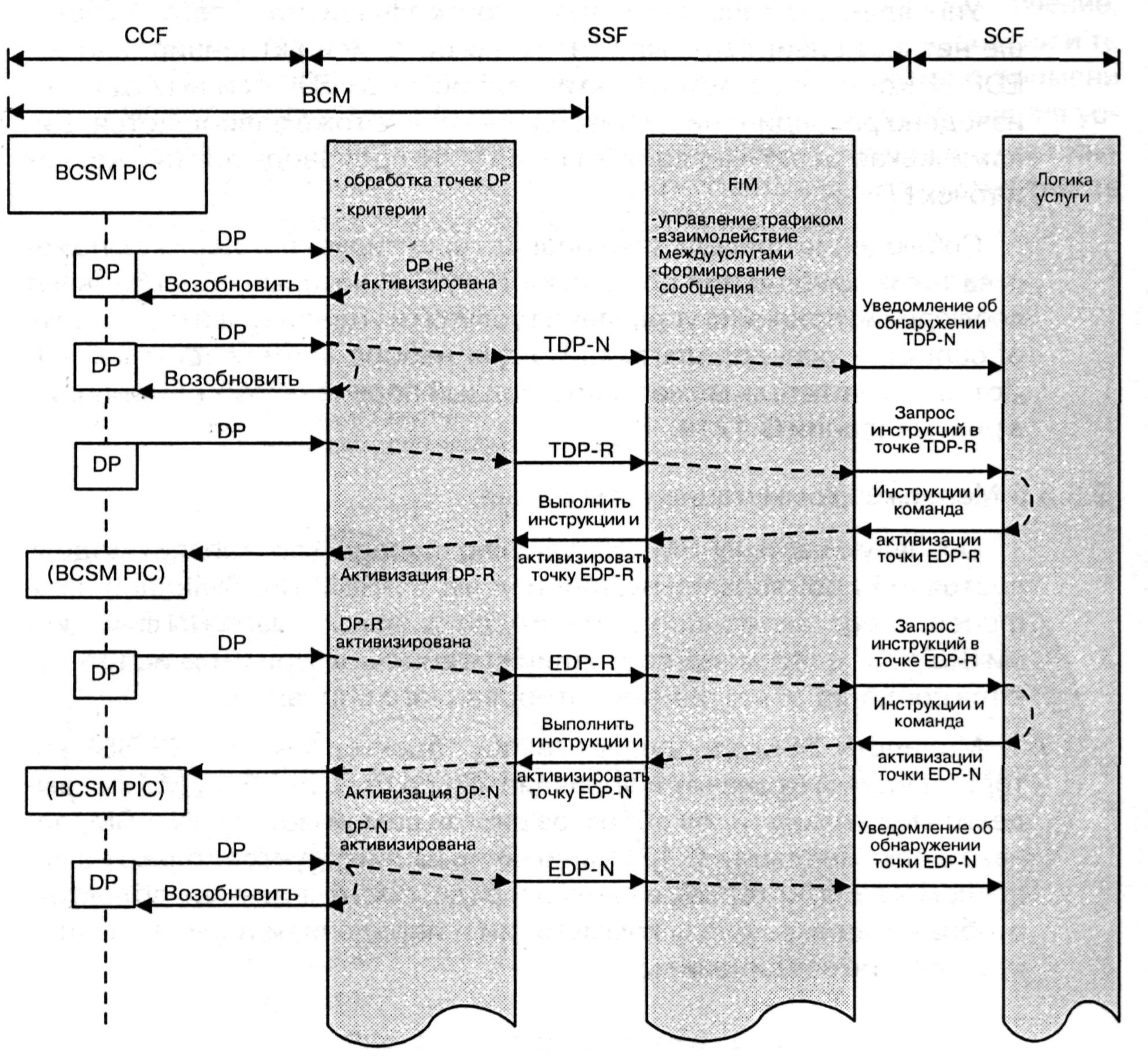
Точки обнаружения DP представляют собой такие точки в базовом процессе обслуживания вызова, в которых могут быть обнаружены события, представляющие интерес для логики услуг IN. В случае необходимости информация о таких событиях передается к функциям SCF. Для того, чтобы это было возможно, соответствующая DP должна быть активизирована. Только в этом случае программы логики услуг, находящиеся в SCР смогут влиять на последующее обслуживание вызова. Если DP не активизирована, то CCF/SSF продолжает работать с вызовом без обращения к SCF. Точки обнаружения характеризуются следующими атрибутами:
1) Механизмом активизации. Точки обнаружения могут быть активизированы статически или динамически. Статическая активизации производится функциями SMF (Service Management Function – функциональный объект эксплуатационного управления услугами). Такие точки остаются в активизированном состоянии до момента их деактивизации со стороны SMF. Динамическая активизация производится SCF в контексте управляющей связи между SSF и SCF при обслуживании конкретного вызова, причем DP остается активизированной до окончания этой управляющей связи.
2) Критерием. Под критерием понимаются условия, которые должны быть удовлетворены, чтобы к SCF было передано уведомление о том, что встретилась активизированная DP.
3) Логической связью. Если встречена активизированная DP и удовлетворен соответствующий ей критерий, функции SSF могут обмениваться информационными потоками с SCF, используя некую абстрактную среду, носящей название «логическая связь». Логическая связь может быть управляющей (используя ее, SCF влияет на процесс обслуживания вызова) и контрольной (используя ее, SCF может лишь вести мониторинг процесса, не оказывая на него никакого воздействия).
4) Необходимостью приостановки базового процесса обслуживания вызова. При условии, что встретилась активизированная DP, удовлетворяется соответствующий ей критерий и установлена управляющая связь, SSF может приостановить процесс обслуживания вызова для того, чтобы дать возможность функциям SCF влиять на дальнейший ход этого процесса. Если необходимость приостанавливать процесс отсутствует, функции SCF уведомляются о том, что встретилась определенная DP, но их ответная реакция не ожидается. Этот атрибут точки обнаружения назначается таким же образом, каким осуществляется ее активизация.
В соответствии с рассмотренными атрибутами для CS 1 определены четыре типа точек обнаружения:
– триггерная точка обнаружения, запрос (TDP-R);
– триггерная точка обнаружения, уведомление (TDP-N);
– точка обнаружения события, запрос (EDP-R);
– точка обнаружения события, уведомление (EDP-N).
Атрибуты перечисленных типов точек обнаружения приведены в таблице 2.1.
Таблица 2.1 – Атрибуты точек обнаружения
|
Тип DP |
Механизм активизации |
Критерий |
Управляющая связь |
Приостановка базового процесса |
Пример использования |
|
TDP-R |
Статический |
Свой для каждой DP |
Инициирует управляющую связь |
Требуется |
Все услуги IN |
|
TDP-N |
Статический |
Свой для каждой DP |
Инициирует и прекращает управляющую связь |
Не требуется |
Телеголосование |
|
EEDP-R |
Динамический |
Отсутствует |
В контексте существующей управляющей связи |
Требуется |
Распределение вызовов |
|
EEDP-N |
Динамический |
Отсутствует |
В контексте существующей управляющей или контрольной связи |
Не требуется |
Начисление платы |
Диаграмма, иллюстрирующая обработку точек обнаружения, показана на рисунке 2.4. Следует отметить, что одна и та же точка обнаружения может быть определена для одного и того же вызова и как триггерная точка ТDР, и как точка обнаружения события EDP. Если это так, то обработка EDP имеет более высокий приоритет, чем обработка ТDР.
Кроме того, одна и та же точка обнаружения может быть активизирована несколько раз в качестве TDP-R с разными критериями, приоритеты которых устанавливаются административной процедурой. Каждый следующий критерий анализируется только в случае, если не удовлетворяется предыдущий, или если после отработки предыдущего удовлетворенного критерия процесс обслуживания вызова возвратился к той же DP (при условии, что управляющая связь, обеспечивавшая отработку предыдущего критерия, завершена или заменена контрольной). Критерии, связанные с TDP-N, обрабатываются независимо от наличия или отсутствия управляющей связи.
Управляющая связь сохраняется до тех пор, пока есть активизированные для данной части соединения EDP-R, и завершается, когда таковых больше нет или когда происходит разъединение. Во время существования управляющей связи точки EDP-R могут динамически деактивизироваться со стороны SCF. Динамическая деактивизация EDP-R со стороны SSF производится после того, как они встретились, и об этом был извещен SCF, или же после разъединения.
Управляющая связь заменяется контрольной в случае, если больше нет активизированных EDP-R, но остались активизированные EDP-N. Когда не остается и активизированных EDP-N, или, когда произведено разъединение, контрольная связь тоже завершается. Динамическая деактивизация точек EDP-N производится так же, как и точек ЕDР-R.

Рисунок 2.4 – Диаграмма обработки точек обнаружения
Соблюдение приведенных правил гарантирует поддержку множества таких комбинаций обработки TDP/EDP, которые обеспечивают соблюдение принципа управления услугой из одной точки – основополагающего для набора возможностей CS 1.
2.4 Функционирование модели внутренних ресурсов CCF/SSF как системы управления вызовами
На основании вышеизложенного, проанализируем последовательность действий, выполняемых объектами модели CCF/SSF.
Пользователь взаимодействует с CCF/SCF через CCAF с целью запросить связь. Менеджер базового процесса обслуживания вызовов (BCM создает BCSM, которая представляет основные функции управления соединением, необходимые для организации и поддержки этой связи. В процессе управления соединением в BCSM отслеживаются события, связанные с обслуживанием вызова.
ВСМ обрабатывает события, происходящие в точках обнаружения в BCSM. В случае если в активизированной точке обнаружения удовлетворяется соответствующий ей критерий, ВСМ информирует FIM/CM о состоянии BCSM и об обнаруженном событии. Если ВСМ нужны инструкции, работа БМСВ приостанавливается в данной DP до их получения. В противном случае BCSM продолжает работать.
Используя полученную от ВСМ информацию, FIM/CM определяет, нужна ли для обработки события логика услуг IN или логика обычных услуг. Кроме того, принимается решение, нужно ли активизировать новую логику услуги, или событие может быть обработано уже активизированной к данному моменту логикой.
Если для обработки события необходимо новое обращение к логике услуг IN, FIM/CM информирует об этом IN-SM и снабжает его информацией о событии и о состоянии BCSM. Если для обработки события необходим запрос обычной услуги (не интеллектуальной), FIM/CM информирует об этом non-IN-SM (менеджера услуг не-IN), который несет ответственность за дальнейшее обслуживание вызова.
IN-SM принимает и обрабатывает информацию о событиях, связанных с услугами IN. Если необходимо новое обращение к логике услуг, IN-SM создает новую IN-SSM, которая представляет состояния соединения в виде, понятном программам логики услуг в SCF. Затем менеджер коммутации услуг формирует и направляет в сторону SCF информационный поток, содержащий сведения о текущем состоянии IN-SSM.
SCF принимает и обрабатывает информационный поток от SSF и активизирует логику затребованной услуги, после чего направляет к SSF ответный информационный поток, содержащий требование к IN-FM изменить состояние IN-SSM таким образом, чтобы был реализован нужный атрибут услуги. SCF может также потребовать от SSF информировать его об определенной группе событий внутри BCSM, то есть указать группу точек EDP которые должны быть активизированы.
IN-SM принимает и обрабатывает информационный поток от SCF с целью изменить должным образом состояние IN-SSM. При этом IN-SM передает соответствующий запрос к FIM/CM, а также следит за изменением состояния IN-SSM с целью обнаружить события, о которых необходимо информировать SCF.
FIM/CM принимает запрос от IN-SM и проверяет его правомерность с учетом того, логика каких услуг к данному моменту активизирована. После этого FIM/CM передает к ВСМ указание, какие функции должны быть выполнены, и требование отслеживать события в BCSM.
Выполняя полученное указание, ВСМ манипулирует состояниями одной или нескольких BCSM. В процессе работы с BCSM он выполняет соответствующие функции управления ресурсами, а также следит за событиями в BCSM. Обнаружив в BCSM событие, ВСМ информирует об этом FIM/CM.
FIM/CM определяет, как следует обрабатывать это событие, после чего сообщает IN-SM, что событие связано с активной в данной момент логикой услуги IN.
IN-SM обрабатывает информацию о событии следующим образом. При условии, что событие связано с активной в данный момент логикой услуги ИС, IN-SM обновляет текущее состояние IN-SSM с тем, чтобы отразить состояние соединения пользователя и передать в информационном потоке от SSF к SCF информацию о событии и о состоянии IN-SSM.
В рассматриваемом нами случае SCF обрабатывает информационный поток следующим образом. При условии, что событие связано с активной логикой услуги IN, содержание информационного потока передается соответствующей программе. Затем формируется ответный информационный поток к SSF, содержащий требование, чтобы IN-SM изменил состояние IN-SSM.
Обмен информационными потоками между SSF и SCF продолжается, пока логика услуги не достигнет завершения (не останется никаких EDP или обслуживание вызова ресурсами CCF/SSF перейдет в область, где, в соответствии с логикой данной услуги, возникновение новых EDP не ожидается).
3. Общий анализ полумарковских процессов, как основы построения базовой модели управления вызова на приемной стороне
3.1 Определения, общая характеристика и основные свойства марковских и полумарковских процессов
Для реализации системы управления вызовами интеллектуальной сети, необходимо рассмотреть организацию базовых моделей управления вызовами на передающей и приемной стороне, в основе которых, как было отмечено, лежит БПОВ. В качестве методики проведения данных исследований предложено использовать аппарат марковских и полумарковских процессов, которые в последнее время достаточно широко используются в теории массового обслуживания, где для исследования реального объекта применяется формальное описание функционирования этого объекта в терминах той или иной системы массового обслуживания (СМО) [16]. Целесообразность применения для исследований марковских и полумарковских процессов объясняется двумя обстоятельствами: во-первых, для марковских процессов хорошо разработан математический аппарат, позволяющий решать многие содержательные физические задачи, и во-вторых, при помощи марковских процессов можно описывать точно или приближенно поведение ряда реальных физических систем и устройств [11].
Приведем общее определение
марковского процесса. Случайный процесс
>
>
называется марковским, если для любых
>
>
моментов времени >
>
из отрезка >
>,
>
>
условная функция распределения
«последнего» значения >
>
при фиксированных значениях >
>,
>
>,
…, >
>
зависит только от >
>,
т.е. при заданных значениях >
>
>
>
>
>
>
>
справедливо соотношение
>
>,…,
>
>. (3.1)
Здесь и в дальнейшем через
>
>
обозначена вероятность события,
указанного в фигурных скобках.
Для трех моментов времени
>
>
формула (3.1) принимает вид:
>
>,…,>
>.(3.2)
Поэтому часто говорят, что
характерное свойство марковских
процессов состоит в следующем: если
точно (если настоящее состояние >
>
известно не точно, то будущее состояние
марковского процесса будет зависеть
от прошлых состояний) известно состояние
марковского процесса в настоящий момент
времени (>
>),
то будущее состояние (при >
>)
не зависит от прошлого состояния (при
>
>).
В случае, если пространство
состояний >
>,
>
>,
…, >
>
марковского процесса >
>
является конечным или счетным, марковский
процесс называется цепью Маркова. Если
параметр >
>
принимает значения только в дискретном
множестве, то цепь Маркова называется
цепью с дискретным временем. Если же
параметр >
>
принимает значения в некотором непрерывном
множестве, то цепь Маркова называется
цепью с непрерывным временем.
Важным частным случаем цепи Маркова с непрерывным временем является так называемый процесс гибели и размножения.
Случайный процесс >
>,
>
>
называется процессом гибели и размножения,
если он удовлетворяет условиям:
– пространство состояний процесса есть множество неотрицательных целых чисел (или некоторое его подмножество;
– время пребывания
процесса в состоянии >
>имеет
показательное распределение с параметром
>
>
и не зависит от предыдущего поведения
процесса;
– после завершения
пребывания процесса в состоянии >
>
он переходит в состояние >
>
с вероятностью >
>,
>
>
и в состояние >
>
с вероятностью >
>.
Вероятность >
>
полагается равной 1.
Состояние процесса >
>,
>
>
в момент времени >
>
можно трактовать как размер некоторой
популяции в этот момент времени. Переход
из состояния >
>
в состояние >
>
трактуется как рождение нового члена
популяции, а переход в состояние >
>
– как гибель члена популяции. Такая
трактовка процесса и объясняет его
название.
В дальнейшем применительно
к марковским процессам будем пользоваться
следующими обозначениями: >
>,
если пространство состояний (фазовое
пространство) процесса непрерывно, и
>
>,
если пространство состояний дискретно.
Полумарковские процессы объединяют теорию цепей Маркова, разрывных марковских процессов и теорию восстановления. В соответствии с предложенной методикой анализа марковских процессов приведем определение полумарковского процесса.
Пусть поведение некоторой
системы описывается следующим образом.
В каждый момент времени система может
находиться в одном из >
>
возможных фазовых состояний >
>,
>
>,
…, >
>,
причем известны начальное состояние
системы (в начальный момент времени >
>
она находиться в состоянии >
>)
и одношаговые вероятности перехода >
>
>
>,
>
>,
>
>.
следовательно, процесс >
>
есть однородная цепь Маркова.
Сопоставим каждому ненулевому
элементу >
>
матрицы вероятностей перехода случайную
величину >
>
с функцией распределения >
>.
В теории массового обслуживания случайную
величину >
>
обычно рассматривают как время пребывания
системы в состоянии >
>
при условии, что следующим состоянием,
в которое перейдет система, будет >
>.
При этом величина >
>
считается неотрицательной и непрерывной
с плотностью вероятности >
>.
При такой интерпретации величину >
>
можно назвать временем ожидания в
состоянии >
>
до перехода в >
>.
Представим, что точка,
отображающая поведение системы на
фазовой плоскости, остается в состоянии
>
>
в течении времени >
>,
прежде чем она прейдет в >
>
(рис. 3.1). По достижении >
>
«мгновенного» (в соответствии с матрицей
вероятностей перехода >
>)
выбирается следующее состояние >
>,
и после того как состояние >
>
выбрано, время ожидания в >
>
полагается равным >
>
с функцией распределения >
>
или плотностью вероятности >
>.Этот
процесс затем следует неограниченно
продолжать, выбирая каждый раз независимо
следующее состояние и время ожидания.
Если через >
>
обозначить состояние системы, занятое
в момент времени >
>.
То полученный случайный момент принято
называть полумарковским.
Рисунок 3.1– Иллюстрация поведения полумарковского процесса
Из приведенного определения
следует, что если игнорировать случайный
характер времени ожидания и интересоваться
только моментами перехода, то процесс
>
>
будет представлять собой однородную
цепь Маркова (или вложенным марковским
процессом). Однако при учете пребывания
процесса в разных состояниях в течении
случайного отрезка времени процесс >
>
не будет удовлетворять уравнению Маркова
(если не все времена ожидания распределены
экспоненциально). Следовательно, процесс
является марковским только в моменты
перехода. Сказанное оправдывает название
«полумарковский процесс» или
«полумарковская цепь».
При заданном начальном
состоянии дальнейшее поведение
полумарковского процесса (полумарковской
цепи) полностью определяется матрицей
вероятностей перехода >
>,
>
>,
>
>,
и матрицей функций распределения >
>
или (для непрерывных случайных величин
>
>)
матрицей плотностей вероятностей >
>
[17].
В рамках исследований
полумарковских процессов с позиций
теории массового обслуживания наибольший
интерес представляет анализ взаимосвязи
времени достижения и времени пребывания
в состояниях полумарковского процесса.
Согласно [16] данный анализ основывается
на реализации элементарного процесса
чистой гибели. В качестве примера
рассмотрим систему >
>,
т.е. однолинейную систему массового
обслуживания с ожиданием (буфером
неограниченной емкости), в которую
поступает простейший поток запросов
(вызовов) интенсивности >
>,
а время обслуживания запросов (вызовов)
имеет показательное распределение с
параметром >
>.
Исследуя поведение этой
системы, можно установить, что случайный
процесс >
>
– число вызовов в системе в момент >
>
– является процессом гибели и размножения
с вероятностью >
>
равной [16]:
>
>,
>
>. (3.3)
Анализ данной системы в рамках элементарного процесса чистой гибели основан на исследовании соответствующего графа перехода из одного состояния в другое. Простейший граф перехода имеет вид, показанный на рис. 3.2.

Рисунок 3.2 – Граф переходов элементарного процесса чистой гибели
Обозначим через >
>,
>
>,
вероятность пребывания процесса в
состоянии с номером >
>,
а через >
>
функцию распределения времени первого
достижения процессом состояния с номером
>
>.
Тогда между этими функциями можно
установить следующие зависимости:
>
>,
>
>.
Подставляя эти выражения
в условие формировки >
>
получим
>
>. (3.4)
Следовательно, в рассматриваемом
элементарном процессе чистой гибели
вероятность пребывания процесса в
промежуточном состоянии оказывается
равной разности функций распределения
времени первого попадания процесса в
это состояние и времени попадания в
следующее состояние. Добавляя и вычитая
в правой части уравнения (3.4), затем
помножив полученное выражение на >
>
>
>
и про интегрировав сначала по >
>
в бесконечных пределах, а затем по
частям, получим [18]
>
>, (3.5)
где >
>
– >
>-й
начальный момент распределения случайной
величины времени попадания процесса в
>
>-е
состояние >
>.
В частности, из формулы (3.5) видно. Что
при >
>
>
>. (3.6)
В результате находим, что
площадь под кривой >
>
числено равна разности разных средних
времен попадания процесса в состояния
2 и 1, а интегральная мера >
>
численно равна среднему времени,
проведенному процессом в состоянии
единицы [18].
Физический смысл полученного
результата можно пояснить следующим
образом. Обозначим через >
>
случайный момент времени попадания
процесса в состояние >
>,
а через >
>
длительность пребывания процесса в
этом состоянии. Тогда для процесса с
графом переходов на рис. 3.2, можно
составить следующее уравнение баланса
времени:
>
> . (3.7)
Возведя выражение (3.21) в
квадрат и применив операцию математического
ожидания, учитывая при этом независимость
случайных величин >
>
и >
>
получим аналогичное (3.19) выражение для
расчета интегральных мер. Так при >
>
находим
>
>.
Аналогичным образом, возводя
уравнение (3.7) в степень >
>
всякий раз будем получать выражения
для расчета интегральных мер вида >
>
через начальные моменты случайной
длительности пребывания процесса в
состоянии единицы и первого попадания
в нее.
В результате определяется
полный набор интегральных мер вида >
>
>
>,
с помощью которого можно судить о
поведении функции >
>.
3.2 Аналитические решения для простейших полумарковских процессов
Описание поведения систем массового обслуживания с помощью распределений моментов первого, второго и последующих достижений системой того или иного состояния, показанных на примере элементарного процесса чистой гибели, оказывается очень полезным в целом ряде практических исследований. Поэтому целесообразно рассмотреть примеры полумарковских процессов, для которых возможно получение подобных результатов в аналитической форме или в виде эффективных вычислительных процедур.
Для начала рассмотрим
простейших процесс, имеющий только два
состояния (рис. 3.3). Обозначим через
>
>
функцию плотности распределения времени
пребывания процесса в состоянии 0, а
через >
>
– в состоянии 1.
0100090000032a0200000200a20100000000a201000026060f003a03574d46430100000000000100780f0000000001000000180300000000000018030000010000006c0000000000000000000000350000006f0000000000000000000000f8230000c00a000020454d46000001001803000012000000020000000000000000000000000000007f120000771a0000c80000001f010000000000000000000000000000000f030058600400160000000c000000180000000a00000010000000000000000000000009000000100000007f0800008c020000250000000c0000000e000080250000000c0000000e000080120000000c00000001000000520000007001000001000000a4ffffff00000000000000000000000090010000000000cc04400022430061006c006900620072006900000000000000000000000000000000000000000000000000000000000000000000000000000000000000000000000000000000003000b099300010000000149d3000949a3000e450ea65149d30000c9a3000100000007c9b3000f89c30008a4fea65149d30000c9a30002000000080e0fc660c9a3000149d300020000000ffffffffec121502fbe0fc66ffffffffffff0180ffff0180ffff0180ffffffff000000000008000000080000b8f5550501000000000000005802000025000000372e9001cc00020f0502020204030204ff0200e1ffac004009000000000000009f01000000000000430061006c006900620072000000000004000000d49a3000334efe66282edb67349e3000409a3000d532f66620000000010000007c9a30007c9a30000076f46620000000a49a3000ec1215026476000800000000250000000c00000001000000250000000c00000001000000250000000c00000001000000180000000c0000000000000254000000540000000000000000000000350000006f00000001000000e7298740a48e87400000000057000000010000004c0000000400000000000000000000007f0800008a02000050000000200035003600000046000000280000001c0000004744494302000000ffffffffffffffff800800008d020000000000004600000014000000080000004744494303000000250000000c0000000e000080250000000c0000000e0000800e000000140000000000000010000000140000000400000003010800050000000b0200000000050000000c024e000501040000002e0118001c000000fb020200010000000000bc02000000cc0102022253797374656d003f00003f3f3f3f3f3f3f3f3f3f0800000001003f3f3f3f3f00040000002d010000040000002d01000004000000020101001c000000fb02f5ff0000000000009001000000cc0440002243616c6962726900000000000000000000000000000000000000000000000000040000002d010100040000002d010100040000002d010100050000000902000000020d000000320a0a000000010004000000000004014e0020000600040000002d010000040000002d010000030000000000
Рисунок 3.3 – Простейший процесс
Соответственно >
>
и >
>
– их преобразования Лапласа. В соответствии
с [16], преобразованием Лапласа распределения
>
>
будем называть функцию >
>,
определяемую как:
>
>. (3.8)
Если >
>
чисто мнимая переменная, преобразование
Лапласа совпадает с характеристической
функцией >
>.
Областью определения функции >
>
обычно считается правая полуплоскость
комплексной плоскости. Однако, без
существенного ограничения сущности, в
рамках проводимого анализа можно
рассматривать >
>
как действительное положительное число.
Состояние процесса,
приведенного на рис. 3.3 опишем с
помощью функции распределения момента
>
>-го
попадания процесса >
>
в >
>-ю
>
>
вершину: >
>.
Тогда, учитывая независимость времен
пребывания процесса в вершинах 0 и 1,
рассматриваемая последовательность
переходов будет иметь вид
>
>, (3.9)
где >
>
– преобразование Лапласа функции >
>.
На основании этих соотношений находят разнообразные характеристики процесса. Так вероятность пребывания процесса в нулевой вершине может быть определена из условия
>
>. (3.10)
Применяя к выражению (3.10) преобразование Лапласа и используя формулы (3.9), получаем
>
>. (3.11)
Если в момент >
>
процесс находится в нулевой вершине,
то >
>
и формула (3.11) принимает вид
>
>. (3.12)
Определение разложения в
ряд функции >
>
делает удобным оценку переходного
режима.
Увеличим число вершин графа на единицу (рис. 3.4.). Заметим, что в этом случае процесс блужданий относительно нулевой вершины может быть описан с помощью некоторого эквивалентного процесса, соответствующего переходам на вспомогательном графе изображенном на рисунке 3.5а.
0100090000032a0200000200a20100000000a201000026060f003a03574d46430100000000000100780f0000000001000000180300000000000018030000010000006c0000000000000000000000350000006f0000000000000000000000f8230000c00a000020454d46000001001803000012000000020000000000000000000000000000007f120000771a0000c80000001f010000000000000000000000000000000f030058600400160000000c000000180000000a00000010000000000000000000000009000000100000007f0800008c020000250000000c0000000e000080250000000c0000000e000080120000000c00000001000000520000007001000001000000a4ffffff00000000000000000000000090010000000000cc04400022430061006c006900620072006900000000000000000000000000000000000000000000000000000000000000000000000000000000000000000000000000000000003000b099300010000000149d3000949a3000e450ea65149d30000c9a3000100000007c9b3000f89c30008a4fea65149d30000c9a30002000000080e0fc660c9a3000149d300020000000ffffffffec121502fbe0fc66ffffffffffff0180ffff0180ffff0180ffffffff000000000008000000080000b8f5550501000000000000005802000025000000372e9001cc00020f0502020204030204ff0200e1ffac004009000000000000009f01000000000000430061006c006900620072000000000004000000d49a3000334efe66282edb67349e3000409a3000d532f66620000000010000007c9a30007c9a30000076f46620000000a49a3000ec1215026476000800000000250000000c00000001000000250000000c00000001000000250000000c00000001000000180000000c0000000000000254000000540000000000000000000000350000006f00000001000000e7298740a48e87400000000057000000010000004c0000000400000000000000000000007f0800008a02000050000000200035003600000046000000280000001c0000004744494302000000ffffffffffffffff800800008d020000000000004600000014000000080000004744494303000000250000000c0000000e000080250000000c0000000e0000800e000000140000000000000010000000140000000400000003010800050000000b0200000000050000000c024e000501040000002e0118001c000000fb020200010000000000bc02000000cc0102022253797374656d003f00003f3f3f3f3f3f3f3f3f3f0800000001003f3f3f3f3f00040000002d010000040000002d01000004000000020101001c000000fb02f5ff0000000000009001000000cc0440002243616c6962726900000000000000000000000000000000000000000000000000040000002d010100040000002d010100040000002d010100050000000902000000020d000000320a0a000000010004000000000004014e0020000600040000002d010000040000002d010000030000000000
Рисунок 3.4 – Полумарковский процесс с трема состояниями
0100090000032a0200000200a20100000000a201000026060f003a03574d46430100000000000100780f0000000001000000180300000000000018030000010000006c0000000000000000000000350000006f0000000000000000000000f8230000c00a000020454d46000001001803000012000000020000000000000000000000000000007f120000771a0000c80000001f010000000000000000000000000000000f030058600400160000000c000000180000000a00000010000000000000000000000009000000100000007f0800008c020000250000000c0000000e000080250000000c0000000e000080120000000c00000001000000520000007001000001000000a4ffffff00000000000000000000000090010000000000cc04400022430061006c006900620072006900000000000000000000000000000000000000000000000000000000000000000000000000000000000000000000000000000000003000b099300010000000149d3000949a3000e450ea65149d30000c9a3000100000007c9b3000f89c30008a4fea65149d30000c9a30002000000080e0fc660c9a3000149d300020000000ffffffffec121502fbe0fc66ffffffffffff0180ffff0180ffff0180ffffffff000000000008000000080000b8f5550501000000000000005802000025000000372e9001cc00020f0502020204030204ff0200e1ffac004009000000000000009f01000000000000430061006c006900620072000000000004000000d49a3000334efe66282edb67349e3000409a3000d532f66620000000010000007c9a30007c9a30000076f46620000000a49a3000ec1215026476000800000000250000000c00000001000000250000000c00000001000000250000000c00000001000000180000000c0000000000000254000000540000000000000000000000350000006f00000001000000e7298740a48e87400000000057000000010000004c0000000400000000000000000000007f0800008a02000050000000200035003600000046000000280000001c0000004744494302000000ffffffffffffffff800800008d020000000000004600000014000000080000004744494303000000250000000c0000000e000080250000000c0000000e0000800e000000140000000000000010000000140000000400000003010800050000000b0200000000050000000c024e000501040000002e0118001c000000fb020200010000000000bc02000000cc0102022253797374656d003f00003f3f3f3f3f3f3f3f3f3f0800000001003f3f3f3f3f00040000002d010000040000002d01000004000000020101001c000000fb02f5ff0000000000009001000000cc0440002243616c6962726900000000000000000000000000000000000000000000000000040000002d010100040000002d010100040000002d010100050000000902000000020d000000320a0a000000010004000000000004014e0020000600040000002d010000040000002d010000030000000000
Рисунок 3.5 – Эквивалентные графы для исследования: а) блужданий относительно нулевого состояния; б) возврата в нулевое состояния; в) блужданий относительно промежуточного состояния
Обозначим через >
>
плотность вероятности времени первого
перехода процесса из группы состояний
{1,2} в нулевое состояние при начале
блужданий из состояний 1. Тогда
>
>. (3.13)
Определим функцию >
>.
Для этого воспользуемся формулами
(3.12), записанными для графа, изображенного
на рисунке 3.5б:
>
>;
>
>,
>
>,
где >
>,
>
>
– преобразования Лапласа дефектных
случайных величин времени, проводимого
процессом в состоянии 1 перед переходом
соответственно в состоянии 0 и 2.
С помощью последних выражений находим преобразование Лапласа распределения времени первого попадания процесса в состояние А для графа, изображенного на рис 3.5б
>
>.
Состояние >
>
в общем случае описывается уравнением
вида
>
>, (3.14)
где >
>
– некоторый линейный оператор.
Это уравнение описывает
еще одно общее и важное свойство
марковских процессов, для которых
эволюция вероятности перехода >
>.
Заметим, что это свойство позволяет
исследовать поведение марковских
процессов при помощи хорошо разработанных
методов решения соответствующих
дифференциальных уравнений.
Отсюда, учитывая, что
начальные условия для рассматриваемого
случая >
>,
получаем
>
>.
Теперь из условия >
>
находим необходимую функцию
>
>. (3.15)
Подставляя выражение (3.15) в формулу (3.13), получаем преобразование Лапласа вероятности пребывания процесса в нулевом состоянии
>
>. (3.16)
Для определения функции >
>
рассмотрим блуждания относительно
первого состояния и построим для них
эквивалентный граф (рис. 3.5в). Здесь
преобразования Лапласа времени пребывания
в состоянии 1 и вне этого состояния
определяется из соотношений
>
>, (3.17)
полученных из условия равенства распределений времени пребывания процесса в состоянии 1 и времени возврата в это состояние для исходного графа (рис. 3.4) и эквивалентного (рис. 3.5в). Разрешая систему уравнений (3.17) относительно неизвестных функций, находим
>
>>
>. (3.18)
Теперь на основе формулы (3.13), учитывая совпадения форм графов, изображенных на рисунке 3.8, а и б, и используя (3.18), находим преобразование Лапласа вероятности пребывания процесса в состоянии 1
>
>, (3.19)
где >
>.
Функция >
>
в данном случае может быть найдена из
условия нормировки >
>.
Расположения изображений >
>
в ряды по степеням >
>
для оценки переходных режимов находим
путем применения в формулах (3.16) и (3.19)
правил операций над рядами по известных
разложениям >
>
>
>
и >
>
>
>.
Дальнейшее обобщение
рассматриваемого класса полумарковских
процессов проведем на случай однородных
блужданий на неограниченном графе
переходов, изображенном на рис. 3.6,
где >
>;
>
>,
т.е. >
>
и >
>
– функция плотности дефектных случайных
величин времени, проведенного процессом
в состоянии >
>
перед переходом соответственно в
состояния >
>
и >
>.
0100090000032a0200000200a20100000000a201000026060f003a03574d46430100000000000100780f0000000001000000180300000000000018030000010000006c0000000000000000000000350000006f0000000000000000000000f8230000c00a000020454d46000001001803000012000000020000000000000000000000000000007f120000771a0000c80000001f010000000000000000000000000000000f030058600400160000000c000000180000000a00000010000000000000000000000009000000100000007f0800008c020000250000000c0000000e000080250000000c0000000e000080120000000c00000001000000520000007001000001000000a4ffffff00000000000000000000000090010000000000cc04400022430061006c006900620072006900000000000000000000000000000000000000000000000000000000000000000000000000000000000000000000000000000000003000b099300010000000149d3000949a3000e450ea65149d30000c9a3000100000007c9b3000f89c30008a4fea65149d30000c9a30002000000080e0fc660c9a3000149d300020000000ffffffffec121502fbe0fc66ffffffffffff0180ffff0180ffff0180ffffffff000000000008000000080000b8f5550501000000000000005802000025000000372e9001cc00020f0502020204030204ff0200e1ffac004009000000000000009f01000000000000430061006c006900620072000000000004000000d49a3000334efe66282edb67349e3000409a3000d532f66620000000010000007c9a30007c9a30000076f46620000000a49a3000ec1215026476000800000000250000000c00000001000000250000000c00000001000000250000000c00000001000000180000000c0000000000000254000000540000000000000000000000350000006f00000001000000e7298740a48e87400000000057000000010000004c0000000400000000000000000000007f0800008a02000050000000200035003600000046000000280000001c0000004744494302000000ffffffffffffffff800800008d020000000000004600000014000000080000004744494303000000250000000c0000000e000080250000000c0000000e0000800e000000140000000000000010000000140000000400000003010800050000000b0200000000050000000c024e000501040000002e0118001c000000fb020200010000000000bc02000000cc0102022253797374656d003f00003f3f3f3f3f3f3f3f3f3f0800000001003f3f3f3f3f00040000002d010000040000002d01000004000000020101001c000000fb02f5ff0000000000009001000000cc0440002243616c6962726900000000000000000000000000000000000000000000000000040000002d010100040000002d010100040000002d010100050000000902000000020d000000320a0a000000010004000000000004014e0020000600040000002d010000040000002d010000030000000000
Рисунок 3.6 – Однородный полумарковский процесс
Здесь блуждания относительно крайнего левого нулевого состояния можно представить с помощью двух эквивалентных графов переходов, изображенных на рис. 3.7.
0100090000032a0200000200a20100000000a201000026060f003a03574d46430100000000000100780f0000000001000000180300000000000018030000010000006c0000000000000000000000350000006f0000000000000000000000f8230000c00a000020454d46000001001803000012000000020000000000000000000000000000007f120000771a0000c80000001f010000000000000000000000000000000f030058600400160000000c000000180000000a00000010000000000000000000000009000000100000007f0800008c020000250000000c0000000e000080250000000c0000000e000080120000000c00000001000000520000007001000001000000a4ffffff00000000000000000000000090010000000000cc04400022430061006c006900620072006900000000000000000000000000000000000000000000000000000000000000000000000000000000000000000000000000000000003000b099300010000000149d3000949a3000e450ea65149d30000c9a3000100000007c9b3000f89c30008a4fea65149d30000c9a30002000000080e0fc660c9a3000149d300020000000ffffffffec121502fbe0fc66ffffffffffff0180ffff0180ffff0180ffffffff000000000008000000080000b8f5550501000000000000005802000025000000372e9001cc00020f0502020204030204ff0200e1ffac004009000000000000009f01000000000000430061006c006900620072000000000004000000d49a3000334efe66282edb67349e3000409a3000d532f66620000000010000007c9a30007c9a30000076f46620000000a49a3000ec1215026476000800000000250000000c00000001000000250000000c00000001000000250000000c00000001000000180000000c0000000000000254000000540000000000000000000000350000006f00000001000000e7298740a48e87400000000057000000010000004c0000000400000000000000000000007f0800008a02000050000000200035003600000046000000280000001c0000004744494302000000ffffffffffffffff800800008d020000000000004600000014000000080000004744494303000000250000000c0000000e000080250000000c0000000e0000800e000000140000000000000010000000140000000400000003010800050000000b0200000000050000000c024e000501040000002e0118001c000000fb020200010000000000bc02000000cc0102022253797374656d003f00003f3f3f3f3f3f3f3f3f3f0800000001003f3f3f3f3f00040000002d010000040000002d01000004000000020101001c000000fb02f5ff0000000000009001000000cc0440002243616c6962726900000000000000000000000000000000000000000000000000040000002d010100040000002d010100040000002d010100050000000902000000020d000000320a0a000000010004000000000004014e0020000600040000002d010000040000002d010000030000000000
Рисунок 3.7 – Эквивалентные графы для исследования блужданий относительно нулевого (а) и первого (б) состояний
Функции >
>
на обоих эквивалентных графах совпадают,
так как представляют собой плотности
распределения момента первого возврата
из множества вершин графов, полученных
из исходного путем отбрасывания
собственно нулевой (рис. 3.7а), а также
нулевой и первой (рис. 3.7б) вершин. Эти
отбрасываемые множества и законы
распределений, определяющие блуждание
на них, совпадут друг с другом, так как
нумерация вершин несущественна. Поэтому
установим соответствие между эквивалентными
графами и, воспользовавшись выражением
(3.15), в которое вместо функции >
>
подставим >
>
получим уравнение относительно
неизвестной функции >
>
>
>.
Учитывая предельное свойство
преобразование Лапласа >
>,
решение этого уравнения получаем в виде
>
>. (3.20)
Из выражения (3.20) следует, что вероятность возврата процесса в исходное нулевое состояние для бесконечного графа, изображенного на рис. 3.6, определяется соотношением
>
>
где >
>
и >
>
– вероятности перехода процесса из
состояния >
>
(>
>
соответственно в состояния >
>
и >
>.
Т.е. соответствуют описанному выше для
системы >
>
процессу гибели и размножения.
Отметим, что среднее число
возвратов процесса в исходное состояние
может быть найдено по формуле >
>.
На основе полученных моделей объединяющих вероятности переходов между состояниями, случайные времена переходов удобно определять по вероятностно – временному графу, который описывает переходы процесса из одного состояния в другое. Такой вероятностно-временной граф для базовой модели управления вызовами на приемной стороне строится на основании соответствующей базовой модели состояний вызова, описанной в предыдущем разделе. Поэтому далее разрабатывается алгоритм функционирования базовой модели управления вызовами на приемной стороне, который определяет последовательность процедур в определенной временной последовательности. Эти процедуры в свою очередь определяют вероятностно-временные характеристиками, для анализа которых и используются вероятностно-временные графы.
4. Разработка алгоритма функционирования базовой модели управления вызовами на приемной стороне
На основании вышеизложенного описания BCSM на приемной стороне и в соответствии с рекомендациями ITU-T Q.1214 разработаем алгоритм ее функционирования BCSM. В качестве инструмента взят программный пакет Cinderella SDL 1.0, позволяющий разрабатывать, анализировать и модифицировать систему описываемые на языке спецификаций и описаний SDL (Specification and Description Language), в сочетании с двумя другими языками спецификаций: ASN1 (Abstract Syntax Notation 1), MSC (Message Sequence Chart).
Основу языка составляет концепция взаимодействия конечных автоматов. При этом динамическое поведение системы описывается с помощью механизмов функционирования расширенных конечных автоматов и связей между ними, называемых процессами. Наборы процессов образуют блоки. Блоки, соединенные друг с другом и со своим окружением каналами, в свою очередь, образуют SDL-систему.
Каждый сигнал подлежит точному определению в спецификации SDL с указанием значений типов данных, которые могут быть переданы данным сигналом.
Процесс описывает поведение некоторого определенного объекта системы в SDL и является наиболее важным объектом в языке. Поведение каждого процесса определяется расширенным конечным автоматом, который выполняет действия и генерирует реакции (сигналы) в ответ на внешние воздействия (сигналы).
Конечный автомат имеет
конечное число внутренних состояний и
оперирует с конечным дискретным
множеством входов и выходов. Под автоматом
с конечным числом состояний понимается
объект, находящийся в одном из дискретных
состояний >
>
на вход которого поступают извне
некоторые сигналы >
>,
а на выходе которого имеется набор
выходных сигналов J1,
J2,…. Jm.
Под влиянием входных сигналов автомат
переходит из одного состояния в другое,
которое может совпадать с предыдущим,
и выдает выходной сигнал.
Сигналы подразделяются на два типа: возобновляющие и порождающие. Возобновляющий сигнал при поступлении на ввод переводит процесс из состояния, предшествующего вводу, в переход. Порождающий сигнал генерирует новый процесс, который переводится в переход. Кроме того, можно выделить поглощающее состояние, при переходе в которое процесс исчезает (поглощается данным состоянием).
Процесс в SDL-спецификации имеет конечное число состояний, в каждом из которых он может принимать ряд отправленных этому процессу допустимых сигналов. Процесс может находиться в одном из состояний или в переходе между состояниями. Если во время перехода поступает сигнал, предназначенный дня данного процесса, то он ставится в очередь к процессу.
Процесс в SDL рассматривается как некий объект, который находится в состоянии ожидания получения входного сигнала либо в переходе. Состояние определяется как условие, в котором действие процесса временно приостановлено в ожидании ввода.
Разработанный алгоритм представлен в приложении Б.
В данном алгоритме реализуются следующие состояния:
1) S7 – свободное состояние. Переход в это состояние происходит под воздействием следующих событий: завершен процесс разъединения и освобождения, связанный с предыдущим вызовом, абонентские линии (АЛ) и соединительные линии (СЛ) системы коммутации свободны.
При этом наблюдаются следующие функции: освобождение линий и каналов; контроль исходного состояния, проверка правомочности входящего вызова.
Выход из этого состояния происходит под воздействием следующих событий: входящий вызов разрешен, отказ входящей связи.
2) S8 – выбор ресурса и оповещение о вызове. Переход в это состояние происходит под воздействием события – прием входящего вызова и разрешение направить его к адресату.
При этом наблюдаются следующие функции: выбор ресурса для обслуживания вызова, извещение о вызове к вызываемому терминальному оборудованию.
Выход из этого состояния происходит под воздействием следующих событий: входящая сторона извещается о вызове, получен ответ вызываемой стороны, вызываемая сторона занята или недоступна, отказ вызывающей стороны от связи.
3) S9 – посылка вызова. Переход в это состояние происходит под воздействием следующего события – входящая сторона извещается о вызове.
При этом наблюдаются следующие функции: оповещение исходящей станции и ожидание ответа вызываемой стороны.
Выход из этого состояния происходит под воздействием следующих событий: ответ вызываемой стороны, отсутствие ответа, отказ вызывающей стороны от связи.
4) S10 – разговор. Переход в это состояние происходит под воздействием события – получен ответ вызываемой стороны.
При этом наблюдаются следующие функции: устанавливается соединение между исходящей и входящей сторонами, проводится наблюдение за состоянием связи.
Выход из этого состояния происходит под воздействием следующих событий: прием от вызванной стороны услуги или компонента услуги, обрыв соединения, разъединение вызванной стороной или исходящей стороной.
5) S11 – освобождение. Переход в это состояние осуществляется при обнаружении одного из условий освобождения: истек тайм-аут, некорректная информация, невозможность выбора ресурса, абонент занят, нет ответа, обрыв соединения.
Здесь выполняются следующие функции: производятся действия по освобождению всех устройств, участвующих в соединении.
Выход из этого состояния происходит под воздействием события: все устройства, участвующие в соединении, перешли в свободное состояние.
В результате анализа контрольных точек (12–18) приведенной модели BCSM на приемной стороне были определены основные информационные сообщения, которые могут передаваться при предоставлении услуг IN между SSF и SCF:
12) маршрут выбран – входящий вызов разрешен;
13) абонент занят – занята входящая сторона;
14) нет ответа – входящая сторона не отвечает;
15) ответ абонента – ответ входящей стороны;
16) запрос услуги или компоненты услуги от вызываемого абонента – вмешательство в фазу разговора входящей стороны;
17) разъединение – разъединение входящей стороны;
18) отбой со стороны вызывающего абонента.
Реализованные в рассмотренном алгоритме базовой модели управления вызовами на приемной стороне состояния определяют последовательность процедур в определенной временной последовательности. Выполнение этих процедур описывается вероятностно-временными характеристиками, которые можно определить с помощью вероятностно-временных графов. Как было отмечено выше, в основе их организации лежит аппарат полумарковских процессов. В следующем разделе производится построение вероятностно-временного графа для базовой модели управления вызовами на приемной стороне и анализ соответствующих вероятностно-временных характеристик.
5. Расчет вероятностно-временных характеристик базовой модели управления вызовами на приемной стороне
Как было отмечено, в основе базовой модели управления вызовами лежит BCSM. BCSM на приемной стороне определяет последовательность процедур в определенной временной последовательности. BCSM можно характеризовать вероятностно-временными характеристиками (ВВХ), для анализа которых используются так называемые вероятностно-временные графы. В них вершины обозначают возникающие состояния, а дуги соответствуют каждому событию, которые характеризуются определенными функциями, связанными с вероятностями появления таких состояний и временем, затрачиваемым на это. Эти функции удобно выбирать таким образом, чтобы при последовательном выполнении операций вероятности умножались и времена складывались, а при параллельном выполнении операций вероятности складывались и времена представляли сумму произведений для тех или иных операций. Таким требованиям удовлетворяет функция вида
>
>, (4.1)
где >
>
– вероятностный вес >
>-й
дуги; >
>
– ее временной вес, который равен
>
>. (4.2)
Эта функция обладает следующими свойствам:
– при последовательном
соединении дуг с весовыми функциями >
>
и >
>
эквивалентная весовая функция >
>
представляет собой произведение этих
весовых функций
>
>, (4.3)
а результирующие ВВХ определяются выражениями
>
>,
(4.4)
>
>;
– при параллельном соединении
дуг с весовыми функциями >
>
и >
>
эквивалентная весовая функция >
>
представляет собой сумму этих весовых
функций
>
>, (4.5)
а результирующие ВВХ определяются выражениями
>
>,
(4.6)
>
>;
– при наличии петель
эквивалентная весовая функция >
>
имеет вид
>
>. (4.7)
Вероятностно-временной
граф составляется на основе описания
алгоритма базовой модели управления
вызовами на передающей стороне на языке
SDL. Имея такой граф и зная
вероятности и временные интервалы в
виде целочисленных отрезков времени
отдельных переходов, можно определить
результирующую производящую функцию
перехода из любого состояния >
>
в любое состояние >
>
через произвольное число промежуточных
состояний.
Для нахождения производящей
функции удобно пользоваться правилом
Мэзона. В соответствии с этим правилом,
если переход из вершины >
>
в вершину >
>
состоит из >
>
путей и >
>
контуров, то результирующая производящая
функция
>
>, (4.8)
где >
>
и >
>
– производящие функции соответственно
для путей и контуров графа, а верхний
индекс «звездочка» (*) означает, что при
умножении производящих функций внутри
скобок любое произведение производящих
функций пути и контура (или контура и
контура) при условии, что они касаются
друг друга в графе, приравнивается к
нулю. При этом под путем от вершины >
>
к вершине >
>
понимается направленная последовательность
дуг, для которой вершина >
>
начальная, а вершина >
>
– конечная, причем каждая вершина между
дугами проходится один раз. Контур –
замкнутый путь, для которого начальная
вершина совпадает с конечной.
Вероятностно-временной граф базовой модели управления вызовами на передающей стороне приведен в приложении В.
В данном графе число путей
>
>,
а количество контуров >
>.
Запишем производящие функции путей и
контуров
>
>;
>
>;
>
>;
>
>;
>
>;
>
>;
>
>;
>
>;
>
>;
>
>;
>
>,
где >
>
– весовая функция непосредственного
перехода из состояния >
>
в состояние >
>.
Подставляя значения производящих функций путей и контуров в формулу (4.8) в результате получим, что производящая функция установления соединения (перехода из исходного состояния S7 в состояние разговора S10) может быть записана следующим образом
>
>
>
>
>
>
>
>
>
>
>
>
>
>
>
>
>
>.
Отсюда среднее время установления соединения
>
>
=1
>
>
>
>
>
>
>
>
>
>
>
>
>
>
>
>
>
>
>
>
>
>
>
>
>
>
>
>
>
>
>
>.
Из анализа видно, что он позволяет в аналитической форме определить время перехода из одного состояния графа в другой. Что же касается вероятностей перехода, то для их определения удобно использовать аппарат полумарковской модели.
Для определения результирующей задержки обслуживания вызова и предоставления интеллектуальной услуги (численных значений параметров) с помощью полученных аналитических зависимостей для вероятностно-временных характеристик, описывающих процессы обслуживания вызовов на приемной стороне, так же как и для передающей стороны, необходимо проводить долговременные и многократные натурные эксперименты. В этом качестве можно использовать анализаторы протоколов сетей передачи данных. Основными функциональными характеристиками анализаторов являются спецификация поддерживаемых протоколов и глубина декодирования сообщений. Обычно анализатор состоит из двух частей: модуля первичной аппаратной обработки информации в реальном времени и модуля вторичной обработки данных посредством программного обеспечения, входящего в состав анализатора персонального компьютера. Вторичная обработка обеспечивает представление информации в наиболее удобной форме, анализ статистики, интеллектуальную обработку данных экспертной системой анализатора и т.д.
Перечень ссылок
1. Stored Program Controlled Network. The Bell System Technical Journal, September 1982.
2. Рекомендации ITU-T серии Q.1200 // ITU-T White Book. – Geneva, 1997.
3. С.В. Крестьянинов, Е.И. Полканов, М.А. Шнепс-Шнеппе Интеллектуальные сети и компьютерная телефония. – М.: Радио и связь, 2001. – 204 с.
4. Б.Я. Лихтциндер, М.А. Кузякин и др. Интеллектуальные сети связи. – М.: Эко-Трендз, 2000. – 207 с.
5. Б.С. Гольдштейн, И.М. Ехриель и др. Интеллектуальные сети. – М.: Радио и связь, 2000. – 500 с.
6. Ю.В. Лазарев, В.Б. Николаев, Н.А. Деханова Некоторые вопросы предоставления услуг интеллектуальной сети связи // Электросвязь, №2, 2001. с. 12–13.
7. Самуйлов К.Е., Филюшин Ю.И. Оценка среднего значения времени установления соединения для услуг интеллектуальной сети связи // Электросвязь, №9, 1996. – С. 14–16.
8. Б.И. Крук, В.Н. Попантонопуло, В.П. Шувалов Телекоммуникационные системы и сети. Том 1 – Современные технологии. – М.: Горячая линия – Телеком, 2004. – 647 с.
9. ITU-T. Recommendation Q.1205 – Intelligent network physical plane architecture, Helsinki, 1993.
10. ITU-T. Recommendation Q.1211 – Introduction to intelligent network capability Set, Helsinki, 1993.
11. А. В Росляков Общеканальная сигнализация №7. – М.: Эко-Трендз, 1999.
12. Ершов В.А, Кузнецов Н.А. Мультисервисные телекоммуникационные сети. – М.: Издательство МГТУ им. Н.Э. Баумана, 2003. – 432 с.
13. ITU-T. Recommendation Q.I 208 General aspects of the intelligent network application protocol, Helsinki, 1993.
14. ITU-T. Recommendation Q.1218 – Interface Recommendations for intelligent network CS 1, Helsinki, 1993.
15. ITU-T. Recommendation Q.1214 – Distributed functional plane for intelligent network CS 1, Helsinki, 1993.
16. В.М. Вишневский Теоретические основы проектирования компьютерных сетей – М.: Техносфера, 2003. – 512 с.
17. Тихонов В.И. Марковские и полумарковские процессы – М.: Радио и связь, 1978. – 487 с.
18. В.А. Кочегаров, Г.А. Фролов Полумарковские системы распределения информации. Марковские и немарковские модели. – М.: Радио и связь, 1991.
19. Закон Украины «Об охране труда».
20. Сибаров Ю.Г. и др. Охрана труда в вычислительных центрах. М.: Машиностроение, 1985–185 с.
21. Долин П.А. Справочник по технике безопасности. –5 е изд., перераб. и доп. М.: Энергоиздат, 1985.-800 с.
22. Правила пожарной безопасности в отрасли связи. НАПБ В.01.053–2000/520.
23. ДНАОП 0.00–1.31–99 Правила охорони праці під час експлуатації електронно-обчислювальних машин.
24. СНиП 2.01.02 – 87. Противопожарные нормы.
25. ДСН 3.3.6.042–99 «Санитарные нормы микроклимата производственных помещений»
26. ПУЭ 85. Правила устройства электроустановок. – М.: Энергоатомиздат, 1986. – 648 с.
27. ДНАОП 0.00–4.12–99 Типове положення про навчання, інструктаж та перевірку знань працівників з питань охорони праці.
28. Гігієнічна класифікація праці за показанням шкідливості та небезпечності факторів виробничого середовища, важкості та напруженості трудового процесу. Приказ МОЗ від 31.12.97 №382.