Дифференцирующие и интегрирующие цепи
Лабораторная работа
«Дифференцирующие и интегрирующие цепи»
Полянчев С., Коротков Р.
Цели работы: ознакомление с принципом действия, основными свойствами и параметрами дифференцирующих и интегрирующих цепей, установление условия дифференцирования и интегрирования, определение постоянной времени.
Теоретическая часть.
В радиоэлектронике и экспериментальной физике возникает необходимость преобразования формы сигналов. Часто это может быть выполнено путём их дифференцирования или интегрирования. Например, при формировании запускающих импульсов для управления работой ряда устройств импульсной техники (дифференцирующие цепи) или при выделении полезного сигнала на фоне шумов (интегрирующие цепи).
Анализ простейших цепей для дифференцирования и интегрирования сигналов
Дифференцирующей называется радиотехническая цепь, с выхода которой может сниматься сигал, пропорциональный производной от входного сигнала U>вых>(t) ~ dU>вх>(t)/dt (1)
Аналогично, для интегрирующей цепи: U>вых>(t) ~ U>вх>(t)dt (2)
Поскольку дифференцирование и интегрирование являются линейными математическими операциями, указанные выше преобразования сигналов могут осуществляться линейными цепями, т.е. схемами, состоящими из постоянных индуктивностей, емкостей и сопротивлений.
Рассмотрим цепь с последовательно соединёнными R, C и L, на вход которой подаётся сигал U>вх>(t) (рис.1).
Выходной сигал в такой цепи можно снимать с любого её элемента. При этом:
U>R>+U>C>+U>L> = Ri(t) + 1/c i(t)dt + L di(t)/dt = U>вх>(t). (3)
Очевидно, что поскольку значения U>R>, U>C> и U>L> определяются параметрами R, C и L, то подбором последних могут быть осуществлены ситуации, когда> >U>R>, U>C> и U>L>> >существенно неодинаковы. Рассмотрим для случая цепи, в которой U>L>> > 0 (RC – цепь).
А) U>C> >> U>R>, тогда из (3) имеем:
i(t) = C dU>вх>(t)/dt (4)
Отсюда следует, что напряжения на сопротивлении пропорционально производной от входного сигнала:
U>R>(t) = RC dU>вх>(t)/dt = >0> dU>вх>(t)/dt. (5)
Таким образом, мы приходим к схеме дифференцирующего четырёхполюсника, показанной на рис.2, в которой выходной сигал снимается с сопротивления R.

Б) U>R> >> U>C>. В этом случае из (3) получаем: i(t) = U>вх>(t)/R (6) и напряжение на емкости равно:
U>C> = 1/RC U>вх>(t)dt = 1/>0> U>вх>(t)dt. (7)
Видно, что для осуществления операции интегрирования необходимо использовать RC-цепочку в соответствии со схемой на рис.3.

Для получения как эффекта дифференцирования, так и интегрирования, сигнал надо снимать с элемента, на котором наименьшее падение напряжения. Величина U>вых>(t) определяется значением постоянной времени >0>, равной RC для RC-цепочки.
Очевидно, что эффекты дифференцирования и интегрирования в общем случае отвечают, соответственно, относительно малым и большим >0>.
Условия дифференцирования и интегрирования
Уточним теперь, как связаны условия А и Б, а также использованные выше понятия «малого» и «большого» >0> с параметрами R, C, L и характеристиками сигнала.
Пусть
входной сигнал U>вх>(t)
обладает спектральной плотностью
,
т.е.

(12)
Тогда при точном дифференцировании для выходного сигнала получим:
,
(13)
откуда
следует, что коэффициент передачи
идеального дифференцирующего
четырёхполюсника (
)
равен:
(14)
Рассмотренная нами дифференцирующая цепь (рис.2) имеет коэффициент передачи:
(15)
Из сравнения (14) и (15) видно, что рассмотренная нами цепь будет тем ближе к идеальной, чем лучше выполняется условие
>0> << 1 (16)
Причём, для всех частот в спектре входного сигнала. Для упрощения оценки в неравенство (16) обычно подставляют максимальную частоту в спектре входного сигнала >m>>0> << 1.
Итак, чтобы продифференцировать некоторый сигнал, необходимо найти его спектральный состав и собрать RC-цепь с постоянной времени >0> << >m>-1, где >m> – максимальная частота в спектре входного сигнала.
Отметим, что для импульсных сигналов верхнюю границу полосы частот можно оценить по формуле (2) >m> = 2/t>u>, где t>u> – длительность импульса. Т.о., в этом случае условие дифференцирования запишется в виде
>0> << t>u> (17)
Совершенно аналогично можно показать, что для удовлетворительного интегрирования требуется выполнение условия
>0> >> 1 (18)
также для всех частот спектра входного сигнала, в том числе и для самой нижней. Аналогично для интегрирования импульсов длительностью t>u> условие интегрирования запишется в виде
>0> << t>u> (19)
Из неравенств (16), (18) следует, что при заданной цепи дифференцирование осуществляется тем точнее, чем ниже частоты, на которых концентрируется энергия входного сигнала, а интегрирование – чем выше эти частоты. Чем точнее дифференцирование или интегрирование, тем меньше величина выходного сигнала.
Прохождение прямоугольных импульсов через RC-цепи
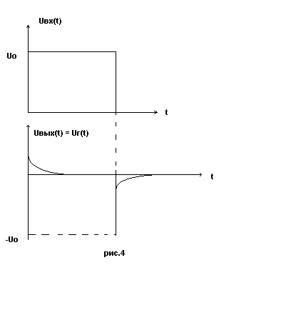
В качестве примера, иллюстрирующего дифференцирование и интегрирование сигналов, рассмотрим отклик RC-цепей, показанных на рис.2 и 3, на прямоугольный импульс. Возьмём цепь, на выходе которой стоит сопротивление (рис.2), найдём осциллограмму выходного напряжения, т.е. вид U>R>(t). Пусть в момент времени t = 0 на входе возникает скачок напряжения U>0> (рис.4).

В этом случае для 0 < t < t>u> можно записать уравнение цепи в виде:
U>0> = 1/C i(t)dt + U>R>(t). (17)
После дифференцирования получим
dU>R>/dt + U>R>/>0> = 0. (18)
Поскольку ёмкость С не может зарядиться мгновенно, то для t = 0, U>R> = U>0> всё входное напряжение оказывается приложенным к сопротивлению. С учётом этого начального условия решение уравнения (18) запишется в виде:
.
(19)
Экспоненциальный спад выходного напряжения описывает процесс зарядки ёмкости через сопротивление R и соответствующее перераспределение напряжения между R и C. При этом постоянная времени >0> характеризует скорость зарядки ёмкости и может быть интерпретирована как время, за которое напряжение U>R> уменьшится в е раз.
Для >0> << t>u> экспоненциальная зависимость становится резче, в результате на выходе наблюдаем короткие импульсы в момент начала и окончания входного воздействия, являющиеся удовлетворительной аппроксимацией производной от входного сигнала (рис.4).
Если выходное напряжение снимается с конденсатора, то для 0 < t < t>u> получим:
(21)
и для t >= t>u>
.
(22)

Если цепь является интегрирующей, то выполняется неравенство >0> >> t>u>, что позволяет использовать разложение экспоненты в ряд Тейлора.
В результате для выходного напряжения при 0 < t < t>u> получим:
.
(24)
Т.о., выходной сигнал в первом приближении действительно пропорционален интегралу от входного (рис.5).
Практическая часть.
Задание 1: Получить амплитудно-частотную и фазово-частотную характеристики RC-цепочки. Построить графики.
С = 0,05 мкФ; R = 1,5 кОм
Таблица для графиков:
|
f,Гц*103 |
0,9 |
1,5 |
2 |
3 |
4 |
5 |
6 |
7 |
9 |
11 |
13 |
16 |
20 |
K |
0,85 |
0,75 |
0,69 |
0,54 |
0,47 |
0,42 |
0,31 |
0,28 |
0,22 |
0,19 |
0,16 |
0,13 |
0,08 |
|
,o |
13,4 |
18,1 |
22,0 |
30,0 |
41,8 |
48,6 |
55,5 |
56,4 |
57,8 |
59,0 |
60,1 |
61,6 |
62,8 |
График К(f):

График (f):
С = 0,1 мкФ; R = 470 Ом
Таблица для графиков:
|
f,Гц*103 |
0,2 |
0,5 |
0,9 |
1,4 |
2 |
3 |
4 |
5 |
6 |
7 |
9 |
11 |
13 |
16 |
20 |
|
К |
0,98 |
0,97 |
0,95 |
0,87 |
0,81 |
0,70 |
0,60 |
0,50 |
0,44 |
0,39 |
0,35 |
0,26 |
0,22 |
0,13 |
0,09 |
|
,o |
4,3 |
9,22 |
12,9 |
17,1 |
21,9 |
29,2 |
39,9 |
47,3 |
56,2 |
58,4 |
60,4 |
63,7 |
66,9 |
69,3 |
72,5 |
График К(f):

График (f):

Видно, что графики для К(f) в обоих случаях совпали с теоретическим. Для графиков (f) наблюдается небольшое различие с теорией, т.к. не удалось достигнуть сдвига фаз /2.
Задание 2: Провести измерение переходной характеристики RC-цепочки при двух способах её включения, сравнить с теорией.
Были проведены измерения откликов интегрирующей и дифференцирующей цепей на прямоугольный импульс при двух значениях постоянной времени (см. осциллограммы на миллиметровой бумаге). Вид осциллограмм U>C>(t) и U>R>(t) совпадает с рассчитанным в теоретической части отчёта (см. рис. 4,5).
Задание 3: Определить >0>.
Определим величину >0> по наклону касательной к осциллограмме в точке t = 0 (см. прилагаемый рисунок). Тогда значение, отсечённое касательной на оси абсцисс, и будет соответствовать >0>. Видно, что >0> = 0,8*50*10-6 с = 40 мкс.
Вывод: в данной работе мы изучили дифференцирующие и интегрирующие электрические цепи. Были поучены АЧХ и ФЧХ для RC-цепочки, установлены условия дифференцирования и интегрирования. Также был исследован отклик четырёхполюсников на прямоугольный импульс, измерены их переходные характеристики и экспериментально определена величина >0>.
Литература
1. В.Н.Ушаков. ”Основы радиоэлектроники и радиотехнические устройства”. М., «Высшая школа», 1976.
2. Е.И. Манаев. “Основы радиоэлектроники”. М., «Радио и связь», 1985.