Испытания РЭСИ на воздействие пониженного, повышенного атмосферного давления, на пылеустойчивость и пылезащищенность
Министерство образования Республики Беларусь
Белорусский государственный университет информатики и
радиоэлектроники
кафедра РЭС
РЕФЕРАТ
на тему:
«Испытания РЭСИ на воздействие пониженного, повышенного атмосферного давления, на пылеустойчивость и пылезащищенность»
МИНСК, 2008
Испытания на воздействие пониженного и повышенного атмосферного давления
Особые условия эксплуатации различных радиоэлектронных изделий на летательных аппаратах и в высокогорных районах приводят к необходимости их испытаний на высотность, т. е. при пониженном атмосферном давлении. Взаимосвязь изменения давления и температуры с высотой вызывает необходимость рассмотрения испытаний на высотность при нормальной, пониженной и повышенной температурах. На основании закона Шарля можно установить зависимость испытательного давления от температуры:

или
(1)
где р>о> — давление данной массы газа в определенном объеме при температуре 0°С;
t — температура, при которой находится газ.
Поэтому при испытании изделий в рабочем состоянии на высотность при повышенной температуре окружающего воздуха необходимо устанавливать давление воздуха в камере с учетом поправки на рабочую температуру изделия (табл. 1).
Таблица 1 - Давление воздуха в камере с учетом поправки на рабочую температуру изделия
|
Рабочее давление мм рт.ст |
Испытательное давление (мм pm. cm.) при температуре, °С |
||||||
|
70 |
85 |
100 |
125 |
155 |
200 |
250 |
|
|
400 |
342 |
327 |
314 |
294 |
272 |
248 |
224 |
|
64 |
54 |
52 |
50 |
47 |
44 |
40 |
36 |
|
33 |
28 |
27 |
26 |
24 |
23 |
20 |
18 |
|
15 |
13 |
12 |
12 |
И |
10 |
9 |
8 |
|
5 |
3 |
3 |
3 |
3 |
3 |
3 |
3 |
Испытания на высотность при повышенной температуре, с одной стороны, облегчают получение рабочего давления, а с другой - способствуют ужесточению условий испытаний за счет увеличения возможности пробоя и ухудшения условий воздушного охлаждения изделий. Принято данному виду испытаний подвергать изделия, находящиеся в рабочем состоянии или под электрической нагрузкой. Режимы и характер нагрузки изделий оговариваются в ТУ, ПИ или методике.
Часто температуру и время выдержки устанавливают аналогичными режиму испытаний на теплоустойчивость при кратковременном воздействии, а давление — в соответствии со степенью жесткости (табл. 2), зависящей от предполагаемой максимальной высоты, на которой может эксплуатироваться изделие (рисунок 2).
Таблица 2 - Атмосферное давление в зависимости от степени жесткости
|
Степень жесткости |
II |
III |
IV |
V |
VI |
VII |
VIII |
|
Атмосферное мбар давление мм рт ст |
20 15±1 |
44 33±2 |
85 64±3 |
300 255± 5 |
533 400±5 |
600 450±5 |
700 525±5 |
|
Высота над уровнем моря |
26000 |
20000 |
16000 |
8500 |
4300 |
3500 |
2200 |

Высота над земной поверхностью, км
Рисунок 1 - Атмосферное давление на разных высотах
Однако в реальных условиях эксплуатации изделий на больших высотах уменьшению атмосферного давления сопутствует понижение температуры. Поэтому необходимо предусмотреть возможность проведения и таких комбинированных испытаний.
Давление при испытаниях на высотность принято измерять в следующих единицах: 1 мм рт. ст.= 133,332 н/м ; 1 кн/м =7,5 мм рт. ст. 1 мбар= 102кн/м2; 1мбар = = 10-1 кн/м2=0,75мм рт. ст.
В процессе испытаний изделия в соответствии с требованиями ТУ и ПИ могут проверяться при максимальном напряжении питания и находиться во включенном состоянии в течение заданного времени (~30 мин). Во время проверки не должно наблюдаться коронирования на поверхности деталей, перекрытия между токоведущими элементами и нарушения коммутации электрических цепей. Иногда для контроля за режимами изделий, работающих в тяжелых тепловых условиях, непосредственно на них устанавливают специальные датчики температуры.
Возможны случаи, когда возникает необходимость испытаний с целью проверки устойчивости параметров изделий или установления их работоспособности в условиях повышенного атмосферного давления.
После внешнего осмотра и контроля основных параметров в нормальных условиях изделия помещают в барокамеру или автоклав, позволяющий установить давление воздуха до 3 ат и поддерживать его с погрешностью, не превышающей 0,2 ат. Время выдержки оговаривается в ТУ, ПИ или методике. По окончании выдержки непосредственно в камере измеряются оговоренные параметры изделий. После окончания испытаний на воздействие атмосферного давления необходимо с помощью специального вентиля впустить в камеру воздух или выпустить его из нее, и только после уравнения внешнего давления с давлением внутри камеры открывать дверь.
При внешнем осмотре изделий после испытаний следует обращать внимание на обнаружение трещин в изоляционных материалах, на сохранение герметичности различных радиоэлементов, а также на состояние контактов реле, переключателей и т. д.
Испытательное и контрольно-измерительное оборудование
Испытание на воздействие атмосферного давления при нормальной температуре производятся в барокамерах, давление в рабочем пространстве которых снижается с помощью вакуумных насосов.
В зависимости от вида испытаний применяются различные типы камер. Для испытаний на воздействие изменений атмосферного давления при нормальной температуре применяют барокамеры типа КБ (рисунок 2), имеющие различный полезный объем (м3), обозначаемый числом, стоящим вслед за шифром камеры (КБ-0,07).
В комплект установки входят: камера, вакуумный насос ВН-461м с электродвигателем и магнитным пускателем, а также ртутный дифференциальный манометр ДТ-50.
Камера представляет собой герметизированный алюминиевый шкаф, застекленная дверь которого позволяет наблюдать за работой испытываемых изделий. Герметичность камеры обеспечивается тем, что дверь плотно крепится в камере откидными болтами. На боковой стенке камеры расположена специальная колодка, предназначенная для подключения источников питающих напряжений, испытательных сигналов и измерительной аппаратуры.

Р
исунок
2 - Барокамера с дифференциальным
манометром:
1 —камера; 2 —насос; 3 — дифференциальный манометр; 4 — соединительный штуцер; 5 — вентиль контроля давления; 6 — вентиль регулировки давления.
На передней стенке камеры расположены органы управления камеры: вентиль впуска воздуха в камеру, кнопки управления электродвигателем насоса и освещением камеры. Поворотом вентиля 5 влево соединяют систему камера-манометр-насос, а поворотом вентиля вправо перекрывают эту систему.

Рисунок 3 - Общий вид камеры КНТ-2М
Впуск атмосферного воздуха в камеру достигается поворотом влево вентиля 6 «Натекатель»; скорости понижения и повышения давления регулируются степенью открытия вентилей. Измерение давления внутри камеры производится дифференциальным манометром ДТ-50, подсоединяемым к штуцеру на боковой стенке. Дифференциальный манометр измеряет разность между давлением в камере и наружным давлением.
Для проведения испытаний на высотность с одновременным воздействием повышенной или пониженной температуры необходимы комбинированные термобарокамеры или термовлагокамеры, которые соответственно рекомендуется называть КТХБ и КТХВБ.
Отечественной промышленностью используется камера низких давлений и низких температур КНТ-2М (рисунок 3), предназначенная для испытания изделий в условиях холода и пониженного атмосферного давления.
Основные параметры испытательного режима следующие: температура — от +25 ±10° С до —60° С; время снижения температуры от 25±10°С до —60°С составляет 2,5 ч; остаточное давление — до 5 мм рт. ст.
Камера позволяет подводить к испытываемым изделиям от внешних источников испытательные напряжения до 3 000 в постоянного тока или до 2000 в переменного тока при давлении 720—780 мм рт. ст., а при разряжении с остаточным давлением 5 мм рт. ст. до 1000 в постоянного и 700 в переменного токов. Низкая температура в камере получается косвенным методом охлаждения с помощью сжатия постоянно циркулирующего в замкнутой системе газа фреона. Пониженное атмосферное давление достигается форвакуумным насосом типа ВН-461.
Измерение давления в установках для испытаний на воздействие атмосферного давления может производиться манометрами различных типов, обеспечивающих заданные пределы измерений и точность отсчета. Поскольку под степенью разряжения (вакуумом) понимается состояние газа, давление которого ниже атмосферного, то непосредственное измерение заключается в измерении разности барометрического давления и давления разреженного газа.
Приборы, измеряющие разность давлений, называют вакуумметрами. Сложность непосредственного метода измерений привела к тому, что широкое распространение получил косвенный метод измерения вакуума по давлению разреженного газа.
Для измерения давлений в интервале порядка 103 — 10-3 мм рт. ст. широкое распространение получили деформационные U-образные (жидкостные) манометры, а для интервала порядка 102 — 10-4: компрессионные, тепловые и радиоактивные манометры.
Испытания на пылеустойчивость и пылезащищенность
В зависимости от условий эксплуатации и назначения изделий необходимо предусматривать одно из двух видов испытаний на воздействие пыли.
Если изделие предназначено для работы в среде с повышенной концентрацией пыли, его подвергают испытанию на пылезащищенность, целью которого является выявление способности изделия не допускать попадания пыли внутрь корпуса (кожуха). Если изделие специально не защищено от проникновения пыли, но вынуждено работать в среде с повышенной концентрацией, то с целью установления способности материалов и покрытий противостоять разрушающему (абразивному) действию пыли его испытывают на пылеустойчивость.
Процесс проведения испытаний
После внешнего осмотра и измерений параметров, предусмотренных в ТУ и ПИ, изделие помещают в камеру и размещают там таким образом, чтобы воздействие пыли максимально соответствовало эксплуатационным условиям. В случае испытаний РЭА, состоящей из отдельных блоков, имеющих централизованную приточно-вытяжную вентиляцию с едиными воздухоочистительными фильтрами, необходимо устанавливать ее в камеру в полном комплекте.
Испытания производятся обдуванием изделий пылевой смесью определенного состава. При испытании на пылеустойчивость применяется просушенная пылевая смесь, содержащая 60—70% песка, 15—20% мела и 15— 20% каолина. Величина частиц пылевой смеси должна быть не более 50 мкм. Перед засыпкой пылевой смеси в камеру ее просеивают через специальное сито, имеющее сетку с определенным диаметром и числом отверстий на единицу площади. Остаток частиц, не просеиваемых через сито не должен превышать 3%. Количество пылевой смеси рекомендуется брать примерно 0,1% от полезного объема камеры. Скорость циркуляции воздушно-пылевого потока, обдувающего изделия в камере, составляет 0,5—1 м/сек. При этом частицы пыли диаметром 50 мк должны находиться во взвешенном состоянии.
В ТУ и ПИ оговаривается необходимость испытания изделий во включенном состоянии, режим их работы и продолжительность обдува. Иногда обдув осуществляют в течение 2 ч с последующей выдержкой для оседания пыли в течение 1 ч.
При испытании на пылезащищенность в состав пылевой смеси вводят флуоресцирующий порошок (сульфид цинка), позволяющий выявить проникновение пыли внутрь испытываемого изделия. Рекомендуется следующий состав: песок 60%, мел 15%, каолин 15%, флуоресцирующий порошок 10%. Размер частиц пылевой смеси должен быть не более 200 мкм, а размер частиц флуоресцирующего порошка не более 50 мкм. Порошок должен просеиваться через соответствующие сетки, причем остаток частиц смеси не должен превышать 30%. Возможная продолжительность обдува со скоростью воздушно-пылевого потока 10—15 м/сек составляет 1 ч.
Рассматриваемые методы испытаний должны производиться при температуре, не превышающей рабочую. Поскольку увеличение температуры может происходить за счет разогрева двигателя вентилятора, то допускается его временное выключение, но с условием, чтобы время воздействия пыли сохранялось.
По окончании заданной продолжительности воздействия пыли производят измерения параметров изделия в соответствии с требованиями ПИ или ТУ. В зависимости от технических возможностей камеры и изделий измерения производят до или после извлечения из камеры. После извлечения изделий из камеры и удаления пыли с поверхности их тщательно осматривают, обращая особое внимание на состояние покрытий внешних поверхностей, работу органов управления и коммутации.
При испытании на пылезащищенность изделия переносят в затемненное помещение, где осторожно вскрывают и выявляют степень проникновения пыли, облучая изделие ультрафиолетовым светом. Наличие в составе пылевой смеси флуоресцирующего порошка позволяет выявить проникновение пыли в изделие по его характерному виду свечения в ультрафиолетовом свете. Известно, что различные материалы, облучаемые ультрафиолетовым светом, обладают характерными оттенками свечения. Приведем некоторые примеры свечения: мел химический — светло-синее; мел молотый — светло-коричневое; окись цинка — желто-зеленое; нефтяные масла - фиолетовые, голубые, синие и зеленые оттенки цветов; бумага из чистой целлюлозы — светло-желтое; хлопчатобумажное волокно не светится и т. д.
О результатах испытаний судят по степени удовлетворения изделиями требований ПИ и ТУ.
Испытательное и контрольно-измерительное оборудование
Для проведения испытаний на воздействие пыли используют камеры (КП), которые могут быть предназначены для испытаний на пылезащищенность (КПЗ) или на пыле устойчивость (КПУ) или могут быть комбинированными (КП-ЗУ). Следующее за указанным обозначением камеры число указывает полезный объем камеры.
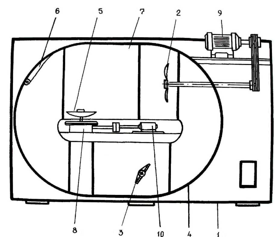
Камера КП-ЗУ-0,5 (рисунок 4) представляет собой прямоугольный каркас 1 из угловой стали, обшитый листовой сталью толщиной 1,5 мм. Внутри камеры помещается замкнутый воздухопровод прямоугольного сечения, составленный из сварных секций, соединенных между собой болтами. Для предотвращения проникновения пыли из воздухопровода и распространения шума от работающего вентилятора между фланцами секций помещены резиновые прокладки.

Рисунок 4 - Схема установки для испытания на пылезащищенность:
1 — каркас установки; 2 — вентилятор осевой; 3 — шибер (заслонка) с рукояткой для изменения скорости воздушного потока; 4 — воздухопровод; 5 — стол для испытываемых изделий; 6 —направляющий щит с рукояткой для частичного изменения направления потока воздуха; 7 — испытательная камера; 8 — редуктор; 9 — электродвигатель; 10 — электродвигатель стола; 11 — магнитные пускатели.
Собственно испытательной камерой является средняя верхняя секция трубопровода 7, соединенная правым фланцем с патрубком из плотной ткани с секцией вентилятора. Вращение осевого вентилятора со скоростью 1450 об/мин осуществляется электродвигателем 9 АОЛ2-41-4 мощностью 4 квт, связанным с ним через клиноременную передачу. Электродвигатель закреплен на амортизирующих прокладках для уменьшения шума и вибрации. Левым фланцем испытательная камера соединяется с секцией, в которой находится направляющий щит 6, предназначенный для создания равномерного воздушного потока. В нижней части воздухопровода вмонтирована секция с расположенным в ней шибером (заслонкой) 3 для регулирования скорости воздушного потока. Регулирование равномерности и скорости воздушного потока производится рукоятками направляющего щита и шибера, выведенными на переднюю стенку камеры и фиксируемыми в определенном положении. Для установки испытываемых изделий и равномерного их обдува со всех сторон в нижней части испытательной камеры расположен вращающийся в горизонтальной плоскости стол 5, закрепленный на вертикальном валу редуктора и делающий 9 об/мин. Редуктор установлен под испытательной камерой и соединен эластичной муфтой с электродвигателем 10. На передней стенке камеры имеется дверной проем, закрываемый дверью со смотровым окном и резиновым уплотнением. Под дверью помещается щит управления с размещенными на нем выключателями сети и подогрева, переключателем освещения камеры, кнопок пуска и остановки электродвигателей. Магнитные пускатели 11 электродвигателей размещаются внутри установки. В потолке камеры установлена электролампа, защищенная от воздействия пыли стеклом. На задней стенке камеры помещается панель с размещенным на ней штепсельным разъемом питания. В нижней секции воздухопровода предусмотрено место для электроподогревателя, который в комплект установки не входит.
Заданная концентрация пыли в камере достигается вводом в камеру определенного количества пылевой смеси и циркуляции воздуха. После установки испытываемого изделия пылевая смесь насыпается в количестве 0,5 л на плоскость стола, дверь камеры плотно закрывается и запускается вентилятор. Камера КП-ЗУ-0,5 характеризуется следующими техническими данными: скорость воздушного потока в камере регулируется в пределах от 1 м/сек до 15,8 м/сек; температура в камере-от +20±5 до 50°С; максимальный вес испытываемого изделия 50 кг; максимальные габариты испытываемого изделия 500X500X500 мм. В комплект установок с камерами большего полезного объема, помимо собственно камеры, входит стойка управления и электроталь для установки крупногабаритных и тяжелых изделий на стол. Со стойки управления производится управление электродвигателем вентилятора (пуск, останов, изменение скоростей, реверс); переход с ручного на автоматическое управление температурным режимом камеры; управление открыванием и закрыванием двери с помощью электродвигателя и т. д.
Поддержание постоянной температуры при испытании на пыле устойчивость достигается включением электроподогрева в случае понижения температуры и охлаждения с помощью проточной воды, проходящей по специальным панелям, в случае повышения температуры выше установленного значения. Обеспечение постоянства температурного режима может осуществляться ручным и автоматическим регулированием. Для удобства установки испытываемых изделий стол выдвигается из камеры. Внутри камеры расположены датчики температуры и скорости воздушно-пылевого потока. В камере имеется специальный дозатор для введения пылевой смеси. Контроль постоянства концентрации пыли в одном кубическом метре объема камеры достигается путем ее определения через заданные промежутки времени с помощью измерителя концентрации. Оценка степени концентрации пыли производится путем определения ее весового количества, осевшего в измерителе за заданное время.
ЛИТЕРАТУРА
Глудкин О.П. Методы и устройства испытания РЭС и ЭВС. – М.: Высш. школа., 2001 – 335 с 2001
Испытания радиоэлектронной, электронно-вычислительной аппаратуры и испытательное оборудование/ под ред. А.И.Коробова М.: Радио и связь, 2002 – 272 с. 2002
Млицкий В.Д., Беглария В.Х., Дубицкий Л.Г. Испытание аппаратуры и средства измерений на воздействие внешних факторов. М.: Машиностроение, 2003 – 567 с 2003
Национальная система сертификации Республики Беларусь. Мн.: Госстандарт, 2007
Федоров В., Сергеев Н., Кондрашин А. Контроль и испытания в проектировании и производстве радиоэлектронных средств – Техносфера, 2005. – 504с. 2005