Испытания РЭСИ на воздействие солнечной радиации, соляного тумана, повышенного гидростатического давления, водонепроницаемость, брызгозащищенность и каплезащищенность
Министерство образования Республики Беларусь
Белорусский государственный университет информатики и
радиоэлектроники
кафедра РЭС
РЕФЕРАТ
на тему:
«Испытания РЭСИ на воздействие солнечной радиации, соляного тумана, повышенного гидростатического давления, водонепроницаемость, брызгозащищенность и каплезащищенность»
МИНСК, 2008
Испытания на воздействие солнечной радиации
Проведение испытаний на воздействие солнечной радиации в совокупности с другими климатическими факторами имеет целью выявить возможные нарушения покрытий кожухов и крышек приборов, состояние маркировки и шкал, старение проводов и кабелей, а также различные другие дефекты.
Процесс проведения испытаний: после внешнего осмотра и измерения параметров в соответствии с требованиями ТУ, ПИ и методики изделия помещают в специальную камеру, в которой их облучают светом определенного состава и интенсивности, близкими к солнечному свету.
Для лучшего обнаружения возможных нарушений внешнего вида изделий целесообразно пользоваться сравнением испытываемого изделия с эталонным. В качестве «эталона» может быть взято одно из изделий, предназначенное для испытаний. Иногда с целью обнаружения изменений внешнего вида изделий осуществляют их периодическое фотографирование.
Изделия в камере должны быть расположены таким образом, чтобы облучение происходило под углами, соответствующими реальным условиям эксплуатации.
В зависимости от назначения и условий эксплуатации изделия могут испытываться в сухом и жарком или влажном и теплом климатах, подвергаясь непрерывному или циклическому воздействию внешних факторов. При обоих видах испытаний изделия должны подвергаться облучению источниками солнечной радиации, излучающими волны в диапазоне от 2900 до 40000 А, с интегральной интенсивностью 1,8 мкал/см2∙мин при температуре в камере (в тени) +60 ±2° С. При испытаниях в сухом и жарком климате изделия помещают в камеру и выдерживают в указанных выше условиях в течение времени, установленном в ТУ, ПИ или методике.
Приближенно продолжительность облучения может определяться как частное от деления срока службы на «коэффициент ускорения», зависящий от климатического пояса.
Для тропического пояса этот коэффициент берут равным 12, а для умеренного — 8. Испытания во влажном и теплом климате проводят по следующему циклу: поместив изделие в камеру, его выдерживают в ней при температуре +60°±2 °С в течение 24 ч, после чего его подвергают воздействию влажности при температуре +40 ±2° С и относительной влажности 95—98% в течение 48 ч. Если указанный режим не может быть осуществлен без изъятия изделия из камеры, то перенос его из одной камеры в другую должен осуществляться за время не более 30 мин.
Изделия, работающие в условиях, исключающих непосредственное воздействие солнечной радиации (в крытых помещениях, в транспортных средствах и т. д.), подвергают при непрерывном испытании облучению продолжительностью трое суток, а при циклическом испытании воздействию трех циклов.
Изделия, работающие на открытом воздухе, на которые воздействуют все атмосферные факторы, подвергают испытаниям при непрерывном облучении продолжительностью 5 суток, а при циклическом испытании воздействию пяти циклов. Во время последнего цикла изделия подвергают только облучению без последующей выдержки во влажной среде. Иногда испытания на длительное воздействие солнечной радиации при случайном действии всех внешних климатических факторов выполняют путем помещения испытываемых изделий на открытый воздух.
Испытательное и контрольно-измерительное оборудование
Различают два вида камер, предназначенных для испытаний на действие солнечной радиации. Одни камеры бывают предназначены только для имитации сухого жаркого климата, а другие позволяют осуществлять любые из рассмотренных испытаний.
Основным элементом камер являются источники света, в качестве которых применяются ртутно-кварцевые лампы с вольфрамовой нитью накала типа НГ инфракрасного излучения и лампы типа ПРК ультрафиолетового излучения. Ультрафиолетовое излучение может быть также получено с помощью газоразрядных ламп, в которых возникает электрический разряд в атмосфере паров ртути, находящихся при различных давлениях. Существуют ртутные лампы низкого давления (от 0,01 до 1 мм рт. ст.), среднего давления (от 1 до 3ат) и высокого давления (несколько десятков атмосфер). Колбы таких ламп изготовляются из специального (чаще всего кварцевого) стекла, пропускающего ультрафиолетовые лучи. Лампы снабжаются регулирующими, защитными и зажигающими разряд устройствами. Иногда лучи от ламп пропускают через специальные светофильтры (стеклянные или пластмассовые), поглощающие видимые лучи.
При установке ламп инфракрасного и ультрафиолетового излучения в камере необходимо обеспечивать получение заданной температуры в месте расположения испытываемого изделия. Следует иметь в виду, что коротковолновые и средневолновые ультрафиолетовые лучи оказывают вредное влияние на организм человека. Во избежание ожогов глаз недопустимо смотреть на горящую ртутную лампу без применения защитных очков.

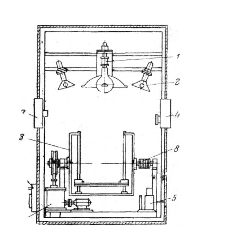
Рисунок 1 - Схема камеры для испытания на воздействие солнечной радиации
1 — излучатель инфракрасных лучей; 2 — излучатель ультрафиолетовых лучей; 3 — стол для испытуемых изделий; 4 — щит коммутации с блокировкой; 5 — блок электрического питания; 5 — щит питания; 7 — щит управления и сигнализации; 8 — коллектор; 9 — привод стола.
С целью исключения влияния озона и окисла азота, образующихся в результате ионизации воздуха при работе газоразрядных ламп, необходимо проветривать помещение. Равномерная интенсивность облучения испытываемых изделий достигается наличием у источников света параболических зеркальных отражателей и фокусирующих устройств.
В схеме камеры первого вида (рисунок 1) иногда предусматривают вращение испытываемого изделия со скоростью 1 об/сутки с целью имитации суточной смены солнечной радиации. Камера позволяет производить испытания изделий в рабочем состоянии, для чего имеется специальный коллектор, обеспечивающий подведение питающих напряжений и испытательных сигналов, а также позволяющий измерить или визуально наблюдать выходные сигналы.
Для наблюдения за изделием в камере имеется смотровое окно, снабженное светофильтром, не пропускающим ультрафиолетовое излучение. Внутренние стенки и детали камер должны изготовляться из материалов, стойких против действия ультрафиолетовых и инфракрасных лучей. Необходимая температура в камере может обеспечиваться электрообогревателями.
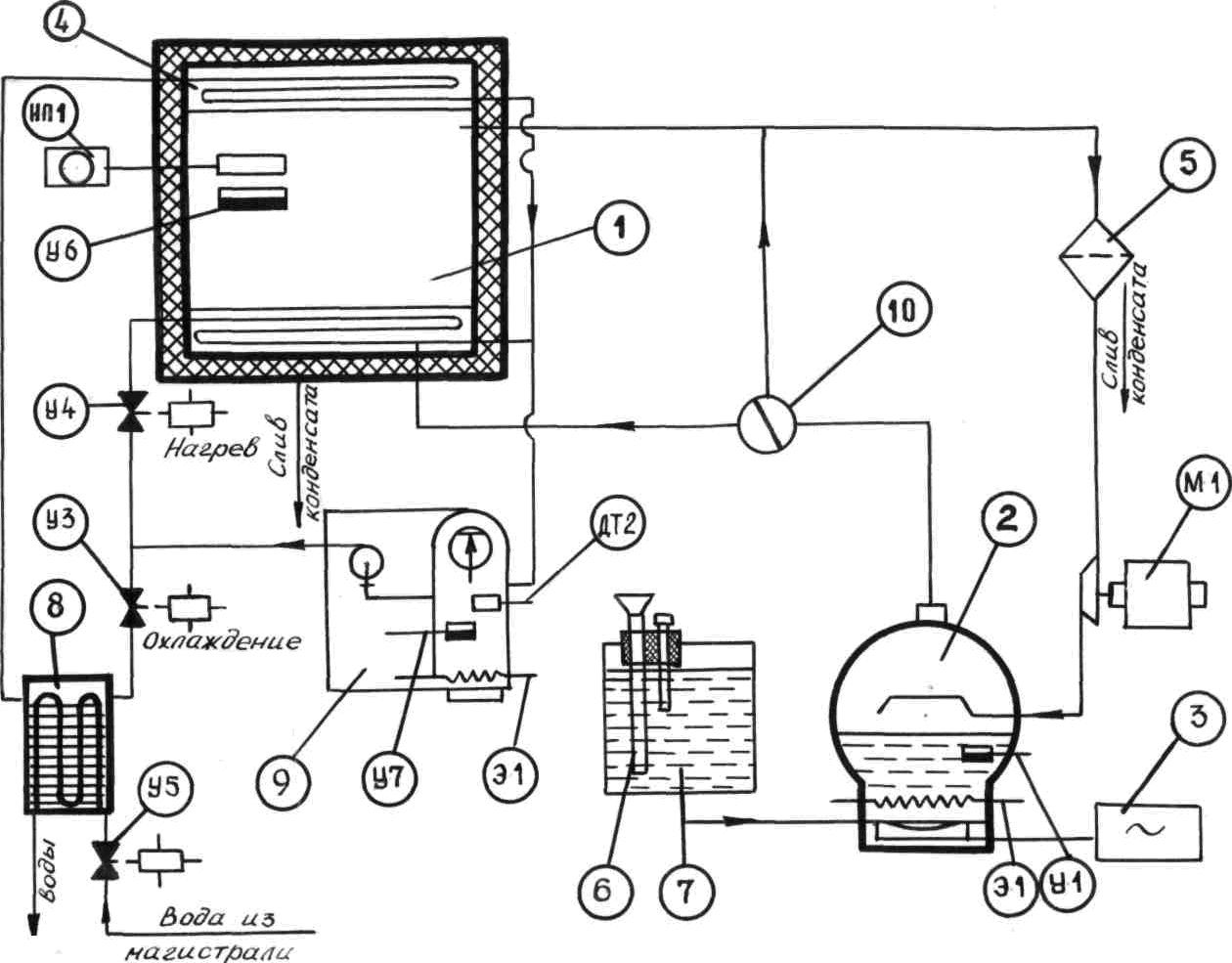
Примером камер второго вида является «Камера тропического климата» фирмы Карл Вейсс (рисунок 2). Данная камера обеспечивает получение температур от —10 до +80 °С, относительной влажности от 10 до 98%, затуманивания, а также ультрафиолетового и инфракрасного облучения. В камере имеется программное управление, позволяющее имитировать влажно-теплый климат и сухой жаркий климат.

Рисунок 2 - Камера тропического климата
Испытания на воздействие соляного тумана
Испытание проводят с целью определения коррозионной стойкости изделий в атмосфере, насыщенной водными растворами солей. Изделия помещают в камеру и располагают так, чтобы в процессе испытания брызги раствора из пульверизатора или аэрозольного аппарата, а также капли с потолка, стен и системы подвесов не попадали на изделия.
Туман образуют распылением соляного раствора центробежным аэрозольным аппаратом, пульверизатором или иным способом. Испытание проводят в течение 2, 7 или 10 суток. Конкретное время испытания устанавливают в стандартах и ПИ.

Рис. 3 Камера соляного тумана
Испытания на воздействие повышенного гидростатического давления
Испытание проводят с целью определения способности изделий сохранять свои параметры в процессе пребывания под водой. Изделия помещают в бак, в котором создают гидростатическое давление, соответствующее величине, на 50% большей предельной глубины погружения, установленной в ТЗ или стандартах. Длительность испытания 24 часа, после производят проверку параметров. Изделия считают выдержавшими испытание, если в процессе и после испытания они удовлетворяют требованиям, установленным в стандартах и ПИ для данного вида испытаний.
Испытания на водонепроницаемость, брызгозащищенность и каплезащищенность
Испытание на водонепроницаемость проводят с целью проверки сохранения параметров изделий после их пребывания в воде. Испытание проводят путем погружения изделий в выключенном состоянии в ванну с водой заданной температуры на заданное время и на заданную глубину.
Испытание на брызгозащищенность проводят с целью проверки устойчивости параметров изделий в условиях и (или) после воздействия дождя.
Испытание на каплезащищенность проводят с целью проверки способности оболочек (кожухов) изделий не пропускать воды при воздействии капель.
ЛИТЕРАТУРА
Глудкин О.П. Методы и устройства испытания РЭС и ЭВС. – М.: Высш. школа., 2001 – 335 с 2001
Испытания радиоэлектронной, электронно-вычислительной аппаратуры и испытательное оборудование/ под ред. А.И.Коробова М.: Радио и связь, 2002 – 272 с. 2002
Млицкий В.Д., Беглария В.Х., Дубицкий Л.Г. Испытание аппаратуры и средства измерений на воздействие внешних факторов. М.: Машиностроение, 2003 – 567 с 2003
Национальная система сертификации Республики Беларусь. Мн.: Госстандарт, 2007
Федоров В., Сергеев Н., Кондрашин А. Контроль и испытания в проектировании и производстве радиоэлектронных средств – Техносфера, 2005. – 504с. 2005