Контроль приборов ночного видения
Министерство образования Республики Беларусь
Учреждение образования
«БЕЛОРУССКИЙ ГОСУДАРСТВЕННЫЙ УНИВЕРСИТЕТ
ИНФОРМАТИКИ И РАДИОЭЛЕКТРОНИКИ»
РЕФЕРАТ
на тему:
«КОНТРОЛЬ ПРИБОРОВ НОЧНОГО ВИДЕНИЯ»
МИНСК, 2008
1. Предварительные сведения
Пять параметров подлежат контролю для приборов ночного видения (ПНВ) всех типов. К числу этих параметров относятся:
увеличение; угол поля зрения; предел разрешения; рабочее разрешение;
диапазон диоптрийной наводки окуляра (если имеется диоптрийная наводка).
У бинокулярных приборов дополнительно контролируют:
параллельность оптических осей;
разность увеличений двух каналов прибора.
У прицелов:
параллельность или заданный угол наклона визирной оси
прицела посадочному месту; эксцентриситет поля зрения; разворот прицельной марки.
У приборов с осветителем:
параллельность оптических осей осветителя и прибора; осевая сила света осветителя.
Требования к внешним условиям.
Требования к аппаратуре. Фокусное расстояние объектива коллиматора, применяемого при контроле приборов, должно не менее, чем в 5 раз превышать фокусное расстояние объектива испытуемого прибора.
Диаметр объектива коллиматора должен не менее, чем на 20% превосходить диаметр входного отверстия объектива контролируемого прибора.
Коэффициенты передачи контраста объектива коллиматора в рабочем спектральном диапазоне объектива испытуемого прибора должны быть не менее:
на частоте 5 штр/мм………0,85,
на частоте 10 штр/мм……..0,7,
на частоте 15 штр/мм……..0,5.
При измерении рабочего разрешения силу света лампы определяют сличением с рабочей светоизмерительной лампой в соответствии с требованиями ГОСТ 17616-82.
Осветительная система коллиматора должна обеспечивать возможность формирования световой нагрузки в пределах рабочего поля зрения испытуемого прибора.
При измерении предела разрешения и рабочего разрешения следует применять штриховые миры.
Держатель испытуемого прибора должен обеспечивать его надежное крепление и возможность углового перемещения по азимуту и углу места.
2. Измерение увеличения прибора
Принцип измерения. Принцип измерения увеличения прибора основан на сравнении размера тест-объекта, наблюдаемого в прибор, с размером тест-объекта, наблюдаемого без прибора, с последующим вычислением отношения этих величин.
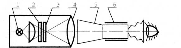
Аппаратура. Функциональная схема установки для измерения увеличения прибора показана на рис. 1.

Рис.1. Схема установки для измерения увеличения прибора:
источник света; 2 - молочное стекло; 3 – тест-объект; 4 – объектив коллиматора; 5 – зрительная трубка; 6 – испытуемый ПНВ; 7 – держатель прибора.
Осветитель должен обеспечивать равномерную яркость поля, на котором рассматривается тест-объект. В качестве тест-объекта может быть использована шкала (светлые штрихи на темном фоне). Тест-объект должен быть установлен в фокальной плоскости объектива коллиматора. Размер выбранного фрагмента тест-объекта должен быть таким, чтобы его изображение, наблюдаемое через зрительную трубку как совместно с испытуемым прибором, так и без него, занимало не менее 10 делений шкалы зрительной трубки.
Примечание. Если объектив испытуемого прибора настроен на определенную дальность L (не фокусируется), тест-объект должен быть сдвинут в сторону объектива коллиматора на отрезок
(1)
где
>
>
- фокусное расстояние объектива
коллиматора.
Подготовка и проведение измерений. Включают испытуемый прибор. Осветителем устанавливают яркость светлых элементов тест-объекта, достаточную для уверенного наблюдения последнего. Подвижками держателя наводят прибор так, чтобы тест-объект занимал центральную часть поля зрения прибора. Фокусировкой объектива (если она имеется) и окуляра прибора добиваются четкого изображения тест-объекта. Окуляр испытуемого прибора выставляют на «ноль» диоптрий с помощью диоптрийной трубки. Окуляр зрительной трубки выставляют на четкое видение окулярной шкалы трубки. Фокусировкой объектива зрительной трубки, установленной за окуляром испытуемого прибора, добиваются четкого изображения тест-объекта.
Наблюдая в окуляр зрительной трубки, определяют число делений г?/ шкалы зрительной трубки, укладывающихся в изображение выбранного фрагмента тест-объекта. Для лучшего наблюдения шкалы зрительной трубки при необходимости освещают рассеянным светом объектив зрительной трубки.
Снимают
с держателя испытуемый прибор. Наблюдая
в окуляр зрительной трубки, увеличивают
яркость осветителя до оптимального для
наблюдения уровня и определяют число
делений >
>
шкалы зрительной трубки, укладывающихся
в изображение того же фрагмента
тест-объекта.
Обработка результатов измерений. Увеличение испытуемого прибора определяют по формуле
Г=
/
(2)
Погрешность измерения увеличения прибора указанным методом не превышает 10% при доверительной вероятности 0,95.
3. Измерение угла поля зрения прибора
Принцип измерения. Принцип измерения угла поля зрения прибора состоит в определении числа делений помещенной в фокальной плоскости объектива коллиматора шкалы, наблюдаемых в окуляр испытуемого прибора от одного до другого края поля зрения при неизменном положении прибора.
Аппаратура. Функциональная схема установки для измерения угла поля зрения прибора показана на рис. 2.
Шкала,
установленная в фокальной плоскости
объектива коллиматора, должна быть
выполнена в виде перекрестия с делениями.
Перекрестие и деления должны быть
светлыми на темном фоне. Цена деления
шкалы в угловой мере должна быть не
более
.
Протяженность шкалы должна соответствовать
линейному полю зрения широкоугольного
коллиматора.

Рис.2. Схема установки для измерения угла поля зрения прибора:
1 – источник света; 2 – молочное стекло; 3 – тест-объект в виде шкалы; 4 – объектив коллиматора; 5 – испытуемый прибор; 6 – держатель прибора.
Угол поля зрения широкоугольного коллиматора должен быть не менее угла поля зрения испытуемого прибора.
Проведение измерений. Включают испытуемый прибор. Током лампы осветителя устанавливают достаточную для уверенного наблюдения яркость светлых штрихов шкалы коллиматора. Наблюдая в окуляр испытуемого прибора, подвижками держателя совмещают центр поля зрения прибора с центром шкалы и производят необходимые подфокусировки объектива и окуляра прибора.
Определяют число делений М шкалы коллиматора, укладывающихся в пределы поля зрения испытуемого прибора.
Обработка результатов. Угол поля зрения прибора 2w определяют по формуле
(3)
где
>
>
- цена деления шкалы коллиматора в
угловой мере.
Погрешность измерения по данной методике не превышает 10% при доверительной вероятности 0,95.
4. Измерение предела разрешения прибора
Принцип измерения. Принцип измерения предела разрешения состоит в визуальном определении наибольшего числа штрихов в одном миллиметре изображения штриховой миры, помещенной в фокальной плоскости объектива коллиматора, которые еще видны в окуляр прибора раздельно по четырем направлениям при оптимальной для наблюдателя яркости изображения.

Рис.3. Схема установки для измерения предела разрешения прибора:
1 – источник света; 2 – светофильтр; 3 – штриховая мира; 4 – объектив коллиматора; 5 – испытуемый прибор; 6 – держатель прибора.
Аппаратура. Функциональная схема установки для измерения предела разрешения приведена на рис.3.
Осветитель должен обеспечивать возможность плавного изменения яркости светлого поля миры. Допускается применять светофильтр, ограничивающий спектральный состав излучения осветителя. Характеристики светофильтра указываются в документации на испытуемый прибор. Штриховая мира должна соответствовать требованиям ГОСТ 15114-78. На одной подложке может располагаться один или несколько элементов миры. Миры должны иметь хорошо видимые в испытуемый прибор номера, возрастающие с увеличением частоты штрихов миры. Миры должны иметь абсолютный контраст (положительный или отрицательный). К измерениям могут быть допущены лица, имеющие нормальное зрение и опыт наблюдения в приборы ночного видения (не менее трех часов).
Подготовка к измерениям. Испытуемый прибор устанавливают в держателе соосно с объективом коллиматора. Включают прибор. Миру устанавливают в плоскость, соответствующую плоскости наводки испытуемого прибора (см. примечание к п. 2). Устанавливают яркость светлых частей поля миры оптимальную для наблюдателя. Производят необходимые подфокусировки объектива и окуляра испытуемого прибора до получения максимальной четкости изображения миры.
Проведение измерений. Наблюдатели в количестве трех человек поочередно рассматривают изображения элементов миры, выводя каждый элемент в центр поля зрения. Находят элемент миры с наибольшим порядковым номером, изображение штрихов которого во всех четырех направлениях еще видно раздельно.
Обработка результатов измерений. Предел разрешения определяют по формуле
, (4)
где N - предел разрешения испытуемого прибора, штр/мм;
>
>-
фокусное расстояние объектива коллиматора,
известное с точностью до 0,1%; >
>
- фокусное расстояние объектива
испытуемого прибора известное с точностью
0,5%; а - ширина светлого (или темного)
штриха миры в миллиметрах, известная с
точностью до 0,002 мм. Предел разрешения
испытуемого прибора в угловой мере
вычисляют по формулам
(5)
(6)
За предел разрешения следует принимать среднее арифметическое из всех пределов разрешений, полученных наблюдателями.
Погрешность
измерения предела разрешения по
настоящей
методике не превышает 10% при доверительной
вероятности 0,95.
5. Измерениие рабочего разрешения прибора
Принцип измерения. Принцип измерения рабочего разрешения состоит в визуальном определении наибольшего числа штрихов в одном миллиметре изображения штриховой миры, помещенной в фокальной плоскости объектива коллиматора, которые еще видны в окуляр прибора раздельно по четырем направлениям при нормированной яркости фона.

Рис.4. Схема установки для измерения рабочего разрешения прибора:
1 – осветитель; 2 – светофильтр; 3 – штриховая мира; 4 – лампы адаптометра; 5 – объектив коллиматора; 6 – испытуемый прибор; 7 – держатель прибора; 8 – адаптометр.
Аппаратура. Функциональная схема установки для измерения рабочего разрешения показана на рис.4.
Осветитель
должен обеспечивать равномерную яркость
фона, на котором наблюдается элемент
миры. Значение яркости фона задается в
технической документации на испытуемый
прибор. Обычно для приборов с ЭОП первого
поколения яркость фона составляет 3x
,
для приборов с ЭОП второго и третьего
поколений - 3x
.
Отклонение яркости от заданной величины
не должно превышать 15%. Лампа накаливания
осветителя должна работать в режиме
источника света с цветовой температурой
2860 К. Ток лампы накаливания должен
контролироваться амперметром класса
точности не ниже 0,2 на второй половине
шкалы амперметра. Допускается применение
светофильтра, ограничивающего спектральный
состав излучения осветителя. Характеристика
светофильтра указывается в технической
документации на прибор конкретного
типа.
Штриховая мира должна соответствовать требованиям ГОСТ 15114-78 со следующими дополнительными требованиями:
каждая группа должна состоять из пяти штрихов, равных по ширине промежуткам между штрихами;
длина и ширина штрихов каждого элемента миры с увеличением номера миры должны пропорционально убывать от элемента к элементу по закону геометрической прогрессии со знаменателем прогрессии 0,944 при постоянном отношении длины штриха к его ширине, равном 9.
На одной подложке миры может располагаться только один элемент миры. Применяемые миры должны иметь отрицательный абсолютный контраст (темные штрихи на светлом фоне). Миры должны иметь хорошо видимые в испытуемый прибор номера, возрастающие с увеличением частоты штрихов миры. Допускается, если это предусмотрено в документации на испытуемый прибор, применение мир пониженного контраста, величина которого указывается в документации на испытуемый прибор. Отклонение контраста от величины, указанной в документации, не должно превышать 5%.
Адаптометр должен обеспечивать световую нагрузку на весь рабочий диаметр фотокатода ЭОП испытуемого прибора.
Подготовка и проведение измерений. К выполнению измерений могут быть допущены лица с нормальным зрением. Перед проведением измерений наблюдатели должны адаптироваться к темноте не менее 20 мин. В наблюдениях должно участвовать не менее трех человек, имеющих опыт наблюдения в приборы ночного видения. Испытуемый прибор устанавливают в держателе соосно с объективом коллиматора. Включают прибор. Миру устанавливают в фокальной плоскости объектива коллиматора или в плоскость, соответствующую плоскости наводки испытуемого прибора, если объектив прибора не имеет фокусировки. Осветителем устанавливают заданную в документации на испытуемый прибор яркость светлых частей миры. Регулируя ток ламп адаптометра, уравнивают яркость поля вокруг миры с яркостью светлых частей миры (визуально). Проводят необходимые фокусировки объектива и окуляра испытуемого прибора.
Наблюдатели поочередно рассматривают элементы миры, выводя их в центр поля зрения прибора, и определяют элемент с наибольшим порядковым номером, изображение штрихов которого во всех четырех направлениях еще видно раздельно.
Обработка результатов наблюдений. Рабочее разрешение вычисляют по формулам (4) - (6). За рабочее разрешение следует принимать среднее арифметическое из всех рабочих разрешений, полученных наблюдателями.
Погрешность измерения рабочего разрешения по данной методике не превышает 16% при доверительной вероятности 0,95.
6. Измерение диапазона диоптрийной наводки окуляра
Принцип измерения. Принцип измерения основан на визуальной оценке резкости изображения миры с помощью диоптрийной трубки при двух крайних положениях механизма окулярной наводки прибора.

Рис. 5. Схема
установки для контроля диапазона
диоптрийной
наводки окуляра:
1 - источник света; 2 - мира; 3 - объектив коллиматора; 4 - испытуемый прибор; 5 - держатель прибора; 6 - диоптрийная трубка
Аппаратура. Функциональная схема установки для измерения диапазона диоптрийной наводки окуляра показана на рис.5.
Осветитель должен обеспечивать оптимальную для наблюдателя яркость поля, на котором рассматривается тест-объект.
Диоптрийная трубка должна иметь шкалу диоптрий от +5 диоптрий до -5 диоптрий. Если диапазон диоптрийной наводки трубки меньше указанного, необходимо использовать дополнительные линзы, расширяющие диапазон.
Подготовка и проведение измерений. Испытуемый прибор устанавливают в держатель соосно объективу коллиматора и включают прибор. Включают осветитель коллиматора и устанавливают достаточную для уверенных наблюдений яркость светлых частей поля вокруг тест-объекта. Выводят в центр поля зрения прибора элемент миры, размер штрихов которого на 20-30% превышает размер штрихов элемента миры. наблюдаемого на пределе, и подфокусировками объектива и окуляра испытуемого прибора добиваются максимальной четкости изображения штрихов миры. Устанавливают диоптрийную трубку в держатель и наводят окуляр диоптрийной трубки на четкое видение перекрестия сетки диоптрийной трубки. Окуляр испытуемого прибора выводят в крайнее левое положение.
Диоптрийную трубку придвигают к окуляру испытуемого прибора и. перемещая объектив диоптрийной трубки вдоль оптической оси, наводятся на резкое изображение штрихов миры и снимают отсчет по диоптрийной шкале трубки. Измерение повторяют не менее трех раз. Затем окуляр испытуемого прибора выводят в крайнее правое положение и повторяют все предыдущие действия.
Обработка результатов измерений. За величину диоптрийной наводки окуляра принимают среднее арифметическое из полученных результатов для каждого из крайних положений окуляра
Погрешность измерений не превышает 15% при доверительной вероятности 0,95.
ЛИТЕРАТУРА
Малов А.Н., Законников Обработка деталей оптических приборов. Машиностроение, 2006. - 304 с.
Бардин А.Н. Сборник и юстировка оптических приборов. Высшая школа, 2005. - 325с.
Кривовяз Л.М., Пуряев Д.Т., Знаменская М.А. Практика оптической измерительной лаборатории. Машиностроение, 2004. - 333 с.