Методы установки кристаллов и плат в корпуса
БЕЛОРУССКИЙ ГОСУДАРСТВЕННЫЙ УНИВЕРСИТЕТ ИНФОРМАТИКИ И РАДИОЭЛЕКТРОНИКИ
кафедра ЭТТ
РЕФЕРАТ на тему:
«Методы установки кристаллов и плат в корпуса»
МИНСК, 2008
Монтаж с использованием эвтектических сплавов
В отличие от контактно-реактивной пайки эвтектический сплав образуется не в результате контактного плавления соединяемых материалов, а вводится в качестве припоя между соединяемыми поверхностями кристалла и корпуса.
Пайкой эвтектическими сплавами присоединяют полупроводниковые кристаллы к корпусам. Золочение контактирующих поверхностей каких-либо ощутимых результатов не дает. В качестве эвтектических используют сплавы золото - германий или золото — кремний, диаграммы состояния, которых показаны на рисунке 1, а, б.

Рисунок 1. Диаграммы состояния сплавов;
a - золото-германий, б- золото-кремний
Подготовленные к пайке детали нагревают в нейтральной атмосфере (осушенном и очищенном азоте) до температуры, несколько превышающей температуру плавления эвтектического сплава. Эвтектические сплавы золото — германий и золото — кремний содержат (по массе): первый 12 % германия и 88 % золота, а второй - 6 % кремния и 94 % золота. Температура плавления эвтектик золото - германий и золото - кремний, соответственно равная 356 и 370 °С, ниже температуры плавления каждого из этих материалов. Эвтектические сплавы являются смесью, а не химическим соединением.
Использование для пайки эвтектического сплава золото - кремний дает хорошие результаты, но сложность приготовления ограничивает его применение. Кроме того, при изготовлении происходит расслоение сплава золото — кремний. Поэтому чаще применяют эвтектический сплав золото — германий ЗлГр12, примерный режим пайки которым на специальной установке приведен ниже.
Температура поверхности столика, ОС……………………….410 + 10
усилие на инструменте, Н……………………………………..0,6 – 0,7
Амплитуда колебаний инструмента, мм 0,08
Время пайки, с 7
При климатических (на термоциклирование) и механических (на вибропрочность и многократные удары) испытаниях выполненные таким образом паяные соединения кристаллов с корпусом не разрушаются.
По сравнению с контактно-реактивной пайка эвтектическими сплавами обладает рядом достоинств. Так как эвтектические сплавы имеют невысокую температуру плавления, хорошие жидкотекучесть и способность смачивания, а также незначительное время нагрева до температуры пайки, в паяном соединении не создаются большие остаточные напряжения, образующиеся вследствие разницы ТКЛР соединяемых материалов. Введение эвтектического сплава между соединяемыми поверхностями способствует сглаживанию на них шероховатостей и неровностей.
Нерастекшийся припой свидетельствует о плохой смачиваемости им золоченой поверхности корпуса и кристалла или о недостаточно высокой температуре пайки. Это является одной из причин низкой прочности паяного соединения. Появление трещин и сколов на кристаллах связано с большим усилием, прикладываемым к рабочему инструменту, или слишком резким подъемом температуры пайки по сравнению с оптимальной.
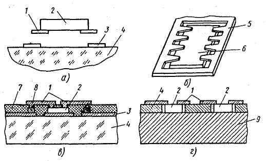
Пайка кристаллов к контактным площадкам корпусов эвтектическим сплавом состоит из следующих операций: захвата прокладки 1 из эвтектического сплава, ее переноса и укладки на место пайки (Рисунок 1, а, б); захвата кристалла б, переноса и присоединения его к корпусу 3 (Рисунок 1, в, г). Захват, перенос и удержание прокладок и кристаллов выполняются специальным инструментом — вакуумным пинцетом 2. При этом усилие захвата и удержания прокладки (кристалла) создается вследствие перепада давлений.

Рисунок 1. Пайка кристалла к контактной площадке корпуса эвтектическим сплавом:
а, б - захват и укладка прокладки, в, г - захват и укладка кристалла на прокладку и их пайка; 1 - прокладки, 2 -инструмент (вакуумный пинцет), 3 -корпус, 4 - нагреватель, 5 - устройство прижима корпуса к нагревателю, б –кристаллы
Монтаж с использованием клеев и компаундов
Монтаж кристаллов приклеиванием обычно применяют при изготовлении полупроводниковых приборов и ИМС общего назначения, так как он довольно прост, экономичен, не требует сложного технологического оборудования и позволяет получать соединения из различных материалов, обладающие заданными характеристиками.
В качестве клеев широко используют пластмассы - эпоксидные смолы, которые обеспечивают достаточную механическую прочность и надежность соединений и имеют низкую температуру отверждения, что исключает ухудшение параметров полупроводниковых приборов и ИМС вследствие перегрева кристаллов.
В зависимости от свойств пластмассы подразделяют на диэлектрические, теплопроводящие и оптические. Пластмассы без наполнителей являются диэлектриками. Если добавить в пластмассу серебряный порошок в количестве от 60 до 80 % по массе, она становится электропроводной и одновременно значительно возрастает ее теплопроводность, так как серебро является отличным проводником электрического тока и теплоты.
Для" монтажа кристаллов оптоэлектронных приборов (фотодиодов, фототранзисторов, цифровых индикаторов и др.) требуются пластмассы, не содержащие наполнителей, обладающие высокой прозрачностью в диапазоне длин волн 300—700 нм, не изменяющейся в течение длительного времени эксплуатации, малой вязкостью (400-3000 сП) и отверждающиеся при 90— 125 °С в течение 4-24 ч.
При монтаже кристаллов клей наносят либо на их обратную сторону, либо на корпус автоматически небольшими каплями или штемпелем. Иногда применяют таблетки из пластмассы.
Приведем для примера несколько марок клеев, используемых при монтаже кристаллов в корпуса. Так, клеиУП-5-201 и УП-5-201Э созданы на основе эпоксидной смолы, модифицированы циклоалифатическими соединениями и соответственно являются токопроводящими и изолирующими. Клей ЭЧЭ-С изготавливается из эпоксидной смолы с серебряным наполнителем и является токопроводящим. Клей УП-5-207М аналогичен по составу клею УП-5-201Э и предназначен для соединения позолоченных контактных площадок корпусов и кристаллов.
Токопроводящие клеи отверждаются при 120 ОС в течение 2 ч или при 170 ОС в течение 1 ч, а нетокопроводящие - при 120 и 150 ОС при аналогичной выдержке.
Монтаж кристаллов пайкой стеклом применяют при массовом производстве маломощных однокристальных полупроводниковых приборов, в которых не требуется электрический контакт между нижней поверхностью кристалла и корпусом. Стекло в виде пасты обычно наносят методом трафаретной печати или напылением на место монтажа в корпуса,, размягчают нагревая и укладывают кристалл, охлаждая затем, корпус до комнатной температуры.
Корпус ИМС, в котором монтаж кристалла, присоединение выводов и герметизация выполнены стеклом, показан на рисунке 2, а. При этом трафаретной печатью или напылением на контактные площадки керамического основания 5 корпуса под выводы и кристалл, а также на крышку 1 наносят

Рисунок 2. Корпуса ИМС, в которых пайкой стеклом выполняется монтаж кристалла, присоединение выводов и- герметизация (д), изоляция проводящих слоев и герметизация (б), изоляция токоведущих дорожек и герметизация (в):
1. - крышка, 2 - стеклянный припой, 3 - рамка, 4 - вывод, 5 - основание, 6 - кристалл, 7 - слой металлизации
стеклянный припой 2, который оплавляют в печи, не допуская кристаллизации. Затем на нагретое до 450 °С керамическое основание 5 монтируют кристалл 6 и присоединяют выводы 4, вдавливая их в размягченное стекло. После этого герметизируют корпус, соединяя крышку с основанием, сжимая их и прогревая при температуре около 500 ОС в течение 5 мин. При повторном нагреве происходит кристаллизация стеклянного припоя, что повышает прочность спая.
В корпусе ИМС, показанном на рисунке 2, б, стеклянный припой 2 последовательно наносят трафаретной печатью на слои металлизации 7 для изоляции их друг от .друга. Герметизируют такие корпуса, соединяя стеклянным припоем 2 керамическое основание 5 корпуса с керамической крышкой 1.
В корпусе ИМС, показанном на рисунке 2, в, два слоя стеклянного припоя 2 служат для изоляции токоведущих дорожек. Герметизируют такие корпуса так же, как показанный на рисунке 2,6.
Виды выводов.
Создание между контактными площадками кристаллов и корпусов с помощью электродных выводов надежного при различных условиях эксплуатации электрического контакта является важным технологическим процессом производства полупроводниковых приборов и ИМС. Присоединение тонких алюминиевых или золотых проволочек — электродных выводов — до настоящего времени остается малопроизводительной, трудоемкой и низконадежной операцией, которую выполняют на специальных установках с визуальным наблюдением и ручным ориентированием инструмента, проволоки и мест присоединения, и отдельных случаях стоимость присоединении электродных выводов составляет до 50 % стоимости ИМС. Половина все: отказов ИМС происходит из-за нарушения электрической контакта.
Методы присоединения электродных выводов можно разделить на проволочные и беспроволочные. К проволочным - наиболее распространенным методам — относятся термокомпрессионная (термокомпрессия), ультразвуковая и микроконтактная сварка, а также пайка, которые будут подробно рас смотрены в следующих параграфах. Ознакомимся с беспроволочными методами, имеющими незначительное применение но являющимися перспективными. К беспроволочным мето дам (отсутствие проволочных электродных выводов) относят монтаж перевернутого кристалла (флип-чип) и кристалл с балочными выводами.
При монтаже перевернутого кристалл (Рисунок3, а) вместо проволочных выводов используют выступ*

Рисунок 3. Монтаж перевернутого кристалла: а — с выступами, б - с шариками; 1 - кристалл, 2 - выступы, 3 - плата, 4 - алюминиевая металлизация, 5 - пленка диоксида кремния, б - слои хрома, 7, 10 - припой, 8 - медный шарик, 9 - слой никеля (столбики) 2 высотой в десятые доли миллиметра, расположенные в определенных местах полупроводникового кристалла 1 Естественно, что все необходимые соединения на кристалл электрически связывают с выступами. Кристалл переворачиваю выступами вниз, опускают на плату 3 с точно расположенным участками металлизации 4, прикладывают давление и подводя теплоту для образования соединения выступов с платой.
Выступы на кристаллах могут быть изготовлены из низке температурного (мягкого) припоя, а также гальваническим осаждением алюминия или золота. В тех случаях, когда выступы получают гальваническим осаждением, кристаллы присоединяют термокомпрессионной или ультразвуковой сваркой.
Монтаж перевернутого кристалла имеет несколько разновидностей. Например, в качестве выступов используют медные шарики (Рисунок 3,6). Для этого в кремниевом кристалле 1, имеющем контактные площадки, покрытые пленкой 5 диоксида кремния, изготовляют окна, в которые осаждают три слоя 6 (хрома, хрома с медью и хрома с оловом). Затем на них наносят оловянистый припой 7 и укладывают медный никелированный шарик 8, который закрепляют оплавлением мягкого припоя 10. При совмещении такого выступа с предварительно облуженной контактной площадкой платы 3 и последующем нагреве с приложением давления к кристаллу происходит пайка, обеспечивающая надежное соединение.
Кроме того, применяют монтаж кристаллов, при котором выступы из мягкого припоя имеют контролируемую осадку (Рисунок 3, а-д). В пленке 2 диоксида кремния изготовляют окна, в которые гальванически на слой металлизации 3 осаждают припой 1 (Рисунок 3, а). При нагревании кристалла 4 припой принимает форму сферического выступа 5 (Рисунок 3,6).
Затем кристалл переворачивают выступом вниз (Рисунок 3, в), совмещают с платой 7 и нагревают. Выступ расплавляется и взаимодействует с предварительно нанесенным на плату припоем 6 (рис 3, г.) образуя столбик 8 припоя (Рисунок 3, д).

Рисунок 3. Монтаж кристалла с контролируемой осадкой выступов:
а, б - нанесение гальваническим способом припоя и оплавление его, в - переворачивание кристалла, г - нанесение припоя на плату, д - монтаж кристалла на плату; 1,5- припой, нанесенный на кристалл и оплавленный, 2 - пленка диоксида кремния, 3 - слой металлизации, 4 — кристалл, 6 - припой, нанесенный на плату, 7 - плата, 8 - столбик припоя
Силы поверхностного натяжения расплавленного припои устанавливают кристалл точно на свое место. Так как остальные поверхности кристалла и платы закрыты пленкой 2 диоксиде кремния, не смачиваемой припоем, кристалл припаивается т некотором расстоянии от платы, что исключает закорачивание выступов.
Достоинством монтажа перевернутого кристалла является то, что все соединения выполняются одновременно. Это повышает также ю надежность. Кроме того, использование при монтаже мягкого припое облегчает демонтаж бракованных кристаллов. Пластичность мягкой припоя частично компенсирует температурные напряжения в соединении
Однако этот метод монтажа довольно дорог, так как сложны операции подготовки кристаллов и плат, не обеспечивает хороший теплоотвод от кристаллов и- возможны локальные перегревы вследствие некоторой разницы температур в процессе монтажа. При нарушении технологического процесса сборки могут образовываться короткие замыкания между кристаллами и платами;
При монтаже кристаллов с балочным! выводами, выходящими за их габарит (Рисунок 4,а), гребенчатое расположение выводов экономит площадь полупроводниковых подложек. Кристалл 2 с балочными выводами 1 обычно присоединяют к слою металлизации 3 на плате 4 термокомпрессионной или ультразвуковой сваркой. Балочные выводы получают на подложках, еще не разрезанных на кристаллы (по групповой технологии). Для этого на поверхности подложек со структурами создают в пленке диоксида кремния окна, в которые наносят золото, образующее балочные выводы, а затем травлением разделяют подложки на отдельные кристаллы.
Разновидностями монтажа кристаллов с балочными выводами являются паучковое соединение и соединение, получаемое напылением балочных выводов.
Паучковое соединение (Рисунок 4, б) целесообразно применять, когда выводов более десяти. Балки в виде паучка 5 вырубают из ленты алюминиевой фольги, накладывают на подложку 6 и присоединяют, например термокомпрессией, к контактным площадкам. Затем разделяют паучок на отдельные выводы и монтируют ИМС в перевернутом виде в аппаратуре.

Рисунок 4. Монтаж кристаллов с балочными выводами: а - конструкция кристалла, б - паучковое соединение, в, г -балочные выводы, изготовленные напылением на столбиках и на плате; 1 - балочные выводы, 2 - кристалл, 3 - слой металлизации, 4 - плата, 5 - паучок, 6 -г подложка, 7 - пластмассовая пленка, 8 - столбик, 9 — металлическое основание
При соединении, получаемом напылением балочных выводов (Рисунок 4, в)., после выполнения всей пленочной разводки на нужных местах плат создают столбики 8, монтируют между ними кристаллы 2, которые накрывают сверху пленкой термопластичного материала (например, фторированным этилен-пропиленом) 7 и получают фотолитографией в пластмассе окна, оставляя незащищенными столбики и лицевые поверхности кристаллов. Затем вакуумным напылением в окна наносят золотую металлизацию (балочные выводы Г), соединяющую кристаллы со столбиками.
Балочные выводы можно получать также на плате (Рисунок 4, г). Для этого предварительно напылением и фотолитографией создают на плате 4 пленочные балочные выводы, а также отверстия, в которые помещают кристаллы 2, присоединяя их нижнюю сторону к металлическому основанию 9 (это способствует улучшению теплоотвода), а верхнюю соединяют термокомпрессией с балочными выводами.
Достоинствами монтажа кристаллов с балочными выводами являются улучшение условий теплоотвода, отсутствие разрушений кристаллов, так как давление прикладывается к балочному выводу; а также возможность визуального контроля.
В то же время такой монтаж в 2 раза дороже монтажа перевернутых кристаллов, так как требуется дополнительная металлизация и не допустимы даже незначительные отклонения плат от плоскостности. Кроме того, балочные выводы легко изгибаются (их сечение обычно равно 13x76 мкм), но иногда ломаются.
Необходимо отметить, что беспроволочные соединения целесообразно применять в массовом производстве при выпуске полупроводниковых приборов и ИМС не менее нескольких миллионов.
ЛИТЕРАТУРА
Черняев В.Н. Технология производства интегральных микросхем и микропроцессоров. Учебник для ВУЗов - М; Радио и связь, 2007 - 464 с: ил.
Технология СБИС. В 2 кн. Пер. с англ./Под ред. С.Зи,- М.: Мир, 2006.-786 с.
Готра З.Ю. Технология микроэлектронных устройств. Справочник. - М.: Радио и связь, 2001.-528 с.
Достанко А.П., н.: Выш.шк., 2000.-238 с.
Таруи Я. Основы технологииБаранов В.В., Шаталов В.В. Пленочные токопроводящие системы СБИС.-М СБИС Пер. с англ. - М.: Радио и связь, 2000-480 с.