Микроинтерферометрия для контроля и оценки трехмерных дефектов
БЕЛОРУССКИЙ ГОСУДАРСТВЕННЫЙ УНИВЕРСИТЕТ ИНФОРМАТИКИ И РАДИОЭЛЕКТРОНИКИ
Кафедра ЭТТ
РЕФЕРАТ
На тему:
«Микроинтерферометрия для контроля и оценки трехмерных дефектов»
МИНСК, 2008
Для контроля рельефа поверхности и оценки размера трёхмерных дефектов на поверхности наиболее пригодны методы интерферометрии. Основным прибором, использующим интерферометрический принцип при измерениях высоты, глубины, профиля элементов микроструктур и толщины плёнок, является широко известный микроинтерферометр Линника МИИ-4 (рис.1), принцип действия которого основан на сравнении световых волн, получаемых при отражении когерентных пучков света от контролируемой и эталонной поверхностей.
Свет от источника 1 проходит через конденсор 2 и диафрагму 3. Зеркало 4 делит его на два когерентных пучка, один из которых фокусируется объективом 5 на эталонное зеркало 6, а другой объективом 5' на контролируемую поверхность 7. После отражения от эталона и изделия пучки проходят через те же элементы схемы и фокусируются линзой 8 в плоскости диафрагмы 9, в которой с помощью окуляра 10 наблюдают интерференционную картину 11 взаимодействия эталонного и рабочего пучков света. При этом наблюдают чередующиеся светлые и тёмные полосы интерференции, искривлённые в соответствии с профилем исследуемой поверхности. Кривизну полос измеряют, например, с помощью окуляр-микрометра. Она является количественной характеристикой микронеоднородностей поверхности изделия: искривление на одно расстояние между одноцветными полосками соответствует глубине или высоте дефекта, равной одному периоду световых колебаний или в линейном размере - длине волны используемого света.

Рис. 1. Оптическая схема микроинтерферометра Линника:
1 - осветитель; 2 - конденсор; 3,9 - диафрагмы; 4 – светоделительное полупрозрачное зеркало; 5,5' - микрообъективы; 6 - эталонное зеркало; 7 - исследуемая поверхность; 8-10 - окуляр; 11 - наблюдаемая интерферограмма
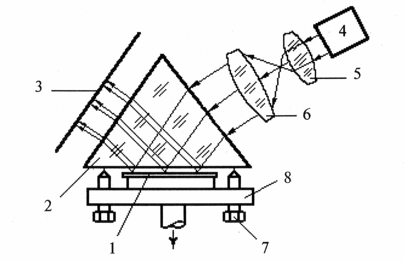
Интерференционным способом производится измерение неплоскостности стеклянных пластин фотошаблонов. Этому способствует высокая чистота поверхности стекол, позволяющая получить чёткую интерференционную картину. Этим способом исследуется поверхность полированных полупроводниковых пластин. Для этого используют призменный интерферометр, изображённый на рис.2. С его помощью может быть измерена неплоскостность (прогиб) пластин и некоторые поверхностные дефекты.

Рис. 2. Схема призменного интерферометра:
1 - полупроводниковая пластина; 2 - стеклянная призма; 3 - экран (матовое стекло); 4 - лазер; 5,6 - коллиматор; 7 - регулировочный винт; 8 - вакуумный прижимной столик
Интерференционная картина выводится на телевизионный экран (рис. 3). Отклонение определяется по числу интерференционных полос (колец) на экране телевизионного интерферометра (рис. 4).

Рис. 3. Интерферограммы на экране телевизионного интерферометра

Рис. 4. Внешний вид цифрового телевизионного интерферометра Zygo Mark II
Контроль толщины диэлектрических плёнок интерференционными методами. В технологии производства ИС для ЭА и СМЭ на основе кремния операция термического окисления стоит на первом месте в цепи технологических операций по созданию топологического рисунка. Далее в ходе изготовления ИС эта операция повторяется несколько раз. Толщина слоя диэлектрика редко превышает 1 мкм и обычно находится в пределах 0,1-0,6 мкм. Учитывая задачу контроля толщины, следует отметить, что стабилизация скорости термических процессов осаждения плёнок технически сложна, и если возможна, то при наличии сигнала обратной связи, информирующего о наращиваемой толщине. С учётом высоких температур и кислородной среды наиболее перспективными для указанных процессов являются неконтактные оптические способы измерений, использующие явление интерференции в плёнке: метод отражательной интерференции с автоматическим отсчётом толщины плёнки и с визуальным цветовым контролем.
Метод отражательной интерференции основан на регистрации интерференции отраженных от подложки с пленкой когерентных лучей света с известной длиной волны и определении толщины наносимой пленки по интенсивности суммарного светового потока. Он заключается в следующем. На поверхность подложки с плёнкой направляется луч света от монохроматического источника (обычно лазера). На поверхности раздела «окружающая среда - плёнка - подложка» луч претерпевает отражение и преломление (рис. 5).
Отражённый от поверхности плёнки луч I>1> и вышедший из неё луч I>2> имеют оптическую разность хода, пропорциональную удвоенной толщине контролируемой плёнки
S = n2(AD+DC) - n1BC ~ 2h .
При нормальном падении луча I0
S = 2hn2 .
Для первого гашения выходного пучка света в результате интерференции лучей I>1> и I>2> необходимо условие
S = /2 ,
откуда можно определить толщину плёнки:
h = /4n>2> .

Рис. 5. Ход лучей в системе «плёнка-подложка» при измерении толщины плёнки
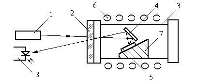
Это лежит в основе принципа действия лазерного интерференционного прибора для контроля толщины диэлектрических плёнок в процессе их нанесения (рис. 6). Суммарный оптический сигнал после интерференции этих лучей в процессе роста плёнки будет иметь осциллирующую форму (рис.7). Этот сигнал регистрируется и преобразуется в электрический с помощью фотоприёмника. Процесс наращивания диэлектрического слоя контролируют по зависимости I=f(t), которая регистрируется либо самописцем, либо графическим дисплеем с памятью. Толщине наносимой плёнки, соответствующей расстоянию между двумя экстремальными точками экспериментальной зависимости I=f(t), будет соответствовать разность хода лучей I>1> и I>2>, на которой укладывается половина длины волны используемого монохроматического излучения. Отсчитывая временной интервал от начала процесса и зная длину волны источника излучения и показатель преломления n>2>, по кривой I=f(t) можно регистрировать текущее значение толщины наносимой на подложку плёнки.

Рис. 6. Оптическая схема лазерного интерференционного прибора для контроля толщины диэлектрических плёнок:
1 - лазер; 2 - оптическое окно; 3 - трубчатый реактор; 4 - зеркало; 5 - пластина; 6 - ВЧ-индуктор; 7 - графитовый нагреватель; 8 – фотоприёмник

Рис. 7. Интенсивность излучения, отражённого от кремниевой пластины в ходе наращивания плёнки Si>3>N>4>
t>1> - начало наращивания; t>2> - окончание наращивания; t - временной интервал, соответствующий шагу /4n>2>
Визуальный цветовой метод контроля. Цветовой метод контроля основан на свойстве тонких прозрачных плёнок, нанесённых на отражающую подложку, изменять свой цвет в зависимости от толщины. В основе этого свойства лежит интерференция световых лучей, отражённых от границы раздела «окружающая среда-плёнка» и «плёнка-подложка», усиливающая световые лучи определенного цвета и гасящая лучи света другого цвета.
Данный метод нашёл широкое применение в микроэлектронном производстве благодаря простоте и оперативности контроля. Особенно эффективным цветовой метод является в условиях массового производства при известном технологическом режиме наращивания плёнки. Контроль производится на воздухе после изъятия полупроводниковых пластин из технологической камеры при воспроизводимых условиях освещения и наблюдения.
Условие существования интерференционных максимумов в отражённом свете, определяющих цвет пластин с плёнкой, будет следующим:
2hn2 = p ,
где p = 1,2,3 и т.д. - порядок интерференции.
Если в пределах одного и того же порядка интерференции плёнка изменяет свою толщину на h, то длина волны л, соответствующая максимуму отражения, сместится на , т.е.
2n2(h+h) = p(+) .
Из этих выражений следует, что
/ = h/h .
Ощущаемый глазом цветовой интервал соответствует в среднем 30 нм. Тогда для зелёного цвета (=550 нм) получим h/h=30/550=0.054, т.е. визуальный цветовой метод контроля толщины может иметь относительное разрешение по толщине порядка 5 %.
В таблице 1 приводится зависимость цвета термически выращенной плёнки SiO2 от её толщины.
При изменении технологии наращивания плёнки цветовая толщина должна быть экспериментально перепроверена и при необходимости откорректирована. Этот же метод применяется и для контроля плёнок фоторезиста.
Табл. 1

Голографическая интерферометрия. Современная технология МЭ требует тщательного контроля геометрических параметров изделий как непосредственно в процессе их изготовления, так и после (на стадии выходного контроля). Размерному контролю подвергаются и заготовки будущих изделий. При этом необходимо контролировать размеры и форму изделий, выявлять наиболее нагруженные участки на изделии во время их обработки или эксплуатации, приводящие к механическим деформациям, определять возникающие в них внутренние дефекты. При решении подобных задач нежелательно (или невозможно) расчленять изделие или даже касаться его какими-либо щупами или шаблонами. Эта задача должна решаться с использованием методов бесконтактного (неразрушающего) контроля изделий. Одними из таких методов является голография и голографическая интерферометрия.
Голографические измерения по принципу действия являются многоступенчатым процессом: вначале регистрируется голограмма объекта, затем восстанавливается его изображение, а количественная информация получается в результате обработки полученного изображения. Способ регистрации и последующего восстановления изображения объекта основан на интерференции двух волн: волны отражённой или прошедшей через изделие (предметной волны En) и когерентной с ней опорной волны EO с известным распределением фаз
E2 = E2n + E2O + 2EnEOcos(n-O).
Образовавшаяся интерференционная картина регистрируется на фотопластинке (или другой регистрирующей среде). Проявленная фотопластинка с зарегистрированной интерференционной картиной называется голограммой. Для восстановления исследуемого объёмного изображения на голограмму необходимо направить волну, совпадающую с опорной волной при записи. Восстановленное изображение, являющееся точной копией исследуемого изделия, обладает всеми свойствами изображения, которые присущи оригиналу.
При встрече опорной и предметной волн в пространстве образуется система стоячих волн, максимумы которых соответствуют зонам, где интерферирующие волны находятся в одной фазе, а минимумы - в противофазе. Для точечного опорного источника O2 и точечного предмета O1 поверхности максимумов и минимумов амплитуд световых колебаний представляют собой систему гиперболоидов вращения (рис. 2).
В схеме получения голограмм, предложенной Габором (на рис. 8, поз.1), опорный источник и предмет находятся на одной оси перед фотопластинкой. Такая голограмма называется однолучевой, т.к. используется один пучок света, часть которого рассеивается предметом и образует предметную волну, а другая часть, прошедшая через объект без искажений - опорную волну.
В двулучевой схеме Лэйта и Упатниекса (на рис. 8, поз.2) наклонный опорный пучок формируется отдельно. Схему, в которой опорный и предметный пучки падают на фотопластинку с разных сторон, впервые предложил Ю.Н.Денесюк (на рис. 8, поз.3). Такие голограммы называют также отражательными, а схему Денесюка - схемой со встречными волнами.

Рис. 8. Схемы расположения фотопластинки при получении голограмм различными способами:
1 - расположение фотопластинки в схеме Габора, 2 - в схеме Лэйта и Упатниекса, 3 - в схеме Денесюка; O1 - точечный объект, O2 – точечный источник света
На рис. 9 изображены основные оптические схемы записи и восстановления голограмм. В однолучевой схеме опорная волна формируется из волны, не претерпевшей рассеяния при прохождении через объект. В двулучевой схеме и в схеме со встречными волнами предметные и опорные волны разделены в пространстве и падают на регистратор под разными углами.
В голографических измерениях нашёл широкое применение метод голографической интерферометрии, который позволяет регистрировать и осуществлять прямые измерения геометрических изменений на объекте (деформаций в результате каких-либо внешних воздействий) с точностью до /10, где - длина волны света. В основе регистрации таких малых деформаций лежит метод двойной экспозиции, когда на голограмме в различные моменты времени регистрируются два состояния изделия
I1=E2n + E2O +2EnEOcos1
I2=E2n + E2O +2EnEOcos2 .
При одинаковом времени экспозиции прозрачность полученного негатива по амплитуде определяется как
I = I1 + I2 = 2(E2n + E2O) + 2EnEO(cos1+cos2) .
Малейшее изменение формы объекта из-за деформации в промежутке между двумя экспозициями изменяют фазу предметной волны. При восстановлении результирующей голограммы два восстановленных изображения интерферируют, образую голографическую интерферограмму. На результирующем восстановленном изображении изделия появляются интерференционные полосы, характеризующие изменение объекта между экспозициями.
Недостатком такого метода является то, что контроль осуществляется не в реальном масштабе времени.
Свободным от этого недостатка является метод получения интерферограмм, когда предметная волна от реального объекта интерферирует с волной, восстановленной с голограммы объекта в начальном состоянии (эталонной голограммы). Изменяющиеся во времени интерференционные картины, наблюдаемые непосредственно на самом объекте, регистрируются в этом случае с помощью фото- или теле-аппаратуры, что позволяет изучать нестационарные процессы в объекте, которые могут являться следствием возникающих деформаций в объекте (механические усилия, изменение температуры на объекте, давления в окружающей среде и т.д.).

Рис. 9. Двулучевая (а), однолучевая (б) схемы голографирования и схема со встречными волнами (в); г - схема восстановления изображений;
1 - источник излучения; 2 - светоделитель; 3 - объектив; 4 - отражатели; 5 - исследуемое изделие; 6 - фотопластинка; 7 - голограмма; 8 – мнимое изображение; 9 - действительное изображение; 10 - плоскость приёма изображения
ЛИТЕРАТУРА
1. Давыдов П. С. Техническая диагностика радиоэлектронных устройств и систем. - М.:Радио и связь, 2000. - 256 с.
2. Ермолов И.Н., Останин Ю.Я. Методы и средства неразрушающего контроля качества: Учеб. пособие для инженерно-техн. спец. вузов.-М.: Высшая школа, 2002. - 368 с.
3. Технические средства диагностирования: Справочник / Под общ. ред. В.В.Клюева. - М.: Машиностроение, 2005. - 672 с.
4. Приборы для неразрушающего контроля материалов и изделий. - Справочник. В 2-х кн./ Под ред. В.В.Клюева - М.: Машиностроение, 2006.
5. Ж.Госсорг. Инфракрасная термография. Основы, техника, применение: Пер. с франц. – М. Мир, 2005. – 416 с.