Оценка теплового режима ИМС. Расчет надежности полупроводниковых ИМС по внезапным отказам
БЕЛОРУССКИЙ ГОСУДАРСТВЕННЫЙ УНИВЕРСИТЕТ ИНФОРМАТИКИ И РАДИОЭЛЕКТРОНИКИ
КАФЕДРА РЭС
РЕФЕРАТ
НА ТЕМУ:
«Оценка теплового режима ИМС. Расчет надежности полупроводниковых ИМС по внезапным отказам»
МИНСК, 2009
Оценка теплового режима ИМС
Конструкция ИМС должна быть такой, чтобы теплота, выделяющаяся при ее функционировании, не приводила в наиболее неблагоприятных условиях эксплуатации к отказам элементов в результате перегрева. К тепловыделяющим элементам следует отнести, прежде всего, резисторы, активные элементы и компоненты. Мощности, рассеиваемые конденсаторами и индуктивностями, невелики. Пленочная коммутация ИМС благодаря малому электрическому сопротивлению и высокой теплопроводности металлических пленок способствует отводу теплоты от наиболее нагретых элементов и выравниванию температуры платы ГИС или кристаллов полупроводниковых ИМС.
Введем следующие понятия, необходимые для осуществления тепловых расчетов.
Перегрев элемента или компонента ИМС (Θ, °С), — разность между их температурой и средней температурой поверхности корпуса. Максимально допустимая температура T>max>> доп> — максимальная температура элемента или компонента ИМС, при которой обеспечиваются требования к их надежности. Удельная мощность рассеяния (Р>0>, Вт/°С) — плотность теплового потока от элемента ИМС, кристалла или платы ИМС. Внутреннее тепловое сопротивление элемента, кристалла или компонента ИМС (R>t>> вн>, °С/Вт) — тепловое сопротивление самого элемента (кристалла, компонента) и тепловое сопротивление контакта между элементом (компонентом) и платой (кристаллом и корпусом) с учетом теплового сопротивления клеевой прослойки.

Рис. 1. Тепловой поток от источника теплоты при различных соотношениях между размерами тепловыделяющих элементов и толщиной подложки: 1 — теплоотвод; 2 — слой клея или компаунда; 3 — подложка; 4 — тепловыделяющий элемент
В случае, когда весь тепловой поток сосредоточен под элементом ИМС и направлен к подложке (рис. 1), при соотношении l, b>>h тепловой поток плоскопараллелен и тепловое сопротивление
-

(1)
где R>T>
— тепловое сопротивление;
и
— коэффициенты теплопроводности
материала подложки и клея, Вт/(м•°С); h>П>
и h>K>
— их толщины; b
и l
— размеры контакта тепловыделяющего
элемента с подложкой; h
= h>П>
+ h>K>.
При уменьшении
размеров источника тепла тепловой поток
становится расходящимся (рис. 1),
эффективность теплоотвода увеличивается
и соответственно уменьшается тепловое
сопротивление. Этот факт учитывается
функцией
:
-

(2)
где q = l/2h, r = b/2h, l и b — линейные размеры плоского источника теплоты.
Для корпусов, значения
функции
даны на рис. 2.


Рис. 2. Значение
функции
:
а — при q=0+0,1; б — при q=0,1+0,4; в — при q=0,4+1,0; г — при q=1,0+4,0
Расчет надежности полупроводниковых ИМС по
внезапным отказам
Для расчета надежности полупроводниковых ИМС разработан ряд методик на основе статистического и физического методов.
Статистические методы используют для ориентировочного расчета надежности на этапе эскизного проектирования ИМС, а физические — для окончательного расчета на этапе разработки рабочей документации.
Рассмотрим наиболее распространенные методики расчета для этих двух методов.
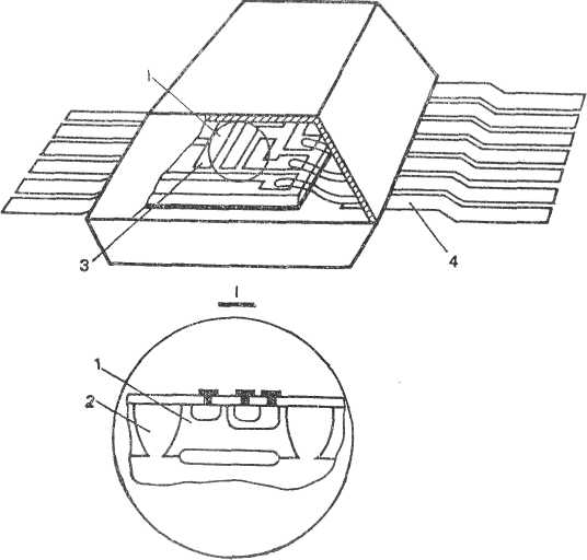
Статистический метод. В основу методики расчета надежности полупроводниковых ИМС на основе статистического метода положены те же допущения, что и при расчете гибридных ИМС. При этом учитывается, что резисторы и конденсаторы формируются на базе транзисторной структуры, т.е. с помощью прямых и обратно смещенных p-n-переходов. Поэтому интенсивность их отказов принимается такой же, что и у диодов. В качестве компонентов ненадежности полупроводниковых ИМС при данном расчете используют элементы структуры и конструкции ИМС (рис. 3): транзисторные 1 и диодные 2 p-n-переходы, внутрисхемные соединения 3 и выводы корпуса 4.
Интенсивность отказов корпусных полупроводниковых ИМС рассчитывают по выражению
-

(3)
где
— число условных транзисторных переходов;
— число условных
диодных переходов, равное общему числу
диодов, резисторов и конденсаторов;
— число внешних выводов;
,
— коэффициенты режима работы транзисторных
и диодных переходов;
,
и
— интенсивности отказов транзисторных
переходов, диодных переходов и соединений
соответственно (для нормальных условий);
— коэффициент вибрации.
При расчете
бескорпусных полупроводниковых ИМС
выражение (3) упрощается, так как
отсутствуют соединения с выводами
корпуса и
= 0. Рекомендуемые для расчетов средние
статистические значения интенсивностей
отказов компонентов ненадежности
следующие:


Рис. 4. Зависимости поправочных коэффициентов от температуры и коэффициента нагрузки k>a> для пленочных резисторов (a), транзисторов (б), диодов (в) и пленочных конденсаторов (г)
Рекомендуемые значения коэффициентов режима работы для различной температуры окружающей среды при расчете по данной методике приведены в табл. 1.
Значение вероятности безотказной работы Р (t) определяют обычным путем.

Рис. 5. Конструкция полупроводниковой биполярной ИМС
Следует отметить,
что полупроводниковые ИМС общего
применения универсальны и предназначены
для многоцелевого использования. В
конкретном схемном включении часть
цепей и внешних выводов ИМС может не
использоваться и, следовательно, они
не будут влиять на надежность всего
устройства. Поэтому расчет
по выражению (27.1) необходимо производить
с учетом конкретного включения ИМС. Это
часто имеет место при использовании
бескорпусных полупроводниковых ИМС в
МСБ. Следовательно, одна и та же ИМС
может иметь различные уровни надежности.
Табл. 1 Коэффициенты режима работы элементов полупроводниковых
ИМС
-
Коэффициент режима работы
Температура, °С
20
30
40
50
60
70
80

1,0
1,35
1,85
2,60
3,60
4,90
6,20

1,0
1,27
1,68
2,0
2,60
3,40
4,10
Физический метод. Данный метод учитывает не только количество компонентов ненадежности, но и качество разработанной топологии, количество технологических операций, режим работы и эксплуатационные воздействия.
Исходными данными для расчета надежности полупроводниковых ИМС физическим методом являются принципиальная электрическая схема, разработанная топология, маршрут технологического процесса и значения интенсивности отказов компонентов ненадежности.
В отличие от гибридных ИМС в полупроводниковых ИМС выделяют следующие элементы конструкции, характеризующиеся определенными значениями интенсивности отказов: кристалл, корпус, соединения. Однако активные и пассивные элементы полупроводниковых ИМС формируются в объеме и (или) на поверхности кристалла с помощью определенного числа технологических операций и не могут считаться самостоятельными (дискретными) при расчете надежности. Их надежность во многом будет зависеть от сложности технологического процесса. Анализ отказов полупроводниковых биполярных и МДП-ИМС позволяет выявить наиболее часто встречающиеся отказы, обусловленные различного рода дефектами, и определить их интенсивность. Так, для полупроводниковых ИМС, в зависимости от вида дефекта, установлены такие значения интенсивности отказов элементов структуры и конструкции:
из-за дефектов,
обусловленных диффузией (для одной
стадии)
;
из-за дефектов
металлизации (на 1 мм2
площади)
;
из-за дефектов оксида
(на 1 мм2
площади)
;
из-за дефектов от
посторонних включений в корпусе (на 1
мм2
площади кристалла)
;
из-за поверхностных
и структурных дефектов кристалла (на 1
мм2
площади кристалла)

из-за некачественного
крепления кристалла
;
из-за обрыва
термокомпрессионного сварного соединения
;
из-за повреждения
корпуса
(для пластмассового корпуса) и
(для металлокерамического корпуса).
По этим значениям можно определить интенсивности отказов активных и пассивных элементов и элементов конструкции полупроводниковых ИМС с учетом стадийности диффузионных или других высокотемпературных процессов, реальных площадей элементов, металлизации и кристалла.
Поэтому в качестве компонентов ненадежности используют элементы структуры и конструкции полупроводниковой ИМС, значения интенсивностей отказов которых определяются выражениями:
-

(4)

(5)

(6)
где
,
,
— интенсивности отказов элементов
(транзистора, диода, диффузионного
резистора, диффузионной перемычки или
шины), металлизации и кристалла
соответственно;
— число стадий диффузии при формировании
того или иного элемента;
,
,
— площади (в мм2)
элемента, металлизации и кристалла
соответственно.
К компонентам
ненадежности относится также корпус и
соединения, характеризующиеся значениями
и
.
Только после такого определения расчет
можно свести, как и в случае гибридных
ИМС, к суммированию интенсивностей
отказов отдельных компонентов ненадежности
с учетом поправочных коэффициентов на
величину электрической нагрузки и
состояние окружающей среды.
В данном случае
интенсивность отказов
полупроводниковых ИМС с учетом того,
что время появления внезапных отказов
распределено по экспоненциальному
закону, определяется выражением
-

(7)
где т — число групп элементов;
n>i> — число элементов данного типа с одинаковым режимом работы;
— поправочный коэффициент,
учитывающий влияние окружающей
температуры и электрической нагрузки;
— поправочный
коэффициент, учитывающий механические
воздействия, относительную влажность
и изменение атмосферного давления;
— интенсивность отказов элементов
структуры (транзисторов, диодов,
резисторов), металлизации, кристалла и
конструкции (соединений, корпуса).
Порядок расчета надежности полупроводниковых ИМС по внезапным отказам физическим методом следующий.
По заданной принципиальной электрической схеме и разработанной топологии определяют число n>i> структурных элементов каждого типа и число т, m>i> типов элементов.
По топологии и
маршрутной карте технологического
процесса изготовления полупроводниковой
ИМС определяют число диффузий
для изготовления структурных элементов
каждого типа.
По топологии
определяют площади структурных элементов
каждого типа
,
и площадь кристалла
.
Используя данные
по интенсивностям отказов элементов
структуры и конструкции, по выражениям
(4) — (6) определяют значения
для элементов каждого типа.
По заданным электрическим параметрам и принципиальной электрической схеме производят расчет электрического режима и определяют коэффициенты нагрузки k>Hi> для активных и пассивных элементов (как при расчете гибридных ИМС). Коэффициент нагрузки k>НМ>>i> наиболее нагруженных проводников металлизации (шины питания, сигнальные выходные шины и др.) определяют из выражения
-

(8)
где
— ток через i-й
проводник металлизации;
и
— ширина и толщина проводника металлизации;
— допустимая плотность тока через
проводник металлизации.
Для заданной
температуры и рассчитанных значений
k>н>>i>
по графикам рис. 6 и 8 определяют значения
поправочных коэффициентов
(
,
,
и
).
По заданным условиям эксплуатации выбирают поправочные коэффициенты k>1> k>2>, и определяют k>i> = k>1>k>2>k>3>.
По полученным в п.
1, 4, 6 и 7 данным и выражению (7) рассчитывают
интенсивность отказов
ИМС.
Для заданного времени t рассчитывают вероятность безотказной работы ИМС
-

(9)
ЛИТЕРАТУРА
1. Новиков Ю.В. Основы цифровой схемотехники. Базовые элементы и схемы. Методы проектирования. М.: Мир, 2001. - 379 с.
2. Новиков Ю.В., Скоробогатов П.К. Основы микропроцессорной техники. Курс лекций. М.: ИНТУИТ.РУ, 2003. - 440 с.
3. Пухальский Г.И., Новосельцева Т.Я. Цифровые устройства: Учеб. пособие для ВТУЗов. СПб.: Политехника, 2006. - 885 с.
4. Преснухин Л.Н., Воробьев Н.В., Шишкевич А.А. Расчет элементов цифровых устройств. М.: Высш. шк., 2001. - 526 с.
5. Букреев И.Н., Горячев В.И., Мансуров Б.М. Микроэлектронные схемы цифровых устройств. М.: Радио и связь, 2000. - 416 с.
6. Соломатин Н.М. Логические элементы ЭВМ. М.: Высш. шк., 2000. - 160 с.