Параметрические феррорезонансные стабилизаторы переменного напряжения. Компенсационные стабилизаторы напряжения и тока
“Белорусский государственный университет информатики и радиоэлектроники”
Кафедра защиты информации
РЕФЕРАТ
на тему:
«Параметрические феррорезонансные стабилизаторы переменного напряжения. Компенсационные стабилизаторы напряжения и тока»
МИНСК, 2009
Параметрические феррорезонансные стабилизаторы переменного напряжения
Параллельно Lн ставят емкость и настраивают в резонанс (рисунок 1).
(1)
Учитывая, что при одинаковых
напряжениях
на
и
,
их токи будут в противофазе.
Если суммировать при одних
значениях U,
токи в L
и C,
то получится зависимость
.
Наклон
< наклона

Коэффициент стабилизации увеличивается, коэффициент мощности схемы увеличивается.
Эта схема является более эффективной, чем схема простого электромагнитного стабилизатора.
Для улучшения её характеристик используется специально введенные компенсирующие обмотки.

Рисунок 1
Компенсирующая обмотка позволяет увеличить коэффициент стабилизации, но усложняет схему.
Рассмотренные схемы не обеспечивают гальванической развязки.
Имеется разнообразные феррорезонансные стабилизаторы.
Достоинства:
- простота;
- высокая механическая надежность;
- устойчивость к перегрузкам;
- отсутствие стареющих элементов;
- высокий КПД;
- возможность реализации больших Iн, а, значит, и больших мощностей;
- высокие коэффициенты мощностей;
- низкая стоимость.
Недостатки:
- большие массогабаритные размеры;
- возможно возникновение акустического фона за счет вибрации магнитопровода.
Компенсационные стабилизаторы напряжения и тока
Могут работать на переменный или постоянный ток и используют принцип непрерывного или импульсного автоматического регулирования стабилизируемого параметра (напряжения или тока).
Структурные схемы.
Существуют 2 основные схемы:
- с последовательным включением регулируемого элемента по отношении к нагрузке.
- с параллельным включением регулируемого элемента.

Рисунок 2 – Структурная схема компенсационного стабилизатора с последовательным включением регулируемого элемента.

Рисунок 3 – Структурная схема компенсационного стабилизатора с параллельным включением регулируемого элемента.
В компенсационном стабилизаторе с последовательным включением регулируемого элемента напряжение на нагрузке Uн сравнивается с опорным напряжением
,
(2)
где
- коэффициент усиления.
В реальных стабилизаторах
источник опорного напряжения (ИОН)
питается от выходного стабильного
напряжения
.
, (3)
где
- внутреннее потребление.
Недостатки:
- последовательное включение по отношению к нагрузке РЭ, требует большой пропускной способности по току в стабилизаторах с непрерывным регулированием;
- на РЭ постоянно рассеивается энергия и КПД трудно обеспечить выше 60%.
На практике используют импульсный режим автоматического регулирования.
Разгрузить РЭ по току позволяет схема с параллельным включением РЭ по отношению к нагрузке (рисунок 3).

тогда

Схема позволяет применить РЭ малой мощности, но ставит добавочное сопротивление (ДС).
Схема целесообразна в устройствах малой мощности с импульсным питанием.
Приведенные функциональные схемы отражают принципы работы в импульсных стабилизирующих устройствах, обеспечивающие импульсный режим работы.
Транзисторный компенсационный стабилизатор постоянного напяжения с непрерывным регулированием
Рассмотрим наиболее распространенную схему с последовательным включением регулирующего элемента.

Рисунок 4
,
,
,
,
.
Можно убедиться, что в схеме за счет
действия отрицательной обратной связи,
достигается стабилизация. Анализ
показывает, что коэффициент стабилизации
пропорционален
в цепи ОС, который определяется:
(4)
(5)
Приведенная основа схем с непрерывным регулированием на практике может претерпевать различные усложнения по следующим направлениям.
В РЭ для увеличения коэффициента
передачи
и согласования мощного РЭ с маломощным
УПТ прим схема составного транзистора.

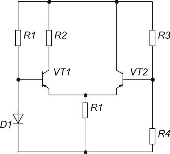
Рисунок 5
УПТ для термокомпенсации может быть постороен по симметричной схеме (рисунок 6):

Рисунок 6
Для повышения устойчивости работы стабилизатора при импульсном потреблении тока нагрузкой на выходе стабилизатора может устанавливаться аккумулятор-емкость. Это подключение практически не увеличивает сглаживание пульсаций.
Увеличение сглаживания пульсаций достагается за счет:
- изменения способа питания УПТ (от отдельного дополнительного источника, непосредственно от входного стабилизатора, либо через эмиттерный повторитель от входного стабилизатора).
- изменения схемы сравнения, в частности при применении схемы сравнения с так называемой «с опущенной спорой».
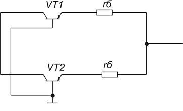
В тех случаях, когда имеющиеся в распоряжении силовые трансформаторы не обеспечивают необходимый ток нагрузки Iн, применяется параллельное включение нескольких транзисторов (рисунок 7).

Рисунок 7
Используется также и последовательное включение транзисторов в РЭ для исключения опасности перегрузки по Uкэ.
Последние меры так же усложняют стабилизатор в целом и на практике схемы отличаются значительным разнообразием. В особенности, они включают ещё и устройства защиты от перегрузки по току и напряжению или даже устройствами сигнализации.
Современные схемы имеют тенденцию к использованию импульсных режимов работы.
Импульсные стабилизаторы

Рисунок 8 - Структурная схема импульсного стабилизатора
СФ – сглаживающий фильтр;
ИЭ – импульсный элемент;
СхСиУ. – схема сравнения и усиления.
Эффективное сглаживание на рабочей частоте возможно фильтрами либо при условии достаточно большой рабочей частоты. Повышаются требования к быстродействию.
ИЭ может работать в автоколебательном режиме (релейный стабилизатор). При этом изменяется как длительность импульсов тока так и частота следования импульсов в нагрузке. Изменение частоты затрудняет эффективное сглаживание пульсации неперестраиваемым фильтром.
Частоту срабатывания ИЭ можно специально задавать, синхронизируя его работу с помощью задающего генератора (ЗГ). В том случае регулирование осуществляется за счет длительности импульсов тока.
РЭ, СхСиУ, ИОН схемно не отличаются от узлов, используемых в непрерывном стабилизаторе. В качестве ИЭ применяются релаксационные генераторы, мультивибраторы, триггеры и др.
Импульсные стабилизаторы в отличие от стабилизаторов с непрерывным регулированием позволяют реализовать высокие КПД и широко используются в современной технике.
Недостатки:
- усложнение схемы;
- импульсный режим работы исключает принципиально возможность снижения пульсации до нуля.
- осложнение обеспечения магнитной совместимости ИВЭП с электронной аппаратурой.
Для рационального использования непрерывного и импульсного методов регулирования и ослабления недостатков, соответствующих этим методам устройств, применяют стабилизаторы с двойным управлением.
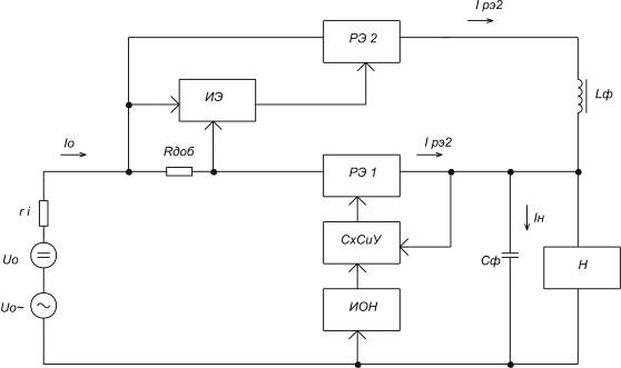
Стабилизаторы с двойным управлением.

Рисунок 9 – Структурная схема стабилизатора с двойным управлением
Недостатки:
- высокие масса, габариты, стоимость;
- низкая эксплуатационная надежность;
- сложность.
В случае, если требуется получение повышенных значений коэффициента стабилизации, возможно использование двойного управления. Для этого РЭ ставятся на стороне как постоянного так и переменного тока. При этом коэффициент стабилизации получающегося таким образом двухкаскадного стабилизатора равен произведению коэффициентов стабилизации отдельных каскадов.
В качестве РЭ на стороне переменного тока могут использоваться диодно-транзисторные схемы, тиристоры, магнитные усилители.
ЛИТЕРАТУРА
Иванов-Цыганов А.И. Электротехнические устройства радиосистем: Учебник. - Изд. 3-е, перераб. и доп.-Мн: Высшая школа, 200
Алексеев О.В., Китаев В.Е., Шихин А.Я. Электрические устройства/Под ред. А.Я.Шихина: Учебник. – М.: Энергоиздат, 200– 336 с.
Березин О.К., Костиков В.Г., Шахнов В.А. источники электропитания радиоэлектронной аппаратуры. – М.: Три Л, 2000. – 400 с.
Шустов М.А. Практическая схемотехника. Источники питания и стабилизаторы. Кн. 2. – М.: Альтекс а, 2002. –191 с.