Передающая система РЛС. Канал обзора (передатчик обзора)
Передающая система РЛС. Канал обзора (передатчик обзора)
НАЗНАЧЕНИЕ.
Система передающая предназначена для формирования и генерирования мощных СВЧ сигналов в импульсном режиме с линейно частотной модуляцией и в режиме квазинеприрывного излучения, гетеродинирующего сигнала для приемной системы, а также генерирования сигнала подсвета цели в режиме ЛРК, КНИ-К и непрерывном ре жиме.
Передающее устройство служит для формирования радиочастотного зондирующего импульса с заданными характеристиками. Применяются два типа построения передающих устройств: с использованием мощного автогенератора СВЧ колебаний (однокаскадная схема) и с использованием усилителей мощности СВЧ колебаний (многокаскадная схема).
Передающее устройство первого типа представляет собой автогенератор СВЧ, который преобразовывает энергию источника питания в энергию электромагнитных СВЧ колебаний заданной мощности и частоты.
Рабочая частота такого передатчика изменяется с помощью устройства управления частоты, осуществляющего перестройку автогенератора.
ДОСТОИНСТВА:
простота
компактность
экономичность (дешевизна)
НЕДОСТАТКИ:
трудно обеспечить необходимую стабильность частоты
трудно обеспечить быструю перестройку частоты.
В передающем устройстве второго типа формирование зондирующих сигналов осуществляется путем усиления колебаний малой мощности поступающие от задающего устройства.
Для обеспечения необходимого усиления используется несколько усилителей соединенных последовательно или параллельно и образующих усилительную цепочку.
ДОСТОИНСТВА:
легко обеспечить стабильность частоты
быстро осуществляется перестройка частоты
можно формировать сложные сигналы.
НЕДОСТАТКИ:
большой вес, значительные габариты
сложность устройства, высокая стоимость.
Передающая система состоит из:
передатчика ОБЗОРА-О;
передатчика ПОДСВЕТА-П.
КАНАЛ ОБЗОРА. СОСТАВ.
ШКАФ Р-2К.
Р-2КИ - оконечный усилитель мощности.
Р-2КМ - модулятор.
Р-20К-1,Р-20К-111 - блоки питания.
ШКАФ Р-2Г.
Устройство ВЧ.
Р-18ГМ - блок питания
Фильтр.
ОСНОВНЫЕ ТЕХНИЧЕСКИЕ ДАННЫЕ.
Диапазон рабочих частот определяет диапазон рабочих частот РЛС и характеризуется:
количеством частот и их разносом
скоростью и программой перестройки
точностью установки и стабильностью
Высокая точность установки fраб позволяет уменьшить полосу пропускания приемника и тем самым повысить его чувствительность, что ведет к увеличению дальности обнаружения и повышению помехозащищенности. Стабильность fраб влияет на качество работы СДЦ.
Зондирующие сигналы различаются:
по типу:
простые не модулированные узкополосные
сложные с внутриимпульсной модуляцией (ЛЧМ)
когерентные, у которых фаза меняется по известному закону или не меняется
не когерентные, фаза у которых меняется случайным образом от импульса к импульсу
с постоянной частотой следования
с переменным периодом (частотой) следования.
по структуре:
форма и длительность огибающей
вид внутри импульсной модуляции
частотный спектр.
Средняя выходная мощность передатчика "Обзора:
в режиме ИМП - не менее 1,0КВт;
в режиме КНИ - не менее 1,0КВт.
Увеличение энергии зондирующего сигнала может осуществляться либо увеличением мощности в импульсе, либо увеличение длительности импульса. В первом случае возникает опасность появления электрических пробоев в волноводном тракте из-за высокой пиковой мощности.
Использование сложных сигналов большой длительности позволяет получить необходимую энергию зондирования, при относительно малой импульсной (пиковой) мощности.
Время готовности к работе - не более 3 мин.
Время непрерывной работы передатчика
"Обзора" - 24 часа.
Количество частот передатчика "Обзора" - 4.
Количество программ - 6.
ОРГАНЫ УПРАВЛЕНИЯ.
Блок Р-19М1:
1. Тумблер "Изл. О" - включение передатчика "О".
2. Переключатель "Литер О" - выбор частоты передатчика "О".
3. Тумблер "КНИ-ИМП-СДЦ" - включение режима работы передатчика "О".
4. Табло "ГОТ-О" - готовность к работе передатчика "О" на излучение.
5. Тумблер "ИЗЛ-О" - работа передатчика "О" на излучение.
6. Переключатель "Частоты 1,2,3" - смена частоты повторения в режиме КНИ.
7. Тумблер "ИЗЛ-П" - включение передатчика "П".
8. Табло "ГОТ-П" - готовность к работе передатчика "П".
9. Табло "ИЗЛ-П" - работа передатчика "П" на излучение.
Блок Р-19КМ:
1. Тумблер "ИЗЛ-УПР с КП-ВЫКЛ" - выбор режима работы включением передатчика "О".
2. Табло "УПР ИЗП с КП" - управление излучением производится с КП.
3. Табло "ВЫКЛ. ИЗЛ" - излучение выключено.
4. Переключатель "Барабан 1-4" - выбор узла задающих генераторов
передатчика "П".
5. Переключатель "Литер 1-; " - выбор частоты "П" в одном из барабанов.
6. Табло "Бар КП","Литер КП" - рекомендуемая частота "П".
Блок Р-36:
1. Тумблер "Оптимизатор "О" ("П") - автоматический вывод на режим передатчиков "О" и"П".
2. Потенциометр "Рег. мощн. fо (fп) - ручной вывод на режим передатчиков "О" и "П".
3. Переключатель "Т. К.28-Р-2Г-мощн"П" - для проверки режимов работы передатчиков.
УСТРОЙСТВО КАНАЛА "ОБЗОР".
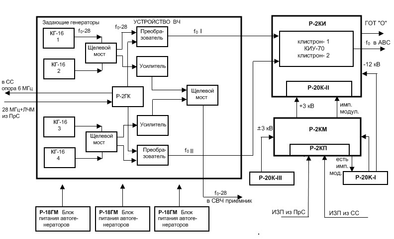
Передатчик "О" работает на любом одном из 4 литеров. Он имеет два идентичных канала, каждый из которых обеспечивает работу на двух литерах (Рис.1). Первый канал работает на литерах 1,2 - второй на литерах 3,4. Для перекрытия всего диапазона (24 литерных точки) используется 6 программных (сменных) шкафов Р-2Г и 6 программных (сменных) блоков Р-2КИ. Установленная программа контролируется на табло бл. Р-19М1. Переключение литеров внутри программы дистанционное и осуществляется с бл. Р-19М1. Переход с канала на канал осуществляется в ручную в приборе Р-20К-II бл. Р-2КИ переключением питания выходного усилителя мощности.
Передатчик "О" работает в двух режимах:
в ИР с ЛЧМ
в режиме КНИ.

Рис.1. Структурно-функциональная схема передатчика ОБЗОРА
РАБОТА КАНАЛА "ОБЗОРА" В ИР с ЛЧМ.
Сигнал с задающего генератора 1 (2,3,4) на частоте f (o) - 28 МГц в зависимости от выбранного литера через щелевой мост 1 (2) подается на:
усилитель 1 (2) с выхода которого усиленный сигнал в качестве сигнала 1-го гетеродина через щелевой мост 3 поступает на ВЧ блоки Р-7М1;
преобразователь частоты 1 (2), куда одновременно поступает 28-МГц с ЛЧМ с бл. Р-3 - IM1, прошедший усилители бл. Р-2ГК.
С выхода преобразователя сигнал на частоте f (o) с ЛЧМ поступает на ВХОД 1 (2) бл. Р-2КИ.
С выхода бл. Р-2КИ мощный импульсный сигнал СВЧ (ВЫХОД "О") подается в бл. Р-1А.
Импульсная модуляция сигнала в бл. Р-2КИ осуществляется модулирующими импульсами (ИМП. МОД), поступающими с бл. Р-2КМ. Временная расстановка модулирующих импульсов определяется импульсами запуска передатчика, поступающими на прибор Р-2КП с бл. Р-3-1М1.
РАБОТА КАНАЛА "ОБЗОРА" В РЕЖИМЕ КНИ.
Работа передатчика "О" в реж. КНИ отличается от работы в ИР с ЛЧМ тем, что на преобразователи 1 (2) поступает сигнал 28МГц с автогенератора бл. Р-2ГК, а временная расстановка модулирующих импульсов определяется импульсом запуска передатчика поступающими на прибор Р-2КП с бл. Р-8-1.
Для формирования ИЗП в реж. КНИ с устройства ВЧ (в бл. Р-2ГК) поступает сигнал 6 МГц (меандр.) в бл. Р-8-1. Режим излучения (ИР с ЛЧМ или КНИ) устанавливается с бл. Р-19М1.
Включение канала производится по командам с устройства временных задержек Р-2РЩП и командам с бл. Р-19М1.
По команде 27В 2ПРЕДВА. ВКЛ 0с бл. Р-19М1 включается бл. Р-2ГК, по команде +27В 2ЗАД.3 МИН 0с Р-2РЩП, прошедшей блокировки устройства охлаждения Р-2УО и бл. Р-1А, напряжения питания подаются на задающий генератор 1 (2,3,4), усилитель 1 (2) и преобразователь 1 (2), включается блок Р-20К-III и подается напряжение питания 3 КВ на бл. Р-2КМ и Р-2КИ.
При наличии напряжения с бл. Р-20К-III и исправности коммутатора АНТ-ЭКВ блока Р-1А, блок Р-2КИ выдает на бл. Р-19М1 сигнал готовности +27В ГОТ К ИЗЛ О, разрешающий включение высокого напряжения.
По команде +27В ВКЛ ИЗЛ О приходящей с бл. Р-19М1 на бл. Р-20К-I, последний выдает команду 27В ВКЛ КАН О на включение импульсных цепей блока Р-2КМ.
При включении бл. Р-2КМ выдает сигнал 27В ЕСТЬ ИМП МОД в бл. Р-20К-I, разрешающий включение высокого напряжения.
Блок Р-20К-I выдает высокое напряжение в бл. Р-2КИ.
ОСОБЕННОСТИ ПОСТРОЕНИЯ УСТРОЙСТВА ВЧ.
Устройство ВЧ является задающим генератором передатчика обзора и первым гетеродином приемного канала, может работать на одном любом из четырех литеров и состоит из следующих элементов:
Задающий генератор 1 (2,3,4) выполнен на приборе КГ-16 (отражательный клистрон).
Задающие генераторы настроены на частоту fo-28 и поочередно подключаются к смесителю (преобразователю) с помощью схемы переключения.
К задающему устройству предъявляются следующие требования:
высокая стабильность частоты
когерентность формируемой последовательности импульсов
возможность формирования простых и сложных зондирующих сигналов (ЛЧМ).
Отражательный клистрон (Ри.2) - маломощный генератор СВЧ колебаний. Принцип его работы основан на преобразовании энергии постоянного электронного потока в энергию СВЧ - колебаний при кратковременном взаимодействии потока с СВЧ - полем.
В отличии от пролетного клистрона, в отражательном клистроне имеется только один резонатор, который должен выполнять две функции:
модулировать скорость электронного потока
отбирать СВЧ - энергию от модулированного по плотности электронного потока.
Чтобы обеспечить выполнение обеих функций, необходимо вернуть в резонатор электронный поток, прошедший через сетки резонатора при движении от катода. Поток поворачивают с помощью отражателя, имеющего отрицательный потенциал Uотр по отношению к катоду.
В пространстве между резонатором и катодом электроны тормозятся до нулевой скорости и начинают обратное движение к резонатору под действием того же электрического поля, которое для них теперь является ускоряющим.
Так как поле резонатора в определенные моменты времени является ускоряющим, для пролетающих через него электронов, а для других тормозящим, то произойдет формирование сгустков электронного потока.

Рис. 2 Отражательный клистрон.
Сгруппированный электронный поток (Рис.3) возвращаясь в резонатор в момент тормозящего полупериода часть своей энергии отдаст полю резонатора, тем самым поддержит колебания в резонаторе. При этом следует помнить, что полупериод поля ускоряющий для электронов идущих от катода, одновременно будет тормозящим для электронов идущих от отражателя.

Рис.3
Усилитель 1 (2) выполнен на приборе КУ-143-1 (АБ, ВГ, ДЕ) (клистронный усилитель).
Клистронный усилитель (пролетный клистрон) (Рис.4) используется для генерирования и умножения частоты в диапазоне сантиметровых и дециметровых волн.
Действия их основаны на управлении электронными пучками по скорости.
Электроны двигающиеся от катода к коллектору на первоначальном этапе обладают одинаковой скоростью. Если на вход усилителя подан ВЧ сигнал, то электроны пролетая сетки входного резонатора, взаимодействуют с переменных полем, которое обеспечивает, в один момент времени увеличение скорости пролетающих электронов, в другой момент - уменьшение скорости.

Рис. 4 Пролетный клистрон.
Таким образом под воздействием входного сигнала происходит модуляция скоростей в электронном луче. В положительный полу-период, когда ВЧ потенциал сетки входного резонатора положительный, электроны ускоряются, в отрицательный - замедляются. Следовательно, источник входного сигнала не расходует мощность на модуляцию скорости электронов.
В результате такой модуляции возникают сгустки и разряжения электронов (Рис.5). Скорость электронов, после прохождения сеток входного резонатора, не меняется.
Сетки выходного резонатора располагаются на таком расстоянии от сеток входного резонатора чтобы в них входили наиболее плотные сгустки электронов. Пролетая между сетками выходного резонатора, сгустки вызывают в нем наведенный ток той же частоты.
Если собственная частота выходного резонатора равна частоте сигнала, то наведенный ток создает наибольшее напряжение между сетками резонатора. Таким образом происходит передача энергии от модулированного по плотности электронного потока выходному резонатору, связанному с нагрузкой.

Рис.5
Если в такой клистрон, между входным и выходным резонатором, ввести промежуточный резонатор (ненагруженный, тем самым имеющий высокую добротность), то это приведет к более сильной модуляции электронов по скорости за счет напряжения создаваемое наведенным током в сетках промежуточного резонатора.
Преобразователь 1 (2) выполнен на приборе КУ-144 (АБ, ВГ,. .) (клистронный усилитель).
На выходе смесителя (преобразователя) получаются колебания на частоте fo, для чего на него подаются ВЧ колебания от высокостабильного генератора на частоте fпр.
Коммутатор 5 (6) выполнен на СВЧ диодах, осуществляет подавление на 60 дБ сигнала частоты f (o) - 28 на входе преобразователя 1 (2) в паузе между зондирующими импульсами с временной расстановкой определяемой импульсами с формирователя ФМ1.
Формирователь ФМ1 предназначен для усиления импульсов запуска преобразователя ИЗВ поступающих с подмодулятора Р-2КП. ФМ1 выдает также импульсы управления пиковым детектором на ОМ - 9М.
Оптимизатор мощности ОМ-9М предназначен для поддержания оптимальной входной мощности усилительных 1 (2) и преобразовательных 1 (2) клистронов, которой соответствует максимальная выходная мощность клистронов, входящий в состав автоматической оптимизации входных мощностей клистрона.
Устройство автоматической оптимизации состоит из:
управляемого аттенюатора;
оптимизатора;
детекторной секции;
направленного ответвителя.
При отсутствии команды на включение излучения на модуляторные диоды аттенюатора модулирующий ток не поступает, а на управляющие диоды аттенюатора поступает максимальный управляющий ток, запирающий аттенюатор.
При включении излучения управляющий ток на аттенюаторе начинает принудительно уменьшаться. По мере отпирания аттенюатора появляется мощность на выходе прибора СВЧ и часть ее поступает на детекторную секцию, детектируется и поступает в качестве входного сигнала на оптимизатор. Этот сигнал подается на пиковый детектор, который обеспечивает работу в импульсном и непрерывном режимах. С пикового детектора сигнал поступает на пороговое устройство.
Как только сигнал достигает на входе порогового устройства заданного уровня порогового устройства отключает схему принудительного поиска и на модуляторные диоды аттенюатора поступает опорный модулирующий ток.
Входной, а следовательно и выходной сигнал, оказывается промодулированным. Выходной сигнал с детекторной секции является сигналом ошибки для оптимизатора, а фаза указывает на положение рабочей точки относительно экстремума.
Сигнал ошибки с пикового детектора поступает на двухтактный фазовый детектор, на второй вход которого поступают опорные прямоугольные импульсы с частотой модуляции (40 Гц).
Оптимизатор начинает работать по сигналу ошибки, вырабатывает ток управления величина которого зависит от фазы сигнала ошибки. Сводя сигнал ошибки к минимуму, оптимизатор поддерживает мощность на выходе прибора СВЧ максимальной.
Если при включении излучения нет сигнала в детекторной секции или его уровень мал для срабатывания порогового устройства, то ток управления уменьшается до нуля. Устройство поиска оценивает состояние интегратора и вырабатывает команду на переключение его в исходное положение для осуществления вторичного цикла поиска.
Особенности построения бл. Р-2КИ.
Блок Р-2КИ предназначен для усиления СВЧ мощности передатчика "О" и передачи ее в антенну.
Состав Р-2КИ:
Комплект приборов КИУ-70 (АБ, ВГ);
Прибор ОИМ (без ОМ-9М);
Pin - аттенюатор (2 шт.);
Направленный ответвитель;
Детекторная секция;
Устройство защиты прибора;
Коммутатор К-1;
Коммутатор К-2;
Прибор Р-20К-II.
Режим работы блока (ИР с ЛЧМ или КНИ) обеспечивается соответствующим импульсом, поступающим в блок через соединительную колодку П-2 с бл. Р-2КМ. Этот модулирующий сигнал проходит через прибор Р-20К-II и в соответствии с включенным каналом поступает на соответствующий управляющий электрод КИУ-70.
Особенности построения бл. Р-2КМ.
Предназначен для формирования прямоугольных модулирующих импульсов (3 КВ) подаваемых на управляющий электрод КИУ-70 на время излучения.
Состав:
Усилитель импульсный УИМ (2шт);
Усилитель импульсный (2 шт);
Прибор Р-2КП (подмодумятор)
Выпрямитель (220 В и 470 В) - 2 шт;
Стабилизатор СНП - 50 - 06;
Стабилизатор СНП - М-12,6.
Модулятор собран по схеме тандем, зарядный ключ которой образован параллельным соединением лампы Л3, обеспечивающей формирование фронта модулирующего импульса и импульсного усилителя Ус1, обеспечивающего компенсацию тока утечки с управляющего электрода СВЧ прибора во время плоской части импульса.
Разрядный ключ образован параллельным соединителем лампы Л4 и импульсного усилителя Ус2.
Исходным состоянием схемы является то, при котором отсутствует импульс фронта на входе зарядной лампы Л3, отсутствует импульс спада на входе разрядной лампы ЛЧ, обе лампы закрыты напряжением смещения (каждая от своего источника питания У1). Л1 Ус2 - открыта. Л1 Ус1 - закрыта напряжением с импульсного усилителя. На управляющий электрод прибора СВЧ подается напряжение запирания - ЗкВ.
При подаче на вход подмодулятора Р-2КП импульса запуска передатчика (ИЗП) с блока Р-8-I или импульса ИЗП с блока Р-3-IМ1 подмодулятор, при наличии команды "+27В вкл. кан." с блока Р-20К-I, формирует остроконечные импульсы фронта и спада с временным интервалом между ними, равным длительности импульса ИЗП.
Импульс фронта с подмодулятора Р-2КП усиливается транзиторным усилителем УИМ фронта и через трансформатор ТрЗ подается на управляющую сетку зарядной лампы Л3. Мощным импульсом анодного тока заряжается емкость нагрузки, формируя крутой фронт модулирующего импульса. Нагрузкой модулятора является паразитная емкость схемы, приведения к участку управляющий электрод-катод СВЧ прибора. Ток утечки сопротивления нагрузки модулятора компенсируется током лампы Л1 импульсного усилителя Ус1, которая открыта на время длительности импульса.
Импульс спада с модулятора Р-2КП усиливается транзисторным усилителем УИМ спада и через трансформатор Тр4 подается на управляющую сетку разрядной сетки разрядной лампы Л4. Емкость нагрузки разряжается, формируя крутой спад модулирующего импульса, и схема приходит в исходное состояние.
В паузе между модулирующего импульсами импульсный усилитель Ус2 подключается источник питания модулятора к управляющему электроду прибора СВЧ и надежно его запирает.
Электронные сетки зарядной лампы Л3 и зарядной лампы Л4 питаются каждая от своего источника У2.
ФОРМИРОВАНИЕ КОМАНДЫ " ГОТ О" (Готовность Обзора)
"+27 2В ПРЕДВ ВКЛ" поступает в бл. Р-2РЩП на запуск временного устройства (электронное реле времени), для формирования команд:
"+27 В ЗАД 1 МИН" - поступает в шкафы Р-1М1, Р-2М1 для выдачи высоковольтных напряжений на ЭЛТ (Р18-I вырабатывает +10 КВт для Р-4СА и Р-4В; Р18-II - 2 КВт +1.5 КВт для Р-4НА);
"+27 В ЗАД 2 МИН" поступает в блок питания Р-7М1 приемной системы (СВЧ приемник) для включения питания на ЛБВ (напряжение делителя ±400 В);
"+27 2В ЗАД 3 МИН" используется для формирования команд ГОТ О, ГОТ П.
Команда "+27В ЗАД 3 МИН " с блока Р-2РЩП поступает на контакты реле Р4 бл. Р2УО-ПУМ. +27В БС через НЗК реле Р5 поступает на реле Р4, которое срабатывает и выдает команду " 0+27В ЗАД 3 МИН" на выход блока. Цепь прохождения данной команды обрывается при поступлении на реле Р5 хотя бы одной из команд:
"+27В НЕТ НАДДУВА" из бл. Р-56;
"+27В НЕТ РАСХОДА Р-2ТОМ";
"+27В НЕТ РАСХОДА Р-2УО".
С бл. Р2УО-ПУМ "+27В ЗАД 3 МИН" поступает в электромеханический коммутатор КР-3 (АНТ-ЭКВ "О","П") бл. Р-1А и через НЗК КР-3 выдается в виде команды " +27В БЛОКИР ВН "О, П"" на бл. Р-2ПК для сигнализации, а так же в бл. Р-2КРМ1.
С выхода Р-2КРМ1 "+27 В БЛОКИР ВН "О, П"" в виде команд:
"+27В ЗГО ВКЛ " поступает в бл. Р-2КИ;
"+27В ЗАД 3 МИН на ВКЛ СМЕЩ" поступает в блок Р-2КМ и через НЗК микровыключателей высоковольтных разъемов В1, В2, В3 - (кожух) в виде команды " +27В НА ВКЛ Р-20К-III " поступает в бл. Р-2КИ, где эта команда проходит через НЗК выключателя прибора питания Р-20К-II (закрытая крышка) и выдается в блок Р-20К-III и в бл. Р-2КРМ1 для контроля (К.Р. Ш4 конт.4А).
В бл. Р-20К-III эта команда проходит через НЗК реле Р1 и поступает на коммутатор реле Р1, а так же в виде команды "+ 227В бл Р-20К-III ВКЛ " поступает в бл. Р-2КИ и в бл. Р-2КРМ1 (К.Р. Ш4 конт.5А).
В бл. Р-20К-III контактор Р1 срабатывает и подключает входную цепь ВУ ±3 кВ (2.5 - 3.5 РЕГУЛИР) в цепи трех фазного напряжения 220 В 400 Гц. В бл. Р-2КИ команда "+27В БЛ Р-20К-III ВКЛ" поступает на реле Р1 коммутатора. Реле срабатывает (в случае исправности устройства защиты прибора) и через его контакты +27 В БС пройдя через НЗК микровыключателей высоковольтных разъемов в виде команды "+27 В ГОТ к ИЗЛ О" поступает на контакты тумблера "ИЗЛ О", табло "ГОТ О" бл. Р-19М1 и на контакты реле Р2 бл. Р-2КМ.
Передатчик "О" готов к работе после формирования команды "ГОТ О"
ПРИМЕЧАНИЕ:
Команда "+27В ЗГО ВКЛ" в бл. Р-2КИ в изделии 9А310М1 не используется.
ПОРЯДОК ВКЛЮЧЕНИЯ СВЧ ПРИБОРОВ ШК. Р-2Г.
В зависимости от выбранного литера передатчика "О" (перекл. "ЛИТЕР О" на бл. Р-19М1) соответствующая команда поступает в шкаф Р-2Г. Рассмотрим работу пер. "О" на первом литере. "+27В ЛИТ 1" поступает через НЗК реле Р2 фильтра шк. Р-2Г на реле Р6. Данная команда через сработанные контакты реле (2-3) через НЗК реле Р3 (при отсутствии на Р3 команды " +27В 2НЕТ РАСХОДА Р-2ТОМ") поступает на программно временное устройство Р11 (реле времени на 180 сек).
Через три минуты Р11 срабатывает и через его контакты "+27В БС " поступает: - как команда " +27В ВКЛ РЕЛЕ" на блоки питания Р-18ГМ (У3, У4). При поступлении этой команды блоки питания вырабатывают напряжение РЕЗОНАТОРА 650-800В РЕГУЛИР. на задающий генератор
(КГ-16 клистрон генераторный) и усилительный клистрон (КУ-143) (отражательный) (пролетный). Напряжение накала +6.3 В с бл. Р-18ГМ выдается с момента включения "ПРЕДВ ВКЛ" (на бл. Р-19М1).
на реле Р7, через сработанные контакты которого команда "+27 В РАЗР ИЗЛ." в виде команды "+27 В ВКЛ РЕЛЕ." поступает на бл. Р-18ГМ (У5), который при поступлении данной команды вырабатывает напряжение резонатора для питания преобразовательного каскада шк. Р-2Г (КУ-144).
Команда "+27 В РАЗР ИЗЛ" формируется в бл. Р-19КМ1. "+27В БС" через контакты переключателя В8 "ВЫКЛ - УПР с КП - ИЗЛ" в положение "УПР с КП" или "ИЗЛ" поступает через НЗК реле Р1 (при отсутствии команд: + 27В ТОВ без ИЗЛ с бл. Р-52Т или "+ 27В ЗАПР ИЗЛ" с ЦВС) выдается в шк. Р-2Г.
Пройдя через НЗК тумблера "ЗГО" бл. Р-2РЩП (тумблер ЗГО в положении ВКЛ), эта команда поступает в фильтр шк. Р-2Г.
ФОРМИРОВАНИЕ КОМАНДЫ " 2ВЫСОКОЕ ВКЛ прд О"
При включении тумблера "ИЗЛ О " на бл. Р-19М1 (Р-2ПК) команда " +27 В ГОТ к ИЗЛ О" 0через контакты тумблера поступает на реле Р3 бл. Р-2КРМ1. Реле срабатывает и через его контакты (2-3)"+27 В БС" в виде команды "+27 2В ВКЛ ИЗЛ О" выдается в бл. Р-20К-I (У5), где команда "+27 В 2 ВКЛ ИЗЛ О" поступает:
через НЗК реле Р5 (при отсутствии команды + 27В ИС (инерционное сопровождение) на реле Р4, которое срабатывает и своими контактами подключает схему защиты блока к цепи первичного источника питания 220 В 400 Гц.
через НЗК реле Р3 на контакты реле Р1 и в виде команды "+27В ВКЛ КАН О" выдается на контакт 2А кр. Ш4 бл. Р-2КРМ1 и на реле Р2 бл. Р-2КМ. Реле срабатывает и дежурившая на его контактах команда "+ 27 В ГОТ к ИЗЛ О" через контакты 5-6 в виде команды "+27 В ЕСТЬ ИМП МОД" выдается на бл. Р-20К-I и на соответствующее табло бл. Р-2ПК. При поступлении данной команды в бл. Р-20К-I срабатывает реле Р1 и "+27В ВКЛ КАН О"через НЗК мировыключателей высоковольтных разъемов В1, В2 и В3 "кожух", поступает на контактор Р1, который подключает первичные питания три фазы 220 В 400 Гц к ВУ ±12 кВ для питания оконечного усилителя мощности (КИУ-70) и в виде команды "+27В
ВЫС О ВКЛ" поступает для сигнализации в блоки Р-2ПК, Р-19М1 (на табло "ИЗЛ О").