Прибор КСМ3-ПИ1000
МОСКОВСКИЙ ГОСУДАРСТЕННЫЙ ОТКРЫТЫЙ
УНИВЕРСИТЕТ
Курсовая работа по дисциплине
Аналоговые измерительные приборы на тему:
ПРИБОР КСМ3-ПИ1000
Выполнил:
Проверил:
2001 г.
Содержание.
1. Автоматические мосты для измерения температуры
2. Медные термометры сопротивления ТСМ
2.1 Назначение
2.2 Технические данные
2.3 Принцип действия и устройство
3. Мосты с искробезопасной измерительной схемой КСМ3-ПИ1000
3.1 Назначение
3.2 Технические данные
3.3 Устройство и принцип работы
3.3.1 Электрическая функциональная схема автоматического уравновешенного моста
3.3.2 Схема электрическая принципиальная уравновешивающего моста
3.3.3 Обеспечение искробезопасности
3.4 Конструкция прибора
3.4.1 Усилитель
3.4.2 Реверсивный электродвигатель
3.4.3 Измерительный блок
3.4.4 Привод диаграммного диска
3.4.5 Устройство записи
3.5 Порядок установки
4. Усилитель У2-01-01
4.1 Устройство
4.2 Усилитель предварительный (УП) Б-13.611.63-02
4.3 Усилитель оконечный (УО) Б-13.611.65-01
4.4 Выпрямитель Б-15.635.75
4.5 Прерыватель б-15.635.76
5. Использованная литература
1. Автоматические мосты для измерения температуры.
Уравновешенные автоматические мосты предназначены для измерения, записи и регулирования электрических и неэлектрических величин, связанных функциональной зависимостью с активным сопротивлением.
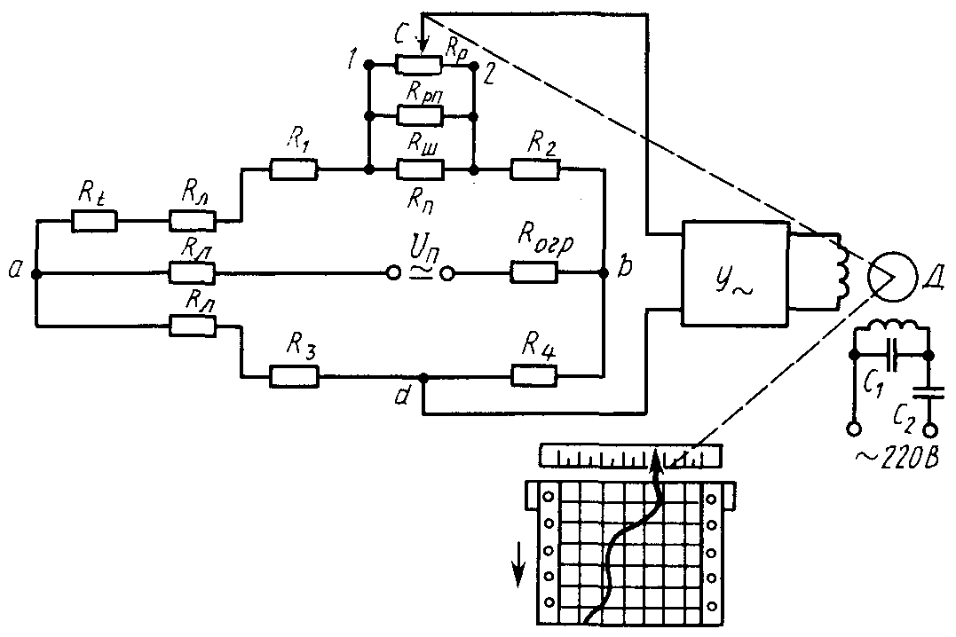
Широко распространены автоматические мосты для измерения и записи температуры, работающие в комплекте с терморезистором (рис. 1)

Рис. 1. Принципиальная схема автоматического моста для измерения температуры.
В автоматических уравновешенных мостах используется четырехплечная мостовая схема. На рис. 1 обозначены R>1>, R>2>, R>3>, R>4> – сопротивления плеч моста; R>t> – терморезистор; R>л> – сопротивление линии (место измерения температуры может находиться на значительном расстоянии от прибора); R>рп> – полное сопротивление реохорда; R>п> – сопротивление, определяемое пределом измерения моста; U>п >– напряжение источника питания; R>огр> – сопротивление, ограничивающее ток в плечах мостовой схемы.
К основным свойствам схемы автоматического уравновешенного моста, показанной на рис. 1, относятся: высокая чувствительность; компенсация влияния температурных изменений сопротивлений соединительных проводов (R>л>); возможность расширения пределов измерения шунтированием реохорда сопротивлением R>п> (без потери линейности шкалы).
Чувствительность автоматического уравновешенного моста
,
(1)
∆U>м> – напряжение на выходе измерительной схемы моста при изменении температуры на ∆t0; t>п> – предел измерения по температуре (t>п>=t>max>-t>min>); γ - относительная приведенная погрешность измерений.
Уравнение шкалы автоматического моста можно получить на основании условий равновесия мостовой схемы для двух случаев (для упрощения рассматриваем измерительную схему автоматического моста без сопротивлений R>ш> и R>п>): t=t>min> и t=t>min>+Δt, т.е. R>t>=R>tmin> (движок реохорда в точке 2) и R>t>=R>tmin>+ΔR>t>= R>tmin>+ β>t>R>tmin> Δt , где β>t> – температурный коэфициент сопротивления материала термометра.
Определим эти условия:
(R>tmin>+Rл+R>1>+R>рп>)∙R>4>=R>2>∙(R>3>+R>л>), (2)
(R>tmin>+ ΔR>t>+R>л>+R>рп >- R>р>)∙R>4>=(R>2>+R>р>)∙(R>3>+R>л>). (3)
Вычитая из уравнения (3) уравнение (2), получаем следующее выражение:
(ΔR>t >- R>р>)∙R>4>=R>р>∙(R>3>+R>л>).
отсюда
R>р>=ΔR>t>∙R>4>/(R>3>+R>4>+R>л>)=β>t>∙R>tmin>∙R>4>∙Δt/(R>3>+R>4>+R>л>). (4)
Уравнение шкалы прибора можно записать в таком виде:
l=l>п>∙R>р>/R>рп>=(l>п>/R>рп>)∙(β>t>∙R>tmin>∙R>4>/( R>3>+R>4>+R>л>))∙Δt=c∙Δt; (5)
с≡(l>п>/R>рп>)∙(β>t>∙R>tmin>∙R>4>/( R>3>+R>4>+R>л>)), где l>п> – полная длина реохорда.
Полученное выражение (5) свидетельствует о том, что шкала прибора линейна. Изменение сопротивления соединительных проводов (ΔR>л>), которое может быть вызвано изменением температуры окружающей среды, не оказывает существенного влияния на показания прибора благодаря трехпроводной схеме включения терморезистора. Покажем это.
Равновесное состояние схемы для некоторого сопротивления терморезисторов R>t> и сопротивления линии R>л> определяется соотношением
(R>t>+R>л>+R>1>+R>рп >- R>р>)∙R>4>=(R>2>+R>р>)∙(R>3>+R>л>). (6)
если предположить, что сопротивление соединительных проводов изменилось на ΔR>л>, то показания автоматического моста останутся неизменными, если будет выполняться условие
(R>t>+R>л>+ΔR>л>+R>1>+R>рп >- R>р>)∙R>4>=(R>2>+R>р>)∙(R>3>+R>л>+ΔR>л>). (7)
вычитая из (7) выражение (6), получим
ΔR>л>∙R>4>=(R>2>+R>р>)∙ΔR>л>, т.е. R>4>=R>2>+R>р>. (8)
В процессе измерений R>р> изменяется, поэтому полная компенсация влияния ΔR>л> возможна для одной точки шкалы, для которой выполняется условие (8). Целесообразно выполнение этого условия для середины шкалы. Тогда погрешность, вызванная изменениями сопротивлений соединительных проводов, для всей шкалы прибора незначительна.
В этом случае выбор сопротивления определяется соотношением
R>4>=R>2>+R>рп>/2. (9)
При градуировке сопротивление каждого из соединительных проводов предполагается равным 2.5 Ом. Для их подгонки до расчетного значения служат специальные уравнительные катушки.
Автоматические мосты, выполненные по схеме рис. 1, имеют уменьшенное влияние внешних наводок (третий соединительный провод входит в диагональ источника питания, а не в усилитель).
Самонагрев термометра устраняется соответствующим выбором R>огр> (для устранения погрешности от самонагрева ток в термометре не должен превышать 7 – 8 мА). Нестабильность переходного сопротивления контакта движка реохорда не вносит погрешности в измерения, так как оно включено последовательно с большим по величине входным сопротивлением усилителя. Термо- и контактная ЭДС устраняются при питании схемы моста переменным напряжением.
2. Медные термометры сопротивления ТСМ.
2.1 Назначение.
Термометры сопротивления ТСМ предназначены для измерения температуры жидких и газообразных сред в промышленных условиях.
Термометры сопротивления работают в комплекте с логометрами или автоматическими мостами.
2.2 Технические данные.
Температурные пределы измерения от –50 до +1000С.
Градуировка: гр. 23.
Конструкция головки: для ТСМ-Х, ТСМ-XII и ТСМ-XIV обыкновенная; ТСМ-XI – без головки с кабельным выводом марки СРГ; ТСМ-239 – с брызгонепроницаемым штепсельным разъемом и проводом РПШЭ.
Устойчивость к механическим воздействиям: для ТСМ-Х, ТСМ-XII, ТСМ-XIV и ТСМ-XI – обыкновенная, для ТСМ-239 – вибротряскоустойчивые и ударопрочные.
Инерционность термометров сопротивления большая.
Термометры с неподвижным штуцером, ТСМ-XIV – с подвижным штуцером.
2.3 Принцип действия и устройство.
Принцип действия основан на свойстве металлов увеличивать свое электрическое сопротивление при повышении температуры.
Чувствительный элемент медных термометров сопротивления состоит из медной изолированной проволоки марки ПЭВ-2 диаметром 0.11 мм, намотанной в 7 – 8 слоев на цилиндрический пластмассовый каркас, который вставляется в латунную трубку. К каждому концу чувствительного элемента припаян вывод из медной проволоки марки ПЭВ-2, диаметром 0.80 мм. Выводы изолированы друг от друга и наружной арматуры фарфоровыми изоляторами или полихлорвиниловой трубкой. В термометрах типа ТСМ-Х и ТСМ-XIV выводы крепятся к зажимам пластмассовой колодки. К выводам термометра ТСМ-XI припаивается кабель марки СРГ. Выводы термометра ТСМ-XII крепятся к зажимам пластмассового корпуса, который закрывается крышкой. В корпус ввинчена защитная арматура открытого типа.
Чувствительные элементы с колодками термометров типа ТСМ-Х, ТСМ-XIV помещены в защитную арматуру с головкой. Колодка крепится к головке при помощи скобы. Головка закрывается металлической крышкой. Чувствительный элемент с кабелем СРГ термометра ТСМ-XI вставляется в защитную арматуру со штуцером. На кабель надевается уплотнительный карболитовый штуцер, который ввертывается в металлический штуцер защитной арматуры.
3. Мосты с искробезопасной измерительной схемой КСМ3-ПИ1000.
3.1 Назначение.
КСМ3-ПИ представляет собой стационарный одноточечный показывающий и регистрирующий прибор с записью на диаграммном диске.
Автоматический уравновешивающий мост предназначен для контроля и записи температуры или других величин, изменения значений которых могут быть преобразованы в изменение активного сопротивления.
Прибор КСМ3-ПИ с искробезопасной измерительной цепью. Он работает в комплекте с серийно выпускаемым первичным преобразователем, не имеющим собственного источника тока и не обладающим индуктивностью или емкостью. Прибор выполнен так, что аварийные режимы, возникающие в них в результате короткого замыкания, обрыва или выхода из строя какого-либо элемента и т.п., не могут вызвать искру в цепи первичного преобразователя, способную воспламенить взрывоопасную смесь, в которой установлен датчик (термопреобразователь сопротивления).
Серийно выпускаемые датчики, которые не имеют собственного источника тока, а также не обладают индуктивностью или емкостью и работают в комплекте с прибором, можно устанавливать в помещениях всех классов, согласно классификации ПУЭ, содержащих взрывоопасные концентрации смесей 1, 2, 3 и 4-й категории, групп Т1, Т2, Т3, Т4, Т5 согласно классификации ПИВРЭ. На установках класса В-1Г нужно использовать датчики, удовлетворяющие всем вышеперечисленным требованиям и предназначенные для работы на открытом воздухе.
При этом сам прибор нужно устанавливать только вне взрывоопасных помещений.
Прибор предназначен для эксплуатации при температуре окружающего воздуха от плюс 5 до плюс 500С и верхнем значении относительной влажности 80% при температуре 350С и более низких температурах без конденсации влаги.
Окружающий воздух не должен содержать вредных примесей, вызывающих коррозию, и механических включений (особенно токопроводящих), которые могут повлиять на работу прибора.
3.2 Технические данные.
Предел допускаемой основной приведенной погрешности показаний приборов на всех отметках шкалы при температуре окружающего воздуха 200С не превышает 0.5% от нормирующего значения измеряемой величины. За нормирующее значение принимается разность оконечных значений диапазона измерения.
Вариация прибора не должна превышать абсолютного значения предела погрешности по показаниям.
Прибор имеет контроль исправности. При переключении прибора в положение «контроль» указатель устанавливается напротив контрольной отметки с погрешностью 3 мм.
Время прохождения указателем всей шкалы 16 с.
Допускаемая величина выброса пишущего устройства не должна превышать 1.5% от нормирующего значения измеряемой величины.
Характер успокоения прибора должен быть таким, чтобы указатель устанавливался не более чем после трех полуколебаний.
Изоляция электрических цепей прибора относительно корпуса и цепей между собой в нормальных условиях должна выдерживать в течение одной минуты испытательное напряжение переменного тока практически синусоидальной формы частотой 50 Гц, указанное в таблице.
Циферблат прибора круглый, белого цвета.
Длина шкалы 0.6 м.
Диск диаграммный с наружным диаметром 250 мм с длиной отсчетной дуги 95 мм. Привод диаграммы от синхронного электродвигателя.
Время одного оборота диаграммы 24 ч.
Питание силовой цепи прибора 220 В, 50 Гц. Потребляемая мощность прибора не превышает 40 ВА.
Измерительная цепь питается от обмотки силового трансформатора усилителя.
При изменении напряжения питания силовой электрической цепи прибора на плюс 10% и минус 15% от номинального значения изменение показаний не превышает половины абсолютного значения предела допускаемой основной приведенной погрешности.
Изменение показаний прибора, вызванное изменением температуры окружающего воздуха от 200С до любой температуры в пределах от 5 до 500С, на каждые 100С не должно превышать 0.3% от нормирующего значения измеряемой величины.
Изменение показаний приборов, вызванное влиянием внешнего магнитного поля напряженностью 400 А/м, образованного переменным током частотой 50 Гц, при самых неблагоприятных фазе и направленности поля, не должно превышать 1.0% от нормирующего значения измеряемой величины.
Изменение показаний приборов, вызванное влиянием паразитного напряжения постоянного и переменного токов между любым измерительным зажимом и заземленным корпусом (продольная помеха), равного 100% диапазона измерения прибора и имеющего любой фазовый угол, не должно превышать половины предела основной допускаемой погрешности прибора.
Вариация показаний приборов при этом не должна превышать абсолютного значения предела основной допускаемой погрешности.
В уравновешенных мостах за диапазон измерения принимается произведение входного сопротивления на диапазон измерения тока датчика.
Заход указателя за крайние отметки шкалы должен быть не менее 1.0% от длины шкалы.
Прибор имеет устройство длительной многосуточной записи. Ширина линии записи не должна превышать 0.8 мм.
Вероятность безотказной работы за 2000 часов – 0.82%; средний срок службы – 6 лет; ресурс прибора до среднего ремонта должен быть не менее 16000 часов. Под вероятностью безотказной работы понимается вероятность того, что в данном интервале времени или в пределах заданной наработки не возникает отказ изделия.
3.3 Устройство и принцип работы.
3.3.1 Электрическая функциональная схема автоматического уравновешенного моста.

Рис. 2. Схема электрическая функциональная автоматического уравновешенного моста:
1 – реохорд; 2 – усилитель; 3 – электродвигатель; 4 – редуктор; R1, R7, R8 – резисторы измерительной схемы; Rt – сопротивление термопреобразователя.
Схема (рис. 2) представляет собой уравновешенный мост, состоящий из резисторов с постоянными сопротивлениями R>1>, R7,R8, сопротивления реохорда 1 с ползунком и сопротивления термопреобразователя Rt.
В одну из диагоналей моста через делитель подается напряжение 1.5 В (50 Гц), другая диагональ подключена к входу уравновешивающей системы, состоящей из усилителя 2 и электродвигателя 3. электродвигатель через редуктор 4 связан с ползунком реохорда, указателем и пером (последнее на схеме не показано).
При изменении контролируемой температуры меняется сопротивление термопреобразователя, что выводит из равновесия мостовую цепь. Появляется напряжение рассогласования, которое усиливается усилителем и приводит во вращение электродвигатель. Вал электродвигателя связан с движком реохорда так, что перемещение ползунка по реохорду продолжается до положения, обеспечивающего уравновешивание мостовой цепи.
Таким образом, положение ползунка и связанных с ним указателя и пера прибора однозначно определяет величину сопротивления термопреобразователя, и, следовательно, величину измеряемой температуры.
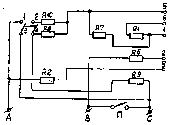
3.3.2 Схема электрическая принципиальная уравновешивающего моста.
Питание измерительной цепи (рис. 3) осуществляется напряжением 6.3 В переменного тока одной из обмоток усилителя.
Сопротивление резисторов R1,R2,R7,R8 мостовой цепи определяется расчетным путем для каждой градуировки и предела измерения прибора.

Рис. 3. Схема электрическая принципиальная уравновешенного моста КСМ3-ПИ.
Перечень элементов к схеме электрической принципиальной уравновешенного моста КСМ3-ПИ.
|
Обозначение |
Наименование |
Кол. |
|
С3, С4 |
Конденсатор К-50-6-15-50 неполярный |
2 |
|
С7, С8 |
Конденсатор МГБЧ-1-3а-500-0.5 |
2 |
|
В1, В2 |
Тумблер ТП1-2 |
2 |
|
М1 |
Электродвигатель конденсаторный асинхронный реверсивный Д-32 |
1 |
|
М2 |
Двигатель синхронный ДСД2-П1-220 |
1 |
|
Пр |
Предохранитель ВП1-1-1А |
1 |
|
R |
Намотка реохорда |
2 |
|
R3 |
Проволока ПдВ-20-0.2 |
280 мм |
|
R5 |
Проволока ПдВ-20-0.2 |
280 мм |
|
R11, R12 |
Резистор МЛТ-0.5-51 |
2 |
|
R17 |
Резистор IIСП-II-0.5-150 кОм +20%-В-ОС-3-16 |
1 |
|
D1-D4 |
Диод Д223А |
4 |
|
3 |
Усилитель У2-01-01 |
1 |
|
Ш |
Разъем внешних соединений |
1 |
Данные резисторов измерительной цепи прибора КСМ3-ПИ.
|
Обозначение градуировки |
Диапазоны измерений, 0С |
R1 |
R4 |
R7 |
R8 |
R10 |
|
Ом |
||||||
|
23 |
От –50 до 0 0т –50 до 50 |
300 |
9.88 20.66 |
300 |
51.39 60.58 |
9.22 20.10 |
Сопротивление обмотки реохорда составляет приблизительно 202 Ом (для намоток из сплава ПдВ-20) или около 85 Ом (для намоток из манганина). Обмотка реохорда шунтируется резистором R4, величина которого подбирается отдельно к каждому реохорду в зависимости от градуировки и предела измерений. Токосъемник реохорда имеет сопротивление такое же, как и обмотка реохорда, и для уменьшения наводок от магнитных полей закорочен.
Шлейфы служат для точной регулировки размаха шкалы прибора при градуировке, а также для компенсации погрешности, вызванной износом обмотки реохорда. Допускается включение одного шлейфа последовательно с обмоткой реохорда.
Резистор R6 служит для снижения напряжения питания измерительной цепи от обмотки 6.3 В силового трансформатора усилителя.
Так как длина и сечение проводов, соединяющих термопреобразователь сопротивления с прибором, могут быть различными в зависимости от места установки, то в измерительную цепь моста введены уравнительные катушки R2 и R9, сопротивление которых во время монтажа уменьшают на величину сопротивления соединительных проводов.
Начальное сопротивление уравнительной катушки составляет 2.5 Ом.
Третий соединительный провод цепи термопреобразователя вводят с целью уменьшения погрешности прибора от изменения сопротивления медных соединительных проводов при отклонении температуры окружающей среды от нормальной. В мостах также введен контроль исправности прибора. При установке переключателя в положение «контроль» и перемычки в положение «градуировка» клеммы А, В, С замыкаются и параллельно резистору R8 включается резистор R10, что вызовет разбалансировку схемы. Указатель должен установиться против красной отметки на шкале.
3.3.3 Обеспечение искробезопасности.
Искробезопасность измерительной цепи прибора обеспечивается:
Специальным конструктивным исполнением элементов и прибора;
Введением в схему стабилизированного источника питания ИПС3-01И и усилителя в искробезопасном исполнении У2-01-01;
Подсоединением датчика на отдельный клеммник, закрытый опломбированной крышкой;
Наличием на крышке приборной таблички с обозначением вида взрывозащиты, надписи «искробезопасная цепь» на крышке реохорда, а также на крышке, закрывающей переходную колодку;
Пломбированием шасси и крышки прибора;
Невзаимозаменяемостью штепсельных разъемов. Невзаимозаменяемость обеспечивается соответствующей длиной жгутов и различными типами разъемов;
Установкой на входе усилителя специального неразъемного искрозащитного блока, залитого термореактивным компаундом и состоящего из двух пар встречно-параллельно включенных диодов D1 - D4 и двух ограничительных резисторов R11, R12. при этом предусматривается дублирование диодов.
Жгуты искробезопасных цепей окрашены в синий цвет и отделены от искровых жгутов на расстояние не менее 8 мм. Монтаж искробезопасных цепей выполнен отдельными жгутами, заключенными в трубку или экранированными.
3.4 Конструкция прибора.
Прибор КСМ3-ПИ конструктивно выполнены в прямоугольном стальном корпусе, приспособленном для щитового монтажа. Корпус прибора закрыт крышкой с застекленным круглым окном, через которые видны шкала, диаграммный диск, указатель и перо с держателем. На лицевой стороне шасси установлены выключатель и предохранитель. Шасси прибора фиксируется в рабочем положении защелкой, расположенной справа на шасси. Чтобы открыть шасси, нужно нажать на рукоятку защелки вверх и потянуть шасси на себя.
На внутренней стороне шасси установлены реохорд, реверсивный двигатель, привод диаграммного диска, переходная колодка.
На задней стенке корпуса расположены: измерительный блок, усилитель, блок конденсаторов, разъем внешних соединений, переходная колодка.
При необходимости крышка прибора легко снимается, для чего достаточно нажать на верхнюю ось шарнира и утопить ее на глубину, равную толщине рамки корпуса. При снятии крышки нужно соблюдать осторожность – необходимо придержать ось рукой для предотвращения выталкивания ее пружиной.
Намотки реохорда и токосъемника размещены на пластмассовом каркасе, имеющем две кольцевые проточки. В качестве основания для намотки реохорда применяется изолированная медная проволока. Внутри каркаса расположены шунтирующий резистор и шлейфы. Шлейфы выполнены в виде натянутой петли, ветви которой соединяются между собой подвижными ползунками. После перемещения ползунков по петле они должны быть зафиксированы. Ползунок реохорда укреплен на металлическом рычаге, закрепленном на втулке, которая приводится во вращение реверсивным двигателем. Реохорд закрыт стальной съемной крышкой, которая защищает его от наводок, создаваемых электромагнитными полями, и одновременно предохраняет его от механических повреждений.
3.4.1 Усилитель.
В приборе устанавливается усилитель в искробезопасном исполнении У2-01-01.
Питание усилителя осуществляется от сети переменного тока напряжением 220 В, частотой 50 Гц.
Мощность, потребляемая полупроводниковым усилителем – не более 15 ВА.
Усилитель совместно с реверсивным двигателем Д-32 работают в качестве нуль-индикатора и предназначены для усиления напряжения постоянного тока с преобразованием его в переменный ток частотой 50 Гц, а так же переменного тока той же частоты.
Регулирование коэффициента передачи усилителя производится резистором R5, встроенном в усилителе, и R17, расположенном на выносном кронштейне слева от усилителя.
Искробезопасность входных и выходных цепей усилителя обеспечивается следующими способами:
Выведением цепей питания измерительной схемы моста на отдельный разъем Ш2 силового трансформатора;
Введением экранов в трансформатор усилителя и выведением первичной обмотки отдельно от остальных;
3.4.2 Реверсивный электродвигатель.
В приборе установлен реверсивный асинхронный электродвигатель Д-32 с обмоткой управления на 12 В. напряжение питания обмоток возбуждения – 127 В.
Электродвигатель предназначен для перемещения ползунка реохорда, указателя и пера, а также для приведения в действие других кинематических узлов прибора. Асинхронные конденсаторные электродвигатели Д-32 выполнены конструктивно вместе с редуктором, снижающим обороты электродвигателя до 24 об/мин или 72 об/мин на выходном валу редуктора, при номинальных напряжениях на обоих обмотках двигателя и номинальном моменте на валу.
Статор электродвигателя состоит из двух обмоток, намотанных на восьми одинаковых катушках. Каждая обмотка образует две пары явно выраженных полюсов. Обмотка управления двигателя включается на выход усилителя, а обмотка возбуждения через делитель, состоящий из двух конденсаторов, включается на напряжение питания 220 В.
Для согласования сопротивления управляющей обмотки с выходным сопротивлением усилителя предназначены конденсаторы С3 и С4 емкостью по 50 мкФ. Конденсаторы образуют с управляющей обмоткой резонансный контур, настроенный на частоту 50 Гц.
Номинальный момент М>н>=1700 гс*см при номинальном напряжении на обеих обмотках двигателя и скорости вращения выходного вала 24 об/мин. Потребляемая мощность – не более 12 ВА.
Ротор двигателя короткозамкнутый, типа беличьей клетки, собран из пластин электротехнической стали и вращается на шариковых подшипниках.
Двигатель рассчитан на режим длительной эксплуатации и особого ухода не требует. При нормальных условиях работы не реже двух раз в год следует промывать подшипники и шестерни редуктора бензином. Перед установкой ротора в корпус шарикоподшипники обильно смазать консистентной смазкой ЦИАТИМ-201. зубья шестерен заполнить, а остальные трущиеся части редуктора покрыть этой же смазкой.
После сборки двигатель необходимо проверить на напряжение трогания. Двигатель должен вращаться в обоих направлениях при напряжении на управляющей обмотке не более 0.6 В.
3.4.3 Измерительный блок.
Все резисторы измерительной цепи смонтированы в блоке, укрепленном на задней стенке корпуса. В том же блоке смонтированы с наружной стороны резисторы R2 и R9.
Выходные клеммы «плюс», «минус», A, B, C, имеющиеся в блоке, выведены снаружи на заднюю стенку прибора и закрыты съемной крышкой. На этой крышке нанесена надпись «Вход / Искробезопасная цепь».
Уравнительные резисторы R2 и R9 служат для подгонки сопротивлений присоединительных проводов термопреобразователя сопротивления до величины 2.5 Ом.
В блоке установлен переключатель, позволяющий переключать прибор из рабочего состояния в контрольное, а также перемычка. В положении «работа» перемычка из схемы исключена, а в положении «градуировка» используется в контроле исправности, замыкая клеммы B и C. Печатная плата с установленными на ней элементами схемы крепится к корпусу блока.
Плата блока покрыта со стороны монтажа специальным лаком, предохраняющим ее от окисления и замыкания при попадании на нее пыли. Схема электрическая соединений измерительного блока показана на рис. 4.

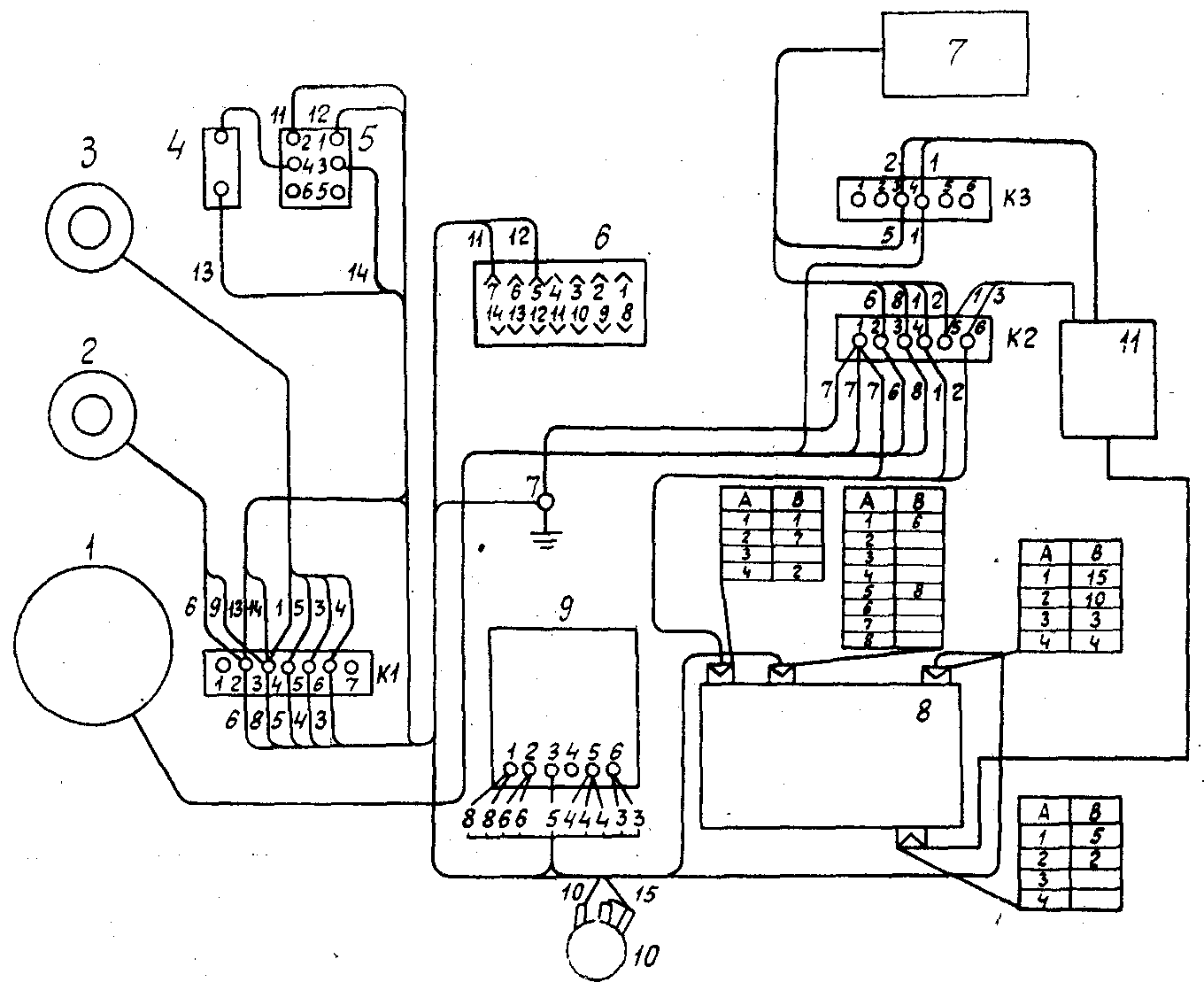
Рис. 4. Схема электрическая соединений измерительного блока моста.
3.4.4 Привод диаграммного диска.
Привод диаграммного диска состоит из синхронного двигателя ДСД2-П1-220, редуктора и фрикционной планшайбы. Последняя позволяет вручную правильно устанавливать диаграммный диск по отношению к указателю времени, укрепленному на плате прибора. Диаграммный диск надевается на ступицу планшайбы и закрепляется на ней быстросъемной шайбой. Скорость вращения диаграммы – 1 оборот за 24 часа. Двигатель привода диаграммы включается общим переключателем прибора.
3.4.5 Устройство записи.
В приборах установлена система для осуществления длительной записи.
Перо связано с указателем через шестерню реохорда и зубчатый сектор. Правильное положение пера на диаграммном диске устанавливается специальным регулировочным винтом, смещающим держатель пера по отношению к рычагу.
Перо можно снимать с держателя, на который оно насажено. Чернила наливаются в чернильницу, откуда по капилляру подаются на бумагу. Качество записи зависит от уровня чернил в чернильнице и может регулироваться изменением уровня. Например, при записи во всем диапазоне необходимо следить, чтобы уровень чернил совпадал с положением пера на середине диаграммного диска. По мере расходования чернил рекомендуется поднимать чернильницу.
В случае засорения или попадания в капилляр воздуха систему записи следует продуть через выступающий отвод в пробке чернильницы.
3.5 Порядок установки.
Прибор должен быть установлен в хорошо освещенном помещении с чистым и сухим воздухом и незначительно меняющейся температурой. Желательно иметь вокруг щита, на котором установлен прибор, застекленную перегородку, отделяющую его от остальной части помещения.
Прибор КСМ3-ПИ должен быть установлен только вне взрывоопасных помещений.
Для удобства обслуживания ось указателя должна находиться на высоте 1.4 - 1.6 м от уровня пола.
Желательно эксплуатировать приборы при температуре не выше 400С.
Схема внешних подключений приведена на рис. 5.

Рис. 5. Схема подключения прибора.
Питание к приборам подается через разъем РША, установленный на задней стенке корпуса.
Основные межузловые электрические соединения приборов показаны на рис. 6.
Нельзя располагать вблизи прибора мощные источники электромагнитных полей (силовые трансформаторы, дроссели, электродвигатели, электрические печи, неэкранированные силовые кабели и т.п.).
Питание прибора осуществляется напряжением 220 В переменного тока. При сильных помехах питание подается через разделительный трансформатор мощностью не менее 100 ВА. Не допускается прокладка проводов силовой цепи и измерительной линии в одном жгуте или трубе.

Рис. 6. Схема электрическая соединений.
1 – реохорд; 2 – электродвигатель привода диаграммного диска; 3 – электродвигатель реверсивный; 4 – предохранитель; 5 – переключатель; 6 – разъем внешних соединений; 7 – измерительный блок; 8 – усилитель; 9 – блок конденсаторов; 10 – резистор R17; 11 – блок искрозащитный; А – контакт; В – жила.
Прибор подключается к сети через плавкий предохранитель и двухполюсный выключатель. Заземление подключается к клемме «земля», расположенной на задней стенке прибора. Кабель термопреобразователя сопротивления присоединяется к клеммам блока А, В и С, выведенным на заднюю стенку корпуса прибора.
Нельзя допускать петель в соединительных проводах. Соединительные провода должны быть перевиты. Все соединительные и компенсационные провода от датчика должны быть по всей длине заключены в стальную трубу, надежно заземленную у прибора.
Подключать к прибору термопреобразователь сопротивления через уравнительные сопротивления следует в следующем порядке:
Закоротив клеммы головки термопреобразователя сопротивления медной проволокой небольшой длины, измерить суммарное сопротивление соединительных проводов попарно;
По результатам измерения составить три уравнения и определить по ним величину сопротивления каждого провода, идущего от датчика.
Отмотать от резистора R2, включенного в линию провода А, часть проволоки с сопротивлением, равным сопротивлению провода А, а от резистора R9, включенного в линию провода С, часть проволоки с сопротивлением, равным сопротивлению провода С. указанные измерения сопротивления и подгонку их производят с максимальной точностью до тысячных долей Ома.
Резисторы R2 и R9 прикрепить с внешней стороны под крышкой измерительного блока, припаять соединения и подключить ТСМ к прибору, предварительно сняв закорачивающую проволочку у его головки.
4. Усилитель У2-01-01.
4.1 Устройство.
Конструкция усилителя выполнена по блочно-модульному принципу и представляет собой набор функциональных блоков:
Усилитель предварительный УП
Усилитель оконечный УО
Трансформатор Тр
Блок УП выполнен в виде печатной платы с размещенными на ней элементами схемы.
Электрические соединения УП осуществляются с помощью штепсельного разъема, через который присоединяют к УП выходы измерительной схемы, и контактов для подпайки проводов межблочных соединений.
Оконечный усилитель УО выполнен на двух печатных платах. Электрические соединения с внешними цепями осуществляются штепсельным разъемом, укрепленном на блоке, межблочные контактами, расположенными на печатной плате.
Трансформатор Тр выполнен на магнитопроводе ШЛМ 20x25 и снабжен штепсельным разъемом для подключения питания и контактами для межблочных соединений.
|
Шифр усилителя |
Обозначение комплекта документации |
Обозначение комплектов документации модулей |
||
УП |
УО |
Тр |
||
|
У2-01-01 |
Б-12.647.70-02 |
Б-13.611.63-02 |
Б-13.611.65-01 |
Б-13.652.09-01 |
|
Позиционное обозначение блока |
Обозначение комплекта документации |
Применяемые в блоке унифицированные модули |
||
|
УП |
Б-13.611.63-02 |
Входной трансформатор Б-13.651.99 Модулирующий трансформатор Б-13.651.99-01 Выпрямитель Б-15.635.75 Прерыватель Б-15.635.76 |
4.2 Усилитель предварительный УП Б-13.611.63-02.
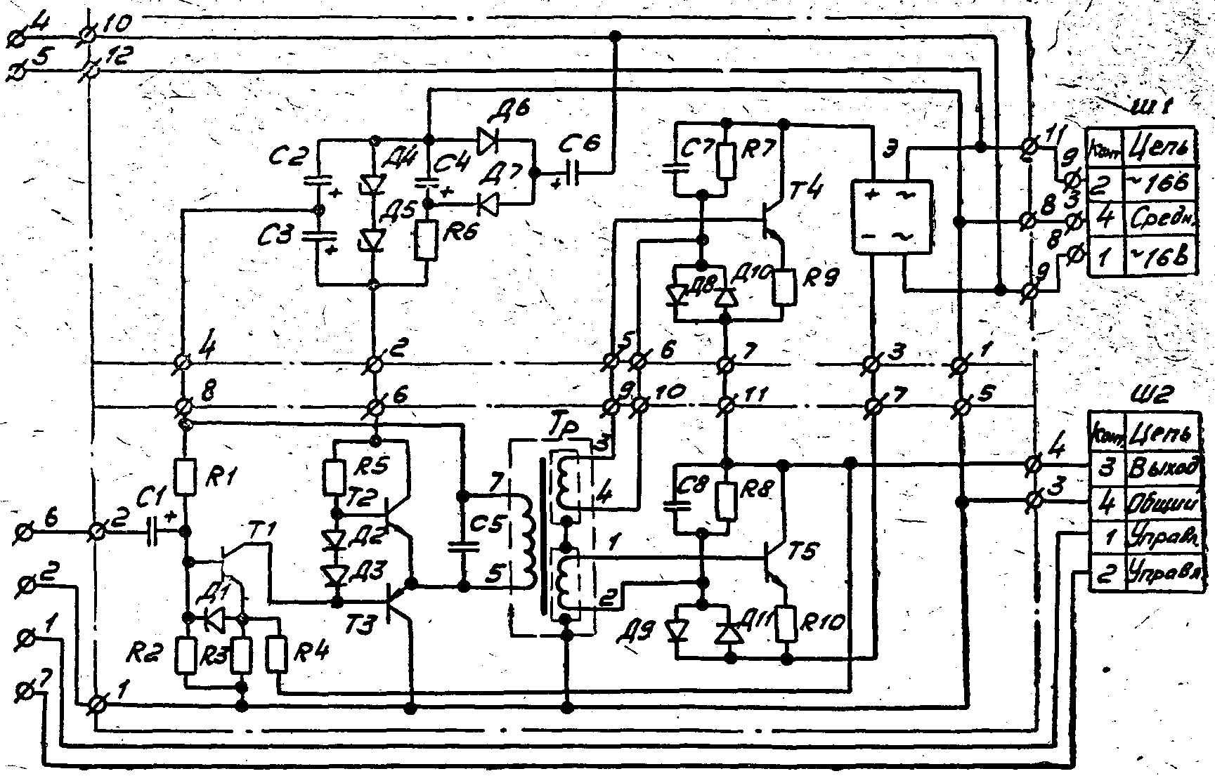
Схема электрическая принципиальная предварительного усилителя приведена на рис. 7.
Сигнал переменного тока поступает с измерительной схемы прибора через штепсельный разъем Ш (контакты 1, 2) на первичную обмотку входного трансформатора Тр2. Входной трансформатор гальванически разделяет цепь датчика прибора и общую точку схемы усилителя.

Рис. 7. Схема электрическая принципиальная усилителя предварительного УП Б-13.611.63-02..
С вторичной обмотки трансформатора Тр2 сигнал поступает на прямой вход (10) первого каскада усиления - Э2, выполненного на интегральной микросхеме.
Сигнал на выходе (5) Э2 находится в фазе с входным сигналом.
Инвертирующий вход (9) Э2 используется для введения с выхода сигнала отрицательной обратной связи. Глубина этой связи определяется требуемым усилением и стабильностью работы каскада. Глубина отрицательной обратной связи устанавливается соотношением величин резисторов R3, R4, R5.
Усиление каскада меняется за счет изменения глубины обратной связи с помощью переменного резистора R5. кратность регулировки усиления не менее 3.
Для предотвращения возбуждения каскада на высоких частотах используется конденсатор С1 и цепь R2, С2.для подавления второй гармоники, возникающей во входной цепи блока, или квадратурной составляющей усиливаемого сигнала служит прерыватель избирательной обратной связи (прерыватель) Э3, включенный в цепь отрицательной обратной связи Э2.
Принцип действия прерывателя основан на том, что отрицательная обратная связь каскада, осуществляемая по цепи прерывателя, не влияет на степень усиления сигнала, имеющего такой же фазовый сдвиг, что и напряжение, управляющее цепью коммутации прерывателя.
Питание прерывателя осуществляется от модулирующего трансформатора Тр1. для качественной работы прерывателя управляющее напряжение должно иметь прямоугольную форму, что достигается с помощью цепи, состоящей из диодов D1 и D2 и ограничительного резистора R6.
С выхода первого каскада усиливаемый сигнал поступает через разделительный конденсатор С3 на вход второго каскада усиления Э5.
Во втором каскаде к цепи ООС (выводы 4 и 5) может быть подключен внешний резистор для дистанционного изменения усиления всего усилителя. В эту цепь может быть подано также управляющее напряжение.
Питание обоих каскадов усилителя осуществляется от модуля выпрямителя Э4 с фильтрами и стабилизацией выпрямленного напряжения. Переменное напряжение подводится к выводам 2 и 4 выпрямителя. С вывода 1 снимается положительное, а с вывода 5 отрицательное, относительно общей точки (вывод 3), постоянное напряжение.
4.3 Усилитель оконечный (УО) Б-13.611.65-01.
Схема электрическая принципиальная приведена на рис. 8.

Рис. 8. Схема электрическая принципиальная усилителя оконечного.
Оконечный усилитель включает в себя предоконечный усилитель и усилитель мощности.
Предоконечный усилитель выполнен на транзисторах Т1, Т2, Т3. Первый каскад – усилитель на транзисторе Т1, включенном по схеме с общим эмиттером; второй каскад – повторитель, выполненный на транзисторах различной полярности, и отличается малым потреблением тока в режиме отсутствия сигнала.
Усилитель мощности выполнен на транзисторах Т4, Т5 по схеме последовательного питания. Элементы цепи смещения R7… R10, D8…D11 обеспечивают работу каскада в режиме АВ и его температурную стабильность.
Конденсатор С1 – переходной, С7, С8 – для предотвращения паразитной высокочастотной генерации.
Согласование предоконечного усилителя с усилителем мощности, а также инвертирование фазы для двухтактной схемы усилителя мощности осуществляется с помощью переходного трансформатора Тр.
Отрицательная обратная связь, осуществляемая через резистор R4, помимо стабилизации коэффициента передачи оконечного усилителя, уменьшает выходное сопротивление усилителя. Это способствует улучшению механических характеристик двигателя и снижению добротности замкнутой следящей системы, следствием чего является увеличение ее устойчивости.
Питание предоконечного усилителя осуществляется от выпрямителя, собранного по схеме удвоения со стабилизацией выходного напряжения. Элементы удвоения – С4, С6, D6, D7. элементы стабилизации – R6, D4, D5.
Питание усилителя мощности осуществляется от выпрямителя Э без фильтра.
Входной сигнал подается на выводы 2 и 6.
Переменное питающее напряжение подводится к контактам 9, 3, 8 оконечного усилителя и к контактам 1, 2, 4 штепсельного разъема Ш1 (Б-13.611.65). Цепь управления – выводы 1, 7 и контакты 1, 2 штепсельного разъема Ш2.
Выход на двигатель – контакты 3 и 4 штепсельного разъема Ш2. переменное питающее напряжение предварительного усилителя снимается с выводов 4 и 5.
4.4 Выпрямитель Б-15.635.75.

Рис. 9. Схема электрическая принципиальная выпрямителя Б-15.635.75
Перечень элементов к схеме электрической принципиальной выпрямителя Б-15.635.75.
Обозначение |
Наименование |
Кол. |
|
R1, R2 |
Резистор МЛТ-0.25-150 Ом +10% |
2 |
|
R3, R4 |
Резистор МЛТ-0.25-300 Ом +10% |
2 |
|
C1, C2 |
Конденсатор К50-6-15-100 |
2 |
|
D1, D2 |
Стабилитрон КС168А |
2 |
|
Э |
Диодная сборка КЦ407А |
1 |
Схема электрическая принципиальная приведена на рис. 9.
Диодный мост Э и обмотка трансформатора со средней точкой образуют два последовательно включенных, разной полярности выпрямителя, образованных двухполупериодными схемами со средней точкой каждый. На выходе выпрямителей включены Г-образные фильтры R3, С1 и R4, С2.
Выходные напряжения стабилизируются стабилитронами D1 и D2.
4.5 Прерыватель Б-15.635.76.
Схема электрическая принципиальная приведена на рис. 10.

рис. 10. Схема электрическая принципиальная прерывателя Б-15.635.76.
Прерыватель состоит из параллельно включенных цепей, образованных конденсатором С1 и интегральным прерывателем Э1 в одной цепи, затем С2 и Э2 – в другой. Прерыватели цепями управления включены таким образом, что когда прерыватель Э1 находится в открытом состоянии, прерыватель Э2 закрыт.
5. Использованная литература.
Потенциометры и уравновешенные мосты автоматические, приборы с токовым входом. Техническое описание и инструкция по эксплуатации.
Приборы автоматические следящего уравновешивания. Техническое описание и инструкция по эксплуатации.
Аналоговые электроизмерительные приборы: Учебное пособие для вузов по спец. «Информ. – измер. техника» / Е.Г. Бишард, Е.А. Киселева, Г.П. Лебедев и др., - 2-е изд., перераб. и доп. – М.: Высшая Школа, 1991 – 415 с.
Медные термометры сопротивления ТСМ. Техническое описание и инструкция по эксплуатации.
Усилители У-1, У-2, У-3. Паспорт.