Прибор с зарядовой связью
Содержание
1 Общие сведения о приборе с зарядовой связью (ПЗС)
2 Физические основы работы и конструкции приборов с зарядовой связью
3 Приборы с зарядовой связью в оптоэлектронике
4 Фотоприемные характеристики ПЗС
5 Строчные (линейные) ФСИ на ПЗС
6 Матричные (плоскостные) ФСИ
7 Перспективы развития ФСИ на ПЗС
Литература
1 Общие сведения о приборе с зарядовой связью (ПЗС)
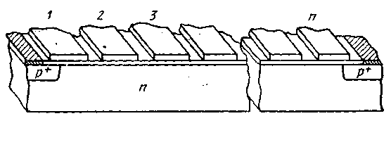
Прибор с зарядовой связью (ПЗС) представляет собой ряд простых МДП-структур (металл — диэлектрик— полупроводник), сформированные на общей полупроводниковой подложке таким образом, что полоски металлических электродов образуют линейную или матричную регулярную систему, в которой расстояния между соседними электродами достаточно малы (рис.1). Это обстоятельство обусловливает тот факт, что в работе устройства определяющим является взаимовлияние соседних МДП-структур [1—3].

Рис.1. Структура ПЗС
Принцип действия ПЗС заключается в следующем. Если к любому металлическому электроду ПЗС приложить отрицательное напряжение*), то под действием возникающего электрического поля электроны, являющиеся основными носителями в подложке, уходят от поверхности в глубь полупроводника. У поверхности же образуется обедненная область, которая на энергетической диаграмме представляет собой потенциальную яму для неосновных носителей — дырок. Попадающие каким-либо образом в эту область дырки притягиваются к границе раздела диэлектрик — полупроводник и локализуются в узком приповерхностном слое.
Если теперь к соседнему электроду приложить отрицательное напряжение большей амплитуды, то образуется более глубокая потенциальная яма и дырки переходят в нее. Прикладывая к различным электродам ПЗС необходимые управляющие напряжения, можно обеспечить как хранение зарядов в тех или иных приповерхностных областях, так и направленное перемещение зарядов вдоль поверхности (от структуры к структуре). Введение зарядового пакета (запись) может осуществляться либо p-n-переходом, расположенным, например, вблизи крайнего ПЗС элемента (электрод 1 на рис.1), либо светогенерацией. Вывод заряда из системы (считывание) проще всего также осуществить с помощью p-n-перехода (электрод п на рис.1.). Таким образом, ПЗС представляет собой устройство, в котором внешняя информация (электрические или световые сигналы) преобразуется в зарядовые пакеты подвижных носителей, определенным образом размещаемые в приповерхностных областях, а обработка информации осуществляется управляемым перемещением этих пакетов вдоль поверхности. Очевидно, что на основе ПЗС можно строить цифровые и аналоговые системы. Для цифровых систем важен лишь факт наличия или отсутствия заряда дырок в том или ином элементе ПЗС, при аналоговой обработке имеют дело с величинами перемещающихся зарядов.
Естественно, что заряд, введенный в МДП-структуру, не может храниться в ней неограниченно долго. Процесс термогенерации электронно-дырочных пар в объеме полупроводника и на границе раздела диэлектрик — полупроводник ведет к накоплению в потенциальных ямах паразитных зарядов и, следовательно, к искажению зарядовой информации, а с течением времени и к полному ее «стиранию». Это время может достигать сотен миллисекунд и даже десятков секунд, но, тем не менее, оно конечно и определяет существование нижней граничной частотьг. Таким образом, работа прибора основана на нестационарном состоянии МДП-структуры, и ПЗС являются элементами динамического типа.
Устройство и физика работы ПЗС определяют целый ряд очень интересных и полезных (а нередко и уникальных) особенностей этих приборов.
К числу важнейших функциональных особенностей ПЗС относятся возможность хранения, зарядовой информации; возможность направленной передачи зарядов вдоль поверхности полупроводникового кристалла; возможность преобразования светового потока в электрический заряд и последующего его считывания (сканирования). Достоинством ПЗС является малая потребляемая мощность (5—10 мкВт/бит в режиме передачи информации и практически полное отсутствие затрат энергии в режиме хранения), что обусловлено МДП-структурой этих устройств. Простота конфигурации и регулярность системы элементов в ПЗС ведет к тому, что быстродействие этих приборов может быть очень высоким (у специально сконструированных образцов предельные тактовые частоты лежат в гигагерцевом диапазоне).
Пожалуй, еще более важными являются конструктивно-технологические достоинства ПЗС, основными из которых являются технологическая ясность и простота (малое число фотолитографических, термодиффузионных и эпитаксиальных процессов при изготовлении прибора) — обязательное условие при создании качественных многоэлементных (с числом элементов 104—106) устройств; высокая степень интеграции (превышающая 105 элементов на одном кристалле) и высокая плотность упаковки (более 105 бит/см2); малое количество внешних выводов, что является определяющим при построении высоконадежных систем; отсутствие p-n-переходов (немногочисленные p-n-переходы ПЗС выполняют «подсобные» функции и к ним предъявляются достаточно «слабые» требования), что, в частности, открывает широкие возможности для использования наряду с кремнием других полупроводниковых материалов (например, арсенида галлия).
Все эти свойства открывают широкие перспективы для разнообразных применений ПЗС.
Для цифровой техники интересны сдвиговые регистры, оперативные запоминающие устройства, логические схемы. Линии задержки аналоговых сигналов на ПЗС по техническим характеристикам значительно превосходят свои акустические и магнитные аналоги.
В оптоэлектронной технике преобразования изображений ПЗС открывают принципиальные новые возможности для создания безвакуумных полупроводниковых формирователей видеосигналов. Присущее им самосканирование позволяет избавиться от громоздких и ненадежных высоковольтных вакуумных трубок со сканированием электронным лучом. ПЗС являются уникальными аналогами ЭЛТ, позволяющими одновременно с уменьшением массы, габаритных размеров, потребляемой мощности повысить надежность и качество формирователей видеосигналов. Дополнительное достоинство фотоприемников на основе ПЗС заключается в принципиальной возможности использовать разнообразные полупроводниковые материалы, что позволит перекрыть широкую область электромагнитного спектра (включая и ИК область).
Создание передающих телевизионных камер на основе ПЗС приведет в будущем не только к оснащению техники надежным «электронным глазом» (отметим, что в проекте создания средств искусственного зрения для человека ориентация делается также на ПЗС), но и к действительно широкому использованию средств телевидения в быту.
Если на многоэлементный или матричный ПЗС направить световой поток, несущий изображение, то в объеме полупроводника начнется фотогенерация электронно-дырочных пар. Попадая в обедненную область ПЗС, носители разделяются и в потенциальных ямах накапливаются дырки (причем величина накапливаемого заряда пропорциональна локальной освещенности). По истечении некоторого времени (порядка нескольких миллисекунд), достаточного для восприятия изображения, в матрице ПЗС будет храниться картина зарядовых пакетов, соответствующая распределению освещенностей. При включении тактовых импульсов зарядовые пакеты будут перемещаться к выходному устройству считывания, преобразующему их в электрические сигналы. В результате на выходе получится последовательность импульсов с разной амплитудой, огибающая, которых дает видеосигнал.
На этой основе создаются, учитывающие устройства для фототелеграфа, а также, передающие камеры (вплоть до камер полноформатного цветного телевидения). В будущем ПЗС найдут применение в качестве удобных матричных фотоприемников в сверхпроизводительных оптоэлектронных вычислительных машинах с параллельной обработкой информации.
Появление ПЗС (1969 г.) явилось результатом исследований в области физики и технологии МДП-приборов. Разработка этого нового направления полупроводниковой техники занимаются многие научные коллективы в разных странах мира и уже достигнуты весьма заметные результаты.
Созданы быстродействующие однокристальные ЗУ на ПЗС емкостью 8192, 16384 и 65536 бит с временем выборки 64—200 мкс и скоростью выдачи информации 1—5 МГц; на базе кристаллов емкостью 16 К (килобит) сконструировано ЗУ емкостью 1 Мбит с блочной выборкой по 256 бит. Разработана широкополосная линия задержки аналоговых сигналов емкостью 128 разрядов, предназначенная для использования в системах цветного телевидения; опробован коррелятор на ПЗС, позволяющий одновременно обрабатывать 40 000 дискретных значений сигнала с общей погрешностью менее 1%.
Имеются многочисленные сообщения о начале промышленного выпуска рядом фирм США (в первую очередь Bell и RCA) передающих телекамер с числом элементов разложения 200X200 и 500x500.
В то же время нельзя не заметить, что на пути широкого использования ПЗС стоит еще много нерешенных проблем — и в первую очередь технологическая: проколы диэлектрической пленки и закоротки электродных шин все еще не позволяют уверенно с высоким процентом выхода получать бездефектные ПЗС достаточно большой информационной емкости. Важнейшей технологической проблемой создания больших ПЗС с однослойной металлизацией является проблема получения узких (2—3 мкм) зазоров между электродами; основной технологический брак в таких структурах — закоротки. В структурах с многослойными кремниевыми затворами трудно получить высококачественный изолирующий диэлектрик между всеми уровнями поликремния.
В заключение хотелось бы отметить, что создание устройств на приборах с зарядовой связью, в особенности оптоэлектронных, является важным этапом в развитии больших интегральных схем и одним из первых реальных шагов по пути к функциональной микроэлектронике.
2 Физические основы работы и конструкции приборов с зарядовой связью
Динамику перемещения зарядовых пакетов в ПЗС проследим на примере трехкратного сдвигового регистра (рис.2).
В этой схеме каждый третий электрод подключается к соответствующей шине тактовых импульсов. В исходном состоянии (рис.2,а) под напряжением хранения

Рис.2. Схема трехтактного сдвигового регистра на ПЗС:
а - хранение информации в элементах 1. 4. 7; б – передача информации; в - хранение информации в элементах 2. 5, 8.
Uхр. =-U2 находятся электроды 1, 4, 7, а все остальные — под напряжением – U1 (U1<U2); подложка заземлена. Напряжение U1 выбирается немного большим порогового напряжения U0 (величина U0 для МДП-структуры определяется как минимальное напряжение на затворе, при котором наступает инверсия поверхности полупроводника) для того, чтобы вся ^поверхность полупроводника была обеднена и на поверхностных состояниях отсутствовали электроны. Допустим, что в потенциальных ямах 1, 7 есть зарядовые пакеты, а в 4 их нет. На следующем такте к электродам 2, 5, 8 прикладывается напряжение записи Uзап. = -U3(U3>U2) и заряды перетекают от ПЗС1 (строго говоря, в данном случае следует использовать термин «ПЗС-элемент» или «МДП-структура», так как речь идет об одном элементе прибора с зарядовой связью. Однако для сокращения здесь и в дальнейшем (если из контекста ясно, что речь идет об элементе) используется термин «ПЗС», а слово «элемент» опускается.) к ПЗС2 и от ПЗС7 к ПЗС8 (рис.2,б).

Рис. 3. Зонная диаграмма для ПЗС-элемента в режиме хранения информации: а - в первый момент после включения; б - в стационарном состоянии; 1 - металл; 2 - диэлектрик; 3 - обедненная область; 4 - нейтральная область полупроводника.
На следующем такте на электродах устанавливаются напряжения в соответствии с рис.2,в и начинается фаза хранения зарядовой информации в элементах 2, 5, 8.
Таким образом, для ПЗС характерны два режима работы: хранение и передача зарядовых пакетов. В режиме хранения ПЗС эквивалентен МДП-емкости. Зонная диаграмма поверхности полупроводника для режима хранения приведена на рис.3,а. Величина поверхностного потенциала, характеризующая изгиб зон и глубину потенциальной ямы, в начальный момент максимальна. При инжекции пакета дырок их положительный заряд экранирует подложку от поля, в результате чего происходит перераспределение внешнего напряжения: увеличивается часть напряжения, падающего на слое диэлектрика, поверхностный потенциал уменьшается (по абсолютной величине), и обедненная область сужается. С течением времени потенциальная яма заполняется до насыщения термогенерируемыми дырками и у поверхности образуется стационарный инверсный слой (рис.3,б). Величина поверхностного потенциала уменьшается (по абсолютной величине) до потенциала инверсии поверхности полупроводника φ0
В нестационарном состоянии поверхностный потенциал φ зависит от напряжения на затворе U3, плотности (на единицу поверхности) заряда дырок Qp и от электрофизических характеристик диэлектрической пленки и подложки:
(1)
где U'3
= U3
- UП3
= U3
- Uo
- φ0
+ UВ
- напряжение плоских зон;
-
коэффициент подложки; UB
= BOC
;
Сд = εдε0хд
- удельная
емкость диэлектрика затвора толщиной
хд . В
(1) и последующих выражениях используются
абсолютные значения потенциалов и
зарядов, что делает их применимыми для
р- и
n-канальных
ПЗС.
Зависимости φ(QP) для разные значений напряжений затвора приведены на рис.4.
При увеличении заряда дырок Qp от нуля до стационарного значения поверхностный потенциал уменьшается по абсолютной величине до потенциала инверсии φ0. Из графиков рис.4 видно, что зависимости φ(QP) практически линейны. Аппроксимированное выражение для φ имеет вид:
φ=(U'3-QP/Cд)(1+x), (2)
где х=0,1—0,2 — линеаризованный коэффициент подложки.
Максимальный заряд QPM, который может быть помещен в потенциальную яму при заданном напряжении U3, определяется из (1) при условии насыщения потенциальной ямы, т. е. при φ=φ0,

Рис.4. Зависимость поверхностного потенциала от величины локализованного в потенциальной яме заряда при разных напряжениях затвора:
N>д>=5-1014 см-3, U>o>=3.8 В.

Рис.5. Зависимость Q>PΣ> = Q>P> + Q>P>> пар> от времени хранения для различных значений информационного заряда Q>P>. Штриховой линией показаны составляющие заряды, накопленные за счет генерации в обедненной области (1) и на поверхности (2); Q>p>=0 (3); Q>p> /С>д> = 3В (4).
QPM = Сд (U3, — U0) (3)
Обычно QPM= (1—5) 10-3 пКл/мкм2.
Наглядным представлением потенциальной ямы ПЗС может служить прямоугольный сосуд с жидкостью. Максимальная глубина потенциальной ямы соответствует высоте пустого сосуда; но мере заполнения сосуда жидкостью его эффективная глубина уменьшается. Допустимое время хранения заряда определяется процессами, приводящими к накоплению паразитного заряда QP. В основном это термогенерация электронно-дырочных пар в обедненном слое и на поверхности, а также до некоторой степени диффузия неосновных носителей из объемной нейтральной области.
Расчет показывает, что при малых значениях накапливаемого паразитного заряда QP его зависимость от времени близка к линейной, в дальнейшем кривые становятся сублинейными, приближаясь к постоянному значению QPM, определяемому соотношением (3).
На рис.5 приведены расчетные кривые для U3 = 10 В, Nд=5·1014 см-3, U0=3,8 В, тепловая скорость υт=107 см/с, сечение захвата σv = 2,2-10-16 см2, плотность объемных центров Nоб=l,8·1014 см-3, плотность поверхностных центров Nпов=6·1010 см-2. При этих параметрах и при QP = 0 время накопления паразитного заряда, составляющего 1 % от QpM, равно 20 мс (для многоэлементных ПЗС, и в особенности для аналоговых устройств, большее накопление паразитного заряда недопустимо).
Максимальное время хранения можно определить и экспериментально, измерив время релаксации МДП-емкости, сформированной в тех же условиях, что и ПЗС, и включаемой таким же импульсом напряжения. Приближенно время накопления паразитного заряда, равного по величине информационному, на порядок меньше времени релаксации МДП-емкости. Опыт показывает, что в зависимости от качества обработки поверхности кремния и совершенства структуры подложки время релаксации лежит в пределах 1—60 с и соответственно время накопления паразитного заряда составляет 0,1— 6 с. Задаваясь требуемым соотношением между величинами информационного и паразитного зарядов, нетрудно рассчитать максимальное время хранения информации в ПЗС. При соотношении 100: 1 это время составляет десятки миллисекунд.
Еще раз отметим, что процессы накопления паразитного заряда определяют максимальное время хранения и минимальную частоту работы цифровых и аналоговые устройств на ПЗС, а также темновые токи в фотоприемных ПЗС. Передача заряда из элемента в элемент осуществляется приложением к соседнему электроду большего по амплитуде напряжения записи Uзап (рис.6). В зазоре между электродами (обозначим его длину через l) возникает тянущее поле, под действием которого дырки перетекают в более глубокую потенциальную яму.

Рис.6. Схема передачи заряда в ПЗС
По мере перетекания зарядов поверхностный потенциал в ПЗС1 увеличивается (по абсолютной величине), а в ПЗС2 уменьшается, в результате чего поле в зазоре уменьшается.
Очевидно, что напряжение записи Uзап должно превышать напряжение хранения Uхр тем значительнее, чем больше расстояние между электродами и чем сильнее легирована кремниевая подложка (рис.7). Из рисунка видно, что практически для работоспособных ПЗС ширина зазора не должна превышать l = 2-3 мкм, a Nд≤1015 см-3. Минимальная амплитуда импульса записи Uзап линейно увеличивается при возрастании UXP и QP.
Рассмотрим динамику переноса заряда из одного элемента (ПЗС1) в другой (ПЗС2) (рис.6). В режиме хранения к ПЗС1 приложен потенциал UXP, к ПЗС2 - нулевой потенциал. Заряд дырок плотностью Qp равномерно локализован в ПЗС1. После приложения к ПЗС2 потенциала записи Uзап>Uхр в зазоре между ячейками устанавливается тянущее поле, причем обычно напряженность его столь высока, что дырки, находящиеся вблизи левой границы ПЗС1, практически мгновенно переходят в ПЗС2. Концентрация дырок вблизи правой границы ПЗС2 очень быстро спадает до нуля (т. е. поле зазора действует аналогично полю обратного смещенного коллекторного p-n-перехода в транзисторе). Резкое изменение равномерности распределения дырок в ПЗС1 вызывает их интенсивный дрейф и диффузию внутри потенциальной ямы слева на право. Если положить l<<L и рассматривать одномерный случай, то, как обычно при таких процессах, для времени передачи заряда приближенно должно выполняться: tпер ~ L2/μpэ (4)


Рис.7. Зависимость минимальной амплитуды импульса записи от напряжения хранения (а), длины зазора (б) и концентрации примеси в подложке (в).
где L — длина затворов (электродов) ПЗС;
μрэ—поверхностная эффективная подвижность.
Очевидно, что
коэффициент пропорциональности в (4)
зависит от того, какой коэффициент
эффективности передачи
требуется
получить. Обычно для многоэлементных
ПЗС этот уровень очень высок и составляет
= QРППЗС2/
QРП
ПЗС1 = 0,99-0,9999,
где QPП — полный заряд в одной ячейке.

Рис.8. Зависимость
нормализованного заряда Q=1-
времени передачи для приборов с
параметрами: L=6
мкм,
μ>рэ>=180
см2/В·с;
численный расчет; _приближенное
аналитическое решение.
По мере перетекания
заряда из ПЗС1 в ПЗО2 концентрация
дырок в ПЗС1, а следовательно, и дрейфовая
составляющая тока уменьшаются и процесс
передачи, определяемый только диффузией,
замедляется -«хвост» переходного
процесса всегда более затянут по
сравнению с начальной фазой (рис.8). Чем
больше начальная плотность заряда Qp,
тем большая
его часть «вытечет» за время первой
быстрой стадии и тем меньше (при заданном
допустимом значении
)
будет время
передачи tпер.
Эпюры распределения плотности Заряда
дырок в различные моменты времени
представлены на рис.9. Через левую границу
ПЗС1 потока дырок нет, поэтому на графиках
рис.9 в любой момент времени градиент
концентрации дырок в этой точке равен
нулю.

Рис.9. Эпюры распределения Qp(y) в различные моменты процесса передачи
Наглядной аналогией процесса передачи заряда является вытекание вязкой жидкости из прямоугольного сосуда, торцевая стенка которого (соответствующая правой границе потенциальной ямы ПЗС) отодвинута так же, как и в ПЗС, чем больше начальный уровень жидкости, тем быстрее выльется заданная ее часть.

Рис.10. Зависимости коэффициента потерь ε>1> от времени передачи для ПЗС с разной длиной электродов.
Для большинства реальных структур ПЗС размеры L и l соизмеримы и очень малы; при этих условиях; становится существенным эффект проникновения краевого поля Еkр (которое мы выше считали полностью сосредоточенным в зазоре) в область ПЗС1, что оказывает определяющее влияние на перетекание оставшейся части зарядового пакета.
Рассмотрим важнейшую
характеристику ПЗС — эффективность
передачи заряда
,
представляющую
собой часть заряда дырок, перешедшую
из ПЗС1 в ПЗС2 за время передачи. При
заданном допустимом уменьшении
^зарядового пакета значение
определяет
максимальное количество элементов,
через которое информация может быть
передана без восстановления. Часто
оказывается удобнее использовать
понятие потери (неэффективности) передачи
ε =1—
.
При конечном времени передачи потери
заряда обусловлены, во-первых, тем, что
за t=tnep
часть заряда
ε1 просто не успевает перетечь в соседнюю
ячейку и, во-вторых, захватом части
носителей ε2 поверхностными ловушками.
Составляющая ε1 определяет потери
передачи на высоких частотах, ε2—на
низких и средних частотах работы.
Рассмотрим подробнее захват носителей поверхностными ловушками. Если, например, в ПЗС1 поступает информационный пакет, то часть дырок захватывается
границей раздела диэлектрик — полупроводник. На следующем такте зарядовый пакет перетекает в ПЗС2, равновесие между инверсным слоем и поверхностными ловушками нарушается, и они начинают разряжаться. Те носители, которые освобождаются ловушками за t=tnep, успевают вернуться в зарядовый пакет, остальные образуют потери передачи ε2 . Потери ε2зависят не только от плотности поверхностных ловушек и величины зарядового пакета, но и от характера предшествующей зарядовой информации, передаваемой через данный элемент. Если передается серия логических 1 (которой соответствуют большие зарядовые пакеты), то потери ε2 будут максимальны в первом зарядовом пакете и будут уменьшаться в последующих, так как часть ловушек, захвативших заряды от первого пакета, не успеет разрядиться к приходу следующего и эти ловушки не будут участвовать в захвате носителей. Наихудшим случаем с точки зрения потерь ε2 является передача чередующейся последовательности логических 1 и 0. В этом случае выражение для ε2 имеет вид:
(5)
где Nл — плотность поверхностных ловушек; т = 2, 3 ... — количество управляющих тактов; Сд(U3—U0) — величина зарядового пакета. В типичных структурах ε2=(2—3) 10-3 и в первом приближении не зависит от тактовой частоты.
Влияние поверхностных состояний может быть уменьшено, если в цепочку ПЗС (в каждый зарядовый пакет) ввести некоторый фоновый заряд, заполняющий поверхностные ловушки. В результате потери информационного заряда при передаче уменьшаются. Неполное устранение влияния ловушек объясняется рядом причин, главными из которых являются краевой эффект и захват носителей не только при хранении, но и во время протекания зарядового пакета через ПЗС и зазор.
Краевой эффект возникает из-за двумерности распределения электрического поля в реальных ПЗС, что делает потенциальные ямы не прямоугольными, а закругленными. Следовательно, площадь поверхности занимаемая пакетом, будет зависеть от величины заряда и всегда будет больше площади, занимаемой меньшим по величине фоновым зарядом. Поэтому поверх постные ловушки, расположенные у краев электрода, где фонового заряда нет, будут пустыми и смогут захватывать носители из зарядного пакета. Потери заряда or этого эффекта составляют (4-5)10-4.
Захват носителей в процессе передачи главным образом связан с тем, что в зазоре фонового заряда нет и поэтому ловушки не заполнены. Обусловленная этим неэффективность составляет (2—3) 10-4. Таким образом, введение фонового заряда не позволяет выполнить условие ε2→0, но в несколько раз уменьшает потери передачи, обусловленные захватом носителей поверхностными ловушками.
В заключение рассмотрим фоточувствительность ПЗС. Одним из факторов, определяющих фоточувствительность, является коэффициент поглощения , который характеризует интенсивность поглощения фотонов (с образованием электронно-дырочных пар). Коэффициент поглощения резко уменьшается при увеличении длины волны падающего света. Поэтому область длин волн, в которой осуществляется эффективное преобразование светового потока в информационные заряды (называемая областью спектральной чувствительности) ограничена. Длинноволновая граница определяется шириной запрещенной зоны полупроводника и для кремния составляет 1,1 мкм. Коротковолновая граница составляет 0,4—0,5 мкм и обусловлена сильным поглощением коротковолновых квантов света в узком приповерхностном слое, в котором интенсивно происходит рекомбинация фотогенерируемых носителей.
Если считать, что все возбужденные носители собираются ПЗС, то зарядный пакет Qpn, накапливаемый за время генерации (интегрирования) ta под действием светового потока Нш, может быть рассчитан по следующему приближенному выражению:
QPП = qHизθtи·Aэ , (6)
где θ — квантовый выход; Аэ — часть площади элемента, воспринимающая свет. Для ПЗС θ=1, этому соответствует фоточувствительность порядка 500 мкА/лм. Пороговая чувствительность, при которой сигнал превышает шумы примерно в 2 раза, составляет для ПЗС около 10-4 лк·с. Фотоприемное устройство на ПЗС можно освещать со стороны затворов (электродов) или с обратном стоны.
3 Приборы с зарядовой связью в оптоэлектронике
Одним из важнейших направлений развития оптоэлектроники является создание телевизионной системы на базе интегральных схем, начиная от передающей системы и кончая экраном.
Основой телевизионной передающей системы (рис.11) является формирователь сигналов изображений (ФСИ), называемый также формирователем видеосигналов (ФВС). ФСИ преобразует изображение в адекватную ему последовательность электрических импульсов. Большинство телевизионных передающих камер основано на использовании видикона, представляющего собой электронно-лучевую трубку (ЭЛТ), на торцевую поверхность которой нанесена мишень в виде слоя высокоомного фотопроводника. Сканирование осуществляется электронным лучом.
Передаваемое изображение с помощью объектива проецируется на мишень, отдельные участки которой заряжены электронным лучом до определенного потенциала. Сопротивление каждого участка фотопроводящего слоя зависит от его освещенности. Поэтому в интервале между двумя последовательными подзарядками участки с различной освещенностью разряжаются по-разному и при последующем сканировании ток электронного луча, создающий видеосигнал, изменяется в соответствии с изображением.

Рис.11. Структурная схема телевизионной передающей системы:
1 - объект; 2-линза; 3-формирователь сигналов изображений; 4 - усилитель; 5 - блок хранения сигнала: 6 - блок считывания сигнала; 7 -формирователь видеосигнала; 8 - видеоусилитель
Основной недостаток видиконов (а также их разновидностей: плюмбиконов, кремниконов и т. д.) связан с необходимостью использовать высоковольтные вакуумные системы. Это обусловливает низкие долговечность и надежность устройств, значительные габаритные размеры и массу, невысокую механическую прочность и другие недостатки, присущие всем вакуумным приборам.
При создании твердотельных формирователей сигналов изображений для обеспечения сканирования пытаются использовать (но пока безуспешно) различные физические эффекты: эффект Суля, дрейф неосновных носителей заряда, движение доменов сильного поля и др.
Формирователи сигналов изображений на ПЗС по сравнению с ЭЛТ различного устройства характеризуются конструктивной и технологической простотой, малыми габаритными размерами и массой, значительной долговечностью и надежностью и малой потребляемой мощностью. Эти преимущества обусловлены самосканированием (передача зарядовых пакетов на выход ФСИ осуществляется с помощью самих ПЗС-элементов). Имение это конструктивно-технологическое интегрирование функций фоточувствительных и сканирующих элементов в одном приборе позволяет считать ПЗС наиболее перспективными для создания полностью твердотельных ФСИ.
4 Фотоприемные характеристики ПЗС
ПЗС-элементы в формирователе сигналов изображений работают в трех режимах: восприятие (интегрирование) изображения, т. е. преобразование светового потока в зарядовые пакеты; хранение зарядовых пакетов; передача (сканирование) зарядовых пакетов на выход устройства. В режиме восприятия изображений световой поток от объекта падает на поверхность ФСИ и вызывает генерацию электронно-дырочных пар в полупроводниковой подложке. В областях кристалла, соответствующих потенциальным ямам ПЗС, носители разделяются, в результате чего в ФСИ накапливается «картина» зарядовых пакетов, соответствующая воспринимаемому образу.
Основными фотоприемными характеристиками ФСИ являются светочувствительность, пороговая светочувствительность, область спектральной чувствительности, разрешающая способность, время интегрирования, частотно-контрастная характеристика, шумы, динамический диапазон. Часть этих .характеристик (светочувствительность, область спектральной чувствительности, время интегрирования) относится к одному ПЗС-элементу и рассмотрена в гл. 1. Другие характеристики зависят or количества передач зарядовых пакетов, от шумов, от вида выходных устройств и т. д., т. е. от способа организации ФСИ.
Разрешающая способность R определяется максимальным количеством линий (отнесенных к одному миллиметру), которое еще может быть воспринято данным ФСИ без их слияния в одно целое. Очевидно, что в ПЗС максимальная разрешающая способность определяется длиной одного светочувствительного элемента L3 и равна
Rмакс=1/LЭ. (7)
Для трехтактных ПЗС LЭ=3(L + l), где L — длина электрода; l — длина зазора между электродами. Минимальным значением L = 3 мкм и l=3 мкм соответствует разрешающая способность Rмакс≈50 линий/мм. Под разрешающей способностью иногда также понимают общее количество элементов изображения, воспринимаемых всем ФСИ (например, 500x500 элементов).
Реальная разрешающая способность ПЗС ниже рассчитанной по формуле (4). При малых уровнях освещенности в светочувствительных ПЗС-элементах накапливаются малые зарядовые пакеты и большую роль начинают играть шумы. В этом случае минимальный размер светочувствительного элемента определяется не технологией, а условием получения требуемого отношения сигнал/шум ks/N = 3-5.
Шумы в ПЗС можно разделить на две группы: шумы, обусловленные процессом восприятия изображения, и шумы, связанные с режимом передачи зарядовых пакетов. К первой группе относятся белый шум в потоке падающих фотонов (флюктуации плотности потока) и флюктуации фонового заряда.
Шумы фонового заряда зависят от способа его введения. Если фоновый заряд накоплен за счет термогенерации, то его флюктуации характеризуются белым шумом. К шумам, возникающим при сканировании, относятся шумы, обусловленные неполной передачей зарядов, и шумы, обусловленные захватом носителей и перезарядом быстрых поверхностных состояний при прохождении зарядовых пакетов. Еще одним возможным источником шумов является выходной усилитель фотосигналов(Сус).Шумы этого вида являются основным фактором, ограничивающим разрешающую способность в кремниконах, так как при их использовании усилитель выполнен на отдельном кристалле и за счет этого его входная емкость достигает 10—20 пФ. В ФСИ на ПЗС выходной усилитель может быть сформирован а том же кристалле (что исключает монтажные емкости и емкость корпуса), и его входная емкость складывается из емкости «плавающей» диффузионной области и емкости затвора МДП-транзистора. В этом случае Сус = 0,2—0,5 пФ и поэтому шумы, связанные с выходным усилителем, незначительны.
Разрешающая способность ПЗС при низких уровнях освещенности ограничена главным образом шумами в фоновом заряде и шумами процесса захвата носителей. Зависимости рис.12 показывают, что разрешающая способность ограничена шумами при Hизtи<108—109 см-2 (что соответствует величине 10-4- 10-3 лк·с).

Рис.12. Расчетная зависимость разрешающей способности ФСИ на ПЗС емкостью 500X500 элементов от уровня освещенности при разных источниках шумов: 1 - неполная передача зарядов; 2 - быстрые поверхностные состояния; 3 - тепловой шум в фоновом заряде; 4 - экспериментальная кривая для кремнекона А>ъ>=25X25 мкм2, С>из>=0,2. t>и>=0.1 с, k>S>>/>>N>=5
Минимальная площадь одного элемента значительно превышает минимальную «технологическую» и составляет около Аэ≈400 мкм2. Выше уровня 109 см2 разрешающая способность определяется минимальными геометрическими размерами светочувствительных элементов. Приведенная на этом же рисунке экспериментальная кривая для кремнекона наглядно демонстрирует преимущество ПЗС при низких уровнях освещенности.
Реальное изображение характеризуется непостоянным потоком Низ(у, z) в плоскости ФСИ. За счет искажений, вносимых ФСИ в процесс преобразования светового потока в «картину» зарядовых пакетов и последующего сканирования зарядов на выход, минимальный размер элемента передаваемого изображения будет больше размера ПЗС-элемента, определяемого шумами или технологией.
Для объективной оценки разрешающей способности ФСИ используется частотно-контрастная характеристика (ЧКХ)( MTF(madulation transfer function).), описывающая изменение амплитуды светового сигнала и сдвиг по пространственной фазе на выходе системы (например, на экране телевизионного приемника) при изменении пространственной частоты входного гармонического сигнала. Любое реальное изображение Hиз может быть разложено в ряд Фурье по пространственным частотам. Так как амплитуды и фазы отдельных гармоник будут искажаться по-разному, то на выходе системы получится искаженное изображение. Поэтому с помощью ЧКХ можно определить искажения, вносимые ФСИ при передаче реального изображения. Частотно-контрастная характеристика определяет передающую систему с точки зрения качественности передачи информации от объекта до наблюдателя. Различные устройства (оптические, фотоэлектронные, электронные, механические и т. д.), вводящие в телевизионную систему, вносят искажения в передаваемую информацию. Частотно-контрастная характеристика и учитывает эти искажения. Аналогией ЧКХ в электронных системах являются амплитудно-частотная и фазочастотная характеристики. Изменение ЧКХ происходит вследствие действия трех факторов: дискретности расположения светочувствительных элементов (изменяющийся в пределах одного элемента световой сигнал представляется усредненным зарядовым пакетом); диффузионного расплывания фотогенерируемых носителей под соседние элементы; потерь зарядов при их переносе.
ЧКХ формирователя сигналов изображений на ПЗС определяется совместным действием всех трех факторов. Поскольку эти факторы являются независимыми, то для получения ЧКХ необходимо перемножить амплитуды и сложить фазы, обусловленные разными эффектами.
Ранее уже отмечалось, что реальное изображение можно разложить в ряд Фурье по пространственным частотам. При передаче через ФСИ гармоники с большей пространственной частотой будут иметь большее затухание по амплитуде и больший фазовый сдвиг, т. е. будут сильнее искажаться по сравнению с низкочастотными. Задаваясь определенным уровнем искажений (по амплитуде и по фазе) и используя ЧКХ, можно определить реальную разрешающую способность ФСИ на ПЗС. При А = 0,2 разрешающая способность оказывается в 2—3 раза меньше предельной Rmax , вычисляемой исходя из размеров ПЗС (4.1), а при А =0,5 — в 3—4 раза меньше. Таким образом, реальная разрешающая способность ФСИ на ПЗС оказывается равной 20—30 линий/мм.
Динамический диапазон, определяемый как диапазон значений освещенности изображений, который может быть передан без искажений с помощью ФСИ, для ПЗС составляет 1000:1. Нижняя граница этого диапазона определяется шумами, а верхняя — насыщением потенциальных ям ПЗС и растеканием зарядов при их переполнении. Если на ФСИ падает сильный световой поток, то за время интегрирования потенциальные ямы ПЗС переполняются. Это приводит к двум нежелательным эффектам: во-первых, после заполнения зарядовый пакет, локализованный в потенциальной яме, остается постоянным независимо от уровня освещенности, во-вторых, избыточные заряды под действием диффузии растекаются в соседние ячейки, искажая хранящуюся в них информацию, В конечном итоге это приводит к расплыванию передаваемого изображения, для устранения которого формируют дополнительные обратносмещенные р-n-переходы, собирающие избыточные носители.
5 Строчные (линейные) ФСИ на ПЗС
Широкое распространение получили две разновидности ФСИ на ПЗС: строчные (линейные), воспринимающие за один период интегрирования линию изображения, и матричные (плоскостные), в которые весь образ записывается сразу.
Некоторые положения по организации ФСИ являются общими для обоих типов устройств. Прежде всего должно быть обеспечено два режима работы устройства: восприятие светового потока изображения и последовательный вывод зарядовых пакетов к выходу. Используются два принципа: временное или пространственное разделение режимов восприятия и сканирования.
При разделении во времени обе функции ФСИ (восприятие и сканирование) выполняются с помощью одних и тех же ПЗС-элементов за счет усложнения схем управления. Во время восприятия светового потока на соответствующих ПЗС (в трехтактной схеме на каждом третьем электроде) устанавливаются потенциалы хранения, обеспечивающие накопление фотогенерируемых носителей. Все остальные электроды находятся при нулевом потенциале. После восприятия оптической информации на электроды подается последовательность тактовых импульсов, обеспечивающая перемещение зарядовых пакетов информации к выходу.
При разделении обеих функций в пространстве формирователь должен включать в себя две области: светочувствительную область, которая воспринимает световой поток и преобразует его в картину распределения зарядов, и защищенную от света область хранения, в которую после интегрирования передается вся картина распределения зарядов. В следующем затем режиме сканирования информация из этой области передается на выход.
В первом методе все элементы используются в качестве светочувствительных ячеек. Использование всей площади кристалла позволяет получить максимальное разрешение. Недостатком этого метода является усложненение электронного обрамления (управляющих схем), некоторое уменьшение интервала времени, отводимого на интегрирование изображения, и влияние засветки, поскольку за время кадра информация должна быть не только воспринята, но и передана на выход.
Во втором методе для получения той же разрешающей способности требуется удвоенное количество элементов. Соответственно должна быть увеличена и площадь кристалла. К достоинствам метода кроме увеличения длительности интегрирования (вся продолжительность кадра) относится и то, что сканирование осуществляется в области, защищенной от света с незначительным искажением информации.
Применимость того или иного метода определяется достижимыми характеристиками ПЗС и, наоборот, требования к параметрам элементов определяются выбранным методом сканирования. Оба принципа — и временное, и пространственное разделение — нашли достаточно широкое распространение.
Перейдем к рассмотрению возможной организации строчных ФСИ (рис.13). В этом устройстве имеется три области: центральная светочувствительная полоска ПЗС, покрытая прозрачным антиотражающим материалом, и две защищенные от света области передачи зарядовых пакетов, расположенные по обе стороны от светочувствительной области и связанные с выходным СР. Электроды центральной области 1 находятся под потенциалом хранения Uхр, обеспечивающим накопление в ПЗС фотогенерируемых зарядов. После восприятия изображения на связывающие электроды 3 поступают импульсы передачи Фх и зарядовые пакеты поочередно сдвигаются в правую и в левую передающие области 2 благодаря соответствующему расположению электродов 3. Затем включаются цепи тактовых импульсов Ф1, Ф2, Ф3 и заряды последовательно перемещаются к двухразрядному СР. Следующий этап — перевод зарядов в выходную схему считывания на МОП-транзисторах, сформированную на том же кристалле, и превращение их в видеосигнал.
Благодаря наличию двух областей передачи, в которые распределяются зарядовые пакеты, число переносов уменьшается вдвое. Например, если светочувствительная область содержит. 500 воспринимающих электродов, а для передачи используется трехтактная система, то каждая передающая область должна содержать по 250 ПЗС-элементов или 750 электродов (так как в трехтактной системе каждый передающий ПЗС-элемент состоит из трех электродов). Следовательно, число переносов для самой удаленной от выхода точки составит 750.

Рис.13. Организация строчного ФСИ с отдельными светочувствительной и передающей областями:
1 - электроды светочувствительной области; 2 - передающие электроды: 3 - связывающие электроды; 4 - двухразрядный сдвиговый регистр; 5 – выходная схема считывания
Выходная схема считывания состоит из плавающей диффузионной области D, МДП-транзистора T1, восстанавливающего потенциал этой области, и транзистора Т2, на затвор которого воздействует изменение потенциала плавающей диффузионной области, пропорциональное поступившему зарядовому пакету. Транзистор Т2 обычно является входом истокового повторителя. Импульсная диаграмма выходных сигналов приведена на рис.14. В такте Фл, совпадающем по времени с тактом Ф'з, диффузионная область D через восстанавливающий транзистор 77 заряжается до высокого отрицательного напряжения, равного Е. Затем в такте Ф'з очередной зарядовый пакет поступает на диффузионную область D, вызывая изменение ее потенциала.

Рис.14. Импульсная диаграмма сигналов на выходе строчного ФСИ
При использовании строчных ФСИ развертка изображения по вертикали осуществляется механическим сканированием с помощью зеркального барабана или качающегося зеркала, которые последовательно направляют полоски изображения на ФСИ. Малогабаритная камера, разработанная на основе строчного ФСИ, обеспечивает передачу 8 кадров в секунду, имеет размеры 51X102X76 мм3 и потребляет мощность 2,5 Вт.
Строчные ФСИ используются главным образом в фототелеграфии и реже в телевидении. Отдельные фрагменты рисунка, помещенного на вращающийся барабан, через щелевой экран поступают на линзу, которая фокусирует их на фотосчитывающую ПЗС-линейку. В результате последовательно передаются все фрагменты изображения, которые после преобразования в видеосигналы позволяют передать и воспроизвести изображение.
6 Матричные (плоскостные) ФСИ
Устройства на основе строчных ФСИ позволяют передавать изображение с низкой скоростью и не обеспечивают высокого качества видеосигналов. Поэтому телевизионные передающие камеры строят главным образом на основе матричных ФСИ.
Используются четыре основных способа организации матричных формирователей сигналов изображений на ПЗС: кадровая, строчная, строчно-кадровая, адресная. Эти организации отличаются способом считывания картины зарядовых пакетов.

Рис.15. ФСИ с кадровой организацией:
1 - каналоограничивающая диффузионная область; 2 - оптическая секция; 3 - элемент изображения; 4 - секция хранения; 5 - выход видеосигнала; 6 - выходной затвор
ФСИ с кадровой организацией состоит из трех секций (рис.15): фотоприемной (оптической), представляющей собой матрицу ПЗС требуемого формата; секции хранения того же формата, в которой хранится картина зарядов; секции считывания, состоящей из СР на ПЗС и выходного считывающего элемента, преобразующего зарядовые пакеты в видеосигналы.
Картина зарядов, накопленные в фотоприемной секции, после окончания кадра с помощью соответствующей последовательности тактовых импульсов быстро сдвигается в секцию хранения. Таким образом, после восприятия изображения весь кадр сдвигается в секцию хранения и фотоприемная секция готова к приему следующего кадра. В течение времени формирования следующего кадра информация из секции хранения построчно передается в выходной СР, откуда она поэлементно передается на выходной считывающий элемент (подобно тому, как в строчном ФСИ). Тактовая частота сдвига в выходном регистре должна быть в r раз (где r — количество элементов в одной строке) выше тактовой частоты в секции хранения для того, чтобы к моменту поступления в регистр следующей строки обеспечить передачу на выход всех зарядовых пакетов предыдущей строки.
Достоинствами кадровой организации процесса Сканирования являются высокое качество передаваемого изображения, возможность чересстрочной развертки, топологическая простота и регулярность кристалла. Высокое качество видеосигналов достигается благодаря тому, что после восприятия изображения картина зарядов быстро сдвигается в защищенную от света секцию хранения и поэтому не происходит дополнительной засветки при сканировании, вызывающей искажения видеосигналов. Чересстрочная развертка является прогрессивным методом считывания информации, позволяющим вдвое уменьшить частоту следования видеосигналов при сохранении того же качества изображения. В ФСИ на ПЗС она может быть получена следующим образом.
В трехтактной системе каждый светочувствительный элемент содержит три электрода. При интегрировании изображения только один из них находится под напряжением смещения и накапливает заряды, два остальных электрода необходимы для направленной передачи зарядов и используются только при сдвиге картины зарядов в секцию хранения. Такую избыточность электродов в режиме восприятия изображения можно использовать так. В течение первого полукадра напряжение смещения подается на одну группу электродов, например, на первые электроды светочувствительных элементов. Накопленные заряды сдвигаются в секцию хранения. В течение второго полукадра напряжение смещения подается на все электроды, и заряды накапливаются под ними. Следовательно, один и тот же светочувствительный ПЗС-элемент используется для восприятия различных элементов изображения, т. е. применение чересстрочной развертки позволяет вдвое увеличить разрешающую способность матрицы на ПЗС при сохранении того же количества элементов. Примером этого служит разработанная фирмой RCA передающая камера, имеющая 256X320 светочувствительных элементов и обеспечивающая в то же время получение 512X320 элементов разложения, т. е. практически полный телевизионный стандарт.
Третье достоинство ФСИ с кадровой организацией состоит в топологической простоте кремниевого кристалла. Все три секции ФСИ имеют регулярную структуру. Электроды формируются в виде поперечных полос металлизации, пересекающих весь кристалл. Области хранения зарядов отделяются друг от друга продольными диффузионными полосами. Секция хранения и выходной СР защищаются от света с помощью дополнительной металлизации.
Кадровая организация ФСИ имеет и определенные недостатки. За счет дополнительной секции хранения, содержащей такое же количество ПЗС, что и светочувствительная секция, общее количество элементов увеличивается вдвое. Например, для получения разрешения 500X500 элементов при использовании чересстрочной развертки необходимо иметь светочувствительную секцию объемом 500X250 элементов, секцию хранения такого же объема и выходной СР на 500 элементов. Следовательно, общее количество элементов равно 500X X 501 = 250 500. Если учесть, что в вертикальном направлении каждый светочувствительный элемент содержит три электрода, то общее количество электродов, которые должны быть сформированы на кристалле, близко к 750 000. Создание таких сверхбольших интегральных систем (СБИС) наталкивается (и еще долго будет наталкиваться) на значительные технологические трудности (основная — бездефектная фотолитография).
Другим недостатком рассматриваемой структуры является сильное влияние дефектов на качество изображения. Если в светочувствительной секции (а особенно в секции хранения) неисправен только один ПЗС-элемент, то на выходе будет потеряна информация от всего столбца, так как при сканировании через неисправный элемент не смогут быть переданы зарядовые пакеты всех элементов столбца, расположенных выше данного. Если в неисправном элементе электрод закорочен с подложкой через отверстие в окисле, то при передаче через данный элемент зарядовые пакеты будут заполняться до насыщения и на воспроизводимом изображении появится вертикальная светлая полоса. Если на электрод не попадает управляющее напряжение из-за обрыва металлизации, то через данный элемент вообще не будут передаваться зарядовые пакеты и на изображении появится вертикальная темная полоса. Все это еще более усиливает требования к бездефектности всех элементов ФСИ.
Для достижения этого используют усложненную технологию последовательного осаждения трех слоев поликристаллического кремния, изолированных друг от друга термически выращенным окислом (рис.16).

Рис.16. Трехтактная структура с перекрывающимися кремниевыми электродами: 1- поликристаллическне электроды; 2 - изолирующий окисел
Такая структура является трехтактным ПЗС. Перекрытие кремниевых слоев у краев электродов приводит к тому, что реальная ширина зазоров оказывается равной толщине окисла и не превышает 0,1—0,2 мкм. Благодаря узким зазорам возникают сильные краевые поля, обеспечивающие высокую эффективность передачи. Важным достоинством данной трехуровневой структуры, приводящим к уменьшению дефектов, является то, что вся поверхность кремния оказывается достаточно надежно защищенной. Важно и то, что поликристаллические кремниевые электроды прозрачны и обеспечивают максимальное использование активной площади кристалла для восприятия потока света. На основе этой технологии создан ФСИ с кадровой организацией, содержащий 220X128 элементов размером 30X30 мкм2 каждый.
Кадровая организация ФСИ на ПЗС получила наибольшее распространение, и на основе ее получены устройства с наибольшей разрешающей способностью. В фирме RCA на кристалле 7,6X10,2 мм2 разработан ФСИ емкостью 256X320 элементов, который при использовании чересстрочного разложения обеспечивает разрешающую способность 512X320 элементов.
Другим способом организации ФСИ является строчная организация (рис.17). При этом матрица содержит оптическую секцию и выходной сдвиговый регистр. В режиме восприятия изображения в светочувствительных элементах оптической секции накапливаются зарядовые пакеты. Затем последовательно на каждую из строк через ключи, управляемые вертикальным сдвиговым регистром, подаются тактовые импульсы и зарядовые пакеты переходят в выходной регистр, из которого они передаются на выход.
При строчной организации секция хранения не требуется. Поэтому для получения необходимой разрешающей способности количество ПЗС-элементов может быть вдвое меньшим, чем при кадровой организации. Уменьшается также число переносов. Недостатком строчной организации является то, что зарядовые пакеты, поступающие в выходной сдвиговый регистр с более нижних строк, проходят большее количество разрядов выходного регистра. Поэтому задержка видеосигналов на выходе оказывается зависящей от номера считываемой строки.

Рис.17. Строчная организация матричного ФСИ:
1 - запускающие импульсы; 2 - сдвигающие импульсы; 3 - выходной диод; 4 - генератор развертки; 5 - ключи выбора строк; 6 - выходной регистр; 7 - двухтактные сдвигающие импульсы; 8 - оптическая секция накопления зарядов
Другой недостаток строчной организации связан с тем, что передача зарядовых пакетов строк осуществляется светочувствительными элементами, поэтому засветка, сопутствующая сканированию, искажает передаваемую информацию. Влияние дефектов такое же, как при кадровой организации, т. е. неисправность одного элемента строки вызывает появление белой или темной полосы на воспроизводимом изображении.
Модификацией кадрового способа является такая организация ФСИ, при которой оптическая секция и секция хранения как бы вложены друг в друга. Кристалл содержит матрицу светочувствительных элементов, в которой между столбцами расположены защищенные от света ПЗС-элементы хранения. Зарядовые пакеты, накопленные в светочувствительных элементах, сдвигаются в прилегающие к ним затемненные столбцы и хранятся в них. Вывод сигналов в выходной сдвиговый регистр осуществляется построчно, начиная с нижней строки.
Достоинством модифицированной кадровой организации является уменьшение количества переносов, так как для сдвига всей картины зарядовых пакетов в секцию хранения требуется только один перенос. Такой ФСИ объемом 100X100 элементов был использован в миниатюрной телевизионной камере MV-100 размером 38Х64Х Х90 мм3 и массой 170 г с потребляемой мощностью 1 Вт. Камера работает при изменении освещенности в диапазоне от яркого солнечного до комнатного света, обеспечивает разрешающую способность в 80 строк при частоте 120 кадров в секунду.

Рис.18. Прибор с инжекцией заряда:
а - режим накопления зарядового пакета; б - перенос зарядов под У-шину; в - инжекция зарядов в подложку при считывании
Присущее ПЗС самосканирование, используемое в описанных способах организации, требует бездефектности всех элементов матрицы. Неисправность одного элемента вызывает потерю информации всего передающего столбца или строки. Адресная организация ФСИ устраняет этот недостаток. При таком способе организации информация покоординатно выбирается из отдельных элементов. ФСИ с адресной организацией реализуется на приборах с инжекцией заряда в подложку, представляющих собой разновидность ПЗС, в которых зарядовая связь существует в парах между двумя элементами. Каждая пара содержит два МДП-конденсатора, связанных между собой с помощью р+-области. Затворы конденсаторов подключены соответственно к горизонтальной Х и вертикальной У-шинам (рис18). ФСИ представляет собой матрицу таких светочувствительных пар. В режиме восприятия изображения на все электроды подается отрицательное напряжение смещения, и фотогенерируемые носители накапливаются в потенциальных ямах под затворами (рис.18,а). Считывание осуществляется покоординатно. Для выборки элемента с координатами i, k напряжение смещения снимается с i-й строки и k-гo столбца. При снятии напряжения с одного из затворов накопленные под ним дырки через р+-область переходят в соседнюю потенциальную яму (рис.18,6). При снятии напряжений с обоих электродов (что имеет место только в считываемом элементе, расположенном на пересечении 1-й строки и k-гo столбца) дырки инжектируются в подложку и вызывают в ее цепи импульс тока (рис.18,в).
Управление покоординатной выборкой, обеспечивающей последовательное считывание зарядовой информации из всех элементов матрицы, целесообразно осуществлять с помощью двух СР на МДП-транзисторах, сформированных на одном кристалле со светочувствительными элементами. На входы обоих регистров поступают импульсы, которые при сдвиге в данный разряд вызывают уменьшение напряжения на подключенной к нему шине. Частота сдвигов в регистре считывания строки в r раз выше, чем в регистре столбца, r - количество элементов в строке. Поэтому сначала последовательно считываются элементы первой строки, затем в вертикальном регистре осуществляется сдвиг на один разряд и начинается считывание следующей строки и т. д.
Основным достоинством адресной организации является то, что для считывания зарядового пакета из любого элемента требуется только один перенос (от одного электрода к другому). Поэтому нет потерь зарядового пакета и искажений передаваемой информации, как во всех предыдущих вариантах. Второе преимущество — это ослабление влияния дефектов отдельных элементов на качество изображения. Действительно, если неисправен один элемент, то на воспроизводимом изображении появится темная или белая точка, а не полоса, как пои других способах организации. Потенциальные ямы двух электродов одного светочувствительного элемента связаны p+-областью, поэтому при изготовлении ФСИ на приборах с инжекцией заряда не надо получать узкие зазоры. Следовательно, снижаются требования к фотолитографии.
ФСИ с адресной организацией имеют и ряд недостатков. При считывании ток сигнала по амплитуде незначительно отличается от паразитного тока, поэтому формирователь имеет малый динамический диапазон (около 10:1), и кроме того, на выходе необходимо иметь очень чувствительные пороговые схемы. Время считывания оказывается значительным (порядка нескольких микросекунд), что обусловлено временем рекомбинации инжектированных из светочувствительного элемента дырок с электронами подложки. Для управления покоординатной выборкой требуются мощные сдвиговые регистры, занимающие большую площадь кристалла. Например, в ФСИ с полной телевизионной разрешающей способностью (500X500 элементов) каждый разряд сдвигового регистра должен обеспечить формирование импульсов на 500 электродах, общая емкость которых может достигать 20 пФ. Если длительность фронтов импульсов должна быть меньше 100 нс, то ширина каналов МДП-транзисторов должна быть больше 100 мкм. Еще одним недостатком является меньшая, чем в обычных ПЗС, степень интеграции, так как адресная выборка требует большого количества пересекающихся шин, кроме того размеры самого элемента больше.
Усовершенствование приборов с инжекцией заряда применением эпитаксиальной технологии для образования р-n-перехода с тонкой подложкой позволило значительно улучшить параметры ФСИ: увеличить на порядок скорость считывания, расширить динамический диапазон до 500: 1, обеспечить отношение пика сигнал/шум на уровне 1200 : 1. С использованием адресной организации фирма General Electric разработала формирователь сигналов изображений, содержащий 256X256 светочувствительных элементов.
Наиболее простые управляющие цепи (два трехтактных генератора) требуются при модифицированной кадровой организации. Регулярную простую топологию имеют ФСИ со строчной и с кадровой организациями. При модифицированной кадровой организации элементы хранения, расположенные рядом со светочувствительными элементами, необходимо защищать от света с помощью металлизации, что усложняет технологию. Технологическими недостатками приборов с инжекцией заряда являются необходимость формирования в каждом светочувствительном элементе диффузионной области и пересечения металлизированных шин строк и столбцов. Наибольшая разрешающая способность (512Х Х326 элементов) достигнута при использовании кадровой организации трехтактных структур с трехслойными кремниевыми электродами. Таким образом, различные способы организации имеют определенные достоинства и недостатки; наилучшее сочетание характеристик имеют кадровая и модифицированная кадровая организации.

Рис.19. Строка ФСИ на МДП-фотодиодных элементах: 1 - фотодиод; 2 - передающий МДП-транзистор; 3 - вход тактовых импульсов обслуживающего сдвигового регистра; 4 - сдвиговый регистр на МДП-транзисторах; 5 - вход питания; 6 - выход видеосигнала.
Родственными ФСИ на ПЗС являются матрицы на основе МДП-фотодиодных элементов. Эти приборы появились на несколько лет раньше ПЗС, на их основе выпускаются линейные ФСИ, содержащие от 64 до 1000 элементов, и матричные ФСИ с разрешающей способностью 5ОХ'5О элементов.
ФСИ на основе МДП-фотодиодных структур представляет собой фотодиодную схему, в которой для сканирования зарядовых пакетов используются МДП-транзисторы (рис.19). Воспринимаемое изображение преобразуется в картину зарядовых пакетов, накапливаемых на р — n-переходах фотодиодов. Передача зарядов на выход осуществляется с помощью последовательно открывающихся МДП-транзисторов, которые управляются сигналами от сдвигового регистра, выполненного также на МДП-транзисторах и сформированного на том же кристалле. Таким образом, в данном ФСИ функции преобразования света в заряд и хранения заряда выполняются фотодиодами, а функция передачи — МДП-транзисторами. В ФСИ на ПЗС все три функции выполняются самими ПЗС-элементами.
Достоинствами МДП-фотодиодных структур являются отсутствие искажений зарядовых пакетов при сканировании (так как требуется только одна передача); большая, чем у ПЗС, фоточувствительность, что обусловлено меньшим коэффициентом отражения света в фотодиодной структуре и большей глубиной (равной глубине залегания р-n-перехода), на которой накапливаются заряды. Недостатками являются большая (примерно в четыре раза) площадь одного светочувствительного элемента, состоящего из фотодиода и МДП-транзистора, что приводит к уменьшению разрешающей способности; больший уровень шумов и меньшая амплитуда выходного сигнала, что связано с большой выходной емкостью, равной емкости всей передающей шины строки.
По-видимому, для создания ФСИ с большой разрешающей способностью (для полноформатных передающих ТВ камер) будут использоваться ПЗС. Основные области применения МДП-фотодиодных структур — системы наблюдения, оптического распознавания образов, дефектоскопия и т. п., т. е. системы специального малокадрового телевидения с числом элементов разложения 50X50.
7 Перспективы развития ФСИ на ПЗС
Функциональные возможности ФСИ на ПЗС пока далеко не исчерпаны. В настоящее время на основе ПЗС разрабатываются главным образом формирователи сигналов изображений видимого света. Однако их возможности простираются и на ИК диапазон. Электромагнитные волны ИК диапазона вызывают генерацию электронно-дырочных пар не за счет перевода электронов из валентной зоны в зону проводимости (для этого необходима большая энергия), а за счет возбуждения электронов с мелкие примесных уровней. Для того чтобы эти уровни не разряжались без воздействия ИК излучения, необходимо значительно уменьшить термогенерацию, т. е. охладить кристалл. Так как кристалл имеет небольшие габаритные размеры, то задача его охлаждения может быть решена относительно просто. Используя примеси, образующие разные по глубине уровни, можно добиться эффективного восприятия изображений в различных поддиапазонах ИК области.
Еще одно расширение функциональных возможностей ПЗС связано с тем, что глубина обедненного слоя, образующегося под затвором, зависит от напряжения на нем. Учитывая также сильную зависимость коэффициента поглощения света от длины волны можно создать спектрально-чувствительные ФСИ, позволяющие выделять определенные цвета в видимой части спектра.
Наиболее очевидной областью применения ФСИ на ПЗС являются передающие телевизионные камеры. Однако современные образцы формирователей с наибольшей разрешающей способностью пока не удовлетворяют требованиям телевизионного стандарта и не обеспечивают неискаженную передачу изображений с яркими участками. Ожидается, что в ближайшее время эти трудности будут преодолены.
На основе существующих ФСИ можно создавать портативные и энергоэкономичные передающие камеры с меньшей разрешающей способностью, предназначенные для промышленного применения, учебных, медицинских и спортивных целей. Уже упоминалось о черно-белой передающей камере MV-100, в которой .используется ФСИ на ПЗС с разрешающей способностью 100ХЮ0 элементов. На основе приборов с инжекцией заряда на кристалле 8,4X11,2 мм2 разработана многоэлементная матрица, которая при использовании чересстрочной развертки дает разрешающую способность 512X256 элементов. Размер кристалла позволяет использовать оптику от 16-мм кинокамер.
На основе ФСИ на ПЗС можно построить цветную передающую телевизионную камеру. Для этого используются три кристалла ФСИ и стандартный цветоделительный блок, в котором световой поток изображения расщепляется на три цвета, поступающих на соответствующие кристаллы ФСИ. В ФСИ эти световые потоки преобразуются в видеосигналы. Благодаря фиксированной конфигурации матриц и тактируемому самосканированию в ФСИ на ПЗС устраняется трудность точного совмещения развертываемых изображений, существующая в цветных телевизионных камерах с тремя трубками и вызывающая появление «цветной бахромы» на воспроизводимом изображении.
Передающие камеры для малых уровней освещенности являются еще одной перспективной областью применения ПЗС. Основной проблемой, возникающей при малых уровнях освещенности, являются шумы, которые становятся сравнимыми с сигналом. Собственные шумы ПЗС, обусловленные флюктуациями фонового заряда и флюктуациями зарядовых потерь при передаче, позволяют достичь минимального уровня освещенности, соответствующего 60—100 электронам водном зарядовом пакете. При таком малом сигнале определяющую роль начинают играть шумы выходного усилителя. Эти шумы могут быть значительно снижены с помощью многократного неразрушающего считывания и последующего сложения выходных сигналов, в результате которого флюктуации усредняются и отношение сигнал/шум ks/N увеличивается. Подобный принцип реализуется с помощью многоразрядного усилителя, так называемого «распределенного усилителя с плавающим затвором» (РУПЗ) (рис.20). К каждому биту последние Nвых разрядов выходного сдвигового регистра подключен усилитель зарядов с плавающим затвором.

Рис.20. Схема многоразрядного распределенного усилителя с плавающими затворами:
1 - выходной сдвиговой регистр; 2 - дополнительный сдвиговой регистр с увеличенной площадью ПЗС-элементов; 3 - усилители зарядовых сигналов.
Усиленные зарядовые сигналы поступают в дополнительный сдвиговой регистр с большей площадью затворов. Оба регистра управляются одинаковыми тактовыми импульсами и передача зарядов в них осуществляется синхронно. В каждом бите дополнительного регистра к передаваемому зарядовому пакету добавляется соответствующий ему усиленный заряд. Так как усиление выходных сигналов осуществляется многократно, в различных элементах, и в разные моменты времени, то все флюктуации усредняются.
Структура усилителя (рис.21а) включает в себя тактовый электрод, под которым расположен плавающий затвор. При поступлении тактового импульса зарядовый пакет из предыдущего ПЗС-элемента перетекает (в направлении, перпендикулярном плоскости рисунка) в потенциальную яму рассматриваемого ПЗС-элемента и вызывает изменение потенциала на плавающем затворе, который выступает из-за плоскости ПЗС-элемента. Выступающая часть является затвором МДП-транзистора, контролирующего передачу усиленного зарядового пакета (также в направлении, перпендикулярном плоскости рисунка) в выходные ПЗС-элементы большей площади.


Рис.21. Структура (а) и эквивалентная схема (б) усилителя с плавающим затвором: 1 - тактовый электрод; 2 - плавающий затвор; 3 - потенциальная яма ПЗС; 4 - канал МДП-транзистора; 5 - каналоограничивающие n+-области
В соответствии с эквивалентной схемой усилителя (рис.21,б) начальное напряжение, устанавливающееся на плавающем затворе (узел I) после прихода тактового импульса (но до наступления зарядового пакета Q), равно:
φ1 = U'фС2/[С2 + С1 С3(С1 + С3) + С4 + Свх], (8)
где С2 — емкость конденсатора, образованного тактовым электродом и перекрывающейся частью плавающего затвора; d— емкость диэлектрика, расположенного под перекрывающейся частью плавающего затвора; С3 - емкость поверхностного обедненного слоя ПЗС-элемента; С4 -емкость между плавающим затвором и каналоограничивающей п+- диффузионной областью; Свх - емкость выступающего участка плавающего затвора на подложку. Нетрудно убедиться, что после прихода Q изменение потенциала Δφ1 составляет:
Δφ1/Q= -[ С2 + С4 + Свх+ х(С1 + С2 + С4 + Свх)]-1 (9)
Знак минус в (7) отражает тот факт, что увеличение заряда Q вызывает уменьшение потенциала плавающего затвора.
Изменение потенциала Δφ1 вызывает изменение тока стока МДП-транзистора. Если его крутизна равна g = dIc/dU3, то коэффициент усиления заряда AQ равен:
AQ
= QY/Q
(
Δφ1/Q)·g·ty
. (10)
где Qy — усиленный заряд, ty — длительность стробирующего импульса, открывающего цепь передачи заряда через МДП-транзистор.
Кроме усиленного информационного заряда в ПЗС-элементы выгодного регистра поступает фоновый заряд Qф, обусловленный начальным смещением φ1 затвора МДП-транзистора:
Qф=ICtY (11)
Величина фонового заряда флюктуирует и связанные с этим шумы равны:
.
(12)
Отношение сигнал/шум в одном разряде РУЛЗ равно:
.
(13)
Если использовать обычную модель МДП-транзистора:
, вычислить крутизну g
и подставить
выражения для g
и Iс
в (11), то получим, что ks/N
не зависит
от режима МДП-транзистора:
kS/N = Δφ12{kty/[q(1+x)]}1/2, (14)
где k — удельная крутизна МДП-транзистора, х — коэффициент влияния подложки.
Из (14) следует, что существует оптимальная величина емкости выступающей части плавающего затвора Свх опт, при которой kS/N максимален. Из условия dkS/N/dCBХ = 0, используя также (8) и (12), получим
Свх опт = С2+С2+С1х/(1+х). (15)
Однако реально МДП-транзистор работает в режиме микротоков, в котором его характеристики отклоняются от обычной модели. Поэтому kS/N зависит от режима и более точно оптимальное значение Свхопт можно определить с помощью экспериментальных вольтамперных характеристик.
Так как РУПЗ содержит NBblХ разрядов, то суммарное усиление информационного заряда будет в NBblХ раз больше (по сравнению с одним разрядом), а суммарные шумы увеличатся только в (NBblХ )1/2 раз. Следовательно, kS/N в многоразрядовом усилителе пропорционален (Nnux) 1/2 и требуемое значение kS/N может быть достигнуто с помощью определенного числа разрядов РУПЗ.
Для получения kS/N
=5 при
зарядовом сигнале Q
= 10-5 пК. (что соответствует 60 электронам)
требуется 12 разрядов усилителя. Изменение
потенциала плавающего затвора от такого
заряда очень мало,
150мкВ.
Поэтому для реализации РУПЗ необходимы
высокостабильные источники питания.
Площадь ПЗС-элементов в РУПЗ определяется
из условия размещения в потенциальной
яме последнего элемента суммарного
усиленного информационного зарядового
пакета и суммарного фонового заряда.
Еще одной возможной областью применения ФСИ на ПЗС являются астрономические приборы и фотодатчики для регистрации элементарных частиц. В этих приборах используется четкая геометрическая фиксация элементов ФСИ, позволяющая с высокой точностью определять координаты требуемого элемента изображения.
В заключение подробнее остановимся на использовании ПЗС в системах формирования сигналов ИК изображений. Существуют три области для их применения: уплотнение с помощью ПЗС информации, снимаемой с ИК приемника; организация временной задержки и интегрирования снимаемой информации; непосредственная регистрация ИК сигналов с помощью ПЗС, сформированные на полупроводниках с узкой запрещенной зоной.
Входы матрицы ПЗС, используемой для уплотнения информации, через емкостные связи соединяются с выходами приемников ИК излучения (рис.22). В каждом ПЗС-элементе образуется зарядовый пакет, пропорциональный выходному напряжению соответствующего приемника. Затем картина зарядов сканируется (передается) на выход. Применение ПЗС в этом случае позволяет осуществлять уплотнение информации внутри самого дьюара (используемого для охлаждения ИК приемников), что приводит к уменьшению количества выводов из дьюара и к минимизации тепловой нагрузки. С этим методом применения связаны две проблемы: перекрестные помехи между каналами, обусловленные потерями зарядов при переносе, и шумы, возникающие при инжекции в ПЗС зарядов.
При использовании ПЗС для получения временной задержки и интегрирования сигналов каждый ПЗС-элемент соединяется с соответствующим ИК приемником. ИК изображение перемещается относительно матрицы приёмников с некоторой скоростью и каждый элемент изображения последовательно проходит все приемники соответствующего столбца матрицы (рис.23). Перенос зарядовых пакетов вдоль цепочки ПЗС-элементов осуществляется с такой же скоростью. В результате время интегрирования изображения увеличивается в k раз, где k —количество элементов в столбце (равное числу строк в матрице ИК приемников).

Рис.22. Использование ПЗС для уплотнения и передачи на выход информации, снимаемой с ИК приемников:
1- ИК приемники; 2- буферные элементы; 3 - ПЗС

Рис.23. Использование ПЗС для временной задержки и интегрирования снимаемой с ИК приемников информации:
1 - ИК приемники; 2 - буферные элементы; 3 - ПЗС. Направления, а также скорости перемещения ИК изображения (4) и передачи зарядов вдоль ПЗС (5) совпадают.
Если матрица содержит r таких столбцов, то общее количество соединений между матрицей приемников и ПЗС составляет kr. Надежное изготовление большого числа внутрисхемных соединений является сложной технологической задачей при создании подобных систем.
В третьем варианте, названном ИК ПЗС, сами ПЗС используются для регистрации и формирования сигналов ИК изображений. В этом случае организация матрицы такая же, как в светочувствительных ПЗС. Основные проблемы ИК ПЗС следующие. Для восприятия ИК излучения необходимы узкозонные полупроводники, ширина запрещенной зоны которых (определяющая положение максимума поглощения) соответствует окнам атмосферной прозрачности для ИК излучения: 2—2,5; 3,5—4,2; 8—14 мкм. Подходящие материалы имеются среди бинарных и тройных соединений типа АIIIВV, AIIIBVI, AIVBIV, например InAs, InSb и т. д. Технология изготовления МДП-структур на таких материалах пока недостаточно отработана. Создание ИК ПЗС на несобственном полупроводнике также представляет известные трудности.
Вторая проблема связана с высоким уровнем фонового излучения в ИК области спектра и низкой контрастностью ИК изображений. Это приводит к накоплению в потенциальных ямах ПЗС большого паразитного заряда. Низкая контрастность накладывает жесткие требования на допустимую величину неравномерности фоточувствительности (от элемента к элементу), которая не должна превышать нескольких процентов. Такое ограничение обусловливает жесткие требования к технологии, особенно к фотолитографии.
В последнее время определенные успехи достигнуты в технологии МДП-структур на InSb с пленкой оксини-трида кремния в качестве диэлектрика (полученной с помощью осаждения) и нихромовым затвором. Плотность поверхностных состояний в таких структурам составляет 1012 см-2, а время релаксации МДП-емкости достигает 0,1 с при температуре 77 К.
По конструктивно-технологическим характеристикам формирователи ИК сигналов на ПЗС подразделяются на монолитные и гибридные. Монолитные формирователи включают в себя, прежде всего, ИК ПЗС на узкозонных полупроводниках или легированных широкозонных полупроводниках, чувствительных к ИК излучению, а также приборы, содержащие на одном кристалле чувствительную к ИК излучению матрицу на элементах с барьером Шоттки (с внутренней фотоэмиссией) и считывающую схему на ПЗС.
В противоположность монолитным приборам гибридные приборы являются комбинацией ИК приемников различных типов и кремниевого ПЗС, используемого для сдвига информации на выход, а в общем случае и для ее обработки: усиления, суммирования, вычисления корреляционных функций. Гибридные формирователи, в свою очередь, можно разделить на приборы с прямой инжекцией, в которых фотогенерируемые в ИК приемнике заряды непосредственно вводятся в ПЗС, и на приборы с непрямой инжекцией, в которых между ИК приемником и ПЗС существуют буферные элементы (МДП-транзисторы или усилительные каскады). В качестве ИК приемников можно использовать фотовольтаические, фоторезистивные и пироэлектрические приемники.
Литература
Носов Ю.Р., Шилин В.А. Приборы зарядовой связи. М., 1976.
Носов Ю.Р. Приборы зарядовой связи. М.,Знание.1989.
Шилин В.А. «ПЗС» - В книге Микроэлектроника. под ред. Васенкова А.А. выпуск 6.М., Современное радио.1973.