Приемопередающие устройства
1. Импульс выходного тока недонапряженного, критического и перенапряженного режима.
Статические характеристики электронного прибора (далее ЭП) позволяют определять ток в цепях любых электродов ЭП при любых произвольных комбинациях напряжений на электродах.
Если же ЭП включен в схему ГВВ, то напряжения на электродах такого ЭП оказываются не произвольными, а функционально и однозначно связанными посредством выходного тока. Другими словами, для входного е>вх> и выходного е>вых> напряжений и выходного тока i>вых> ЭП, работающего в ГВВ, могут быть написаны cледующие соотношения:
e>вых>= f>1>(e>вх>),
i>вых> = f>2>(е>вх>, е>вых>).
Подставив первое уравнение во второе, получим i>вых> = f>2>(е>вх>, f>1>(e>вх >)). Последнее уравнение можно переписать в одной из следующих двух форм:
i>вых> = f>3>(e>вх>), i>вых> = f>4>(e>в>>s>>х>)
Полученные зависимости для выходного тока в виде функций только одной переменной называются динамическими (иногда нагрузочными) характеристиками. В дальнейшем увидим, что динамические характеристики (ДХ) можно построить для тока в цепи любого электрода ЭП, работающего в ГВВ.
Нагрузочными характеристиками генератора называются зависимости его токов, мощностей и электронного КПД от величины сопротивления НС (R>HC>).

Из графиков следует:
1.При малых U>a> (графики 1—3) ДХ анодного тока имеют круто возвышающуюся часть и частично совпадают с осью абсцисс. Импульсы i>a> имеют почти косинусоидальную форму, импульсы i>c> — малую амплитуду. Каждый из этих режимов называется недонапряженным (ННР) вследствие того, что мощности, рассеиваемые на управляющей сетке в этих режимах, малы.
2
.
Графики 4
соответствуют
граничному
режиму (ГРР).
Здесь Несколько изгибается верхняя
часть ДХ i>a>,
импульс i>a>
приобретает плоскую
вершину. Амплитуда импульса i>c> становится заметно больше, при этом вершина его несколько приподнята.
3. Графики 5 относятся к перенапряженному режиму (ПНР). Верхняя часть ДХ i>a> загнута вниз. Импульс i>a> имеет провал в средней части. Амплитуда импульса i>с> резко увеличена.
4. Графики 6 соответствуют сильноперенапряженному режиму. В этом режиме (U>a>>E>a>) ДХ i>а> достигает начала координат и имеет участок, совпадающий с осью абсцисс при е>а><0, импульс анодного тока раздваивается; амплитуда импульса i>с> велика, импульс сильно деформирован.
2. Принципиальная схема емкостной трехточки.
В технике связи, и и частности РПДУ, наибольшее распространение получили трехточечные автогенераторы АГ. Они относительно просты в схемотехническом исполнении и позволяют обеспечить высокую стабильность частоты генерации. В простейшем случае такой АГ содержит параллельный колебательный контур, к трем точкам которого присоединен электронный прибор ЭП тремя своими основными электродами.
Д
лительное
время АГ строились как на основе
индуктивной, так и
емкостной
трехточек, поскольку считалось, что ни
одна из них не имеет сколько-нибудь
заметного преимущества над другой. По
мере развития теории АГ постепенно
выяснилось, что вторая обладает рядом
достоинств перед первой. Во-первых,
емкостная трехточка имеет в своем
составе П-образный контур. Такая
нагрузочная система НС обладает
наилучшими фильтрующими способностями,
а снижение уровня гармоник, поступающих
с выхода на вход АГ, уменьшает фазовый
сдвиг φ>s>
при прохождении колебаний через ЭП. В
итоге емкостная трехточка (при прочих
равных условиях) позволяет обеспечить
более высокую стабильность генерируемой
частоты, чем индуктивная. Во-вторых, ее НС содержит только одну катушку индуктивности. Известно, что данный реактивный элемент по своим эталонным свойствам уступает конденсатору.
Стремление повысить стабильность частоты АГ заставляет усложнять (модифицировать) классическую емкостную трехточечную схему. Так, Дж. Клапп (США) предложил включить последовательно с катушкой индуктивности, дополнительный конденсатор С>кл>, (рис. 2.1,а). Тогда общая емкость контура С>общ >становится меньше, чем при двух конденсаторах с емкостями С>2> и С>3 >и для сохранения той ж о частоты генерации необходимо увеличить индуктивность контура. Это, в свою очередь, приводит к возрастанию характеристического сопротивления ρ =( L>1>/С>общ>)1/2 При сохранении тех же потерь (r = const) увеличивается эквивалентная добротность Q= ρ /r, что благоприятно отражается на повышении стабильности частоты генерируемых колебаний.
На рис. 2.1,б и в показаны примеры построения АГ на основе схемы Клаппа. В первом- варианте используется БТ, включённый по схеме с общим коллектором. Соединение этого электрода с корпусом удобно по конструктивным соображениям: облегчается проблема охлаждения корпуса транзистора, статор подстроечного конденсатора С>кл> имеет нулевой РЧ потенциал, что устраняет влияние руки оператора на частоту генерации и др. Делитель из резисторов с сопротивлениями R>1> и R>2> совместно с R>э> обеспечивают требуемый рабочий режим, но постоянному току (мягкое самовозбуждение с переводом в жесткий режим при стационарной амплитуде колебании). Иногда в базовую пень включается резистор R>б>, уменьшающий шунтирование НС АГ входным сопротивлением БТ. Назначение элементов с параметрами L>1> С>2> и С>3> такое же, как и на эквивалентной схеме (рис. 2.1,а). Питание эмиттера осуществляется через фильтрационно-стабилизирующую цепочку С>ф>R>ф>V>2>.
В варианте АГизображенном на рис. 2.1,в, в качестве ЭП использован ПТ. Здесь ВЭ соединен с общим проводом только по РЧ потенциалу. При этом упрощается питание УЭ (один резистор R>см> вместо двух) и отпадает необходимость в использовании добавочного резистора R>б>. Перестройка АГ осуществляется изменением индуктивности L>1>.
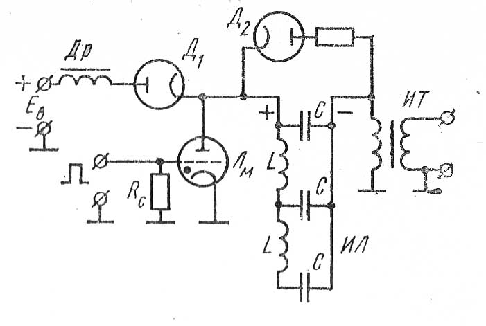
3. Модуляционные устройства с полным разрядом накопителя.
Рассмотрим одну из наиболее характерных и простых схем модуляторов (рис. 3.1)
В качестве электронного ключа в модуляторах применяют водородный импульсный тиратрон, поскольку накопитель энергии разряжается полностью и напряжение анода на некоторое время становится равным нулю, что обеспечивает погасание тиратрона по окончании действия импульса. Тиратрон обладает малым падением напряжения анода в открытом состоянии: для импульсных водородных тиратронов типа ТГИ
е>а >>min> = 150÷200 В. Падение напряжения на тиратроне примерно в 10 раз меньше падения напряжения на вакуумной импульсной модуляторной лампе, следовательно, к. п. д. модулятора с тиратроном выше, а нагрев анода тиратрона меньше. Для удержания тиратрона в запертом состоянии достаточно нулевого напряжения сетки, что в схеме рис. 3 обеспечивается включением резистора R>c>. Для отпирания тиратрона достаточно импульса напряжения с крутым фронтом и амплитудой 170—200 В.

Рис. 3.1
В модуляторе на схеме рис. 3.1 запускающий импульс на сетке тиратрона определяет начало действия импульса, который формируется при разряде линии ИЛ через анодную цепь тиратрона и первичную обмотку импульсного трансформатора (ИТ). Трансформатор является необходимым элементом, так как модулятор может работать при условии согласования волнового сопротивления линии с сопротивлением нагрузки R>г> = E>аоимп>/I>аоимп>, большим Z>c>. Коэффициент трансформации п подбирают так, чтобы пересчитанное в первичную обмотку трансформатора сопротивление нагрузки R'>г>= R>г>/n2 = Z>a>. Следует иметь в виду, что коэффициент трансформации трудно сделать больше п = З÷4.
Заряд накопительной линии чаще всего производят от высоковольтного выпрямителя. Широкое распространение имеет резонансный способ заряда накопителя энергии. Напомним, что в конце процесса формирования импульса линия разряжается полностью и на ней (а также на аноде тиратрона) создается нулевое напряжение. Тиратрон гаснет. Процесс заряда в рассматриваемой схеме происходит по известным законам заряда конденсатора через индуктивную катушку от источника постоянного напряжения. Ток заряда i>з> проходит от выпрямителя напряжением Е>в> через зарядный дроссель Др к конденсаторам искусственной линии, которые можно считать включенными параллельно, так как индуктивность ячеек линии мала (L << L>др >), и далее обратно к источнику, выпрямителю.
Д
обротность
цепи заряда делается достаточно большой:
Q>10.
По окончании предыдущего импульса и
погасания тиратрона напряжение на
конденсаторах линии е>ил>
начинает нарастать по гармоническому
закону
(рис. 3.2, а), соответственно меняется ток заряда i>3> (рис. 3.2, б). . К моменту времени t>1> напряжение на конденсаторах достигает величины, равной Е>в>, а рост тока i>з> прекращается. Поскольку ток в контуре, содержащем катушку, не может прекратиться сразу, заряд конденсаторов продолжается за счет энергии, запасенной в дросселе Др, и напряжение на конденсаторах в момент времени t>2> достигает величины 2Е>В>. В этот момент ток i>3> = 0. Наличие в цепи заряда диода Д>1 >не позволяет току i>з> изменить направление. Этот диод можно не ставить, но тогда для получения напряжения на конденсаторах, равного 2Е>В>, потребовалось бы открывать тиратрон строго в момент времени t>2>. Следовательно, в радиолокационной системе оказалось бы невозможным изменение частоты следования импульсов (пунктирные линии на рис. 3.2, а, б).
Наличие диода Д>1> позволяет сделать интервал между импульсами (0—t>3>) несколько больше полупериода цепи заряда (0— t>2>), т. е. дает, возможность менять частоту следования импульсов, что расширяет тактические возможности РЛС (рис. 3.2, в—е).
Поскольку из-за наличия диода Д>1> ток в цепи заряда не может изменить направление, в течение времени t>2>—t>3> напряжение на линии не меняется. Если в момент времени t>3> приходит запускающий импульс, то начинается разряд линии.
4. Частотный манипулятор.
П
ри
частотной манипуляции используется
только два значения частоты. Единица,
как правило, передается низкой, а нуль
– высокой частотой.
Рис. 4.1
В данном случае V = B. Скорость передачи можно увеличить, если использовать несколько частот.
Ч
астотное
телеграфирование (ЧТ)
позволяет кодировать токовые и бестоковые
посылки, получаемые от телеграфного
аппарата, РЧ колебаниями двух частот.
В радиосвязи широко используется и
двухканальное
ЧТ
(ДЧТ). В последнем случае число частот
равно четырем: f>1>—соответствует
паузе в обоих каналах, f>2>—
нажатию в первом канале и паузе во
втором, f>3>
— паузе в первом и нажатию во втором и
f>4>
— нажатию в обоих каналах (рис. 4.2,а).
Колебания ДЧТ в современных возбудителях формируются с помощью манипулятора, упрощенная структурная схема которого доказана на рис. 4.2,б. Высокостабильные кварцевые АГ, генерирующие колебания двух частот (например, 128 и 4 кГц), нагружены на смеситель См, на выходе которого включаются четыре фильтра, выделяющие колебания частот f>1,>f>2>, f>3> и f>4> (значения частот указаны применительно к одному из типов возбудителей).
Выбор колебания соответствующей частоты осуществляется с помощью быстродействующего коммутатора Км, управляемого телеграфными посылками 1-го и 2-го телеграфных (ТГ) каналов. В моменты переключений возникают разрывы в фазе колебаний, наличие которых может привести к расширению спектра сигнала ДЧТ. Поэтому после Км включается управляемый АГ (УАГ) с системой фазовой автоподстройки частоты (ФАП). Работая в ведомом режиме, такой УАГ обеспечивает на выходе колебания одной из четырех частот с плавным переходом между ними. После УАГ обычно используются различные преобразователи, позволяющие изменять разнос между частотами и сдвигать спектр сформированного колебания в область рабочих частот.
Литература.
1. Радиопередающие устройства: Учебник для вузов/ В. В. Шахгильдян, В. Б. Козырев, А. А. Луховкин и др.; Под ред. В. В. Шахгильдяна. — 2-е изд., перераб. и доп. — М.: Радио и связь, 1990. — 432 с: ил.
2. Радиопередающие устройства: Учебник для техникумов / Шумилин М. С., Головин О. В., Севалънеп В. П., Шевцов Э. А. — М,: Высш. школа, 1981,— 293 с, ил.