Радиоактивные и радиационные методы неразрушающего контроля
БЕЛОРУССКИЙ ГОСУДАРСТВЕННЫЙ УНИВЕРСИТЕТ ИНФОРМАТИКИ И РАДИОЭЛЕКТРОНИКИ
Кафедра ЭТТ
РЕФЕРАТ
На тему:
«Радиоактивные и радиационные методы неразрушающего контроля»
МИНСК, 2008
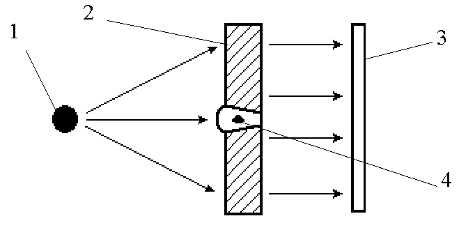
Радиационные и радиоактивные методы НК (РНК) базируются на «просвечивании» объектов рентгеновским или гамма-излучением, потоками нейтронов, протонов или электронов с непосредственной или последующей регистрацией теневого изображения (рис.1).

Рис.1. Схема РНК
1 - источник; 2 - изделие; 3 - детектор; 4 – дефект
При прохождении через изделие, ионизирующее излучение ослабляется в результате поглощения и рассеяния. Степень ослабления зависит от толщины и плотности контролируемого объекта. При наличии в веществе внутренних дефектов с определёнными размерами резко изменяются интенсивность и энергия проходящего через эти дефекты пучка излучения.
При контроле РЭА методы РНК позволяют без вскрытия кожухов аппаратуры и её элементов, а иногда и без изъятия элементов из схем, без выпаивания их из аппаратуры, определить наличие внутренних монтажных дефектов, выявлять присутствие посторонних частиц во внутренних полостях аппаратуры и элементов, обнаруживать поломки деталей, обрывы и замыкания проводников.
Методы РНК различают по видам ионизирующего излучения и способам регистрации дефектоскопической информации.
В РНК используют следующие виды электромагнитных излучений и потоков частиц (рис.2):
-излучение (<0.01 нм);
рентгеновское излучение (0.01<<1.0 нм);
потоки лёгких заряженных частиц;
потоки тяжёлых частиц.

Рис. 2. Разновидности ионизирующих излучений, используемых в РНК
Природа рентгеновского излучения - электронное взаимодействие атомов. Рентгеновское излучение или x-лучи возникают в результате потери атомом внутреннего электрона (т.е. электрона на одном из внутренних электронных уровней). При этом внешний электрон быстро переходит в более низкое состояние с тем, чтобы заместить внутренний потерянный электрон, и испускает квант энергии электромагнитного излучения с длиной волны от 0.01 до 1.0 нм. Атомы могут терять электроны при их бомбардировке пучком электронов, ускоренных до нескольких десятков и сотен тысяч вольт.
В качестве источника рентгеновского излучения используют рентгеновские трубки (рис.3).

Рис. 3. Схема рентгеновской трубки
1 - катод; 2 - фокусирующие пластины; 3 - нить накала; 4 - анод;
5 - пучок электронов; 6 - поток рентгеновского излучения
Природа -излучения - взаимодействие элементарных частиц ядер атомов. Согласно корпускулярно-волновой теории ядро атома состоит из набора нуклонов, удерживающихся между собой силами ядерного взаимодействия, во много раз превышающими силы электростатического отталкивания. Различают два типа нуклонов: нейтральные частицы - нейтроны и положительно заряженные частицы - протоны, приблизительно равные по массе. Протоны несут положительный заряд по абсолютной величине равный заряду электрона. Нуклоны также как и электроны обладают спиновым моментом и определённой потенциальной и кинетической энергией, позволяющей им занимать соответствующие энергетические уровни в ядре атома.
-излучение - это электромагнитное излучение с длиной волны <0.01 нм. Оно возникает в результате квантового перехода нуклона с высокого энергетического уровня на более низкое. Высокие энергетические уровни нуклоны могут занимать в возбуждённом состоянии. Возбуждение же ядра можно осуществить путём бомбардировки ядер тяжёлых атомов свободными нейтронами. Например, если нейтрон попадает в ядро U238 (238 -средний атомный вес), то образуется возбуждённое ядро (U239)* . Это ядро распадается на обычное (не возбуждённое) ядро U239 и -квант:
(U239)* U239 + .
Это явление называется У- распадом. Кроме распада ядра тяжёлых атомов подвержены ещё и - и -распадам, продуктами которых являются - и -частицы.
-распад можно уподобить ассиметричному делению ядер тяжёлых атомов, при котором первоначальное ядро M расщепляется на небольшую -частицу, эквивалентную ядру атому гелия (с зарядом +2 и весом 4), и большое конечное ядро M’:
M M’+ ,
-распад - это естественно происходящий процесс с ядрами атомов, имеющих атомный номер выше 82 (свинец). Для веществ, имеющих атомный номер выше 92 (уран) время жизни относительно альфа-распада становится существенно меньше возраста Земли. Этим объясняется отсутствие подобных элементов в природе в естественном виде. Примером -распада может является распад радия на радон и гелий:
Ra22688 Rn22286 + He42 .
-распад - это процесс деления элементарных ядерных частиц, продуктом которого являются свободные электроны (названными первоначально при открытии -распада -лучами) и нейтрино. Примером -распада может служить распад свободного нейтрона:
N P + е- + - ,
где P - протон, е- - электрон, - - антинейтрино.
-, - и -распады сопровождаются выделением энергии, которая уносится продуктами распада - - и -частицами и -квантами, чем и объясняется их высокая проникающая способность. Однако -кванты обладают существенно большей проникающей способностью по сравнению с - и -частицами, поэтому их преимущественно и используют при контроле качества изделий.
Характер взаимодействия заряженных частиц с материалами, применяемыми в радиоаппаратуре и её элементах, существенно отличается от характера взаимодействия рентгеновских и -квантов. Поэтому при использовании заряженных частиц возникают дополнительные возможности получения информации о состоянии контролируемых изделий.
Все виды заряженных частиц можно условно разделить на две большие группы: лёгкие (электроны, позитроны) и тяжёлые (протоны, -частицы, ионы).
Электронная дефектоскопия обычно осуществляется при использовании выведенного пучка электронов из бетатронов или линейных ускорителей. Регистрация электронов, прошедших, отражённых или рассеянных изделием под различными углами к направлению падающего пучка, позволяет судить о толщине покрытий, нарушениях внутренней геометрии и сплошности изделий, появлении посторонних включений и других дефектах. Использование электронной дефектоскопии весьма полезно при контроле качества ферритовых изделий для волноводов и других элементов РА.
Перспективным методом контроля слоистых сред является метод позитронной дефектоскопии. Он основан на измерении углового рассеяния или энергетического распределения позитронов, прошедших или отражённых от контролируемого объекта. Из способов контроля слоистых структур наибольший интерес представляет способ, основанный на эффекте аннигиляции позитронов. Этот способ позволяет контролировать толщину и нарушение геометрии слоёв в многослойных изделиях, в том числе за барьерами из материалов с более высокими или более низкими атомными номерами, а также контролировать наличие и плотность дислокаций (что необходимо для прогнозирования, например, усталостной прочности) и обнаруживать в материалах появление радиационных дефектов или результатов перегревов.
Потоки тяжёлых заряженных частиц (ТЗЧ) могут проникать в изделие на значительную глубину и имеют довольно ограниченный разброс пробега по глубине. Пробег ТЗЧ растёт с ростом её энергии Е и зависит от положения материала контролируемого изделия в таблице Менделеева. Характерной особенностью закона изменения потери энергии на единицу пути dЕ/dx для ТЗЧ является наличие резкого увеличения потерь (пика) в конце пробега, называемого пиком Брэгга. В силу наличия таких пиков имеется возможность точного послойного контроля изделий.
Свободные нейтроны в противоположность заряженным частицам при прохождении через вещество теряют незначительную часть энергии. Этим объясняется их высокая проникающая способность. Они могут легко проникать даже в ядро атомов.
Проникновение нейтронного потока в материалах контролируемых изделий обусловлено несколько иным характером взаимодействия, чем у рентгеновского и гамма-излучения. Поэтому степень прозрачности материалов для рентгеновского излучения и нейтронного потока в большинстве случаев существенно отлична. Такие материалы, как свинец, уран, вольфрам, олово, серебро, малопрозрачные для рентгеновского излучения, но имеют высокую степень прозрачности для нейтронного потока. Многие водородосодержащие материалы (например, вода, бензин, керосин, масла, некоторые кислоты, многие пластмассы, органические вещества), а также материалы, содержащие бор, литий, кадмий, мало прозрачны для нейтронного потока, но имеют высокую степень прозрачности для рентгеновского излучения.
По способам регистрации дефектоскопической информации методы РНК разделются на радиографию, радиоскопию, радиометрию (рис.4).
Промышленная радиография - это метод получения на детекторах статического видимого изображения внутренней структуры изделия, просвечиваемого ионизирующим излучением. На практике этот метод наиболее широко распространён в связи с его простотой и документальным подтверждением полученных результатов. В зависимости от используемых детекторов различают плёночную радиографию и ксерорадиографию. В первом случае детектором скрытого изображения и регистратором статического видимого изображения служит фоточувствительная плёнка. Во втором -детектором служит полупроводниковая пластина, а в качестве регистратора используют обычную бумагу, на которой изображение проявляется с помощью сухих красящих веществ в электрическом поле.
В зависимости от используемого излучения различают несколько разновидностей промышленной радиографии: рентгенографию, гаммаграфию, ускорительную и нейтронную радиографию.
Промышленная радиоскопия - метод получения с помощью флуорисцирующих экранов, электронно-оптических преобразователей, оптических усилителей и телевизионных систем видимого динамического изображения внутренней структуры изделия, просвечиваемого ионизирующим излучением. Чувствительность этого метода несколько меньше, чем радиографии. К числу его преимуществ относятся повышенная достоверность получаемых результатов благодаря возможности стереоскопического видения дефектов и рассмотрения изделий под разными углами, экспрессность и непрерывность контроля.

Рис..4. Классификация методов РНК по способу регистрации.
Радиометрическая дефектоскопия - метод получения информации о внутреннем состоянии контролируемого изделия, просвечиваемого ионизирующим излучением, в виде электрических сигналов.
Этот метод обеспечивает наибольшие возможности автоматизации процесса контроля и осуществления автоматической обратной связи при контроле технологического процесса изготовления изделий. По чувствительности этот метод не уступает радиографии. Детекторами излучения здесь являются различного рода счётчики, ионизирующие камеры, электронные умножители.
Различают три способа регистрации прошедшего через объект излучения:
счётный или токовый, когда регистрируется число частиц, прошедших через материал или отражённых от него;
энергетический, когда регистрируется суммарная энергия частиц, прошедших через объект или отражённых от него;
спектрометрический, когда из всех частиц, прошедших через объект или отражённых от него, регистрируются частицы только в определённом энергетическом интервале.
К аппаратуре радиометрического контроля относят радиационные толщиномеры, дефектоскопы с аналоговой записью местоположения дефектов на координатную бумагу и др.
Рентгеновская микроскопия. Среди всех видов измерений, которые когда-либо использовались для исследования микроструктуры рентгеновские лучи занимают особое место в силу следующих свойств. Они обладают большой проникающей способностью и сравнительно небольшим разрушающим воздействием на объект (в отличие от электронной и ионной микроскопии). Им не нужны вакуумные условия, толщина образцов, изучаемых на прсвет может быть довольно большой, они инертны к магнитным и электрическим полям, у них ничтожно малое преломление в различных средах.
К методам рентгеновской микроскопии относятся контактная микроскопия (микрорадиография), рентгенорадиография, рентгеновская топография, рентгеновский микроанализ, рентгенотелевизионная микроскопия.
На рис. 5 представлена схема проекционного рентгеновского микроскопа.

Рис. 5. Рентгеновский проекционный микроскоп
1 - электронная пушка, 2 - конденсорные линзы, 3 - фольга, 4 – фотопластинка
Создаваемый электронной пушкой и формируемый линзами электронный пучок бомбардирует тонкую фольгу из меди или золота, вызывая возникновение мягкого ( > 0.1 нм) рентгеновского излучения. Объект исследования располагается в непосредственной близости от анода. Пройдя сквозь образец, рентгеновские лучи засвечивают фотопластинку, проектируя на ней его увеличенное изображение. Увеличение прибора равно отношению расстояний катод - образец и анод - фотопластинка. Обычно увеличение проекционного метода не превышает 100. При применении светового микроскопа для рассмотрения в последующем рентгеновского микроизображения на фотопластинке общее увеличение составляет 104.
На рис. 6 показаны рентгенотопографические изображения полупроводниковой пластины после проведения различных технологических операций с термическим воздействием. Количество визуализируемых кристаллических дефектов возрастает в пластине после проведения каждой технологической операции, что приводит к снижению коэффициента выхода годных кристаллов с одной пластины при завершении всего процесса создания интегральных схем.
При использовании для контроля ИЭТ ренгенотелевизионных микроскопов (рис.7) обеспечивается высокая производительность процесса контроля, оперативность и разрешающая способность. В рентгенотелевизионном микроскопе теневое изображение объекта попадает на мишень видикона, чувствительного к рентгеновским лучам. Увеличенное изображение объекта рассматривается на телевизионном экране. Современные рентгенотелевизионные микроскопы МТР-6, МТР-7 имеют разрешающую способность 20-30 пар линий на мм и контрастную чувствительность 1-1.5%.

Рис.7. Схема рентгенотелевизионного микроскопа
1 - рентгеновская трубка; 2 - контролируемый прибор; 3 - рентгеновидикон;
4 - видеоусилитель; 5 – ВКУ
В этих приборах полностью обеспечена защита оператора от рентгеновских лучей. Манипуляторы обеспечивают плавное перемещение объекта по 3-м координатам и поворот вокруг трёх независимых осей.
Рентгенотелевизионный контроль особенно целесообразен на стадии разработки компонентов ЭА и СМЭ и их освоения в опытном и серийном производстве (рис. 8 – 10).
Кремний является прозрачным материалом для рентгеновских лучей. На фоне весьма контрастным выглядят золотые выводы, которые можно увидеть даже через корпус прибора. Алюминиевые выводы через корпус прибора не видны. Хороший контраст получают также при контроле никелевых и индиевых электродов. С помощью рентгенотелевизионного микроскопа можно определять следующие дефекты: обрывы золотых монтажных проводов, излишнюю массу термокомпрессионных шариков, пустоты, сдвиги стенок корпуса и т.д.
Применение методов рентгенотелевизионной микроскопии на стадии разработки изделий позволяет в любое время получить информацию о степени совершенства и отработанности конструкции и технологии. На стадии анализа причин брака и отказов изделий Рентгенотелевизионный микроскоп дает возможность, не вскрывая и не нарушая внутреннего состояния изделия, установить причину брака и возможностей физических механизмов отказа.
С помощью рентгенотелевизионного микроскопа можно производить измерение геометрических размеров внутренних элементов диагностируемых радиоэлектронных компонентов. Однако в отличие от оптических измерений геометрических параметров изделий в рентгенотелевизионной микроскопии точность измерений зависит от четкости контуров изображения визуализируемых деталей (т.е. от их относительного контраста и от геометрического размытия границ элементов изображения).
Техника рентгенотелевизионной диагностики благодаря своей информативности быстро шагнула их технических областей применения (рис. 11) в область медицинской диагностики (рис. 12 – 13). Сейчас рентгенотелевизионной техникой оснащаются не только крупные медицинские центры, но районные поликлиники.
ЛИТЕРАТУРА
1. Ермолов И.Н., Останин Ю.Я. Методы и средства неразрушающего контроля качества: Учеб. пособие для инженерно-техн. спец. вузов.-М.: Высшая школа, 2003. - 368 с.
2. Технические средства диагностирования: Справочник / Под общ. ред. В.В.Клюева. - М.: Машиностроение, 2005. - 672 с.
3. Приборы для неразрушающего контроля материалов и изделий. - Справочник. В 2-х кн./ Под ред. В.В.Клюева - М.: Машиностроение, 2006.