Разработка блока определяющего длительность стимулирующего импульса для аппарата электроанальгезии
Реферат
Отчет содержит с., рис., лит. ист., табл., прил.
Объект исследования – определение адекватной длительности стимулов электроанальгезии.
Предмет исследования – блок автоматического управления длительностью стимула аппаратного комплекса для электроанальгезии.
Целью исследования является разработка блока управления длительностью стимула, синтез электрической принципиальной схемы данного блока и программное моделирование.
Электроанальгезия нашла широкое применение в медицине, так решает одну из важнейших проблем – устранение болевого синдрома, который возникает в послеоперационный период, а также при наличии хронических болевых синдромов. Это обусловило создание аппаратного комплекса, который, воздействуя на объект электрическим током определенной частоты понижает порог болевой чувствительности.
ЧРЕЗКОЖНАЯ ЭЛЕКТРОНЕЙРОСТИМУЛЯЦИЯ, ПОРОГ БОЛЕВОЙ ЧУВСТВИТЕЛЬНОСТИ, ЭЛЕКТРОАНАЛЬГЕЗИЯ, НОЦИЦЕПТОРЫ, АНТИНОЦИЦЕПТОРЫ, ЦЕНТРАЛЬНАЯ НЕРВНАЯ СИСТЕМА, НЕЙРОТРАНСМИТТЕРЫ, НЕЙРОМОДУЛЯТОРЫ, БИОТЕХНИЧЕСКАЯ СИСТЕМА ЭЛЕКТРОАНАЛЬГЕЗИИ.
Содержание
Введение
Медико-техническое обоснование
1.2 Физиологическое обоснование применения электрического воздействия при лечении болевых синдромов
1.3.Биотехнические системы электроанальгезии. Теоретическое обоснование структуры и механизмов воздействия
2. Схемотехническое обоснование
2.1 Синтез структурной схемы
2.2 Синтез структурной схемы блока определения длительности стимула для устройства электроанальгезии
2.2.1 Запоминающее устройство
2.2.2 Преобразователь «время – код»
2.2.3 Устройство управления
3. Расчетная часть
4. Моделирование схемы
5. Обзор аналогичных устройств
6. Патентные обзор
Заключение
Перечень ссылок
Приложение А
Приложение В
Приложение С
Приложение D
Введение
В практике современного здравоохранения широко используются медицинские системы электростимуляции органов и тканей. Технические устройства генерируют различные электрические токи, которые, взаимодействуя с функциональными системами организма, оказывают на него лечебное воздействие или дают информацию, используемую для постановки диагноза и в ходе дальнейшего лечения.
Лечебные эффекты, возникающие при воздействие электричества на организм человека, были замечены достаточно давно. Еще римские ученый Скриониус Ларгус ( 49 г. н. э. ) прикладывал к телу больных электрическую рыбу «торпедо» для лечения головных болей и подагры. Работы Л. Гальвани, опубликованные в 1791 г. и связанные с проблемой «живого электричества», изобретение А. Вольта первых химических источников тока, по существу, положили начало по изучению действия электрического тока на живые организмы. Однако первые ощутимые практические результаты применения электрического тока в медицине появились лишь в начале 20 века, когда прогресс в развитии науки и техники позволил создать аппараты, способные генерировать электрические токи необходимых характеристик и появились высокочувствительные измерительные приборы, которые могли быть использованы биоэлектрической активности, а уровень развития биологических наук в этот период времени позволил обоснованно применять эти средства в медицине. В настоящее время методы электрического воздействия применяются практически во всех областях медицины, как с лечебной, так и диагностической целью. В соответствии с медицинской терминологией воздействие электрического тока на органы и ткани стали чаще всего называть электрической стимуляцией, подчеркивая при этом то обстоятельство, что электрический ток в биологических тканях вызывает усиление функциональной активности систем, органов и тканей. Наиболее выражен этот эффект в возбудимых тканях: нервной и мышечной.
Электрическая стимуляция успешно сочетается с традиционной лекарственной терапией, а в ряде случаев позволяет добиться лечебного эффекта там, где другие методы лечения не дают положительного результата. Методы электростимуляции, применяемые в клинической медицине, зависят от конкретного объекта воздействия. Их можно разделить по функциональному признаку в соответствии с использованием в медицине:
Электрокардиостимуляция ( ЭКС );
ЭС желудочно-кишечного тракта;
ЭС дыхания;
ЭС нерва каротидного синуса;
ЭС депрессорных нервов;
Диагностическая ЭС;
Противоболевая ЭС;
Центральная электроанальгезия;
Электроостеостимуляция;
Дефибриляция;
ЭС выделительных органов;
ЭС органов слуха и зрения;
ЭС опорно-двигательного аппарата;
Общая электроанастеия.
В данной работе более подробно рассматривается один из видов электростимуляции – электроанальгезия, основной задачей которой является ослабление или устранение болевого синдрома, который возникает в послеоперационный период, при наличии хронических заболеваний и т.д.
Лечение хронических болевых синдромов по-прежнему остается одной из важнейших задач и сложнейшей проблемой медицины. Боль представляет собой многоплановый феномен, который, сигнализирует об опасности повреждения, выполняет в организме информационные и защитные функции, вместе с тем хроническая боль, истощая силы организма, снижая сопротивляемость, способствуя развитию осложнений, становится механизмом патогенеза и основой для возникновения различных патологических нарушений. Хронические болевые синдромы являются одной из наиболее частых причин нетрудоспособности человека.
1. Медико-техническое обоснование
1.1 Физиологическое обоснование применения электрического воздействия при лечении болевых синдромов
Лечение хронических болевых синдромов по-прежнему остается одной из важнейших задач и сложнейшей проблемой медицины. Боль представляет собой многоплановый феномен, который, сигнализируя об опасности повреждения, выполняет в организме информационные и защитные функции, вместе с тем хроническая боль, истощая силы организма, снижая сопротивляемость, способствуя развитию осложнений, становится механизмом патогенеза и основой для возникновения различных патологических нарушений. Хронические болевые синдромы являются одной из наиболее частых причин нетрудоспособности человека. В СССР около 20 миллионов" людей, то есть практически каждый пятый трудоспособный член общества, ежегодно страдали от боли. Толькоиз-за хронической боли, связанной с заболеваниями опорно-двигательного аппарата, от 10 до 30% взрослого населения надолго выбывают из сферы производства.
Защитная функция боли может быть наиболее полно проанализирована с позиций теории функциональных систем П. К. Анохина, согласно которой любая функциональная система имеет однотипную структуру, ядром которой является системообразующий фактор — полезный приспособительный результат. При отклонении жизненно важной функции от необходимого уровня включается специальный рецепторный аппарат, широко представленный в организме. Рецепторы являются первым звеном формирования так называемой обратной афферентации — физиологической обратной связи, играющей сигнальную роль в регуляции функций и в получении информации о результатах действий, совершенных функциональной системой. Обратная афферентация является основой, которая определяет целенаправленную деятельность каждой функциональной системы.
Для удержания полезного результата на заданном уровне каждая функциональная система имеет различные исполнительные механизмы, которые реализуются посредством поведенческой, вегетативной, гуморальной регуляции. Эффекторный аппарат функциональных систем является, в определенной степени, универсальным, т. к. одни и те же исполнительные механизмы могут быть включены для выполнения различных функций организма. Системообразующий фактор каждой функциональной системы обусловлен определенной биологической потребностью организма. Если считать боль своеобразной отрицательной потребностью организма, то можно вести речь, по крайней мере, о двух приспособительных результатах, которые могут быть положены в основу построения концепции функциональной системы с участием боли: целостность покровных оболочек организма, т. е. защита от повреждающих воздействий со стороны внешней среды, и необходимый уровень окислительных процессов в тканях организма, т. е. защита от воздействия веществ, которые нарушают химические тканевые процессы, поддерживающие нормальную жизнедеятельность. Сформированная на такой основе функциональная система с системообразующим фактором — болью показана на рис.1.1. Под действием болевой импульсации, возникающей в рецепторном аппарате и передаваемой по каналу обратной афферентации, в организме возникает ряд специфических и неспецифических реакций, направленных на устранение причин возникновения боли и восстановление гомеостаза.
Данные реакции можно разделить на несколько характерных групп:
— двигательные реакции, связанные с рефлекторной мышечной активностью, например, реакции «отдергивания»;
— эмоционально-поведенческие, связанные, например, со щажением больного органа, и социально-поведенческие, обуславливающие процесс лечения;
— вегетативные, вызывающие, например, расширение сосудов, усиление деятельности сердечно-сосудистой и дыхательной систем;
— гематологические, связанные с ускорением свертываемости крови, лейкоцитозом;
— гуморальные, определяемые повышением активности гормонов;
— метаболические, вызывающие изменения обмена веществ.
Таким образом, данная функциональная система, охватывающая практически все основные физиологические процессы, целенаправленно защищает организм как от последствий болевого раздражения, так и от возможных его повторений. Оценка указанных реакций организма на боль позволяет найти физиологические корреляты болевого раздражения, которые имеют информационную значимость при исследовании боли и методов обезболивания.
Раздражители, вызывающие ощущение боли, могут быть различными по своей природе: механическими, химическими, электрическими, термическими. Кроме того, у человека боль может вызываться эмоциональными и психическими факторами. Болевое ощущение в нормальных физиологических условиях формируется в результате раздражения сложной афферентной системы, включающей рецепторный аппарат, афферентные волокна, передающие ноцицептивную информацию, спинальные зоны переключения, восходящие пути в структуры ЦНС.

Рисунок.1.1 - Функциональная система организма с участием боли.
В настоящее время существует несколько теорий рецепции и восприятия боли. Наиболее традиционными являются теории специфичности Фрея и теории неспецифического паттерна Гольдшейдера, предложенные в конце прошлого столетия. Согласно первой основную роль в рецепции боли играют неинкапсулированные свободные нервные окончания, возбуждающиеся при повреждающих воздействиях. Вторая теория придает основное значение при формировании боли пространственно-временному соотношению афферентных сигналов в нервных проводниках различного типа. Ни одна из этих теорий до настоящего времени не отвергнута, более того, они продолжают подкрепляться соответствующими экспериментальными и клиническими данными, а поэтому имеют право на существование.
К рецепторам боли — ноцицепторам — относят низкопороговые и высокопорогосые соматические рецепторы и терминали, передающие импульсацию по А-дельта и С-волокнам (по классификации Гассера), которые по механизму реагирования можно разделить на механорецепторы и хеморецепторы. Обработка ноцицептивных сигналов на уровне спинного мозга изучалась в работах Р. Мелзака и П. Уолла, явившихся по сути дела попыткой создать теорию боли, в которой, с одной стороны, учитывалась физиологическая специализация, а с другой — осуществлялся анализ различных по интенсивности импульсных потоков. Теория «воротного контроля» боли Р. Мелзака и П. Уолла предполагает, что нейронный механизм задних рогов спинного мозга (спинальные зоны переключения) осуществляет модуляцию потока импульсации, идущей от периферических волокон в ЦНС. Степень уменьшения или увеличения передачи импульсации определяется соотношением активности волокон, несущих ноцицептивную и сенсорную импульсацию, а также влиянием тормозной нисходящей системы из высших структур мозга. Согласно модели «воротного контроля» боли (рис.1.2), афферентные волокна проводят импульсацию в желатинозную субстанцию и в передаточные Т-клетки. Модулирующее влияние, оказываемое со стороны желатинозной субстанции на передачу импульсации через Т-клетки, усиливается при возбуждении толстых волокон и уменьшается при возбуждении тонких. Однако «воротная» теория боли не смогла в полной мере объяснить явлений, возникающих при развитии болевых синдромов и их лечении. Недостаток теории по мнению ряда авторов состоит в том, что в ней торможение проведения болевой импульсации объясняется, главным образом, пресинаптическими механизмами на спинальном уровне, а центральному влиянию отводится второстепенная роль.
Открытие в середине 70-х годов эндогенной системы контроля болевой чувствительности, а также выделение эндогенных веществ, выполняющих функции нейромодуляторов болевой импульсации — опиоидных пептидов (эндорфинов и энкефалинов), позволили раскрыть более тонкие механизмы формирования болевой чувствительности у человека. В различных органах и тканях, в первую очередь в ЦНС, в структурах спинного мозга, в кишечнике, печени, предсердиях и др. были обнаружены так называемые опиатные рецепторы, с которыми взаимодействуют эндорфины и энкефалины. Существуют, по крайней мере, два вида данных рецепторов: мю-рецепторы, чувствительные к морфинам, активность которых предопределяет болевую чувствительность, и дельтарецепторы, посредством которых регулируется эмоциональное поведение.

Рисунок.1.2 - Модель «воротного» контроля боли:
1 — волокна большого диаметра, 2 — волокна малого диаметра, 3 — желатинозная субстанция, 4 — Т-клетки, 5 — система центрального контроля, 6 — система действия
В свете современных представлений формирование болевого ощущения у человека происходит в результате взаимодействия двух антагонистически функционирующих систем организма — ноцицептивной и антиноцицептивной. Ноцицептивная система (НС) восходит от ноцицепторов к глубоким структурам мозга. НС содержит в своем составе нейрохимический аппарат генерации специфических и неспецифических медиаторов болевой передачи — нейротрансмиттеров (НТ), который, располагаясь по ходу путей, проводящих ноцицепцию, преимущественно сосредотачивается в переключающих структурах. Типичными НТ являются: ацетилхолин, норадреналин, серотин. В тех же зонах представлены рецепторы антиноцицептивной системы (АНС), тормозящей передачу болевой импульсации за счет генерации нейромодуляторов (НМ) (рис.1.3.). Экспериментальные и клинические работы последних лет показали, что болевые ощущения у человека обусловлены изменением динамического соотношения между уровнями НМ и НТ. АНС и НС в процессе продукции НМ и НТ оказываются взаимосвязанными, т. к. активация одной из систем приводит не только к усилению ее функционирования, но и вызывает торможение другой системы. При воздействии ноцицептивного раздражителя происходит торможение структур АНС и затем с незначительной задержкой — активация НС. При хронических болевых синдромах АНС истощена, что характеризуется низким уровнем НМ. Активация НС в рамках данных представлений может произойти без воздействий, угрожающих повреждением, например, вследствие угнетения активности АНС. Так, введение блокаторов НМ ведет к развитию гипералгезии, т. е. к уменьшению болевого порога и возникновению спонтанных болевых ощущений. Активация АНС, вызывающая срабатывание эндогенных механизмов антиноцицепции и приводящая к снижению болевой чувствительности, происходит при различных видах воздействия на организм. Этими механизмами могут быть объяснены анальгетические феномены, возникающие при акупунктуре, вибрационной и звуковой стимуляции, при чрескожной электронейростимуляции и стимуляции спинномозговых проводящих путей.
Все вышесказанное позволяет утверждать, что в ответ на болевое раздражение в организме возникает системная реакция, направленная на устранение раздражения и характеризующаяся возбуждением основных физиологических систем. Передача болевого раздражения от ноцицепторов к структурам ЦНС, ответственным за восприятие боли, происходит под контролем двух эндогенных систем организма — НС и АНС, взаимосвязанных при своем функционировании. Модуляция афферентных потоков болевой импульсации возможна путем влияния на активность данных систем. Возбуждение сенсорных структур, связанных с областью болевого раздражения, возникающее при противоболевой электронейростимуляции, активирует АНС и вызывает соответственное изменение уровней НМ и НТ, приводящее к повышению болевого порога. Данные механизмы могут быть использованы для объяснения процессов регуляции боли при электронейростимуляции сенсорных структур в ходе периферической электроанальгезии.

Рисунок 1.3 - Регуляция болевой чувствительности с участием АНС и НС
1.2 Биотехническая система электроанальгезии. Теоретическое обоснование структуры и механизмов воздействия
Создание новых эффективных аппаратных методов и технических средств для периферической электроанальгезии представляет собой проблему, решение которой требует комплексного подхода и всестороннего учета ее технических, физиологических и клинических аспектов. Создание новой медицинской техники и аппаратных методов лечения должно опираться, с одной стороны, на возможности современных технологий, а с другой, — на глубокое понимание явлений, происходящих при взаимодействии технических средств и живого организма. Изучение такого взаимодействия невозможно без использования системного подхода, в соответствии с которым технические и биологические звенья должны рассматриваться взаимосвязанно в рамках единой биотехнической системы (БТС). Биотехнический системный подход становится в настоящее время методологической основой для создания эффективных аппаратных методов и технических средств, пригодных для использования в медицине. Сформулированные в общей теории БТС принципы взаимного согласования параметров биологических и технических компонентов системы, целевой функции, управления и регулирования по биотехническому контуру обратной связи, позволяют определить пути создания такой аппаратуры и разработки эффективных методов лечебного воздействия.
Для решения проблемы создания эффективных аппаратных методов и технических средств периферической электроанальгезии ее следует рассмотреть с этих же позиций и разработать БТС нового типа — биотехническую систему электроанальгезии (БТС ЭА), объединяющую в своем составе биологические и технические звенья, участвующие в процессе обезболивания под влиянием электростимуляции.
Работа БТС ЭА строится на основе взаимодействия системы контроля болевой чувствительности организма человека, являющейся физиологической частью БТС, и технического компонента системы, в задачи которого должны входить не только формирование лечебного воздействия, но и оценка состояния физиологических показателей и диагностических признаков для управления параметрами воздействия. При развитии болевого синдрома система контроля болевой чувствительности возбуждается потоком ноцицептивной импульсации из очага боли. Лечебное воздействие в виде стимулирующего электротока, создаваемого блоком воздействия, будет формировать поток сенсорной афферентации, поступающий на управляемый вход системы контроля болевой чувствительности. Блок воздействия включает в себя канал согласования, содержащий возбуждаемые афференты, участки пассивной передачи тока воздействия, стимулирующие электроды, а также устройство формирования электрического воздействия. Формирование управляющих сигналов, задающих параметры и режимы стимуляции, осуществляется на основе оценки физиологических показателей и определения диагностического признака. Реализация целевой функции БТС, заключающаяся в минимизации отклонения диагностического признака от нормы, осуществляется различными способами в зависимости от функциональных особенностей использования аппаратуры.
Диагностическим признаком в БТС ЭА служит степень выраженности у пациента болевого синдрома, которая проявляется в виде болевых ощущений, а также в виде характерного сдвига физиологических показателей, косвенно связанных с интенсивностью боли.
При возникновении у пациента болевых ощущений управление параметрами электронейростимуляции осуществляется врачом на основе клинического обследования состояния больного, причем включение стимулов и установка выбранного режима воздействия может происходить автоматически по программе, составленной с учетом индивидуальных особенностей проявления болевого синдрома. В определенных случаях, например, при лечении хронических болей, управление параметрами стимулов может осуществляться самим пациентом по инструкции врача. В случаях, когда контакт с пациентом в ходе лечения затруднен или вообще невозможен, например, во время проведения хирургических вмешательств, единственным наблюдаемым проявлением болевого синдрома является изменение физиологических показателей, отражающих состояние пациента. Для диагностики состояния в этом случае в БТС ЭА необходимо ввести блоки измерения физиологических параметров и оценки показателей, дающие врачу информацию об эффективности электроанальгезии. В соответствии с вышеизложенным структурно-функциональная схема БТС ЭА приобретает вид, показанный на рис.1.4. Для БТС ЭА эндогенная регулировка болевой чувствительности осуществляется со стороны двух систем организма: АНС и НС, связанных с зонами переключения болевой чувствительности, находящимися на пути ноцицептивной импульсации от периферии к структурам ЦНС, воспринимающим боль.

Рисунок 1.4 - Структурная схема БТС ЭА:
ПБЧ — переключение болевой чувствительности; Н — ноцицепторы; ФС — физиологические системы; КС — канал согласования БТС; Э — электроды; ПБТ — пассивная биологическая ткань; СА — сенсорные афференты; ТЗ — технические звенья; ЗГ — задающий генератор; ФС — формирователь стимула; ВУ — выходной усилитель; БУ, БО — блоки управления и оценки; КН — клиническое наблюдение; ИФП — измерение физиологических показателей; ОП — оценка показателей; ВП — выработка показаний
Биотехнический контур управления образуется с помощью устройства генерации и формирования стимулирующего тока, воздействующего через электроды и участки тканей, передающие стимул на соответствующие сенсорные структуры. Ядром биологического звена БТС ЭА является зона управления болевой чувствительностью, происходящие процессы в которой за счет электрического воздействия определяют эффективность обезболивания, достигаемого в результате функционирования биотехнического контура управления. Технические звенья, входящие в состав биотехнического контура управления в соответствии с функциональным назначением в БТС ЭА — возбуждением сенсорных афферентов — должны содержать каскады задающего генератора, формирователя стимулов, выходного усилителя тока, а также блок управления параметрами выходного тока стимула. Задающий генератор определяет частоту следования стимулов и синхронизирует работу устройства, в формирователе происходит задание формы стимула и его временных параметров (длительности, фронта, среза, заполнения и т.п.). Выходной усилитель задает необходимую амплитуду тока стимулов и определяет условия согласования с электродами и биологической тканью. Динамическое согласование параметров стимулирующего тока и биологической ткани может быть достигнуто введением блока оценки условий стимуляции, осуществляющего обратную связь канала согласования БТС и блока управления параметрами выходного тока. Блоки измерения физиологических параметров и оценки показателей входят в информационное звено БТС. В качестве измеряемых параметров для оценки выраженности болевого синдрома и степени электроанальгезии могут быть выбраны:
параметры сердечно-сосудистой системы, являющейся надежным индикатором изменения состояния организма — сердечный ритм, гемодинамические показатели, а также показатели внешнего дыхания.
Структурное построение технических звеньев БТС ЭА в определенной степени зависит от области медицинского применения. Аппаратура для индивидуального пользования по инструкции врача должна иметь минимум возможных вариаций ручных регулировок параметров стимула и повышенную безопасность в работе. Для клинического использования блок управления может включать программное устройство долговременного задания параметров. Информационные звенья целесообразно включать в состав БТС в случаях интраоперационного обезболивания, когда контакт с больным отсутствует. Таким образом, предложенная структура БТС ЭА является функционально полной для описания различных вариантов обезболивания путем периферической электронейростимуляции сенсорных структур.
Основным вопросом, определяющим эффективность функционирования БТС ЭА, является выработка критериев формирования стимулирующего воздействия на основе анализа процессов, происходящих в зоне регуляции болевой чувствительности биологического звена под действием управляющего воздействия. Данные критерии определяют алгоритм функционирования БТС, направленный на реализацию ее целевой функции. Анализ структуры БТС ЭА показывает, что существуют два уровня определения искомых критериев. На уровне канала согласования БТС целесообразно определить критерии выбора стимулирующего воздействия, обеспечивающие наибольшую эффективность возбуждения соматических афферентов, а на уровне зоны регуляции болевой чувствительности — критерии эффективной электроанальгезии.
Критерии канала согласования касаются выбора параметров и режимов стимуляции, формы стимулов, обеспечивающих высокую интенсивность импульсации в возбуждаемых нервных структурах. Критерии зоны регуляции определяются на основе анализа процессов в НС и АНС, определяющих уровень болевой чувствительности в организме. При синтезе сигнала воздействия для БТС ЭА необходим совместный учет критериев обоих уровней, в результате чего создаются условия для эффективной электроанальгезии. С точки зрения теории БТС задание подобных критериев является реализацией принципов адекватности и единства информационной среды.
Определение данным путем характеристик и параметров стимулирующего воздействия позволяет провести синтез структуры технического звена, в частности, электронейростимулятора на основе формирования требований к отдельным его блокам, отвечающим конкретной технической реализации. Алгоритмы функционирования технического звена целесообразно определить, исходя из закономерностей изменения как параметров канала согласования БТС, так и динамики процессов, происходящих в зоне управления болевой чувствительностью, что необходимо для обеспечения эффективного функционирования БТС в целом.
Ядром БТС электроанальгезии является зона управления болевой чувствительностью, процессы в которой определяют эффективность обезболивания, достигаемого за счет действия биотехнического контура управления. Процессы, происходящие в зоне управления под влиянием противоболевой электронейростимуляции, зависят от изменения уровней НМ и НТ в структурах АНС и НС и интенсивностей ноцицепции и стимуляции. Это позволяет описать процесс формирования болевой чувствительности в зоне управления методом камерного моделирования, позволяющим рассматривать процессы управления в биосистемах в терминах «вход-выход-состояние».
Под камерой обычно понимается некоторый легко формализуемый элемент биосистемы, с которым связано перемещение или преобразование отдельного ее компонента, имеющего количественную характеристику. Каждая камера биосистемы характеризуется одной переменной состояния, а биосистема в целом — вектором состояния.
В камерных моделях открытых биосистем в качестве входных и выходных переменных используются темпы изменения количества вещества или энергии на входе и выходе биосистемы, а в качестве переменных состояния — их уровни, регулирующие эти темпы. Такие представления отвечают закономерностям важнейших процессов в биосистемах, описываемых с помощью обыкновенных дифференциальных уравнений, определяющих диффузионный и конвективный транспорт вещества, ферментативные реакции, воздействие активных веществ на органы и ткани, нейрогуморальные процессы.
Камерная модель, в отличие от существующих качественных методов описания процессов формирования болевой чувствительности, позволяет установить зависимость между темпами поступления входных переменных, в данном случае — ноцицепции и сенсорной афферентации, и уровнями НТ и НМ, определяющими порог болевого восприятия. Это дает возможность использовать данную модель не только для анализа процессов регуляции болевой чувствительности, но и для определения наиболее эффективных параметров и режимов воздействия на АНС с целью подавления болевых синдромов.
Анализ модели позволяет определить требования к формированию стимулирующего воздействия для эффективного подавления боли. В пределах линейности уравнений модели увеличение амплитуды тока стимула ведет к повышению болевого порога. Эта зависимость хорошо подтверждается клинически, однако в случае чрескожной стимуляции возникновение электрокожных тепловых эффектов, сопровождающихся болевыми ощущениями под электродами, ограничивает увеличение тока. Достижение обезболивания при ограниченных амплитудах тока стимула возможно путем увеличения значения порога болевого раздражения, которое зависит от выбранной формы стимулирующего тока.
Исследование возбудимости нервных волокон различного диаметра, ответственных за проведение различных видов чувствительности показывает, что дифференциация порогов сенсорного и болевого раздражения возрастает с укорочением длительности стимула и увеличением крутизны его фронта. Таким образом, для повышения эффективности противоболевого воздействия необходимо выбирать стимулы с коротким фронтом, длительность которого не превышает единиц процентов от длительности стимула. Уменьшение длительности прямоугольного стимула ограничено величиной времени релаксации тока в тканях, окружающих возбудимую структуру, т. к. при дальнейшем укорочении стимула возрастает величина энергии, рассеиваемой в тканях.
При чрескожной электростимуляции требование уменьшения энергии, рассеиваемой в тканях, усиливается, т. к. из-за падения амплитуды стимула при его передаче к возбудимому звену приходится значительно увеличивать ток, проходящий в ткани. Возникающие при этом чрескожные эффекты в значительной степени зависят от соотношения составляющих, образующих частотный спектр стимула. Сравнение различных форм стимула для чрескожной электронейростимуляции опорно-двигательного аппарата, а также электростимуляции мышц показывает, что уменьшение чрескожных эффектов в зоне расположения электродов при больших токах стимула достигается путем увеличения частоты основных спектральных компонент стимула, а также использования синусоидальных стимулирующих токов с частотой порядка 3...5 кГц. Причем уменьшение частоты сопровождается усилением болезненности под электродами, а значительное увеличение частоты приводит к резкому падению эффективности стимуляции.
Исследование чрескожных эффектов действия тока показывает, что минимальные пороги болевых ощущений наблюдаются и области «низких» частот порядка десятков-сотен герц. Здесь же достш ают максимума термические эффекты, обусловленные потерями стимулирующего тока в тканях. С повышением частоты спектральных компонент стимулов увеличивается шунтирующее действие проводимости межэлектродного промежутка, что обуславливает падение напряжения стимулов на возбудимой структуре. Так, если для модели чрескожного импеданса воспользоваться трехзвенной электрической эквивалентной схемой, то зависимость напряжения стимулов от частоты тока примет вид, показанный на рис. 1.5.

Рис. 1.5 - Частотные зависимости при синусоидальном стимуле:а — модуль напряжения стимула; б — экспериментальные пороги возбуждения;
в — пороги, рассчитанные для модели.
Здесь же показаны зависимости для порогов возбуждения М-ответов срединного нерва для случая чрескожной регистрации при воздействии стимулом, имеющим квазимонохроматический спектр, а также рассчитанная по модели канала воздействия для условий эксперимента.
Сопоставление зависимостей показывает, что для рассматриваемых условий стимуляции в области «верхних» частот, где происходит падение напряжения стимула, порог возбуждения, начиная с частот 10...15 кГц, удваивается и быстро растет. В области «средних» частот, там, где напряжение уменьшается не более, чем в 2 раза, пороги возбуждения оказываются минимальными.
Таким образом, рассмотрение зависимостей чрескожных эффектов действия тока и характеристик возбудимости нервного волокна от частотных компонент воздействующего тока, с точки зрения критерия минимального порогового воздействия и уменьшения ноцицептивных эффектов под электродами, показывает существование области «средних» адекватных частот стимулирующего тока.
2. Схемотехническое обоснование
2.1 Синтез структурной схемы
Формирование адекватной длительности стимулов, при которой достигается минимизация пороговой энергии стимуляции и поддерживание этих условий в процессе длительного воздействия, требует контроля величины времени релаксации тока в зоне расположения электродов и введение управления в формирователь длительности стимулов. Структурная схема, реализующая данный принцип управления длительностью стимула, показана на рис. 2.1. Задающий генератор 1 определяет частоту следования стимулов, длительность которых задается в управляемом формирователе 2, связанном через коммутатор 3 и усилитель 4 с электродами 5, расположенными на участке биологической ткани. Сигнал тактового генератора 6, синхронизированный с импульсами стимуляции, переводит устройство в режим управления. В этом режиме на электроды 5 подается сигнал с формирователя измерительного импульса 7, представляющий собой импульс с прямоугольной огибающей. Возникающее на электродах под действием измерительного импульса экспоненциально возрастающее напряжение поступает на измеритель переходного процесса 8, который формирует временной интервал, соответствующий времени нарастании входного напряжения, т.е. контролируемой величине времени релаксации тока. Для сохранения измеренного значения на весь период управления служит запоминающее устройство 9, сбрасываемое в начале каждого такта управления сигналом тактового генератора 6. Выход запоминающего устройства 9 через устройство управления 10 связан с управляющим входом формирователя длительности стимула 2. Таким образом, длительность стимулов в режиме стимуляции устанавливается в соответствии с измеренным значением времени релаксации тока в тканях в предыдущем периоде управления. Период управления выбирается достаточно большим по сравнению с длительностью измерительного импульса и периода стимуляции. Для отслеживания изменений релаксационных свойств ткани в процессе стимуляции достаточно выбрать период управления равным 2…4 с, а длительность измерительного импульса 1,5…2,0 мс. Достоинством данной схемы является использование одной пары электродов для стимуляции и контроля параметров, что упрощает построение технического звена БТС.
1
2
4
3























6
7
10
9
8
5




Рисунок 2.1 - Структурная схема автоматического управления длительностью стимула.
– задающий генератор;
– управляемый формирователь;
– коммутатор;
– усилитель;
– электроды;
– тактовый генератор;
– формирователь измерительного импульса;
– измеритель переходного процесса;
– запоминающее устройство;
– устройство управления.
2.2 Синтез структурной схемы блока определения длительности стимула для устройства электроанальгезии
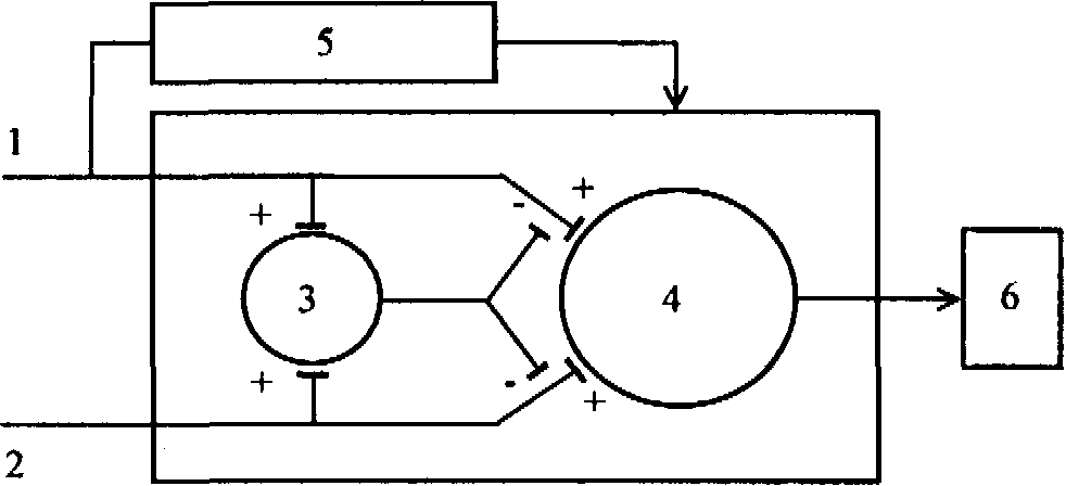
Блок определения длительности стимулирующего импульса для аппарата электроанальгезии является совокупностью трех блоков устройства для электроанальгезии, которые представлены под цифрами 8 -10 структурной схемы аппарата для ЭА (рис.2.1), упрощенная структурная схема приведена на рис.2.2. Более подробная структурная схема приведена в Приложении А.

Рисунок 2.2 - Структурная схема блока определения длительности стимула для устройства электроанальгезии.
Измеритель переходного процесса представляет собой компаратор напряжения, который сравнивает между собой U>оп> и U>изм>, которые предварительно проходят через входные усилители. Далее сигнал поступает на запоминающее устройство, которое выполняет роль преобразователя «время – код», после чего код в цифровом виде поступает на устройство управления.
Устройство управления предназначено для формирования кода длительности стимула для задающего генератора и обеспечивает как автоматическую установку длительности стимула, так и ручную.
2.2.1 Запоминающее устройство
Запоминающее устройство, которое представлено в структурной схеме, которая подробно рассмотрена в предыдущем пункте, под номером 9, является ничем иным, как преобразователем «время - код». Рассмотрим более подробно его структуру и принцип работы.
2.2.2 Преобразователь «время - код»
Преобразователь «время – код » (ПВК) широко используется при построении различных автоматических систем радиотехнических, (дальномеры, высотомеры, радиолокация, радионавигация), при автоматизации научных исследований (например, физика плазмы), при построении информационно-справочных систем (например, для обслуживания спортивных соревнований) и т.д. В ряде случаев ПВК используется в качестве промежуточных преобразователей, когда исходная аналоговая величина предварительно преобразуется во временной интервал, а затем временной интервал – в код. Например, при преобразовании напряжения в код, частоты и фазы в код. Наконец, основные идеи построения ПВК используются при проектировании цифровых часов, широко распространенных в настоящее время.
Метод электронного нониуса показан на рис.2.3. Схема работает следующим образом. В исходном состоянии триггеры T1 и T2, а также первый и второй счетчики установлены в нуль. По сигналу старт – импульса начинается измерение временного интервала классическим методом. По сигналу стоп – импульса в момент времени t>1> в первом счетчике формируется число N, триггер T2 устанавливается в единицу и запускает ГИ>2> с ударным возбуждением (рис.2.3.б), первый импульс которого совпадает со стоп – импульсом. Импульсы с периодом >2> от ГИ>2> начинают поступать на второй счетчик и на второй вход схемы И>2 >, на первый вход которой приходят импульсы от ГИ>1>. В момент времени t>2> импульсы ГИ>1> и ГИ>2> совпадают, а импульсы с выхода И>2> устанавливают в нуль триггер T2, который сорвет колебания ГИ>2> и тем самым прекратит поступление его импульсов во второй счетчик. В счетчике 2 зафиксируется поправка N, пропорциональная погрешность t>2>. Докажем справедливость последнего утверждения. Пусть требуется на основании уравнения
= /m
уменьшить максимальную погрешность t>2> и значений . Тогда необходимо так выбрать >1 >и >2>, чтобы = >1> - >2>. Из рис.2.3.б следует, что t>2> = p>1> - p>2> = p, где p – число периодов >1> и >2>, по прохождении которых произошло совпадение на схеме И>2> импульсов ГИ>1> и ГИ>2>. При правильной работе схемы pm. Однако в счетчике 2 фиксируется не число интервалов p, а число импульсов l, прошедших в него и которых оказывается на единицу больше, чем число интервалов p. Следовательно, p = l – 1, а t>2 >= p = / l – 1/ = N. Следовательно, соотношение для подсчета значения временного интервала T>x> с учетом уменьшения погрешности t>2> , при допущении, что t>1> = 0, на основании уравнения
T>X> = T>X> - t>1> + t>2>
выглядит так:
T>X>> >= >1> N + SN.
Обычно величина m = 10…100.
Увеличение m в схеме электронного нониуса приводит к более жестким требованиям стабильности частоты генератора с ударным возбуждением ГИ>2> и стабильности длительности импульсов >1> и >2>, так как в противном случае при p m, что приведет к неверной оценки погрешности t>2>.
ГИ1
>1>
+1 CT2 1
2
C1 .
.
.
R 1 2n 2n






S T>1>
R







S T>2>
R
+1 CT2 1
2
C1 .
.
.
R 2 2n
ГИ2




>2>

Рисунок 2.3.а. – Схема преобразователя «время - код»

И















































1 стоп.
имп.
>1>
ГИ2 t>2>
>2>
p>2> совпадение


p>1>
>1> и >2>
Рисунок 2.3.б. – Преобразование временного интервала в код
2.2.3 Устройство управления
Устройство управлении обеспечивает работу блока определения длительности стимула как в автоматическом, так и в ручном режиме. В автоматическом режиме осуществляется преобразование кода, полученного на выходе ПВК, в значение необходимое для правильной работы генератора сигналов. В ручном режиме управление осуществляется при помощи нажатия кнопок, которыми можно изменить длительность в диапазоне от 10 мкс до 630 мкс с шагом 20 мкс.
Блок автоматического выбора длительности стимула состоит из компаратора напряжения и D-триггера, на управляющий вход которого поступает сигнал с ВЧ генератора импульсов (f = 50 кГц).
Блок ручного выбора длительности стимула состоит из коммутатора и НЧ генератора импульсов (f = 5 Гц). Коммутатор является кнопочным и дополнен схемой для устранения дребезга контактов кнопок.
После выбора режима работы сигнал с блока выбора длительности поступает на мультиплексор. Далее данные с выхода мультиплексора поступают на реверсивный счетчик, направление счета которого определяется нажатием кнопки «+» или «-».
3 Обзор устройств для электроанальгезии
В последние годы медицинская промышленность серийно выпускает более совершенную аппаратуру для электроанестезии (приборы "Элиман-101", "Элиман-206", "Дельта-102", "ЭТНС-100-1", "ЭТНС-100-2" и др.), которая генерирует импульсные токи частотой от 30 до 200 Гц. Токи таких параметров обладают выраженным седативным и анальгезирующим эффектом. Однако существенными недостатками указанных токов являются быстро возникающая адаптация организма к ним и закономерное уменьшение степени анальгезии. Кроме того, характерный для этих токов нагрев электродов в ряде случаев приводит к ожогам в результате электролитической диссоциации в месте наложения электродов.
Аппарат «ЭЛИМАН-101»
Предназначен для чрескожной электроней-ростимуляции в условиях хирургических, реанимационных и неврологических отделений лечебных учреждений, в родильных домах с целью: снятия послеоперационных болей, снятия острых посттравматических болей, обезболивания родов, лечения хронических нейрогенных, ангиогенных, вертеброгенных и онкогенных болевых синдромов. По своему построению аппарат относится к первому типу конструкции электростимуляторов из функционального ряда аппаратуры для периферической электроанальгезии.
Основные технические характеристики аппарата «ЭЛИМАН-101»:
Частота следования пачек импульсов, Гц 100...250;
Длительность пачек импульсов, мкс 100...300;
Длительность импульсов в пачке, мкс 10;
Частота импульсов в пачке, кГц 50;
Длительность фронта и среза импульсов, мкс, не более 2;
Неравномерность плоской вершины и относительные величины
выбросов, %, не более 15;
Амплитуда выходного тока на нагрузке 1к, мА 0...50;
Напряжение питания сети, В 220;
Частота, Гц 50;
Потребляемая мощность, В-А, не более 10;
Габариты, мм:
аппарата 270x150x60,
электродов 250x18x0,2;
Масса, кг, не более 1,2.
Аппарат «ЭЛИМАН-206»
Реализует второй тип конструкции электростимуляторов из функционального ряда аппаратуры для периферической электроанальгезии. Он выполнен в виде портативной конструкции с батарейным питанием для использования в условиях поликлиник, травмпунктов, станций скорой медицинской помощи, лечения на дому. Для повышения эффективности воздействия аппарат содержит два независимых канала, что позволяет более полно выполнить условия выбора зон расположения электродов. Это делает аппарат удобным при терапии политопных болей. В отличие от существующих в отечественной и зарубежной практике двухканальных электростимуляторов, не позволяющих раздельно регулировать временные параметры стимула по отдельным каналам воздействия, аппарат «ЭЛИМАН-206» обладает независимой регулировкой как амплитуды, так и длительности стимулов по каждому каналу. Необходимость в подобной регулировке вызвана тем, что на достижение адекватных параметров стимулирующего тока существенное влияние оказывают импедансные свойства тканей, которые при чрескожном приложении стимулов будут различными для различных участков тела в зонах расположения пар электродов.
Основные технические характеристики аппарата «ЭЛИМАН-206»:
Число каналов стимуляции 2;
Частота следования пачек импульсов, Гц 100;
Длительность пачек импульсов, мкс 100...300;
Длительность импульсов в пачке, мкс 10;
Частота следования импульсов в пачке, кГц 50;
Длительность фронта и спада импульсов, мкс, не более 2;
Неравномерность плоской вершины огибающей пачки
и относительный выброс, %, не более 20;
Амплитуда выходного тока на нагрузке 1к, мА 0...50;
Напряжение питания (батарея из 6 элементов «316»), В 9;
Габариты, мм;
аппарата 200x100x40,
электродов 250x18x0,2;
Масса, кг, не более 0,5.
Чрескожный электростимулятор «ЭЛИМАН-401»

Построен по третьему типу конструкции аппаратов из функционального ряда электростимуляторов для периферической электроанальгезии. В основу работы аппарата положена реализация временного алгоритма формирования адекватной длительности стимулов. В соответствии с данным алгоритмом длительность стимула устанавливается в соответствии с измеренным значением времени релаксации тока в тканях под электродами. Периодическое повторение процессов измерения и корректировки длительности стимула позволяет сохранить эффективность воздействия в течение длительного обезболивания, т. к. периодическое изменение параметров стимуляции способствует ослаблению влияния адаптационных процессов к действию электрического тока. Введение биорегулировки позволило расширить область медицинского использования аппарата. Электростимулятор «ЭЛИМАН-401» предназначен для достижения анальгезии при общей анестезии во время хирургических операций, когда контакт с больным невозможен, для обезболивания во время родов, для снятия интенсивных болей невралгического, травматического характера, для послеоперационного обезболивания.
Основные технические характеристики аппарата «ЭЛИМАН-401»:
Частота следования пачек импульсов, Гц 100…250
Диапазон автоматической установки длительности стимула, мкс 50…500
Длительность импульсов в пачке, мкс 10
Частота импульсов в пачке, кГц 50
Длительность фронта и среза импульсов, мкс, не более 2 Неравномерность плоской вершины импульса в пачке и относительные величины выбросов, %
Длительность огибающей измерительного импульса, мс 1.2 Отношение частоты следования измерительного импульса к частоте следования стимулов 0.01
Амплитуда выходного тока на нагрузке 1к, мА 0…100
Напряжение питания сети, В 220
Частота сети, Гц 50
Потребляемая мощность, ВА 15
Масса, кг, не более 1.2
Комплексный электротерапевтический аппарат “МЕТА-1”

Портативность, многофункциональность, большие возможности использования в медицине и спорте:
Электрофорез
Электронаркоз
Электросон
Электромиостимуляция
Электронейростимуляция
Электроанальгезия
Гальванизация
Электромассаж
Технические характеристики
Сила постоянного тока, мА…….1-20
Сила импульсного тока, мА…..1-100
Тип импульса…биполярный асимметрический с равновеликой площадью положительной и отрицательной частей с регулируемой длительностью, мкс ……20-500 (20-100 мкс, 100-500 мкс.)
Количество диапазонов регулировки частоты ….….3 (2-20 Гц, 20-200 Гц, 200-2000 Гц.)
Пределы регулировки длительности серии импульсов и паузы между ними, сек ….0,5-3
Девиация частоты, % ……………150 от заданной
Количество выходных каналов …... 4
Включение каналов автоматическое по круговому последовательному циклу при подключении электродов Класс защиты ………………………ІІ
Питание …….сеть переменного тока 220 В, 50 Гц
Потребляемая мощность, ВА …….16
Габаритные размеры, мм … 240х230х85
Масса не более, кг ………………..1,5
Количество электродов………….. 14
Цена: 480грн.
Аппарат «БИОМАГ»
"БИОМАГ" - новейший аппарат, в котором сочетаются два физиотерапевтических воздействия: первое - знаменитая низкочастотная магнитотерапия, применяемая теперь практически во всех лечебных учреждениях, второе - современное достижение в области электронного обезболивания.
Методы низкочастотной магнитотерапии являются самыми щадящими из известных физиотерапевтических воздействий. А метод электроанальгезии, наоборот, следует отнести к наиболее интенсивным методам подавления боли. В настоящее время лечебное общебиологическое действие обоих методов широко распространено и имеет весьма солидную репутацию. Именно их одновременное сочетание позволяет эффективно влиять на улучшение самочувствия. Наиболее целесообразно применение обоих воздействий одновременно при остеохондрозе позвоночника, травматических невритах, невралгиях, отеках, судорогах, аритмиях, атеросклерозах, болях при язвах желудка и двенадцатиперстной кишки, мигренях и др.
"БИОМАГ" генерирует и электрические импульсы, сходные с биотоками нервных волокон при нормальном состоянии здорового организма. Мозг воспринимает их, и на этом фоне теряется патологическое болевое ощущение. Это можно сравнить с тем, как звучная мелодия перекрывает невнятный шум. Данный метод очень щадящий и экономичный. Кроме того, недавние исследования показали, что электроанальгезия на низкой частоте подобна классической китайской акупунктуре: она тоже вызывает выработку в организме эндорфинов - природных "гормонов счастья".
Динамический электросон "Магнон-ДЭС"

- Аппарат Магнон-ДЭС предназначен для проведения процедур электросонной терапии и электроцеребрального воздействия в динамическом режиме. Это достигается путем программного изменения параметров воздействия на пациента в процессе проведения процедур. Программирование параметров воздействия может осуществляться как непосредственно на аппарате Магнон-ДЭС, так и на компьютере, с которого может управляться прибор.
- Аппарат оказывает трансцеребральное воздействие на подкорковые и корковые образования ЦНС, вызывает естественный физиологический сон, нормализующий деятельность нервной системы, поведенческую реакцию, психоэмоциональную деятельность и функционирование внутренних, в том числе эндокринных органов. Применяется в неврологии, при заболеваниях сердечно-сосудистой системы, органов опоры и движения, органов дыхания, а также в профилактических целях.
- Аппарат полностью заменяет небезопасные для организма химические лекарственные вещества: транквилизаторы, нейролептики, психостимуляторы, может быть использован также для лечение астеноневротических и депрессивных состояний, в том числе, сопровождающихся чувством тревоги и страха.
- Процедуры от аппарата просты, безболезненны, безопасны, не вызывают появления жжения под электродами, отличаются хорошей переносимостью пациентами всех возрастных групп, начиная с детей 3-5 летнего возраста. Физиологический сон наступает уже с первых минут подачи тока на голову пациента.
- Характеристики аппарата позволяют осуществлять терапевтическое воздействие в режимах электротранквилизации или электроанальгезии, заменяя аппараты типа "Лэнар".
Аппарат электронейромиоимпульсации "Магнон-СКИФ-24"

- Аппарат "Магнон - СКИФ -24" предназначен для проведения диагностики и лечения импульсами электрического тока в диапазоне частот от 0 до 1000 Гц.
- Аппарат генерирует любые формы импульсного тока из четырех предложенных: треугольный, экспоненциальный, синусоидальный, прямоугольный длительностью от 50 микросекунд до 1 секунды. Импульсы тока могут быть монополярны с положительной или отрицательной полярностью и биполярные с высокочастотным заполнением и без него. Частота заполнения импульсов от 0,1 до 16 кГц.
- Прибор имеет два канала, которые могут работать как независимо друг от друга, так и скоррелировано. Возможны различные типы корреляции: от простейших типа "бегущая волна" до сложномодулированной интерференции. Аппарат может работать в режиме электропунктуры.
- С помощью аппарата проводятся классическое, расширенное, хронаксиметрическая электродиагностика, рефлексодиагностика с последующей электростимуляцией, электроцеребральные воздействия в виде гальванизации головы, электросна, биоэлектросна, электроанальгезии и анестезии, процедуры диадинамотерапии, амплипульс - терапии, гальванизации и электрофореза лекарственных веществ, интерференцтерапии. Аппарат применяется при разнообразных патологиях в неврологической, терапевтической, педиатрической, рефлексотерапевтической, атрологической, ангеологической, стоматологической, дерматологической, ЛОР-практики, при хирургических заболеваниях, при врожденной челюстно-лицевой патологии, в гериатрии, гинекологии, эндокринологии.
- Аппарат заменяет все известные мировой практике генераторы импульсных и короткоимпульсных сигналов, включая "Скэнар", "Дельта", "Рефлекс", "Аксон", "Амплипульс", "Нейропульс" и т.д.
- Масса аппарата не более 3 кг.
- Габариты 300х200х100 мм.
Технические характеристики:
1. Аппарат имеет два гальванически развязанных канала с независимым формированием выходного сигнала (форма импульса, частота следования импульсов, частота заполнения, временные параметры и регулировка выходных токов)
2. Может быть задано четыре разных формы импульса - треугольная, прямоугольная. полусинусоидальная и экспоненциальная.
3. Аппарат работает в двух функциональных режимах - непрерывной генерации и импульсной генерации
4. Полярность выходного сигнала:
-биполярные радиоимпульсы;
-радиоимпульсы положительной или отрицательной полярности;
-видеоимпульсы положительной полярности;
-видеоимпульсы отрицательной полярности;
-положительная составляющая отдельно, либо в сочетании с различными режимными комбинациями.
5. Частота следования импульсов регулируется от 1 до 999 Гц.
6. Длительность импульса регулируется от 50 мкс до 999 мс.
7. Частота заполнения в режиме радиоимпульса регулируется от 1,0 до 16,0 кГц.
8. В режиме временной манипуляции время работы и время паузы регулируются от 0,1 до 10 секунд.
9. Аппарат работает в режиме миллитоков до 99,9 мА, и микротоков до 999 мкА. Последний режим обеспечивает проведение процедур электрорефлексотерапии.
10. Аппарат поставляется в дипломате, в комплекте с набором электродов (кнопочный электрод-прерыватель, прямоугольные электроды для проведения процедур на зоны большой площадщи, круглые электроды для электропунктуры), с паспортом (гарантия - 1 год, недорогое послегарантийное обслуживание) и методиками.
- Аппарат поставляется в комплекте с методиками клинического использования. Методики разработаны специалистами кафедры физиотерапии и электрорефлексотерапии Уральской Государственной Медицинской Академии (г. Екатеринбург) совместно с практикующими врачами- физиотерапевтами под руководством доктора медицинских наук, профессора Гуляева В. Ю.
Аппарат физиотерапии МГН Адаптон Слип Эсон Россия

Основные особенности
- Аппарат "Адаптон-СЛИП" предназначен для проведения электросонной терапии, электротранквилизации и электроанальгезии, оказывая трансцеребральное воздействие на подкорковые и корковые образования ЦНС
- Аппарат "Адаптон-СЛИП" вызывает естественный физиологический сон, нормализующий деятельность нервной системы, поведенческую реакцию, психоэмоциональную деятельность и функционирование внутренних, в том числе эндокринных органов.
- Аппарат может быть использован также для лечения астеноневротических и депрессивных состояний, в том числе, сопровождающихся чувством тревоги и страха, осуществляя более физиологичное воздействие, чем от известных аппаратов электроцеребральной терапии.
- Процедуры от аппарата "Адаптон-СЛИП (ЭСОН)" просты, безболезненны, безопасны, не вызывают появления жжения под электродами, отличаются хорошей переносимостью пациентами всех возрастных групп, начиная с детей 3-5 летнего возраста.
- Физиологический сон наступает уже на первых минутах подачи тока на голову пациента.
- Конструкция электродов позволяет при закреплении на голове пациента организовать перекрестное прохождение тока, достигая при этом большего эффекта от проводимой процедуры.
Технические характеристики
Количество каналов: два;
Форма импульса: прямоугольная;
Полярность импульса
двуполярный
импульсный сигнал одинаковой амплитуды
с изменяющейся начальной фазой для
отрицательной полуволны и однополярный
импульсный сигнал положительной
полярности;
Длительность импульса: 250 микросекунд;
Фазовый сдвиг между положительной и отрицательной полуволной: от 5 мкс до 250 мкс;
Частота следования импульсов (отдельно в каждом канале): от 2 Гц до 200 Гц;
Частота заполнения импульса: от 5 кГц до 50 кГц;
Наличие режима частотной модуляции: частота модуляции от 1.0 Гц до 10.0 Гц;
Амплитуда импульсного тока (отдельно в каждом канале):от 0.0 до 15.0 мА(стабилизация тока);
Измерение и индикация амплитуды тока в обоих каналах
Аппарат для электротранквилизации "МИКРО-ЛЭНАР"
|
|
Портативность прибора (220x140x50мм, вес 1,5кг), простота в обслуживании (пациент может сам регулировать процедуру по своим ощущениям: приятное тепло, расслабленность, дремотное состояние), отсутствие каких-либо серьезных противопоказаний, а также полная электробезопасность позволяют использовать его не только стационарно, но и на дому.
Аппарат АФТ СИ-01 "МикроМед"
Аппарат предназначен для реализации лечебных и профилактических функций методами электротерапии:
I. Амплипульстерапия;
П. Диадинамотерапия;
III. Флюктуоризация;
IV. Электростимуляция импульсная;
V. Электростимуляция - синусоидальный ток;
VI. Короткоимпульсная электроанальгезия.
Электропитание аппарата осуществляется от сети переменного тока напряжением 220 В, с допустимым отклонением ±10%, 50 Гц.
Мощность, ВА - 12,0
Ток в цепи пациента при нагрузке 500 Ом, мА - 1,0-70,0
Габаритные размеры (без источника питания), мм - 200х120х80
Масса, кг-0,4
Три степени обеспечения безопасности пациента
Основные технические данные и характеристики:
Метод «Короткоимпульсная электроанальгезия».
- Формы тока:
МП - монополярный прямоугольный,
МТ - монополярный треугольный,
БП - биполярный прямоугольный,
БТ - биполярный треугольный,
БА - биполярный асимметричный.
- Длительность импульсов на уровне 50% амплитуды, мС - 0,05; 0,1; 0,2; 0,3; 0,4; 0,5.
- Частота импульсов, Гц
1 - 30 Гц с дискретностью 1 Гц,
30 - 150 Гц с дискретностью 10 Гц,
150 - 400 Гц с дискретностью 50 Гц.
- Количество импульсов в последовательности - 5-100, с дискретностью 5.
- Скважность (отношение периода повторения к времени импульсной последовательности –
1 (без паузы), 2,3,4,5.
В результате проведенного анализа мы сделали вывод, что разрабатываемый прибор, а точнее блок для определения длительности стимула обладает рядом преимуществ:
- напряжение питания 9 В;
- на выходе аналоговый сигнал с амплитудой 0-1 В;
- диапозон длительности стимула 50-500 мс.;
- частота измерения 1-15 Гц.;
- относительная погрешность 2%;
- результат отображается на семисегментном индикаторе;
- разрабатываемый блок содержит как автоматический, так и ручной блоки управления длительностью стимула, который позволяет вручную уменьшать или увеличивать длительность, путем нажатия кнопок «-» или «+».
4. Патентные исследования
В результате патентного поиска были обнаружены следующие источники:
1. Способ терапевтического лечения мигрени путем стимуляции блуждающего нерва. 930601(США).
При лечении симптомов мигрени пациента, подверженного приступам мигрени, детектируют физиологический симптом, связанный с началом приступа мигрени у пациента во время лечения. В ответ на обнаруженный симптом мигрени на блуждающий нерв пациента избирательно воздействуют электрическим раздражателем с целью модуляции электрических волокон блуждающего нерва таким образом, чтобы ослабить приступ мигрени.
2. Устройство для электротерапии. 940818 (Великобритания).
Предложенное устройство для обезболивания посредством электростимуляции. Устройство содержит не менее двух электродов, через которые поступают электрические импульсы к двум участкам тела пациента, под поверхностью которых находятся определенные участки ЦНС. В состав устройства также генератор импульсов, соединенный с элементами для доставки электрических импульсов. Последние характеризуются пиковыми формами параметров, наиболее благоприятными для стимулирования ЦНС с целью достижения обезболивающего эффекта. При этом не происходит стимулирование периферийных нервных окончаний, лежащих между электродом и стимулируемым участком ЦНС.
3. Аппарат генерирования электрических импульсов. 931202 (Германия).
Аппарат генерирования электрических импульсов для стимуляции нервов и \или мышц посредством электрических токов раздражения и \или напряжения и раздражения.
4. Компактный генератор импульсных сигналов для стимуляции костных тканей. 930608 (США ).
5. Аппарат для электростимуляции . 1488957 (Великобритания).
6. Способ и устройство многоканальной электростимуляции. 940211 (Франция).
Заключение
Во время выполнения данной дипломной работы была изучена литература по теме: «Электроанальгезия», произведено ознакомление с положением данной проблемы в современной медицине (в Интернете), а также с аппаратной реализацией данной темы.
Была синтезирована структурная схема блока управления длительностью стимулирующего импульса для аппарата электроанальгезии. Более детально рассмотрена структура одного из блоков (запоминающего устройства), произведен его расчет и моделирование.
Перечень ссылок
Системы комплексной электромагнитотерапии./Под ред. А. М. Беркутова, В. И. Жулева, Г. А. Кураева и др. – М.: Лаборатория базовых знаний. БИНОМ, 2000. – С.289-346.
Г.Г. Гришанин, Л.В. Калюжный, О.С. Раевская и др.//Стоматология. – 1991. - №3. – С. 43-45.
А.О. Иванов, А.С. Фирсов.//Анестезиология и реаниматология. – 1991. - №2. – С. 43-46.
Л.И. Колюжный.//Физиологический журнал СССР им. И.М. Синченко. – 1991. - №4 – С.123-133.
5. Лебедев А. А. Электростимуляция депрессорных нервов при артериальной гипертонии // Тезисы докладов II Всесоюзной конференции «Электростимуляция органов и тканей». — Киев, 1979. — С. 93-94.
6. А. с. 793582 (СССР), МКИ А61 N 1/32. Способ обезболивания / Г. Л. Ратнер, А. С. Дильдин, Л. И. Калакутский и др. — Опубл. 1981. — № 1.
7. Франсуа Ж., Кара М., Делез М. Неотложная терапия, анестезия и реанимация. Перевод с французского. 1984.- 344с.
8. Утямышева Р.И. и Враны М. Электронная аппаратура для стимуляции органов и тканей. – Киев, 1983.- 543с.
9. Гусятин В.М., Калинин Г.А. Применение устройства ЦВМ. – Харьков: ХПИ, 1986. – 94с.
