Разработка потенциометрической установки постоянного тока У355
Содержание
Введение
Техническое задание
Разработка структурной схемы потенциометрической установки
постоянного тока типа У355
Разработка функциональной схемы потенциометрической установки
постоянного тока типа У355
Разработка принципиальной схемы потенциометрической установки
постоянного тока типа У355
Разработка конструкции потенциометрической установки постоянного
тока типа У355
Разработка методики поверки
Метрологический эксперимент поверки вольтметра.
Список используемой литературы
Приложения
Введение
Трудно переоценить роль информационно-измерительной техники и измерительных технологий во всех сферах деятельности и жизни общества.
Еще великий Галилео Галилей (XVII век) утверждал: «Надо измерять все измеряемое и делать измеримым то, что пока еще не поддается измерению». Измерение - один из важнейших способов познания. Стало крылатой фразой изречение Д.И. Менделеева: «Наука начинается с тех пор, как начинают измерять; точная наука немыслима без меры».
В различные исторические периоды состояние мер и измерительной техники находилось в зависимости от хозяйственной деятельности, общественных, религиозных и других факторов жизни общества.
В наши дни методы и средства измерений шагнули далеко в перед. За точностью измерительных приборов наблюдает Метрологическая служба.
Метрология – это наука об измерениях, методах и средствах обеспечения их единства и способах достижения требуемой точности. Слово «метрология» от греческих слов «метро» - мера и «логос» - учение.
Каждый измерительный прибор по истечению определенного (для каждого типа индивидуально) времени подлежит поверке. При поверке приборов выдается свидетельство о поверке. Данное свидетельство подтверждает годность к применению и дальнейшей эксплуатации.
Рассмотрим частный пример отдела метрологии на заводе ОАО «СЭЗ» и описание потенциометрической установки постоянного тока типа У355.
Техническое задание
1. Установка должна обеспечивать:
а/ поверку амперметров с пределами измерения от 0,3мкА до 80А;
б/поверку вольтметров с пределами измерения от 0,6мВ до 600В;
в/ поверку ваттметров с пределами измерения: до току от 0,01А до 10А по напряжению от 75мВ до 600В;
г/ измерение электрического сопротивления постоянному току от 10-3 до 105Ом,
2. Погрешность измерений на установке не должно превышать суммы погрешностей следующих образцовых мер и приборов:
а) полуавтоматического потенциометра Р355, суммарная допускаемая основная погрешность (Δ) которого при температуре t°C не должна превышать значений, определяемых по формуле (1):

(1)
где t - температура, при которой выполнена самопроверка (подстройка) потенциометра и поверка автокомпенсатора
допускаемая
основная погрешность автокомпенсатора.
Допускаемая
основная погрешность неавтоматической
части потенциометра (
)
без нулевого напряжения не должна
превышать значений, определяемых по
формулам (2) и (3):
для пределов измерения 0,6 - 3мВ:
(2)
для пределов измерения 6 - 1500мВ
(3)
где U - показание потенциометра в милливольтах;
A U - цена отметки 3 декады в милливольтах.
Допускаемая
основная погрешность показаний декады
фиксированных напряжений (
)не
должна превышать значений, определяемых
по формуле (4):
(4)
где
а) Uф - показание декады в милливольтах;
б) делителя напряжения класса 0,005;
в) многопредельного шунта класса 0,005;
г) измерительных катушек электрического сопротивления (образцовые меры) класса 0,01;
д) нормального элемента класса 0,005.
Термоконтактная электродвижущая сила (ТК ЭДС) в измерительных цепях установки не должна превышать 1мкВ, а максимальная вариация ТК ЭДС не должна превышать 0,1мкВ.
Погрешности измерений на установке не превышают значений, вычисленных по формулам, приведенным в таблице 1.
3.Питание установки осуществляется от сети переменного тока напряжением 220 ± 22В частотой 50 ± 0,5 Гц.
Питание встроенных в установку стабилизаторов тока и напряжения должно осуществляться от внешнего стабилизатора напряжения С-0,75.
4. Питание цепей рабочего тока потенциометра должно осуществляться от батареи сухих элементов 1,28 НВМЦ-525, размещенных в корпусе установки, в металлическом ящике с термоизоляцией.
Цепи БА - тремя последовательно включенными батареями; цепи Бв - одной батареей.
5.Комплект образцовых катушек электрического сопротивления и нормальный элемент должны располагаться в термостатированной масляной ванне. Температура масла в зоне расположения образцовых катушек электрического сопротивления и нормального элемента автоматически поддерживается на уровне 20±0,15°С с разностью температур между любыми точками не превышающей 0,1°С.
Температура масла измеряется показывающим прибором с абсолютной погрешностью измерения в диапазоне
± 0,75°С - ± 0,06°С;
±7,5°С - ± 0,6°С
Термостатирование нормального элемента и образцовых катушек электрического сопротивления упрощает обработку данных при высокоточных измерениях.
6. Установка должна обеспечивать возможность непрерывной работы на ней в течение 8 ч. Время предварительного прогрева не превышает 1ч.
ПРИМЕЧАНИЕ: а) время непрерывной работы стабилизаторов определяется соответствующими техническими условиями;
б) время установления заданной температуры в термостате зависит от исходной температуры масла в термостате. Скорость снижения (подъема) температуры масла в термостате не менее 2,0°С в час при самых неблагоприятных условиях.
Электрическая изоляция между схемой постоянного тока и корпусом должна выдерживать в течение 1мин действие испытательного напряжения, действующее значение которого 2кВ а изоляция между электрической схемой переменного тока и корпусом - действие испытательного напряжения I кВ практически синусоидальной фирмы частотой 50 Гц.
Изменение рабочего тока потенциометра при изменении положения переключателя «полярность образцовых мер» не превышает 0,0008%.
Потребляемая мощность установки не более 1кВА.
7.Установка рассчитана на обслуживание одним оператором.
8. Габаритные размеры установки не более 1580x850x1260 мм.
Габаритные размеры внешнего стабилизатора напряжения не более 415x242x216 мм.
9. Масса установки без трансформаторного масла не более 385 кг.
1. Разработка структурной схемы потенциометрической установки постоянного тока типа У355
Назначение
1.1. Потенциометрическая установка постоянного тока типа У355 предназначена для поверки и градуировки электроизмерительных приборов классов точности 0,05 и менее точных: амперметров, вольтметров и ваттметров; измерения электрических сопротивлений по постоянному току; а также для работы в комплекте с поверочной установкой переменного тока с термоэлектрическим компаратором тока, напряжения и мощности.
1.2. Установка предназначена для эксплуатации при температуре окружающего воздуха от +15°С до +30°С и относительной влажности до 80%, Нормальный диапазон температуры эксплуатации установки t ± 2,5°С
где; t - температуре, при которой произведена подстройка потенциометра (Р355)
1.2. Состав изделия
Установка У355 состоит: потенциометр Р355; стабилизатор напряжения С - 0,75;
батарея сухих элементов в специальном ящике типа "Бакен" или аналогичная; многопредельный шунт Р357, делитель напряжения Р356; нормальный элемент класса 0,005;измерительные катушки электрического сопротивления класса 0,01 следующих номинальных значений (находятся в масляной ванне установки):
0,01Ом типа Р310
0,1Ом типа Р310
0,1Ом типа Р321
1ОМ типа Р321
10Ом типа Р321
100Ом типа Р331
1000Ом типа Р331
10000Ом типа Р331
1000000Ом типа Р331
блок регулирования выносной;

Структурная схема потенциометрической установки постоянного тока типа У355
П – Потенциометр
НЭ – Нормальный элемент
ДН – Делитель напряжения
СН – Стабилизатор напряжения
ШМ – Шунт многопредельный
ИК – Измерительные катушки
Т - Термостат
БР – Блок регулирования выносной
2. Разработка функциональной схемы потенциометрической установки постоянного тока типа У355
Разработаем функциональную схему из следующих элементов:
а/стабилизатор постоянного тока;
б/стабилизатор напряжения постоянного тока;
в/блок регулировки тока и напряжения;
г/блок питания потенциометра; д/блок терморегулятора;
е/блок выходного прибора;
ж/блок коммутации;
з/термостат.

Функциональная схема потенциометрической установки постоянного тока типа У355
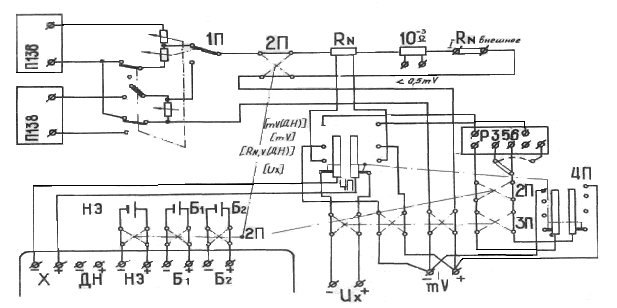
3. Разработка принципиальной схемы потенциометрической установки постоянного тока типа У355
3.1. Электрическую схему установки можно разделить на следующие цепи; цепь тока; цепь напряжения; цепь рабочего тока потенциометра; цепь защиты от токов утечки; цепь релейной защиты делителя напряжения; цепь регулирования и измерения температуры в масленой ванне; цепь переменного тока (питание установки).
Указанные на схеме принципиальной электрической установки (Приложение № 1) стабилизаторы тока П138-М и напряжения П136-М, далее именуемые П138 и П136, имеют объединенный конструктивно, регулятор выходных параметров стабилизаторов (БР)
3.2.
Цепь тока (рис.1) предназначена для
поверки амперметров, милливольтметров,
для подключения последовательных цепей
ваттметров и токовых зажимов внешнего
образцового и измеряемого сопротивлений
и имеет для этой цели зажимы «±
»
«±I»
внешнее - RN ".
Зажимы "± Ux " предназначены для подключения потенциальных зажимов измеряемых сопротивлений и для измерения напряжения непосредственно потенциометром; "±Uх внешнее -RN " для подключения потенциальных зажимов внешнего образцового сопротивления;"± <0,5mV" для подключения милливольтметров с пределами измерения менее 0,5мВ.
Выбор источника питания осуществляется переключателем "питание цепи тока" (1П), который подключает цепь тока к выходу стабилизатора тока П138 пли стабилизатора напряжения П136.
Этим же переключателем осуществляется расширение пределов регулирования стабилизаторов в сторону меньших значений, путем шунтирования выхода стабилизатора тока и деления напряжения на выходе стабилизатора напряжения.
RN
на рис.1 изображает ряд образцовых
катушек электрического сопротивления
от 10
Ом
до 10
Ом
и многопредельный шунт Р357.,
Выбор необходимой образцовой катушки электрического сопротивления и предела измерения шунта осуществляется переключателями "образцовые сопротивления" и "многопредельный шунт".
Подключение
потенциальных цепей на вход потенциометра
"±Х" производится переключателем
" к потенциометру" (4П): в положении
"Ux" подключаются зажимы "±Ux",
в положении "-RN, V (ДН)" - потенциальные
цепи образцовых катушек электрического
сопротивления или шунта многопредельного:
в положении "mV"
- зажимы "±
",
предназначенные для поверки милливольтметров
до 1500мВ;
в положении " mV (ДН)" - выход делителя напряжения, в то время как вход делителя напряжения подключается к зажимам "±mV" это положение переключателя предназначено для поверки милливольтметров свыше 1500 мВ.
Переключатель "полярность образцовых мер" (2П) изменяет направление тока в образцовых мерах (образцовые катушки электрического сопротивления, шунт многопредельный, делитель напряжения), в цепях питания потенциометра и изменяет полярность подключения нормального элемента к потенциометру.
Переключатель "полярность поверяемого прибора" (ЗП) изменяет направление тока в поверяемом приборе, сохраняя неизменной полярность на входе потенциометра "±Х"

Рис. 1 Принципиальная схема цепи тока
3.3.Цепь напряжения (рис.2) предназначена для подключения к ней вольтметров и параллельных цепей ваттметров и имеет для этой цели зажимы "± V ".

Рис. 2 Принципиальная схема в цепи напряжения
Питание цепи напряжения осуществляется от стабилизатора напряжения постоянного тока П136. Вход делителя подключается переключателем "к потенциометру" (4П) в положениях «RN V (ДН)» и «V (ДН)» выход делителя напряжения Р356 постоянно подключен к зажимам «±ДН» потенциометра Р355. В положении «V (ДН)» переключателя 4П выход делителя напряжения подключается к зажимам "±Х" потенциометра.
Выбор коэффициентов деления деятеля Р356 осуществляется переключателем «делитель напряжения" (5П)
3.4.Цепь рабочего тока потенциометра (рис.1) питается от батарей БА и БВ, для обеспечения стабильности рабочего тока «батареи подключены к потенциометру постоянно (емкость «батарей достаточна для непрерывного разряда в течение времени превышающего срок их службы).
В цепи питания потенциометра и нормального элемента имеются переключатели полярности, изменяющие полярность входов потенциометра одновременно с изменением полярности на образцовых мерах.
3.5.Цепь переменного тока (питания установки) включает в себя: розетки питания – «220V сеть» и «220V стабилизатор»; розетки питания усилителей Ф356 и стабилизаторов тока и напряжения; две розетки «~ 220V»на блоке выходного прибора, для подключения поверяемых приборов к сети; выключатели "сеть (1B), "терморегулирование Р356, Р357» (4В,5В); сигнальные лампы включения установка и режима терморегулирования Р356, Р357 (1Л, 9Л, 10Л, 11Л, 12Л)
4. Разработка конструкции потенциометрической установки постоянного тока типа У355
4.1. Устройство установки
4.1.1. Установка изготовляется в виде одно тумбового стола. Для удобства перемещения установка поставлена на колеса и имеет ручки на боковых стенках.
На вертикальной части установки размещены все переключатели, контрольные приборы, сигнальные лампы я зажимы для подключения поверяемых приборов. На горизонтальной части установки располагаются потенциометр, блок выносного регулятора тока и напряжения и имеется место для поверяемых приборов.
4.1.2.Для удобства при изготовлении и в эксплуатации установка разделена на следующие конструктивные блоки:
а/стабилизатор постоянного тока;
б/стабилизатор напряжения постоянного тока;
в/блок регулировки тока и напряжения;
г/блок питания потенциометра; д/блок терморегулятора;
е/блок выходного прибора;
ж/блок коммутации;
з/термостат.
4.1.3. Стабилизатор постоянного тока (2) П138 и стабилизатор напряжения постоянного тока (3) П136 описаны в соответствующих описаниях.
Блок питания П138 размещен на амортизированной раме в нижней части тумбы корпуса установки, блок управления стабилизатора П138 и стабилизатор напряжения постоянного тока П136 установлены на вертикальной панели установки слева.
4.1.4.Блок регулировки тока и напряжения (1) включает в себя регулировочные реостаты стабилизаторов П136 и П138, и соединен с установкой через разъем гибким кабелем, что позволяет устанавливать блок в любое удобное для оператора место на установке. Схема электрическая приведена в Приложении № 1.
4.1.5. Блок питания потенциометра (15) расположен в верхней части тумбы установки и представляет собой металлический ящик с термоизоляцией и батареями сухих элементов. На передней стенке блока установлены зажимы с поясняющими надписями.
4.1.6. Блок терморегулятора (4) расположен в верхней центральной части вертикальной панели и включает в себя элементы терморегулирования с прибором М333К; переключатели: «питание цепи тока», «полярность»; выключатели «сеть», «термостат», «терморегулирование Р356, Р357», «температура в термостате», предохранители и сигнальные лампы включения питания от сети и включения термостата.
4.1.7. Блок выходного прибора (5) расположен в нижней центральной части вертикальной панели. На блоке размещаются: выходной прибор потенциометра; выключатель нормального элемента: зажимы для подключения поверяемых приборов и зажимы «земля» и «схема».
4.1.8. Блок коммутации (6) расположен в верхней правой части вертикальной панели. На блоке расположены переключатели необходимые для коммутации образцовых элементов и схем измерения; сигнальные лампы делителя напряжения Р356 и многопредельного шунта Р357; в правой части стола установки размещается измерительный блок (ИБ) потенциометра (поз.7). В нижний части стола находится жгут для подключения измерительного блока к измерительной схеме установки, и к схеме питания.
4.1.9.Термостат (17) расположен внутри и закреплен на нижних трубах каркаса установки.
Термостат состоит из собственно термостата (36) (термостатированной ванны) и воздушной камеры (32) в общем термоизолирующем блоке (31).Термоизолирующий блок, компрессор (21) и конденсатор (19) холодильного агрегата (ХА) смонтированы на одной монтажной раме.
Масляная ванна представляет собой прямоугольную металлическую емкость с оребренным (для лучшей теплопередачи) днищем (33).Теплоносителем в ванне является конденсаторное или трансформаторное масло. Перегородка (28) делит ванну на зону теплообмена (29) и зону стабильной температуры (I), чем достигается высокий уровень -стабилизации температуры. Масло движется в направлении, указанном стрелками. В начале зоны теплообмена расположены нагреватели (35), в конце - крыльчатка (27) двигателя Дм (7) для перемешивания масла. Под ванной, в воздушной камере (32) располагается испаритель ХА (30) крыльчатка (26) двигателя Дв (25) для перемешивания воздуха внутри камеры и направляющая воздушного потока (34).
Для устранения вибрации корпуса установки во время работы двигатели Дм и Дв и компрессор ХА амортизированы.
В зоне стабильной температуры размещаются образцовые катушки электрического сопротивления, нормальный элемент, элементы схемы измерительного моста / датчики температуры (3) и резисторы (2) R92 и R96.
Образцовые катушки электрического сопротивления подключаются к схеме установки при помощи жгута, на котором имеется маркировка с указанием номинальных значений сопротивлений.
В рабочем положении термостат закрывается крышкой (37).
Поддержание постоянной температуры в термостате осуществляется следующим образом: при температуре масла в зоне стабильной температуры около +19,94°С терморегулятор включает нагреватели и температура масла повышается. При температуре около +20,03°С терморегулятор включает ХА, в результате чего испаритель последнего отбирает тепло из воздушной камеры, что вызывает охлаждение днища ванны и понижение температуры масла в зоне теплообмена и в зоне стабильной температуры.
Поочередное включение терморегулятором нагревателей и ХА приводит к тому, что в зоне стабильной температуры поддерживается температура +20±0,15°С.
Делитель напряжения Р356 (20) и шунт многопредельный Р357 (21) с усилителями Ф356 располагаются на специальных полках внутри установки.
Все блоки размещаются в корпусе установки и соединены монтажными жгутами и шинами, опирающимися на изоляционные колодки.
4.1.10.Конструкция установки сборная из плоских рам, труб, кронштейнов, щитов из декоративной фанеры с обрамлением по торцам. В правой части горизонтальной панели установки размещается потенциометр Р355(7). В левой части установки имеется подъемная полка (13) фиксирующаяся в горизонтальном положении, предназначенная для увеличения площади рабочего места.
При использовании установки в комплекте с поверочной установкой переменного тока для соединения имеются зажимы, расположенные на панели (22), смонтированной внутри установки.
На правой боковой стенке установки расположены штепсельные гнезда (11) для подключения питания установки к сети и внешнему стабилизатору напряжения (25), зажим " земля " для подключения к внешнему контуру заземления, окна для ввода кабеля усилителя потенциометра (8) и для прохода соедини -тельных проводов к панели (20).
4.2. Порядок установки
4.2.1. Установку желательно поместить в термостатированном помещении с температурой +20°С. Скорость изменения температуры воздуха в термостатированном помещении не должна превышать 0,3°С в час. Не допускается располагать установку вблизи источников тепла или лучистой энергии, в местах с резкими перепадами температуры.
Усилитель потенциометра необходимо устанавливать на кронштейне, закрепленном на капитальной стене, в месте свободном от вибрации.
4.2.2.Монтаж
а/после доставки установки в рабочее помещение необходимо выдержать её в помещении не менее 12 ч
б/снять задние щиты (23);
в/отвинтить болты, крепящие установку к раме при помощи металлических накладок, приподнимая установку, снять задние накладки, поворачивая их вниз и внутрь, поднять установку за трубы и боковые щиты и вынуть раму из под установки, опустить установку. Поднимать и опускать установку должны не менее восьми человек. Ручки на боковых щитах не предназначены для подъема установки, а служат только для перемещения установки на собственных колесах;
г/ выбрать место для установки и для усилителя потенциометра (см.п.6.1); закрепить кронштейн, установить усилитель на кронштейне, вставить кабель (В) усилителя в окно;
д/ поставить на стол установки БИ потенциометра Р355 и блок выходного прибора (БВП), снять ножки и подставки, вставить и закрепить БВП в окно лицевой панели (поз. 5).
Подключить жгут к клеммам ИБ, а также кабели от БВП и усилителя.
Вставить ИБ в окно стола и закрепить его винтами.
е/снять крышку ванны (18), вынуть из ванны лист поропласта; проверить и закрепить (при необходимости) монтаж на образцовых катушках электрического сопротивления; подсоединить отсоединенный конец от нормального элемента (в случае отдельной транспортировки нормального элемента вставить его в гнездо и подсоединить к схеме).
Залить в ванну при помощи шланга 25 литров сухого и чистого конденсаторного масла, удовлетворяющего требованиям ГОСТ 5775—68 или трансформаторного масла, удовлетворяющего требованиям ГОСТ 982-68; закрепить крышку (18) болтами. После заливки масла отмыть шланг бензином, просушить его на воздухе;
к/ установить усилители Ф356 (16) на полках внутри корпуса установки и подключить их шнурами питания к розеткам с надписями "220V".
з/ установить полку (19);
и/установить на полку делитель напряжения Р356 (20) и шунт Р357 (21),произвести их подсоединение к схеме соответствующими жгутами;
к/соединить кабелями делитель напряжения Р356 и шунт многопредельный Р357 с соответствующими им усилителями Ф356;
л/разрезать перемычку на терморегуляторе (см. рис.3)

рис. 3 перемычка на терморегуляторе
м/ установить и зафиксировать задние щиты (23);
н/ зафиксировать в горизонтальном положении откидную полку (13), снять стенку (12); установить на направляющие ящик с батареями (15)»затянуть винты с гайками (14),для создания надежного электрического контакта;
о/ подключить к зажимам "±БА"»"±БВ" наконечники жгута;
п/ соединить зажим " земля " (на правом щите установки) с контуром заземления;
р/ подключить шнур питания к колодке питания "220V СЕТЬ";
с/ подключить шнур питания к колодке "220V стабилизатор» а наконечники к выходу стабилизатора С-0,75;
т/подключить наконечники шнура питания стабилизатора С-0,75 к входу.
у/освободите амортизационные пружины компрессора ХА, убрав из под него деревянную планку.
4.3. Указания мер безопасности
Зажим " земля " установки должен быть надежно соединен с заземляющим контуром. Качество соединения и качество заземляющего контура должны проверяться после каждого перемещения установки и периодически в соответствии с правилами технической эксплуатации и безопасного обслуживания электроустановок промышленных предприятий.
При присоединении поверяемых приборов к установке необходимо пользоваться проводниками, прилагаемыми к установке или другими, но имеющими качественную изоляцию и наконечники с изоляторами, предохраняющими от прикосновения к токоведущим частям Необходимо помнить, что корпус установки соединен с минусом питания высоковольтного выпрямителя (П1136м) и при прикосновении к токоведущим частям схемы (зажимы " V " на установке и зажимы на поверяемом приборе) оператор окажется под высоким напряжением (более 600 В).
Наиболее внимательным и осторожным нужно быть при поверке вольтметров и ваттметров с пределами измерения по напряжению более 40В.
Подключение (отключение) приборов, изменение предела измерения надо производить после установки левого переключателя стабилизатора напряжения из положения "работа" в положение "во".
При смене масла в термостатированной ванне, а также при открытой ванне, при мытье шланга для слива масла, необходимо соблюдать правила противопожарной безопасности.
5. Разработка методики поверки
5.1. Подготовка к работе
Установить ручки управления установки в исходное положение:
а/тумблеры «сеть» на стабилизаторе тока П138; «сеть», «термостат», - «терморегулирование Р356 Р357»"- выключены; "температура в термостате" в положение - "К=1";
б/ переключатель «питание цепи тока» установить в положение «откл»;
в/переключатели «полярность» в положение – «прямая»;
г/указатели прибора МЗЗЗК установить на красных отметках шалы;
д/ все ручки блока регулирования тока и напряжения в положение претив часовой стрелки до упора;
е/ переключатель стабилизатора напряжения П136 - в положение «откл»;
ж/переключатель «нормальный элемент» - в положение «откл»;
а/переключатель «делитель напряжения» - в положение «откл»;
и/переключатель «образцовые сопротивления» в положение «внешнее».
8.2.Произвести следующие подключения:
а/заземлить установку;
б/ включить вилку шнура питания усилителя потенциометра в сеть переменного тока напряжением 220В,50 Гц, достаточная стабильность нуля усилителя потенциометра достигается через 80 минут посла включения его питания;
в/ включить вилки шнуров питания установки и стабилизатора С-0,75 в сеть 220В , 50Гц;
г/ включить термостат, для чего необходимо включить тумблеры «сеть» и «термостат».
При температуре в термостате+19,4°С или +20,6°С (отсчет ко прибору МЗЗЗК) переключатель "Температуре в термостате" "поставить в положение - К=0,1".Температура масла в термостате достигает своего номинального значения (+20±0,15)°С после первого вхождения стрелки прибора в сектор, ограниченный красными отметками шкалы. Температура образцовых катушек электрического сопротивления и нормального элемента достигает этого значения несколько позже (примерно через 30 мин).
ПРИМЕЧАНИЕ. При измерениях невысокой точности не обязательно включать тумблер «термостат». В этом случае температура в термостате не регулируется, и масло не перемешивается, а при изменении температуры возникает дополнительная (положительная по знаку) погрешность равная 0,2 ± 0,3°С
5.2. ПОРЯДОК РАБОТЫ
Прежде чем приступить к работе с установкой, необходимо изучить настоящее руководство, описания технические и инструкции по эксплуатации потенциометра Р355,делителя напряжения Р356, шунта многопредельного Р357,описания и правила пользования стабилизатором напряжения постоянного тока П136 и стабилизатором тока П138.
При этом следует иметь в виду, что регулировку выходного параметра стабилизаторов напряжения и тока следует производить реостатами выносного блока регулировки, располагаемого на горизонтальной панели установки.
Поверку электроизмерительных приборов и измерение электрического сопротивления, тока, напряжения, следует производить, пользуясь методикой изложенной в описании потенциометра Р355.Указания о подключениях и положениях переключателей на установке изложены в основных правилах пользования установкой, указанных в таблице в приложении 3 нестоящего руководства.
5.2.1. Дополнительные указания.
1. При поверке милливольтметров с пределами измерения меньше 0,5В необходимо:
а/замкнуть
перемычкой зажины «
»;
б/выбрать нужное значение образцовой катушки электрического сопротивления по формуле:

где А и С принятые в инструкции по эксплуатации потенциометра Р355 обозначения:
А - цена деления поверяемого прибора;
С - число кратное А, устанавливаемое переключателем "цена деления " потенциометра.
5.2.2. Измерение сопротивлений и определение цены деления производится по методике, технического описания и инструкции по эксплуатации потенциометра Р355.Роль переключателя «пп» выполняет переключатель установки «к потенциометру», положение «Rн,V,(Дн)», которого соответствует положению «1» переключателя «п», а положение «Uх»-положению "2".
5.2.3. При пользовании расширенными пределами регулирования стабилизатора напряжения (0,75 - 0,03) В следует иметь в виду, что ток в нагрузке не должен превышать 200мА
5.2.4.При пользовании расширенными пределами регулирования стабилизатора тока (0,3-0,015)А, в случае низкоомной нагрузки необходимо к зажимам и «I внешнее Rн» подключить магазин сопротивлений, доводя падение напряжения на нагрузке до 5-6В
5.2.5. При питании от стабилизатора напряжения П1Э6М в цепи тока переключение полярности (на пределах от 7,5 до 600В) производить после установки левого переключателя стабилизатора из положения «работа» в положение «вкл».
5.3. Указания по поверке
5.3.1. Операции поверки.
При проведении поверки должны быть выполнены операции, указанные в табл.1.
Таблица 1
|
Наименование операций• |
Номера пунктов технического описания |
Обязательность проведения операции при |
|
|
ремонте |
работе и хранении |
||
|
1.Внешний осмотр и опробование. |
10.4.2 10.4.3. |
да |
да |
|
2.Проверка наличия электрической связи между металлическими частями установим |
I0.4.4.I |
Да |
да* |
|
3. Измерение сопротивления изоляции |
10.4.4.2 |
да |
да* |
|
4.Проверка электрической прочности изоляции |
10.4.4.J |
да |
да* |
|
5.Проверка работы схемы регулирования и измерения температуры |
I0.4o5 |
да |
да* |
|
6.Проверка сопротивления цепи тока |
10.4.9. |
да*** |
нет |
|
7.Проверка защиты делителя напряжения |
10.4.7 |
да |
да* |
|
8.Проверка автокомпенсатора потенциометра Р355 |
10.4.II |
да |
|
|
9. Поверка потенциометра Р355, делителя напряжения Р356 и шунта Р357 |
10.4.12 10.4,13 10,4.14 |
да |
Да |
|
10.Опрадеиение погрешности измерения на установке |
10.4.15. |
да |
* * да |
Примечания:
Знак " * " означает, что проверка проводится при вводе установки в эксплуатацию после длительного хранения.
Знак "** " означает, что проверка проводится один раз в год,
Знак "***" означает, что проверка проводится после ремонта стабилизаторов.
Знак "****", что проверка проводится раз в полгода.
5.3.2. Средства поверки
При поверке должны использоваться следующие средства поверки:
омметр переносной, класса точности 1,5 или 2,5 предел измерения не более 500Ом;
термометр
класса точности 2,5, с пределом измерения
не менее
Ом,
напряжение питания 100-150В;
ртутный термометр с ценой деления 0,01°С, имеющий, поправку в точке 20°С;
вольтметр постоянного тока класса 0,5 с пределом измерения 1,5В, потребление на более 3мА;
вольтметр постоянного тока класса 1,5 с пределом измерения 5-10В;
магазин сопротивления с допустимой номинальной мощностью на 1 ступень не менее 0,25Вт, с регулируемым сопротивлением от 1 до 100Ом;
миллиамперметр постоянного тока класса 0,2 или 0,5 (с учетом поправок);
набор образцовых мер (измерительные катушки сопротивления) сопротивлением 0,1; 0,01; 0,001; I; 10; 100; 1000 и 100000Ом класса точности 0,01;
магазин сопротивления с регулируемым сопротивлением от 100 до 10000Ом;
потенциометр кл.0,001 с верхним пределом измерения 2,12111В;
катушки электрического сопротивления измерительные кл.0,01, аттестованные по 1 разряду;
-установка для проверки электрической прочности изоляции мощности не менее 0,25кВА на стороне высокого напряжения;
-образцовый делитель напряжения Р356.
5.3.3. Условия поверки и подготовка к поверке.
При проведении поверки установки должны соблюдаться следующие условия:
-температура окружающего воздуха от 15 до 30°С,при которой подстроены приборы Р355,Р356,Р357, при относительной влажности до 80%;
-напряжение питания 220±2,2В, частота 50 + 0,5 Гц.
Перед поверкой установки произведите подготовку ее, согласно разделу настоящего технического описания.
5.3.4. Проведение поверки.
5.3.5. При проведении поверки должны быть выполнены следующие операции:
внешний осмотр;
опробование;
определение метрологических параметров.
5.3.6. При проведении внешнего осмотра должно быть установлено соответствие установки требованиям комплектности, (в соответствии с паспортом) и маркировки в части наличия четких надписей и обозначений зажимов и органов управлений.
5.3.7. При опробовании должна быть проверена работоспособность, легкость хода и четкость фиксации всех переключателей органов управления и регулировки.
5.3.8. Перед определением метрологических параметров необходимо проверить наличие электрической связи между металлическими частями установки, сопротивление и электрическую прочность изоляции.
5.3.8.1. Все монтажные панели блоков, кроме блока защиты делителя от перегрузок, должны быть надежно электрически соединены между собой и с заземляющим зажимом. Наличие электрической связи проверяется омметром с пределом измерения не более 500Ом.
5.3.8.2. Измерение сопротивления изоляции цепей установки производится между отдельными участками схемы в соответствии с таблицей 4 должно быть не менее величин, указанных в таблице. Измерение производить тераомметром с пределом измерения не менее 10Ом при напряжении 100 - 150В.
Отсчет показаний производится через одну минуту после того, как приложено напряжение.
Сопротивления изоляции нормируются для следующих условий:
а/ потенциометр Р355, делитель напряжения Р356 и шунт многопредельный с усилителями Ф356, стабилизаторы тока и напряжения полностью отключены от схемы установки;
б/ батареи и нормальный элемент подключены к схеме «минусовыми» концами; образцовые катушки электрического сопротивления, за исключением 0,001Ом, подключены общим токовым концом, образцовая катушка электрического сопротивления 0,001Ом подключена двумя токовыми концами;
в/ перемычки между зажимами «+I» и «-I», «внешнее Rн», «схема» и «земля» сняты;
г/ выключатель «нормальный «элемент» в положении «вкл»
д/ замкнуты между собой попарно «минусовые»и «плюсовые» наконечники жгутов для подключения выходов стабилизаторов тока и напряжения;
е/ измерения по производить при всех положениях переключателя «к потенциометру», а в положении «Rн V ( Дн )» при всех положениях переключателя «образцовые соединения»;
ж/
измерения производить в положении
«прямая» переключателя «полярность
образцовых мер», производить в положении
«обратная», при этом зажины «
»;замкнуты
перемычкой.
5.3.8.3. Проверку электрической прочности изоляции производить между схемой постоянного тока и корпусом; изоляция, при этом, должна выдерживать в течение 1 мин, действие испытательного напряжения 2кВ ,а изоляция между электрической схемой переменного тока и корпусом - действие испытательного напряжения 1 кВ практически синусоидальной формы частоты 50Гц. Электрическая прочность изоляции должна проверяться на установке мощностью не менее 0,25кВА на стороне высокого напряжения.
Испытательное напряжение прикладывается между:
а/ цепью переменного тока (замкнутые между собой контакты колодок питания « ~220V сеть» и «~ 220V стабилизатор» контакты и разъемы I и II блока терморегулирования;
б/ цепью постоянного тока (замкнутые между собой зажимы для подключения поверяемых приборов и внешнего Rн «I», «U», «V», «Ux»; зажимы ; наконечники выводов
для подключения потенциометра, кроме вывода «земля»; «минусовые» зажимы батарей «Ба» и «Бв», на блоке питания потенциометра);
в/ корпусом (зажим «земля» на боковом щите установки)
При испытаниях нормальный элемент, потенциометр, делитель напряжения, шунт многопредельный и стабилизатор тока должны быть отключены от схемы установки.
Перемычка между зажимами «схема» и «земля» долина быть снята; все тумблеры и выключатели на установке должны быть поставлены в положение «вкл».
Появление короны и шума при испытаниях не являются признаками неудовлетворительности изоляции. Возрастание напряжения от 0 до 2 кВ, а также уменьшение до 0 должно продолжаться 5 - 10 с.
5.3.9.Проверка работы схемы регулирования и измерения температуры должна производиться не реже одного раза в год.
Для проверки и настройки схемы регулирования и измерения температуры необходим ртутный термометр с ценой деления 0,01°С имеющий поправку в точке+20°С. При снятой крышке термостата термометр устанавливается между нормальным элементом и катушкой образцового сопротивления 0,0010м, не касаясь их.
Для сведения к минимуму погрешности из-за различной инерционности термометра и датчиков скорость изменения температуры масла не должна превышать 0,01°С в минуту. Это достигается отключением регулятора. При этом температура в термостате изменяется медленно.
Для отключения терморегулятора необходимо установить указатели МЗЗЗК на отметки «-6» и «+6».Установку указателей проводить в установившемся режиме термостата, т.е. через 30 мин после первого вхождения стрелки в красный сектор при положении К=0,1В переключателя «температура в термостате».
При температуре масла равной +20°С (с учетом поправки термометра) стрелка прибора МЗЗЗК должна устанавливаться на нулевой отметке шкалы.
Если стрелка не устанавливается на нуль, то необходимо произвести настройку, начиная с контроля напряжения питания моста.
Контроль напряжения питания моста производится путам измерения этого напряжения потенциометром Р355.Для этого необходимо подключить делитель напряжения Р356 к токоподводам 164 и 166, расположенным на контактной панели термостата.
При напряжении питающей сети равном 220В напряжение питания моста должно быть равным 38,46±0,08В. При необходимости подстройка этого напряжения осуществляется переменным резистором R91. После подстройки необходимо зафиксировать его ось стопорной гайкой.
Если после этого при температуре масла равной +20°С а стрелка прибора МЗЗЗК не устанавливается на кулевую отметку шкалы, необходимо произвести подстройку на нуль прибора МЗЗЗК переменными резисторами R93, R94 с последующим фиксированием их осей стопорными гайками, Окончательно правильность настройки на нуль необходимо проверить дважды: при подходе стрелки к нулю слева и справа.
Разность температур между двумя точками в зоне термостатирования определяется в установившемся режиме термостата при помощи двух термометров с ценой деления 0,01°C,имеющих поправку в точке 20°C.
При определении разности температур первый термометр постоянно находится в точке «0» (см.рис.4), а второй последовательно располагается в точках 1, 2, 3 и 4.

Рис.4.Схема размещения контрольных термометров в зоне термостатирования.
Измерение температуры производить после минутного пребывания второго термометра в контролируемой точке.
Скорость снижения (подъема) температуры масла в термостате определяется по показаниям прибора, измеряющего температуру в термостате и измерению времени, в течение которого температура масла меняется на 2,0°С
Исходная разность температур между температурой масла и температурой воздуха в помещении, где производятся испытания, должны быть не менее 6°С.
Для получения исходной разности температур пользоваться нагревателем (холодильником) установки путем соответствующего смещения установочных указателей прибора МЗЗЗК.
5.3.10. Проверка влияния включения (выключения) элементов автоматического регулирования температуры в термостате производится путем измерения отброса указателя выходного прибора потенциометра в момент включения или выключения нагревателей или холодильного агрегата при проведении контроля рабочего тока потенциометра, измерения напряжения и тока при питании от стабилизаторов напряжения и тока. Максимальное нестандартное отклонение (отброс) стрелки выходного прибора потенциометра при контроле рабочего тока не должно превышать значения, соответствующего измерению рабочего тока на 0,0001%, а при всех других измерениях не должно превышать значений, определяемых нестабильностью источников питания.
5.3.11. Проверка защиты делителя напряжения от перегрузки производится путем измерения напряжения, при котором происходит снятие напряжения с делителя напряжения и срабатывание предупреждающей сигнализации.
В момент срабатывания возможно гудение исполнительных реле 3р; 4р.
5.3.12. Проверку изменения величины рабочего тока потенциометра при повороте переключателя «полярность образцовых мер» производить путем измерения рабочего тока по выходному прибору потенциометра в положении «обратная» предварительно точно отрегулированного и измеренного в положении «прямая». Отклонение указателя выходного прибора не должно превышать одного деления при положении переключателя чувствительности «10».
5.3.13 Контроль сопротивления цепи тока производить путец вычисления сопротивления по результатам измерения напряжения на выходных зажимах стабилизатора тока при токе в цепи установки 30А.
Измерения
производить при закороченных зажимах
«
»
и переключателях, установленных в
следующие положения:
а.) переключатель «питание цепи тока» - «от П138»;
б) переключатель «образцовые сопротивления» - «0,001»;
в) переключатели «полярность образцовых мер» и «полярность поверяемого прибора» - «прямая» или «обратная».
Величина напряжения контролируется вольтметром класса 0,5 с пределом измерения 1,5В и собственный потребившем не более 3мА, величина тока контролируется амперметром стабилизатора тока. Значение вычисленного сопротивления цепи не должно превышать 0,035Ом.
5.3.14. Измерение термоконтактной э.д.с. Ет и максимальной вариации термоконтактной э.д.с. (ΔЕт) производить во всех потенциальных цепях образцовых катушек электрического сопротивления, в цепях выхода шунта многопредельного делителя напряжения, в измерительных цепях «Ux» и «mV». Термоконтактная э.д.с. измеряется при разнице в 7 градусов между температурой масла в термостате и температурой воздуха в помещении.
Перед измерением необходимо поджать попарно под один зажим потенциальные проводники, на каждой образцовой катушке и поджать под один зажим проводники, идущие к выходу делителя напряжения, выходу шунта многопредельного. К измерению термоконтактной э.д.с. необходимо приступать не ранее чем через-15 мин после выполнения всех подключений.
Измерение термоконтактной э.д.с. производится автокомпенсатором потенциометра Р355 при двух положениях переключателя «направление тока» потенциометра.
При измерении термоконтактной э.д.с. в потенциальных цепях образцовых катушек, на выходе шунта многопредельного и делители напряжения, в цепях зажимов «Ux», «mV» руководствоваться таблицей 2
Таблица 2
|
Контролируемая цепь |
Положение переключателей |
||
|
установки |
потенциометра |
||
|
«к потенциометру» |
«образцовые соединения» |
«направление тока» |
|
|
Потенциальные цепи образцовых катушек |
Rн,V(Дн) |
|
I, II |
|
Выход многопредельного шунта |
шунт |
||
|
Выход делителя напряжения |
mV(Дв) |
произвольно |
|
|
Цепь зажимов «Ux» |
Ux |
||
|
Цепь зажимов «Ux» |
Ux |
||
|
Цепь
зажимов « |
mV |
В цепях установки, идущих от зажимов «Ux» и «rnV», производить дополнительное измерение термоконтактной э. д. с, руководствуясь таблицей 3
Таблица 3.
|
Контролируемая цепь |
Положение переключателей |
||
|
установки |
потенциометра |
||
|
«к потенциометру» |
«полярность поверяемого прибора» |
«направление тока» |
|
|
Цепь зажимов «Ux» |
Ux |
прямая или обратная |
I |
|
Цепь
зажимов « |
mV |
прямая или обратная |
Величина термоконтактной э.д.с. определяется по формуле:

где n – отсчет по лимбу переключателя чувствительности потенциометра;
d1,d2 - показания выходного прибора потенциометра с учетом знака.
Отсчет значений d1,d2 производить через 10-20с после коммутации переключателя «направление тока».
Интервалы между двумя последовательными измерениями термоконтактной э.д.с. должны быть не менее 1 мин.
Вариации термоконтактной э.д.с. в измерительных цепях установки определяется как максимальная разность между любыми из 6 последовательными измерениями - термоконтактной э.д.с.
Для получения необходимой разности температур включить нагреватели или холодильный агрегат соответствующим смещением указателей прибора МЗЗЗК.
Максимальное значение термоконтактной э.д.с. не должно превышать 1мкВ.
Максимальная вариация термоконтактной э.д.с. не должна превышать 0,1мкВ.
5.3.15. Поверка автокомпенсатора потенциометра Р355 производится согласно инструкции по эксплуатации на прибор Р355. Для удобства сборки схемы следует использовать схему установки.
а) подключить к зажимам «±I - внешнее Rн» миллиамперметр постоянного тока класса 0,2 или класса 0,5 (с учетом поправок);
б)
подключить к зажимам «±
»
токовые зажимы необходимого образцового
сопротивления, потенциальные зажимы
через регулируемое сопротивление
подключить к зажимам «X» потенциометра,
для чего предварительно отключить
выводы установки, идущие к зажимам «X»;
в) переключатель «питание цепи тока» установить в положение «от П136»;
г) изменения направления тока в образцовом сопротивлении производить переключателем «полярность поверяемого прибора».
Образцовое сопротивление соответствует обозначению «R2» регулируемое сопротивление - обозначению «R3», переключатель «полярность поверяемого прибора» - обозначению схемы в инструкции по эксплуатации потенциометра Р355.
5.3.16. Поверка потенциометра Р355 производится согласно методики в инструкции по эксплуатации потенциометра Р355.
5.3.17. Поверка делителя напряжения Р356 производится согласно методики в инструкции по эксплуатации делителя напряжения Р356.
5.3.18. Поверка шунта многопредельного Р357 производится согласно методике в инструкции по эксплуатации шунта многопредельного Р357.
5.3.19. Определение погрешностей измерения на установке производить:
а) путем измерения на установке сопротивления образцовых катушек электрического сопротивления класса 0,01 номинальными значениями 0,001; 1 и 100000Ом, помещенных в масляный термостат с температурой масла 20±0,15°С и находящихся там не менее 1ч до начала измерений.
Погрешность измерения на установке представляет собой разность между действительным значением измеряемого сопротивления и результатом, полученным при измерении его на установке.
Измерение сопротивления производится согласно техническому описанию и инструкции по эксплуатации потенциометра Р355 с учетом рекомендаций табл.4.
Обработка результатов измерений производится в следующей последовательности:
- вычисляют разность между действительными значениями сопротивлений измеряемого и принятого за образцовое (Rн и Rx) в омах и с помощью табл.4 пересчитывают в процентах к номинальному значению;
- принимая за опорное сопротивление меньше по номинальному значению (Rн или Rx), измеряют большее по номинальному значению сопротивление и разность пересчитывают в процентах с помощью табл.5;
разность в процентах, полученная при первом и втором измерениях и будет погрешностью измерения сопротивления на установке, которая должна быть не более:
σ ≤(0,004+Δ), %
где Δ – относительная нестабильность источника тока (напряжения);

где
,
- нестабильность стабилизатора тока и
напряжения (см. таблицу 1)
,
- пределы регулирования стабилизатора
тока, напряжения, при которых определенны
,
.
б/ путем измерения тока ЗА, используя для этой цели шунт многопредельный Р357 на пределе ЗА.
Для контроля измеряемого тока использовать образцовую катушку электрического сопротивления класса 0,01 с номинальным значением 0,01Ом с учетом её действительного значения и находящуюся в масляном термостате с температурой 20±0,15°С не менее 1ч до начала измерений.
Токовые зажимы образцовой катушки подключить к зажимам «±I - внешнее Rн» установки, а потенциальные к зажинам «±Uх». При этом зажины «mV» замкнуть перемычкой.
Измерения производить при двух направлениях тока. Смену направления тока осуществлять переключателями «полярность образцовых мер». Переключатели: «образцовые сопротивления» -в положении «шунт»; «многопредельный шунт» в положении «ЗА»; «питание цепи тока» в положении «от П138".
Рекомендуемые режимы работы при измерении тока приведены в таблице 4
Таблица 4
|
Измеряемый объект. |
Положение переключателя: «к переключателю». |
Цена деления потенциометра, Ом. |
Положение переключателя «чувствительность потенциометра». |
|
Образцовая катушка электрического сопротивления – 0,01Ом. |
Ux |
||
|
Шунт Р357 |
Rн,V(Дн) |
0,1 |
|
Допустимая погрешность при измерении тока не должна превышать:
σ ≤(0,007+Δ), %
в) путем измерения на установке напряжения до 600В, используя встроенный в установку делитель напряжения Р356.
Для контроля напряжения пользоваться делителем напряжения Р356, специально подстроенным с точностью не ниже 0,002%.
При этом вход образцового делителя напряжения подключить к зажимам установки «±U», а выход к – «±Ux», переключатель «питание цепи тока» поставить в положение «откл», снять перемычку «±I - внешнее Rн».
При положении «Ux» переключателя «к потенциометру» установить указатель выходного прибора потенциометра на нуль Затеи поставить переключатель «к потенциометру» в положение «V (ДН)» и произвести отсчет отклонения указателя выходного прибора потенциометра.
При измерениях необходимо учесть термоконтактную эдс в цепях выходов делителей напряжения. Для определения термоконтактной эдс необходимо отключить схему установки от выходных зажимов стабилизатора напряжения. Рекомендуемые режимы при измерении напряжений приведены в табл.5
Таблица 5
|
Измеряемое напряжение, В. |
Коэффициенты делителей |
Цена деления потенциометра, мВ. |
Положение переключателя чувствительности потенциометра. |
Напряжение на потенциометре, соответствующее погрешности 0,001%, В. |
|
3 |
10:1 |
1 |
|
3* |
|
9 |
100:1 |
0,3 |
|
9* |
|
90 |
1000:1 |
0,3 |
|
9* |
|
600 |
10000:1 |
0,2 |
|
6* |
Допустимая погрешность при измерении напряжения не должна превышать:
σ ≤(0,007+Δ), %
5.4. Оформление результатов
Положительные результаты поверки должны быть оформлены путем клеймения соответствующих средств измерения /потенциометра, (делителя напряжения, шунта) и отметки в формуляре установки.
5.5. Рекомендации по эксплуатации установки
5.5.1. Смазку электродвигателей воздушного вентилятора и масляной мешалки производить не реже одного - двух раз в год. Доступ к электродвигателям осуществляется согласно «рекомендациям по частичной разборке установки».
5.5.2.
Смена масла в термостате производится
при уменьшении объемного сопротивления
масла до
см.
Ориентировочный срок эксплуатации
масла без замены пол года.
5.5.3. Рычажный переключатель «полярность образцовых мер» через каждые 1000 ходов проверять согласно методике. Если изменение токов превышает допустимую величину, необходимо произвести промывку и чистку .контактных поверхностей бензином (ГОСТ 8505-57).После промывки и чистки контактные поверхности просушить и смазать тонким слоем смазки.
Для снятия переключателя необходимо снять ручки с обоих переключателей «полярность» (вывернуть из осей винты); освободить и снять разъемы жгута: отвинтить четыре винта, крепящие панель переключателей к монтажной панели; выдвинуть переключатель на себя.
5.5.4.Рычажным переключателям «питание цепи тока», «шунт многопредельный», «образцовые сопротивления» периодически (примерно через 5000 переключений) производить промывку и чистку контактных поверхностей бензином с последующей сушкой и нанесением тонкого слоя смазки ЦИАТИМ-201.
Для доступа к контактным поверхностям переключателей со стороны монтажа необходимо открутить крепежные винты крышек переключателей и снять их на себя.
Доступ к контактным поверхностям переключателей со стороны ручек управления возможен при частичной разборке блоков управления и терморегулятора.
Для доступа к переключателям «шунт многопредельный» и «образцовые сопротивления» снять ручки переключателей блока коммутации; отвернуть крепежные винты лицевой панели блока коммутации и разворачивая лицевую панель на себя вверх обеспечить доступ к крынкам переключателей; ослабив крепежные винты крышек и, поворачивая их по часовой стрелке снимать на себя.
Для доступа к переключателю «питание цепи тока»- снять шасси терморегулятора, прибор МЗЗЗК, ручки переключателей блока, отвернуть гайки крепления тумблеров, гайки крепления держателей предохранителей и сигнальных фонариков, отпаять сигнальные фонарики от концов жгута, отвернуть крепежные винты блока и придерживая блок на месте, развернуть лицевую панель на себя вверх, закрепить блок для дальнейшей работы, ослабить крепежные винты крышки и повернув её по часовой стрелке снять на себя.
5.6. Рекомендации по частичной разборке установки
5.6.1.Демонтаж масляной мешалки.
а) снять воздуховод (поз.24 Приложение 3), для чего отвернуть крепящие его винты;
б) снять воздуховод (поз.8 Приложение 5; дальше в тексте подразделов номера позиций приведены согласно Приложения 5);
в) снять крышку (6);
г) вывернуть винты (18) и освободить трубку конденсатора (19) холодильного агрегата от скоб (16), в результате конденсатор отклонится на некоторый угол от вертикали;
д) снять вертикальную (15),а затем горизонтальную (17) панели, для чего отвернуть крепящие их винты;
е) отпаять от монтажной колодки (12) проводники, идущие к двигателю Дм (7);
ж) снять .пружину (9), удерживающую прокладку (11);
з) приподнять левый край прокладки (11) и отвернуть винт (4), который крепит крышку (5);
и) отвернуть винты (10) и, движением вверх, осторожно чтобы не повредить датчики (3) и сопротивления (2) вынуть масляную мешалку из термостата.
5.6.2. Демонтаж воздушного вентилятора
а) выполнить работы по пунктам 12.1. а, г, д;
б) освободить крепление жгута и отпаять от монтажной колодки проводники жгута, идущие к двигателю ДБ (25);
в) вывернуть винты (23), крепящие кронштейн (24);
г) вывернуть винты (22), крепящие воздушный вентилятор, осторожно отвести на себя левую часть холодильного агрегата и, движением вправо, выдвинуть вентилятор до выхода крыльчатки (26) из термостата;
5.6.3.Демонтаж термостата и холодильного агрегата.
а) выполнить работы по пунктам 12.I. а, г, д;
б) слить масло из ванны при помощи шланга;
в) отпаять монтаж на контактной панели термостата, отпаять жгут (во всех точках) от схемы термостата; снять пусковое реле (стоящее на левой части компрессора);
г) освободить нижний козырек корпуса установки, для чего отвернуть 4 винта, внизу установки, по концам козырька и отклонить последний (при необходимости ослабить крепление скоб козырька к трубе корпуса установки);
д) отвернуть 4 болта, крепящие термостат к трубе корпуса установки;
е) вынуть термостат наружу;
ж) выполнить работы по пунктам 12.2 в, г.
з) отвернуть винты (14),крепящие пластины (13), на которых укреплен испаритель (30);
и/вывернуть винты, крепящие кронштейн(20);
к) двигая осторожно холодильный агрегат вправо, вынуть испаритель из термостата.
Примечание при выполнении указанных работ нельзя деформировать трубки холодильного агрегата.
5.6.4.Разборка терморегулятора
а) освободить разъемы «I» и «II»;
б) освободить шасси терморегулятора сзади установки, для чего открутить 4 гайки;
в) снять шасси;
г) отсоединить от клемм прибора МЗЗЗК монтажный жгут;
д) клеммы измерителя («-» и без обозначений) закоротить медной проволокой;
е) освободить от крепежных скоб прибор МЗЗЗК и вынуть с лицевой стороны установки.
5.6.5.Демонтаж источников питания
Чтобы снять стабилизатор напряжения постоянного тока П136 и блок управления стабилизатора тока П138 необходимо освободить от подключений сзади установки, отвернуть винты со стороны лицевой панели и вынуть на себя. Чтобы снять блок питания стабилизатора тока П138 необходимо поднять левую полку установки, снять стенки тумбы, освободить от подключений, отвернуть крепежные винты, вынуть блок на себя.
5.7. Характерные неисправности и методы их устранения
|
Неисправность |
Вероятная причина |
Методы устранения |
|
Вход в режим термостата с начальной температурой масла до 20°С идет со скоростью менее 2,5°С в час. |
Не вращается крыльчатка воздушного вентилятора. Обрыв в цепи питания двигателя Дв или неисправность двигателя. |
Проверять цепь питания двигателя Дв. Проверить исправность . двигателя Дв. |
|
Масло в ванне не перемешивается |
Не вращается крыльчатка масляной мешалки. Обрыв в цепи питания двигателя Дм или неисправность двигателя. |
Проверить цепь питания двигателя Дм. Проверить исправность двигателя Дм. |
|
При включенных тумблерах «сеть» и «термостат»,стрелка прибора МЗЗЗК находится в нулевом положении Лампа «термостат» и «сеть» не горят. |
Перегорел предохранитель блока терморегулятора. |
Сменить предохранитель внутри установки на шасси блока терморегулятора. |
|
Невозможно установить стрелку прибора МЗЗЗК в рабочей части шкалы подстройкой резисторами R93 R94 при температуре масла 20±0,75°С. |
Нарушены цепи измерительного моста, находящиеся в термостате и в блоке терморегулятора. |
Разъединить разъемы на блохе терморегулятора и проверить цепи измерительного моста в блоке терморегулятора и в термостате. |
|
Стрелка прибора М333К периодически уходит влево, дальше 0,12°С |
Не работают нагреватели в термостате. Неисправна контактная система терморегулятора: а/ внутри прибора; б/ в блоке терморегулятора |
Снять крышку термостата, снять нагреватели, устранить неисправность. Отремонтировать прибор и проверить цепи реле 1Р (входные и выходные). |
|
Стрелка прибора МЗЗЗК уходит вправо, не возвращаясь. |
Не работает холодильный агрегат. Неисправная контактная система терморегулятора: а) внутри прибора; б) в блоке терморегулятора |
Отремонтировать прибор; проверить цепи реле 2Р (входные и выходные). |
|
Измерение неустойчивое |
Переменный контакт в цепи источник - измеряемый объект. Переменный контакт в цепях подключения потенциометра или в измерительных цепях установки. Неисправен потенциометр |
Поджать зажимы. Поджать зажимы в цепах подключения потенциометра, проверить контакты в измерительных цепях установки и на переключателях. Проверить исправность потенциометра. |
|
Невозможно установить стрелку выходного прибора потенциометра в необходимом положении при вращении ручек регулятора выходной величины стабилизатора тока или стабилизатора напряжения. |
Неисправен источник питания Неисправен регулятор. |
Устранить неисправность |
|
Стрелка
выходного прибора потенциометра
отклоняется при касании рукой установки
в положении переключателя чувствительности
автокомпенсатора
|
Отсутствие надежного заземления блоков или установки в целом. |
Проверить наличие электрической связи металлических токоведущих частей установки с зажимом «заземление». |
5.8. Правила хранения и транспортирования
Установка в транспортной упаковке может транспортироваться железнодорожным и автодорожным транспортом в диапазоне температур от минус 50 до плюс 60°С, относительной влажности 95% (при температура 30°С).
Установки должны храниться в закрытом помещении при температуре окружающего воздуха от плюс 10 до плюс 40°С и относительной влажности до 80%.
6. Метрологический эксперимент поверки вольтметра.
Произведем для примера поверку вольтметра типа М-381 методом сравнения на потенциометрической установке постоянного тока типа У355.
Проведем эксперимент поверки вольтметра М-381 класс точности 1,5, предел измерения от 0 до 250 В, допускаемая погрешность 3,75 В методом сравнения с образцовым вольтметром М-2018 класс точности 0,2. предел измерения от 0 до 300 В на базе потенциометрической установки постоянного тока типа У355, данные эксперимента заносим в таблицу № 1
Таблица № 1
|
№ п/п |
Показания поверяемого прибора, В |
Показания образцового прибора, В |
Абсолютная погрешность , В |
Относительная погрешность , % |
|
1 |
253 |
250 |
3 |
1,2 |
|
2 |
202 |
200 |
2 |
1 |
|
3 |
151 |
150 |
1 |
0,6 |
|
4 |
100 |
100 |
0 |
0 |
|
5 |
49 |
50 |
1 |
2 |
= А – Хист = 253 – 250 = 3 В = А – Хист / Х ист 100% = 253 – 250 / 250 = 1,2 %
= А – Хист = 202 – 200 = 2 В = А – Хист / Х ист 100% = 202 – 200 / 200 = 1 %
= А – Хист = 151 – 150 = 1 В = А – Хист / Х ист 100% = 151 – 150 / 150 = 0,6 %
= А – Хист = 100 – 100 = 0 В = А – Хист / Х ист 100% = 100 – 100 / 100 = 0 %
= А – Хист = 49 – 50 = 1 В = А – Хист / Х ист 100% = 49 – 50 / 50 = 2 %
Вывод: относительная погрешность не превышает допускаемую погрешность, следовательно вольтметр М-381 успешно поверен и пригоден к дальнейшей эксплутации.
Список используемой литературы
1. Гусев В.Г., Гусев Ю.М. Электроника: Учеб. пособие для приборостроит. спец. вузов.-2-е изд., перераб. и доп.-М:Высш.шк.,1991
2. Гусев В.Г., Мулик А.В. Проектирование электронных аналоговых измерительных устройств: Учеб. пособие.-Уфа:УАИ,1990
3. Гусев В.Г., Мулик А.В. Аналоговые измерительные устройства: Учеб. пособие.-Уфа:УГАТУ,1996
4. Опадчий Ю.Ф. и др. Аналоговая и цифровая электроника (Полный курс):Учебник для вузов/Ю.Ф. Опадчий,О.П.Глудкин,А.И.Гуров;Под ред.О.П.Глудкина.-М.:Горячая линия-Телеком,1999
5. Титце У., Шенк К. Полупроводниковая схемотехника: Справочное руководство / Пер. с нем. под ред.А.Г.Алексеенко.-М.:Мир,1982
6. Хоровиц П., Хилл У. Искусство схемотехники=Тпе art of electronics:В 3 т. / Перевод с англ. Б.Н.Бронина и др.-4-е изд., перераб. и доп.-М.:Мир.
7. Цифровые интегральные микросхемы: Справочник/ [П.П.Мальцев и др.].-М.: Радио и связь,1994
8. Цифровые интегральные микросхемы: Справочник / М.И. Богданович, И.Н.Грель, С.А. Дубинина, В.А. Прохоренко, В.В.Шамило.-2-е изд.,перераб. и доп.-Минск: Беларусь, Полымя, 1996
9. Аналоговые и цифровые интегральные микросхемы: Справочное пособие / Под ред. С.В. Якубовского.-2-е изд., перераб. и доп.-М.:Радио и связь, 1985.
10. Интегральные микросхемы: Операционные усилители: Справочни
к / А.В.Перебаскин, А.А. Бахметьев, С.О. Колосов и др.- М.: Физматлит. Т.1.- 1993.-240с.
11. Интегральные микросхемы: Справочник.- М.:ДОДЭКА; Вьш.1.: Микросхемы для аналого-цифрового преобразования и средств мультимедиа.-1996
12. Однокристальные микроЭВМ: Справочник / Боборыкин А.В. и др. М.:МИКАП, 1994.
13. Новиков Ю.В., Калашников О.А., Гуляев С.Э. Разработка устройств сопряжения для персонального компьютера типа IBM РС. Под общей редакцией Ю.В. Новикова. Практическое пособие. — М.: ЭКОМ.,
МОСКОВСКИЙ ГОСУДАРСТВЕННЫЙ ОТКРЫТЫЙ УНИВЕРСИТЕТ
ФАКУЛЬТЕТ ИНФОРМАТИКИ И РАДИОЭЛЕКТРОНИКИ
КУРСОВОЙ ПРОЕКТ
по дисциплине:
«Основы проектирования приборов и систем»
на тему: Разработка потенциометрической установки постоянного тока типа У355
Выполнил: Бондарев А.Г.
студент IV курса МГОУ
Специальность: 200106
Шифр: 6041003 / с
Проверил: Ткачева Т.А.
2008
МОСКОВСКИЙ ГОСУДАРСТВЕННЫЙ ОТКРЫТЫЙ УНИВЕРИТЕТ
Факультет информатики и радиоэлектроники
Кафедра: Информационная измерительная техника
Специальность: 200106
ЗАДАНИЕ
На курсовой проект Бондарева Алексея Григорьевича Шифр: 6041003/с
Тема работы:
Разработка потенциометрической установки постоянного тока типа У355
Содержание пояснительной записки:
Введение
Техническое задание
Разработка структурной схемы потенциометрической установки постоянного тока типа У355
Разработка функциональной схемы потенциометрической установки
постоянного тока типа У355
Разработка принципиальной схемы потенциометрической установки
постоянного тока типа У355
Разработка конструкции потенциометрической установки постоянного
тока типа У355
Разработка методики поверки
Метрологический эксперимент поверки вольтметра.
Список используемой литературы
Приложения
3. Дата выдачи задания:
4. Срок выполнения:
Задание выдал _______________ Т.А. Ткачева
Задание
принял _______________ А.Г. Бондарев

внешнее

-
.