Расчет выпрямительного диффузионного диода
ЗАДАНИЕ НА КУРСОВОЙ ПРОЕКТ
по проектированию и конструированию полупроводниковых приборов
Тема: Расчет выпрямительного диффузионного диода.
Срок представления курсового проекта к защите:
Исходные данные для проектирования:
3.1 Повторяющееся импульсное обратное напряжение: U>RRM>> >= 2000 B.
3.2 Максимально допустимый прямой ток: I>FAV>> >= 350 A.
3.3 Обратный допустимый ток: I>RRM>> >≤ 3 мА.
3.4 Прямое падение напряжения: U>FM> ≤ 1,5 В.
Содержание пояснительной записки курсового проекта.
4.1 Расчет удельного сопротивления исходного кристалла.
4.2 Расчет геометрических размеров слоев выпрямительного элемента.
4.3 Расчет диаметра выпрямительного элемента и выбор конструкции корпуса диода.
4.4 Проверка соответствия расчетных и заданных значений основных параметров диода и корректировка расчетов.
Перечень графического материала.
Вольт амперная характеристика диода единичной площади.
5.2 Графики зависимости выделяемой и отводимой мощности от диаметра выпрямительного элемента.
Структура выпрямительного элемента.
РЕФЕРАТ
Пояснительная записка содержит 32 страницы печатного текста, 2 рисунка, 3 таблицы, 3 приложения, при написании использовалось 3 источника литературы.
выпрямительный элемент, экспоненциальная модель, диффузионный профиль, удельное сопротивление, напряжение пробоя, область пространственного заряда, прямой ток, диод.
Объектом разработки является выпрямительный диффузионный диод.
Цель работы - проектирование выпрямительного диффузионного диода.
Методы разработки - аналитический расчет.
Полученные результаты: по заданным электрическим параметрам определены технологические параметры изготовления выпрямительного элемента, разработана структура диода.
Основные конструкционные и эксплуатационные характеристики: Повторяющееся импульсное обратное напряжение U>RRM>> >= 2000 B, максимально допустимый прямой ток I>FAV>> >= 350 A, обратный допустимый ток I>RRM>> >≤ 70 мА, прямое падение напряжения U>FM> ≤ 1,5 В. Удельное сопротивление исходного кристалла = 70 Омсм, толщина структуры W = 270 мкм, глубина залегания p - n-перехода x>j>> >= 55 мкм, параметры диффузии Dt = 2,17 10-6 см-2, диаметр выпрямительного элемента d>В >= 24 мм. Максимальная температура корпуса T>C> = 140°C.
Область применения: разработанный диод может применяться в любой силовой аппаратуре, где необходимо его использование и соблюдаются условия эксплуатации.
СОДЕРЖАНИЕ
Введение
1. Теоретическая часть
1.1 Выбор материала диода и типа проводимости исходного кристалла
1.2 Определение удельного сопротивления исходного кристалла
1.3 Расчет геометрических размеров слоев выпрямительного элемента
1.4 Расчет диаметра выпрямительного элемента и выбор конструкции корпуса диода
1.5 Проверка соответствия расчетных и заданных значений основных параметров диода и корректировка расчетов
2. Расчетная часть
2.1 Расчет удельного сопротивления исходного кристалла
2.2 Расчет геометрических размеров слоев выпрямительного элемента
2.3 Расчет диаметра выпрямительного элемента и выбор конструкции корпуса диода
2.4 Проверка соответствия расчетных и заданных значений основных параметров диода и корректировка расчетов
Заключение
Список использованных источников
Приложение А
Приложение Б
Приложение В
ВВЕДЕНИЕ
Целью данного курсового проекта является определение основных электрических, технологических и эксплуатационных параметров выпрямительного диффузионного диода на основании заданной структуры (характера распределения примеси) и электрических характеристик.
Проектирование полупроводниковых приборов является сложной задачей, требующей фундаментальных знаний в области физики полупроводников и полупроводниковых приборов, полупроводниковой технологии и т. д. Физические процессы в полупроводниковых приборах в большинстве случаев описываются системой нелинейных дифференциальных уравнений в частных производных, не имеющих аналитических решений. Точный расчет в них возможен лишь численными методами. На этапе обучения более целесообразно приобретение навыков проектирование на основе аналитических формул и выражений для закрепления навыков расчета полупроводниковых приборов.
Не смотря на то, что при расчете применялись аналитические формулы, которые применимы только в некотором приближении, все же благодаря приобретенным навыкам, для каждого конкретного случая были подобраны те соотношения, которые дают наименьшую погрешность расчета. Вследствие чего был разработан диод, который легко изготовить в стандартном технологическом цикле, причем все электрические и эксплуатационные характеристики будут соответствовать заданным.
Экономический расчет проекта не проводился.
Новизны в работе нет, так как проектирование проводилось по материалам научной литературы.
1. ТЕОРЕТИЧЕСКАЯ ЧАСТЬ
1.1 Выбор материала диода и типа проводимости исходного кристалла
В настоящее время выпрямительные диоды почти целиком изготавливаются на основе германия и кремния. Такие материалы, как арсенид галлия и карбид кремния, пока еще не получили широкого распространения из-за сложной технологии получения и обработки.
Кремниевые выпрямительные диоды обладают рядом преимуществ по сравнению с германиевыми. Благодаря тому, что у кремния больше ширина запрещенной зоны, кремниевые диоды имеют более высокие рабочие температуры (до 190 °С против 85 °С для германиевых диодов). Вследствие этого они могут работать при более высоких плотностях токов в прямом направлении.
Из-за более широкой запрещенной зоны в кремнии концентрация собственных носителей заряда n>i> на два порядка меньше, чем в германии, в результате кремниевые диоды имеют обратные токи в тысячи раз меньше германиевых. Кремниевые диоды выдерживают большие обратные напряжения, определяемые лавинным пробоем р — n-перехода. В то время как в германиевых диодах (вследствие относительно больших обратных токов) раньше может развиться тепловой пробой. Этому способствует и меньшее значение коэффициента теплопроводности германия.
Недостатком кремниевых диодов является сравнительно большое падение напряжения в прямом направлении. Из-за различия в ширине запрещенной зоны в кремниевых р — n-переходах высота потенциального барьера (при одинаковых уровнях легирования базовых областей) в 1,5 — 2,0 раза превышает высоту потенциального барьера германиевых р — n-переходов. Примерно во столько же раз и падение напряжения на р — n-переходе в кремниевых диодах будет больше.
Исходный кристалл для выпрямительных диодов может иметь проводимость как n-, так и p-типа. Но поскольку в германии и кремнии подвижность электронов заметно превышает подвижность дырок, то предпочтительнее использовать исходные материалы электронного типа проводимости, так как в этом случае падение напряжения будет меньше.
На выбор типа проводимости исходного кристалла может влиять состояние поверхности полупроводника. В кремниевых р — n-переходах в оксиде кремния или на границе кремний — диоксид кремния почти всегда присутствует значительный положительный заряд, который может существенно уменьшить напряжение поверхностного пробоя в p+—n-переходах (если диффузия проводилась в исходный кристалл n-типа проводимости) или привести к образованию инверсионного канала и резкому увеличению обратного тока в n+ — p-переходах (если диффузия проводилась в исходный кристалл p-типа проводимости). Если в первом случае можно применять достаточно разработанные способы устранения поверхностного пробоя, то последнее обстоятельство сильно затрудняет создание высоковольтных p — n-переходов с малыми обратными токами. Поэтому для создания высоковольтных диодов лучше выбирать исходный кремний электронного типа проводимости.
1.2 Определение удельного сопротивления исходного кристалла
Удельное, сопротивление исходного кристалла влияет на ряд параметров выпрямительного диода: прямое падение напряжения, обратный ток, емкость и т. д. Но в наибольшей степени от него зависит напряжение лавинного пробоя p — n-перехода U>B>, поэтому выбор удельного сопротивления исходного кристалла производится то напряжению лавинного пробоя.
Напряжение лавинного пробоя определяется по заданному значению повторяющегося импульсного обратного напряжения U>rrm>> >[1]:
,
(1.2.1)
где k — коэффициент запаса.
Значение коэффициента запаса выбирается равным 0,75 — 0,80 [1].
Напряжение лавинного пробоя диффузионного р — n-перехода зависит не только от удельного сопротивления исходного кристалла, но и от характера распределения диффундирующей примеси.
Примесные профили диффузионных (особенно высоковольтных) р — n-переходов, в пределах области объемного заряда наиболее точно аппроксимируются экспонентой [1]. Тогда результирующая примесная концентрация, например, для случая диффузии акцепторной примеси в исходный материал n-типа, имеет вид:
, (1.2.2)
где x>j> — глубина залегания р — n-перехода от поверхности;
N>0>, λ - параметры аппроксимации.
Подбирая параметры экспоненциального распределения, можно с высокой точностью аппроксимировать реальное распределение примесей в районе металлургического перехода. Наиболее просто и легко это можно сделать, приравняв градиенты концентраций реального примесного профиля и аппроксимирующей (экспоненциальной) функции в плоскости металлургического р — n-перехода (при x = х>j>). Если, например, диффузия проводится из ограниченного источника, то получаем:
(1.2.3)
Здесь x>j>> >определяется из выражения
,
(1.2.4)
где D — коэффициент диффузии примеси; t — время диффузии; Q —количество атомов диффундирующей примеси, приходящейся на единицу площади; N>0> — концентрация легирующей примеси в исходном кристалле.
При диффузии из источника с постоянной концентрацией диффундирующей примеси параметр λ находится по формуле
, (1.2.5)
где N>s>— поверхностная концентрация диффундирующей примеси.
Между параметрами аппроксимации λ и N>0> имеется связь:
,
(1.2.6)
где a — градиент концентрации диффундирующей примеси в плоскости металлургического перехода.
Напряжение лавинного пробоя экспоненциального перехода с диффузионным профилем (1.2.2) можно вычислить с помощью соотношения, получаемого из решения уравнения Пуассона [1]:
,
(1.2.7)
где l>B>> >- ширина области объемного заряда (ООЗ) при напряжении пробоя.
Для кремниевых экспоненциальных р — n-переходов l>B>> >определяется следующими выражениями:
(для l>B>>
>≤ 5λ);
(1.2.8а)
(для l>B>>
>> 5λ).
(1.2.8б) где l>B>
и λ в микрометрах, а N>0>
в см-3.
Указанные соотношения определяют ширину области объемного заряда р - n-перехода при пробое с погрешностью менее 5 %. В приближении экспоненциального перехода концентрацию легирующей примеси (а значит, и удельное сопротивление) исходного кристалла можно определить следующим образом:
Сначала по соотношениям (1.2.3) и (1.2.5) исходя из предпочтительных значений величин х>j> и Dt в первом приближении определяют величину λ. для выпрямительных диодов при обычно используемых режимах диффузии она составляет от 0,5 до 15,0 мкм.
Малые значения λ характерны для неглубоких р — n-переходов, получаемых кратковременной диффузией. Однако в них трудно осуществить защиту от поверхностного пробоя. Переходы с очень высокими значениями λ требуют длительных диффузий и имеют большую глубину залегания от поверхности, что обычно тоже нецелесообразно. Поэтому, если нет каких-либо ограничений, λ выбирается из середины приведенного выше интервала.
Затем определяется ширина области объемного заряда р — n-перехода при напряжении лавинного пробоя. В кремниевых диффузионных р — n-переходах независимо от профиля легирования в широком диапазоне напряжений пробоя имеют место следующие приближенные соотношения [1]:
(для 30 ≤ U>B>
≤ 300 В), (1.2.9а)
(для U>B>
≥ 300 В). (1.2.9б)
В этих выражениях U>B> задается в вольтах, а l>B> получается в микрометрах.
После определения l>B> и λ в первом приближении из соотношений (1.2.8а), (1.2.8б) рассчитывается значение концентрации легирующей примеси в исходном материале N>0>.
Имея значения параметров l>B>, λ и N>0> в первом приближении, по выражению (1.2.7) можно уточнить напряжение лавинного пробоя экспоненциального p—n-перехода.
Если расхождение между полученным и требуемым значениями составляет меньше З %, то расчет на этом можно заканчивать. Если же оно оказывается больше, то необходимо скорректировать параметры N>0> или λ. Для повышения напряжения пробоя р — n-перехода можно увеличивать λ или уменьшать N>0>.
После коррекции параметров N>0> и λ по (1.2.8а), (1.2.8б) находят новое значение l>B> и по (1.2.7) — напряжение лавинного пробоя. После окончания определения с помощью выражений (1.2.3) — (1.2.5) следует оценить значения х>j> и Dt, необходимые для получения рассчитываемого р –n-перехода. Если они приемлемы, т. е. их можно получить в обычном технологическом процессе без особых затруднений, процесс нахождения N>0> можно считать законченным и установить удельное сопротивление исходного материала.
1.3 Расчет геометрических размеров слоев выпрямительного элемента
Структура выпрямительного элемента диода схематически изображена на рисунке 1.3.1.

Рисунок 1.3.1. Структура выпрямительного элемента.
Большинство выпрямительных диодов в приконтактных областях имеют сильнолегированные слои n+ и р+ типа, которые играют двоякую роль.
Во-первых, они необходимы для уменьшения сопротивления омических контактов, особенно при использовании высокоомных исходных материалов. Эти слои также ослабляют инжекционные свойства омических контактов, улучшая их качество. Для достижения указанных целей достаточно иметь сильнолегированные слои толщиной 30 — 50 мкм [1].
Во-вторых, сильнолегированные слои в высоковольтных диодах ограничивают расширение области объемного заряда в базовые области, что бывает необходимо для уменьшения толщины базовых областей. В высоковольтных диодах при свободном расширении толщина области объемного заряда при пробое очень большая. Чтобы падение напряжения на диоде в прямом направлении было приемлемым, нужно увеличивать время жизни дырок в n-базе. А это требует специальных мер, в связи, с чем разумно ограничить расширение области объемного заряда в n-базу созданием сильнолегированного n+ - слоя.
Расчет геометрических размеров слоев диффузионного выпрямительного элемента сравнительно легко можно провести, используя приближение экспоненциального перехода.
Параметры аппроксимации λ и N>0> и глубина залегания диффузионного перехода связаны между собой соотношениями (1.2.3) — (1.2.6), из которых видно, что, изменяя условия проведения процесса диффузии (Dt), можно влиять на глубину залегания р — n-перехода, даже если параметры λ и N>0> заданы (определены). То есть глубина залегания р — n-перехода может варьироваться. В выпрямительных диодах она обычно составляет несколько десятков микрон.
При небольшой глубине (до 20 мкм) в меза-структурах с обратной фаской р — n-переход оказывается расположенным недостаточно далеко от края диска и может быть легко поврежден в процессе изготовления диода. Переходы с глубиной залегания более 100 мкм требуют большой длительности диффузии.
В диффузионных р — n-переходах, как правило, специально создавать сильнолегированный приконтактный слой в диффузионной области не нужно, так как поверхностная концентрация диффундирующей примеси достаточна для формирования омического контакта с малым сопротивлением. Если же она недостаточна (как, например, при длительной диффузии алюминия в кремний из соленых источников N>s>= 5·1016 см-3 [1]) то сильнолегированный слой формируется одновременно с диффузией основной примеси (в упомянутом случае диффузией бора). Согласно принятым на рисунке 1.3.1 обозначениям глубина залегания диффузионного р — n-перехода x>j> равна толщине р+ слоя.
Выражая из (1.2.2) глубину залегания, получаем:
,
(1.3.1)
Величина d>n> в диффузионном р — n-переходе зависит от глубины проникновения области объемного заряда в базовую область при пробое. При известных λ и N>0> глубина проникновения определяется с помощью выражения[1]:
,
(1.3.2)
Сильнолегированный приконтактный слой, полученный с помощью диффузии, обычно определяется как расстояние от контактной поверхности до плоскости, в которой концентрация легирующей примеси в два раза больше концентрации примеси в исходном кристалле. Для выпрямительных диодов при таком определении х>jn> обычно составляет 30 - 50 мкм.
Общая толщина выпрямительного элемента
W = x>j> + х>jn> + d>n> , (1.3.3) должна быть больше 250 — 300 мкм. С учетом возможных значений х>j> и х>jn> это означает, что толщина умеренно легированной базовой области d>n> должна составлять примерно 150 мкм. Поэтому если l>nB> < 150 мкм, то d>n> выбирается равной 150 мкм. Если же l>nB> > 150 мкм, то расширение области объемного заряда в базу можно ограничить и принять d>n> = 0,8 l>nB> (но не меньше 150 мкм). Такое 20% ограничение может заметно уменьшить толщину выпрямительного элемента высоковольтных диодов, практически не изменяя напряжение пробоя. Поэтому при ограничении расширения области объемного заряда при пробое не требуется никакого пересчета напряжения пробоя.
1.4 Расчет диаметра выпрямительного элемента и выбор конструкции корпуса диода
Расчет диаметра выпрямительного элемента производится исходя из средней мощности прямых потерь в диоде и максимально возможной отводимой мощности, обеспечиваемой выбранной конструкцией корпуса диода.
При определении потерь мощности в прямом направлении обычно пользуются так называемой кусочно-линейной аппроксимацией прямой ВАХ диода [1]. В этом случае средняя мощность потерь при протекании предельного тока определяется выражением
,
(1.4.1)
где
прямое падение напряжения на диоде при
протекании постоянного тока, равного
.
При работе в стационарном режиме тепловая энергия, выделяемая в выпрямительном элементе, должна выводиться из внутренних областей диода наружу, к поверхности корпуса, а затем в окружающую среду. Способность к такому отводу тепла характеризуется внутренним тепловым сопротивлением прибора R>thjc>. Эта величина определяется многими факторами, но в большей мере она обусловливается теплофизическими характеристиками материалов корпуса прибора, а не полупроводникового кристалла. Значения R>thjc> для различных типов корпусов можно взять из [1].
Максимальная мощность, отводимая от выпрямительного элемента к внешним поверхностям полупроводникового прибора, находится из выражения
.
(1.4.2)
Для силовых выпрямительных диодов значения Т>jm> и Т>c> устанавливаются в зависимости от величины повторяющегося импульсного обратного напряжения U>RRM> (таблица 1.4.1).
Таблица - 4.1 Максимально допустимые температуры р — n-перехода и корпуса кремниевых силовых выпрямительных диодов
|
U>RRM>, B |
T>jm>, °C |
T>c>, °C |
|
До 1800 |
190 |
125 |
|
1800 – 3000 |
175 |
125 |
|
Свыше 3000 |
150 |
100 |
Очевидно, что в стационарных режимах работы выпрямительных диодов максимально возможная отводимая мощность должна превышать выделяемую мощность в диоде. В этом случае температура р — n-перехода не превысит максимально допустимое значение Т>jm>. Поэтому критерием тепловой устойчивости и работоспособности прибора служит соотношение
.
(1.4.3)
Для определения диаметра выпрямительного элемента по критерию (1.4.3) необходимо вычислить среднюю мощность прямых потерь в диоде
P>ВЫД >= I>FAV>> >U>F>> >(2,5I>FAV>) (1.4.4) при различных диаметрах выпрямительного элемента [1]. Для этого поступают следующим образом. Задаются значением d>В> рассчитывают активную площадь структуры, через которую протекает основной прямой ток. В случае планарной структуры активная площадь диода совпадает с площадью р — n-перехода. Для мезаструктуры с фаской ситуация несколько иная (рисунок 1.4.1).

1- омические контакты.
Рисунок 1.4.1 Структура выпрямительного элемента с фаской:
Так как выпрямительные диоды при предельном токе в большинстве случаев работают при высоком уровне инжекции в базах, область объемного заряда в таком режиме работы исчезает, и сопротивление диода определяется объемным сопротивлением кремниевой пластины. Основная часть тока в этом случае будет протекать в сечении, ограниченном верхним омическим контактом. Растекание тока в боковые области будет незначительным, особенно при малых углах фаски.
Поэтому за активную площадь структуры принимается площадь меньшего омического контакта [1]:
.
(1.4.5)
Учитывая погрешности в расчете прямой ВАХ диода, более строго определять активную площадь не имеет смысла.
Рассчитав S>АКТ>, находят плотность тока через выпрямительный элемент при I = 2,5 I>FAV>:
.
(1.4.6)
Затем по вольт амперной характеристике (ВАХ) диода единичной площади, определяют значение прямого падения напряжения.
При проектирования выпрямительных диодов ВАХ нужна в относительно узком диапазоне токов, близких к предельному току диода. Это позволяет использовать аналитические выражения, пригодные в ограниченном диапазоне токов и напряжений.
Одна из таких ВАХ в кремнии представлена ниже [1]:
,
(1.4.7)
,
(1.4.8)
где U>F>> >- падение напряжения в прямом направлении, В; j>F> — плотность прямого тока, А/см2; W>SI> — толщина выпрямительного элемента, мкм.
Выражение (1.4.7) записано для р+ — n — n+-структуры и предполагает, что выпрямительный элемент содержит сильнолегированный приконтактный слой n+-типа, который при низком уровне инжекции не оказывает влияния на ВАХ, если толщина умереннолегированной n-базы превышает (2 — З)L>p>. Однако при высоком уровне инжекции на n — n+-переходе падает часть приложенного напряжения, какой бы ни была ширина базы.
Первое слагаемое в (1.4.7) выражает суммарное падение напряжения на р+_ n- и n+_ n-переходах структуры.
Второе слагаемое дает падение напряжения на n-базе в предположении, что имеет место обычная рекомбинация Шокли - Холла - Рида через глубокие центры, т. е. Оже-рекомбинация не существенна. Это допустимо для плотностей тока 300 — 400 А/см2. Чтобы падение напряжения на n-базе оставалось приемлемым, необходимо выбирать достаточно большое значение времени жизни. Критерием такого выбора может служить соотношение [1]
,
(1.4.9)
где W>SI> дается в микрометрах, а τ>р> — в микросекундах.
Третье слагаемое в (1.4.7) представляет вклад электронно-дырочного рассеяния.
После построения ВАХ, по полученному графику либо по (1.4.7) определяют значение прямого падения напряжения при I = 2,5 I>FAV> и выделяемую мощность потерь по (1.4.4).
После этого строят зависимость Р>выд> от d>В>. Затем, исходя из максимально допустимой температуры р — n-перехода и температуры корпуса (таблица 1.4.1), рассчитывают значения максимальной мощности, отводимой от выпрямительного элемента к внешним поверхностям полупроводникового прибора:
.
(1.4.10)
Внутренние тепловые сопротивления R>thjc> типовых корпусов полупроводниковых диодов определяются экспериментально и приводятся в таблицах [1]. Далее, исходя из критерия Р>ВЫД >< P>ОТВ> и габаритных ограничений, выбирают тип корпуса, обеспечивающий необходимые условия теплоотвода, и диаметр выпрямительного элемента.
Корпуса силовых выпрямительных диодов в настоящее время унифицированы и выпускаются нескольких типов для разных значений диаметра выпрямительного элемента. Причем внутреннее тепловое сопротивление корпуса R>thjc> зависит от d>В> [1]. Для определения диаметра выпрямительного элемента в данном случае необходимо построить зависимости Р>ОТВ> от d>В> для различных типов корпусов. Точка пересечения Р>вьд >и Р>отв> определяет искомый диаметр выпрямительного элемента, для обеспечения тепловой устойчивости диаметр следует выбирать несколько большим, чем дает точка пересечения. При этом нужно иметь в виду, что значения диаметра тоже стандартизированы, поэтому за d>В> следует принимать первое разрешенное значение в сторону увеличения. Если окажется, что с учетом указанных критериев подходят несколько корпусов то можно выбрать вариант с меньшим диаметром выпрямительного элемента.
1.5 Проверка соответствия расчетных и заданных значений основных параметров диода и корректировка расчетов
Как было показано выше, для расчета электрофизических характеристик и геометрических размеров слоев выпрямительного элемента достаточно задания таких параметров диода, как U>RRM> и I>FAV>. Однако кроме них на проектируемый диод могут быть заданы ограничения и по ряду других параметров, не затрагиваемых при его проектировании. Поэтому после расчета основных параметров проектируемого диода следует проверить, удовлетворяются ли другие требования. Если расчетные значения всех параметров удовлетворяют заданным, то расчеты на этом заканчиваются. В противном случае необходимо внести корректировки в расчет диода.
Одним из ограничивающих параметров выпрямительных диодов является импульсное прямое напряжение U>FM> — наибольшее мгновенное значение прямого напряжения на диоде. Оно измеряется при мгновенном максимальном значении прямого тока, равном предельному току I>FAV>, умноженному на π,
Для нахождения U>FM> при выбранном значении диаметра выпрямительного элемента по формуле (1.4.5) рассчитывается активная площадь структуры, а затем определяется максимальное значение плотности тока в прямом направлении
.
(1.5.1)
Далее исходя из ВАХ диода единичной площади по (1.4.7) находится значение прямого падения напряжения U>FM>. К нему можно добавить падение напряжения на омических контактах, не учитываемое в вышеуказанных выражениях. Для силовых выпрямительных диодов оно составляет 0,05 В.
По обратному току ограничивающим параметром обычно является повторяющийся импульсный обратный ток диода I>RRM> — наибольшее мгновенное значение обратного тока, обусловленное повторяющимся импульсным обратным напряжением U>RRM>. Измеряется I>RRM> при максимально допустимой температуре перехода T>jm>.
Обратный ток реального диода состоит из нескольких составляющих:
I>R >= I>S >+ I>g >+ I>УТ>> >+ I>ПОВ>> >+ I>КАН>, (1.5.2)
где I>S> — ток насыщения; I>g> — ток термогенерации; I>УТ> — ток утечки по поверхности; I>ПОВ> — поверхностный ток; I>КАН> — канальный ток.
Некоторые из них, такие, как I>УТ> и I>КАН> аналитически не рассчитываются. Поверхностный ток содержит трудно определяемую скорость поверхностной рекомбинации. Поэтому при расчете обратного тока обычно ограничиваются двумя составляющими — током насыщения и генерационным током.
Ток насыщения — это ток, обусловленный носителями заряда, экстрагируемыми обратносмещённым р — n-переходом из базовых областей. Наиболее общее выражение для плотности тока насыщения, имеет вид:
.
(1.5.3)
где n>i>-собственная
концентрация, >
>>
>– диффузионная длина.
В диффузионных р — n-переходах обычно диффузионная область получается значительно сильнее легированной, чем другая базовая область, представляющая собой исходный материал. В этом случае в выражении для плотности тока насыщения одной составляющей (электронной для р+ - n-перехода и дырочной для n+ — p-перехода) можно пренебречь.
Температурная зависимость параметров, входящих в (1.5.3) представлена ниже.
, (1.5.4)
,
(1.5.5)
,
(1.5.6)
где T>n>=T/300; T- температура по шкале Кельвина.
Плотность генерационного тока, как правило, вычисляется в предположении, что энергетические уровни генерационно-рекомбинационных центров находятся вблизи середины запрещенной зоны:
.
(1.5.7)
где l(U>RRM>) — ширина области объемного заряда при повторяющемся импульсном обратном напряжении.
Для экспоненциального р — n-перехода ширина области объемного заряда может быть найдена по формулам [1]:
при
l
> 4λ,
(1.5.8)
при
l
≤ 20λ.
(1.5.9)
Если расширение области объемного заряда в базу ограничивается сильнолегированной n+ или р+ - областью то после определения l следует вычислить распространение области объемного заряда в базовые области по формулам:
,
(1.5.10)
.
(1.5.11)
И если l>n> при напряжении U>RRM> окажется больше d>n> (см. рисунок 1.4.1 ), то ширину области объемного заряда следует найти по формуле
,
(1.5.12)
Генерационное время жизни τ>g> обычно принимается равным времени жизни носителей заряда в базовых областях. Если эти значения различаются, то в качестве τ>g> берется среднее геометрическое от времени жизни неосновных носителей заряда в базовых областях
.
(1.5.13)
После определения плотностей тока насыщения и генерационного тока рассчитывается повторяющийся импульсный обратный ток диода
.
(1.5.14)
Площадь S, входящая в это выражение, в случае выпрямительного элемента с фаской отличается от S>АКТ> для прямого направления. Обратный ток диода формируется в области объемного заряда, и в качестве S необходимо брать площадь структуры в плоскости металлургического перехода (пунктирная линия на рисунке 1.4.2), что практически совпадает с площадью большего омического контакта:
.
(1.5.15)
2. РАССЧЕТНАЯ ЧАСТЬ
2.1 Расчет удельного сопротивления исходного кристалла
В качестве исходного материала выбираем кремний n-типа проводимости.
Выбор удельного сопротивления исходного кристалла производится то напряжению лавинного пробоя.
Напряжение лавинного пробоя определяется по заданному значению повторяющегося импульсного обратного напряжения U>rrm> . В соответствии с формулой (1.2.1), задавшись коэффициентом запаса k = 0.80, найдем напряжение лавинного пробоя:
В.
Так как мы имеем дело с диффузионным p-n – переходом, распределение примеси в котором аппроксимируется экспонентой, то следует уточнить напряжение лавинного пробоя. Для этого сначала по формуле (1.2.9б) в первом приближении определим ширину области объемного заряда при напряжении лавинного пробоя:
мкм.
Далее, выбрав λ = 8 и сравнив l>B>> >с 5λ, из (1.2.8б) в первом приближении определим значение концентрации легирующей примеси в исходном кристалле:
см-3.
Имея значения параметров l>B>, λ и N>0> в первом приближении, по выражению (1.2.7) можно уточнить напряжение лавинного пробоя экспоненциального p—n-перехода.
В.
Определим расхождение значения напряжения лавинного пробоя полученного по (1.2.1) с тем же полученным по (1.2.7):

Учитывая то, что расхождение меньше 3%, то расчет на этом можно закончить и установить удельное сопротивление ρ исходного кристалла. По графику зависимости удельного сопротивления от концентрации легирующей примеси [2], находим, что для N>0 >= 5,691013 – ρ = 70 Омсм.
2.2 Расчет геометрических размеров слоев выпрямительного элемента
Расчет геометрических размеров слоев диффузионного выпрямительного элемента проведем, используя приближение экспоненциального перехода.
Из рисунка 1.2.1 видно, что слоями нашей конструкции выпрямительного элемента являются p+ n и n+ слои, для расчета которых необходимо определить x>j>, d>n> и x>jn>.
Глубину залегания p - n перехода x>j>> >можно рассчитать используя выражение (1.3.1) откуда:
мкм,
Примем x>j>
= 55мкм.
Тогда из (1.2.3) можно определить параметры диффузии Dt:
см-2.
Далее, для определения d>n>> >найдем расширение ООЗ в n-область по (1.3.2)
мкм.
Так как l>nB> много больше 150 мкм то расширение ООЗ в базу ограничим и примем:
мкм.
Для выпрямительных диодов x>jn> обычно составляет 30-50 мкм.
Выберем x>jn>= 40 мкм.
Теперь по (1.3.3) определим общую толщину выпрямительного элемента
W = x>j> + х>jn> + d>n> = 55 + 40 + 175 = 270 мкм.
2.3 Расчет диаметра выпрямительного элемента и выбор конструкции корпуса диода
Расчет диаметра выпрямительного элемента производится исходя из средней мощности прямых потерь в диоде и максимально возможной отводимой мощности, обеспечиваемой выбранной конструкцией корпуса диода. Для определения диаметра выпрямительного элемента по критерию (1.4.3) необходимо вычислить среднюю мощность прямых потерь в диоде по (1.4.4).
Прежде построим прямую ВАХ диода единичной площади. Для этого воспользуемся формулой (1.4.7), но следует определить сначала по (1.4.8) и (1.4.9) входящие в него компоненты (μ>P>(Si) = 470 см2 /(Вс), n>i>> >= 1,451010 см-3):
мкс.
см.
А/см2.
Задавшись плотностью прямого тока j>F> по (1.4.7) определим падение напряжения в прямом направлении V>F>. Полученные результаты занесем в таблицу.
Таблица – 2.3.1
|
j>F,А/см>2 |
10 |
50 |
100 |
150 |
200 |
250 |
300 |
350 |
400 |
450 |
500 |
550 |
600 |
650 |
700 |
750 |
800 |
850 |
900 |
950 |
1000 |
|
V>F>,В |
0,88 |
1,00 |
1,09 |
1,16 |
1,23 |
1,29 |
1,35 |
1,41 |
1,47 |
1,53 |
1,59 |
1,65 |
1,70 |
1,76 |
1,82 |
1,87 |
1,93 |
1,98 |
2,04 |
2,09 |
2,15 |
По данным таблицы строим ВАХ диода единичной площади приложение А.
Дальнейший расчет производится следующим образом: чтобы рассчитать мощность прямых потерь в диоде по (1.4.4) сначала необходимо определить активную площадь структуры по (1.4.5). Для определения площади зададимся стандартными значениями d>B>> >[1], угол фаски φ возьмем равным 40°. Рассчитав S>АКТ>, находим плотность тока j>F>> >через выпрямительный элемент при I = 2,5 I>FAV> по (1.4.6), далее по (1.4.7) определяем значение прямого падения напряжения для найденных значений j>F>. Далее по (1.4.4) рассчитываем выделяемую мощность потерь. Для определения отводимой мощности от выпрямительного элемента воспользуемся формулой (1.4.10). По таблице 4.1 для заданного U>RRM> = 2000 В находим T>jm>=175°C, T>c>=125°C. Значения R>thjc> для различных типов корпусов (возьмем таблеточную конструкцию, штыревую с паяными контактами и штыревую с прижимными контактами) приводятся в [1]. Вычислив значения S>АКТ>, j>F>> >, U>F>(2,5I>FAV>), P>ВЫД> и P>ОТВ> для каждого из принятых диаметров занесем все в таблицу.
Таблица 2.3.1
|
d>B>, см. |
S>акт>, см2. |
j>F>, А/см2. |
U>F>(2,5I>FAV>), В. |
P>выд>, Вт. |
P>отв>, Вт. |
||
|
паян. |
приж. |
табл. |
|||||
|
0,6 |
0,330 |
2652,2 |
4,67 |
1634,1 |
21,74 |
||
|
0,8 |
0,561 |
1549,0 |
3,19 |
1115,4 |
35,71 |
||
|
1,0 |
0,864 |
1014,3 |
2,46 |
861,06 |
41,67 |
||
|
1,3 |
1,434 |
613,17 |
1,91 |
666,83 |
71,43 |
125,00 |
|
|
1,6 |
2,139 |
410,28 |
1,62 |
565,92 |
125,0 |
151,52 |
|
|
1,8 |
2,685 |
326,29 |
1,49 |
523,01 |
192,31 |
||
|
2,0 |
3,293 |
265,68 |
1,40 |
491,31 |
227,27 |
454,55 |
|
|
2,4 |
4,710 |
185,96 |
1,28 |
448,04 |
312,50 |
625,00 |
|
|
3,4 |
9,336 |
93,741 |
1,12 |
393,03 |
500,00 |
909,09 |
|
|
4,0 |
12,87 |
68,014 |
1,07 |
375,33 |
1250,0 |
||
|
5,0 |
20,01 |
43,747 |
1,02 |
356,09 |
1666,6 |
||
|
5,6 |
25,04 |
34,942 |
0,99 |
347,95 |
2000,0 |
||
|
6,5 |
33,66 |
25,991 |
0,97 |
338,44 |
2500,0 |
||
|
8,0 |
50,85 |
17,210 |
0,93 |
326,88 |
3333,3 |
По данным таблицы 2.3.1 строим график зависимости выделяемой и отводимой мощности от диаметра выпрямительного элемента (Приложение В), по которому из условия (1.4.3) выбираем таблеточный корпус с d>B>> >= 24 мм. Для которого P>выд> =448 Вт а P>отв >= 312 Вт, следовательно условие (1.4.3) выполняется.
Так как найденное по графику значение d>B>=21мм, а выбранное нами d>B>> >= 24 мм то температуру корпуса диода, при которой устанавливается предельный ток, можно повысить до значения [3]:
°C
2.4 Проверка соответствия расчетных и заданных значений основных параметров диода и корректировка расчетов
Сначала проведем проверку по импульсному прямому падению напряжения U>FM>. Для нахождения U>FM> при выбранном d>B>> >= 24 мм рассчитываем активную площадь структуры по (1.4.5):
см2.
Затем определим максимальное значение плотности тока в прямом направлении по (1.5.1):
А/см2.
Далее по (1.4.7) находим U>FM> и сразу же учтем падение напряжения на омических контактах равное 0.05 В.

Полученное значение U>FM> = 1,4 В, что меньше заданного.
Теперь рассчитаем значение повторяющегося импульсного обратного тока I>RRM> по (1.5.2), где учтем только I>S>> >(1.5.3) и I>g> (1.5.7), но сначала рассчитаем входящие в них температурно-зависимые параметры при T>jm>> >= 175°C.
см-3.
мкс.

T>n>= T/300 = (175+273)/300 = 1,49.
см2/(Вс).
см2/с.
>
>
Так как структура нашего выпрямительного элемента p+- n то электронной составляющей в (1.5.3) можно пренебречь тогда:
А/см2.
Для определения тока термогенерации I>g> по (1.5.7) найдем сначала ширину области объемного заряда при повторяющемся импульсном обратном напряжении l(U>RRM>) по (1.5.8):
мкм.
Так как расширение области объемного заряда в базу ограничивается сильнолегированной n+ то после определения l следует вычислить распространение области объемного заряда в базовые области по (1.5.10)-(1.5.11):
мкм.
мкм.
И если так как l>n>=195,73 мкм при напряжении U>RRM> больше d>n>=175 мкм (см. рисунок 1.4.1), то ширину области объемного заряда следует найти по (1.5.12).
мкм.
Зная l(U>RRM>) рассчитаем j>g>:
А/см2.
После определения плотностей тока насыщения и генерационного тока рассчитаем повторяющийся импульсный обратный ток диода по (1/5.14), для чего рассчитаем площадь большего омического контакта по (1/5.15):
см2.
Тогда:
А/см2.
Найденное значение I>RRM> меньше заданного, следовательно, расчет верен.
ЗАКЛЮЧЕНИЕ
В данном курсовом проекте был рассчитан выпрямительный диффузионный диод со следующими параметрами:
повторяющееся импульсное обратное напряжение: U>RRM>> >= 2000 B,
максимально допустимый прямой ток: I>FAV>> >= 350 A,
обратный допустимый ток I>RRM>> >≤ 70 мА,
прямое падение напряжения U>FM> ≤ 1,5 В,
концентрация легирующей примеси в исходном кристалле N>d> = 5,68 1013,
удельное сопротивление исходного кристалла = 70 Омсм,
толщина структуры W = 270 мкм,
глубина залегания p - n-перехода x>j>> >= 55 мкм,
параметры диффузии Dt = 2,17 10-6 см-2,
диаметр выпрямительного элемента d>В >= 24 мм,
угол обратной фаски = 40°,
максимальная температура корпуса T>C> = 140°C.
Конструкция корпуса диода - таблеточная.
СПИСОК ИСПОЛЬЗОВАННЫХ ИСТОЧНИКОВ
1 Сережкин Ю. Н., Ионычев В. К. Проектирование полупроводниковых низкочастотных выпрямительных диодов: Учебн. пособие. – Саранск: Изд-во Мордов. ун-та, 2000. - 60 с.
2 Маллер Р., Кейменс Т. Элементы интегральных схем: Пер. с англ. – М.: Мир, 1989. – 630 с., ил.
3 Евсеев Ю. А., Дерменжи П. Г. Силовые полупроводниковые приборы: Учебник для техникумов. – М.: Энергоиздат, 1981. – 472с., ил.
Приложение А
(Обязательное)

Приложение Б
(Обязательное)

Приложение В
(Справочное)

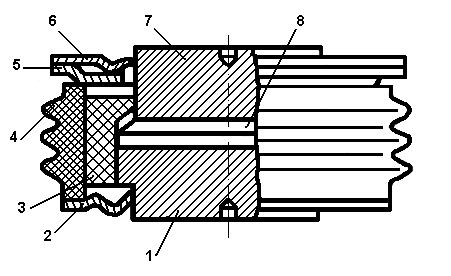
1, 7 – основания;
2, 5 – медные или кованые манжеты;
3 – изолятор;
4 – керамический корпус;
6 – гибкая кольцевая медная мембрана;
8 – выпрямительный элемент.
Приложение В
(Справочное)

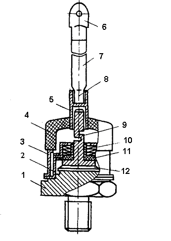
1- основание,
2- стальной стакан,
3- стальная манжета,
4- керамический изолятор,
5- медная трубка,
6- наконечник,
7- внешний вывод,
8- нижний конец внешнего вывода,
9- внутренний вывод,
10- тарельчатые пружины,
11- изолятор,
12- выпрямительный элемент.