Расчет и проектирование пассивных элементов колебательных систем
Белорусский государственный университет информатики и радиоэлектроники
Кафедра электронной техники и технологии
РЕФЕРАТ
На тему:
«Расчет и проектирование пассивных элементов
колебательных систем»
МИНСК
2008
Волноводы
Волноводы – стержни или трубки постоянного сечения, связывающие преобразователь с нагрузкой. В качестве нагрузки может быть концентратор, преобразователь колебаний, инструмент или технологическая среда. Волновод как согласующий элемент может быть включен в любое место этой цепочки.
Назначение:
Согласование механического сопротивления внешней нагрузки (инструмента, технологической среды) с внутренним сопротивлением активного элемента.
Крепление колебательной системы в технологической машине или другом устройстве.
Любой волновод характеризуется величиной затухания, добротностью, коэффициентом усиления, резонансной длиной и сдвигом фаз на резонансной частоте.
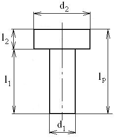
Волновод однородный

Рисунок 1 - Волновод однородный.
l>p> – резонансная длина волновода;
d>1> – диаметр волновода (при другом сечении размеры определяющие поперечную площадь волновода).
,
(1)
где с – скорость звука в материале волновода, м/с,
f>0> – резонансная частота излучателя, Гц,
n=1, 2, 3… - целое число.
Сдвиг
фаз:
.
Волновод с сосредоточенной на конце массой

Рисунок 2 – Волновод с сосредоточенной на конце массой
При
и
,

(2)
,
(3)
где φ – сдвиг фаз на торцах волновода;
k>0> – волновое число.
Волновод с сосредоточенной массой в любой точке

Рисунок 3 – Волновод с сосредоточенной массой в любой точке.
При
условии, что
и
,
где f>0> – резонансная частота колебательной системы;
f>p>– резонансная частота волновода.
(4)
Ввиду того, что механические потери в преобразователе (активном элементе) больше, чем в концентраторе, частоту концентратора выбирают ниже, а частоту пакета выше резонансной частоты колебательной системы.
Таблица 1 Добротности некоторых материалов на частоте f>0 >= 20,0 кГц.
|
Материал |
Ст45 |
Сталь 25НВА |
Сплав ВТ-1 |
Латунь Л59 |
Алюминий |
Медь |
|
Добротность, Q |
8000 |
6300 |
22000 |
13000 |
10000 |
6300 |
Концентраторы упругих колебаний
Концентраторы
упругих колебаний – служат для усиления
колебаний преобразователя (трансформаторы
скорости), для трансформирования
сопротивления механической нагрузки
(среды) до значения близкого к оптимальному
внутреннему сопротивлению активного
элемента
(трансформаторы сопротивлений, а также
для преобразования одного вида колебаний
в другой).
Поглощение энергии упругими средами описывается уравнением
,
(5)
где I>0> – подводимая энергия;
I – энергия на выходе устройства;
X – акустическая длина пути в устройств;
α>П> – коэффициент поглощения акустической энергии в среде.
Если энергия рассеивается в основном в виде тепла, то для некоторых материалов коэффициент поглощения акустической энергии можно оценить из таблица 2
Таблица 2 Коэффициент поглощения для некоторых материалов.
|
Материал |
Al |
Mg |
Fe |
Ст |
Cu |
|
α>П> |
0,015 |
0,067 |
0,18 |
0,2…0,6 |
1,1 |
Ограничения при проектировании концентраторов
Ввиду того, что потери акустической энергии в преобразователе больше, чем в пассивном элементе, частоту пассивного элемента выбирают ниже резонансной f = (0,8…0,9)f>0>, а частоту преобразователя выше резонансной f = (1,1…1,2)f>0>.
Максимально допустимые амплитуды смещения на торце концентратора, исходя из усталостной прочности, не должны превышать (в мм):
-
у ступенчатых
;
-
у конусного
;
-
каплевидного
;
σ>-1р> – усталостная прочность материала (кгс/мм2).
Для:
Ст. 10 160…220 МПа
Ст. 20 200…250 МПа
Ст. 45 250…340 МПа
40 Х 320…380 МПа
40 ХНМА 500…700 МПа
D 16 115…120 МПа
ВТ 3-1 480…500 МПа
Различают следующие основные типы концентраторов: ступенчатый, экспоненциальный, конусный, катеноидальный, каплевидный.
Ступенчатый концентратор

Рисунок 4 – Ступенчатый концентратор.
(6)
Преимущества:
Прост в расчете и изготовлении.
Обеспечивает большой коэффициент усиления.
Недостатки:
Низкая механическая прочность в местах перехода.
Острая чувствительность к нагрузке.
Экспоненциальный концентратор

Рисунок 5 – Экспоненциальный концентратор.

(7)
Преимущества:
Обеспечивает высокий коэффициент усиления.
Устойчив к нагрузке.
хорошо просчитывается.
Недостатки:
Сложен в изготовлении.
Конусный концентратор

Рисунок 6 – Конусный концентратор.
(8)
Преимущества:
Устойчив в работе.
Прост в изготовлении.
Недостатки:
1. Коэффициент усиления меньше чем у двух первых.
Катеноидальный концентратор

Рисунок 7 – Катеноидальный концентратор.
,(9)
где v – наименьший положительный корень уравнения,
.
Каплевидный концентратор

Рисунок 8 – Каплевидный концентратор.
Состоит из трех частей. Участки 1 и 3 представляют собой части обычного ступенчатого концентратора. На участке 2 механическое напряжение максимальное и постоянное по величине.
(10)
Преимущества:
Высокий коэффициент усиления.
Простой расчет.
Устойчив в работе.
Высокая равномерность механических напряжений.
Недостатки:
Относительно сложный в изготовлении.
ЛИТЕРАТУРА
Проектирования радиоэлектронных средств: Учеб. пособие для вузов /О.В.Алексеев, А.А.Головков, И.Ю.Пивоваров и др.; Под ред. О.В.Алексеева. – М.: Высш. шк., 2000. – 479 с.
Технология радиоэлектронных устройств и автоматизация производства: Учебник/ А.П. Достанко, В.Л.Ланин, А.А. Хмыль, Л.П. Ануфриев; Под общ. ред. А.П. Достанко. – Мн.: Выш. шк., 2002
Справочник конструктора РЭА: Общие принципы конструирования/ Под ред. Р.Г. Варламова. - М.: Радио, 2000.