Рентгеновский спиральный компьютерный томограф Siemens Somatom Emotion
Министерство образования и науки Украины
Харьковский национальный университет радиоэлектроники
Кафедра БМЭ
Отчет по производственной практике
на тему:
«Рентгеновский спиральный компьютерный томограф SIEMENS SOMATOM Emotion»
Харьков 2009
Реферат
Отчет содержит 28 страниц, 10 рисунков, 5 источников.
Отчет построен на базе анализа литературы по компьютерным томографическим методам исследования, инструкции по эксплуатации рентгеновского спирального компьютерного томографа SIEMENS SOMATOM Emotion.
КОМПЬЮТЕРНАЯ ТОМОГРАФИЯ, СКАНИРОВАНИЕ, РЕНТГЕНОВСКАЯ ТРУБКА, ЯЧЕИСТЫЙ ИЗЛУЧАТЕЛЬ
Введение
Мировые тенденции в области медицинского приборостроения в последние годы претерпели значительные изменения. В основном это вызвано необходимостью повышения качества диагностики, что приводит как к созданию новых высокоинформативных диагностических приборов, так и к совершенствованию традиционных технологий.
Современный уровень медицинской техники позволяет выявить структурные и функциональные изменения одного и того же органа с помощью устройств, имеющих различный принцип действия, при этом достоверность полученных данных будет сопоставима. В подобных условиях на первое место выходит информационная составляющая исследований.
На данном этапе одним
наиболее информативным методом является
томография, дающая намного больше
информации о каждом элементарном объеме
исследуемого объекта, чем другие
известные методы диагностики. Термин
«томография» произошел от двух греческих
слов:
-
сечение и
– пишу и означает послойное исследование
структуры различных объектов. Существует
несколько видов томографии: рентгеновская,
электронно-лучевая, магнитно-резонансная,
позитронно-эмиссионая, ультразвуковая,
оптическая когерентная томография и
др. Но суть всех видов томографии едина:
по суммарной информации (например,
интенсивности на детекторах или
интенсивности эхо-сигнала), полученной
от некоторого сечения вещества, нужно
определить локальную информацию, а
именно плотность вещества в каждой
точке сечения. Информативность и
достоверность каждого из них зависит
от целого ряда факторов, определяющих
конечный результат исследования, в том
числе и от принципа действия устройства.
1. История возникновения и развития компьютерной томографии
Первые математические алгоритмы для КТ были разработаны в 1917 г. австрийским математиком И. Радоном. Физической основой метода является экспоненциальный закон ослабления излучения, который справедлив для чисто поглощающих сред. В рентгеновском диапазоне излучения экспоненциальный закон выполняется с высокой степенью точности, поэтому разработанные математические алгоритмы были впервые применены именно для рентгеновской компьютерной томографии.
В 1963 г. американский физик А. Кормак повторно (но отличным от Радона способом) решил задачу томографического восстановления, а в 1969 году английский инженер-физик Г. Хаунсфилд из фирмы EMI Ltd. сконструировал «ЭМИ-сканер» (EMI-scanner) – первый компьютерный рентгеновский томограф, чьи клинические испытания прошли в 1972 году. В 1979 году Кормак и Хаунсфилд «за разработку компьютерной томографии» были удостоены Нобелевской премии по физиологии и медицине.
Разумеется, современные способы получения послойных изображений имеют несравнимые преимущества:
Отсутствие травм, позволяющее прижизненную диагностику заболеваний;
Возможность аппаратной реконструкции однократно полученных изображений в различных анатомических плоскостях (проекциях), а также трёхмерной реконструкции;
Возможность не только оценивать размеры и взаиморасположение органов, но и детально изучать их структурные особенности и даже некоторые физиологические характеристики, основываясь на показателях рентгеновской плотности и их изменении при внутривенном контрастном усилении.
Преимуществами КТ по сравнению с традиционной рентгенографией стали:
– отсутствие теневых наложений на изображении;
– более высокая точность измерения геометрических соотношений;
– чувствительность на порядок выше, чем при обычной рентгенографии.
Первая вполне качественная томограмма головного мозга человека получена в 1972 году (рис. 1) [2].


Рисунок 1 – Первый КТ сканер и первая томограмма головного мозга
Конструкция компьютерного томографа за годы его существования претерпела значительные изменения. Прогресс КТ томографов напрямую связан с увеличением количества детекторов, то есть с увеличением числа одновременно собираемых проекций.
В целом можно выделить пять поколений КТ-сканеров. В томографах первого поколения, появившихся в 1973 г., имелась одна направленная рентгеновская трубка и один детектор, которые синхронно передвигались вдоль рамы (рис. 2а). Измерения проводились в 160 положениях трубки, затем рама поворачивалась на угол 10 и измерения повторялись. Сами измерения длились около 4,5 минут, а обработка полученных данных и реконструкция изображения на специальном компьютере занимали 2,5 часа.

Рисунок 2 – Схематическое изображение рентгеновских томографов
Томографы второго поколения имели уже несколько детекторов, работающих одновременно, а трубка излучала не остронаправленный, а веерный пучок. Также как и томограф 1 поколения он использовал параллельное сканирование, но угол поворота трубки увеличился до 300. Общее время измерений, необходимых для получения одного изображения, значительно сократилось и составляло 20 секунд. Типичным для данной схемы сканирования является то, что она основана на учете только первичных фотонов источника.
В томографах 3 поколения трубка излучала широкий веерный пучок лучей, направленный на множество детекторов (около 700), расположенных по дуге. Усовершенствованная конструкция сделала возможным непрерывное вращение трубки и детекторов на 3600 по часовой стрелке за счет использования кольца скольжения при подведении напряжения. Это позволило устранить стадию перемещения трубки и сократить время, необходимое для получения одного изображения до 10 секунд. Такие томографы позволили проводить исследования движущихся частей тела (легких и брюшной полости) и сделали возможным разработку спирального алгоритма сбора данных. Третье поколение компьютерных томографов ввело понятие спиральной компьютерной томографии.
В томографах 4 поколения имелось сплошное неподвижное кольцо детекторов (1088 люминесцентных датчиков) и излучающая веерный пучок лучей рентгеновская трубка, вращающаяся вокруг пациента внутри кольца. Время сканирования для каждой проекции сократилось до 0,7 секунд, а качество изображения улучшилось. В данных томографах необходимо учитывать влияние эффекта рассеяния при переносе излучения, которое в зависимости от используемой энергии источника может быть рэлеевским или комптоновским.
Электронно-лучевые томографы – томографы 5 поколения. В них поток электронов создается неподвижной электронно-лучевой пушкой, расположенной за томографом. Проходя сквозь вакуум, поток фокусируется и направляется электромагнитными катушками на вольфрамовую мишень в виде дуги окружности (около 2100), расположенную под столом пациента. Мишени расположены в четыре ряда, имеют большую массу и охлаждаются проточной водой, что решает проблемы теплоотвода. Напротив мишеней расположена неподвижная система быстродействующих твердотельных детекторов, расположенных в форме дуги 2160. Данные томографы используются при исследованиях сердца, т.к. позволяют получать изображение за 33 миллисекунды со скоростью 30 кадров / секунду, а число срезов не ограничено теплоемкостью трубки. Такие изображения не содержат артефактов от пульсации сердца, но имеют более низкое соотношение сигнал/шум [4].
2. Физико-технические основы компьютерной томографии
2.1 Конфигурация компьютерного томографа
В состав любого КТ – сканера входят следующие основные блоки [2]:
1. Гентри со столом пациента и блоками управления;
2. Высоковольтный генератор;
3. Вычислительная система;
4. Консоль оператора.
Внутри гентри (рис. 3) расположены блоки, обеспечивающие сбор данных: рентгеновская трубка и коллиматоры, детекторы и система сбора данных, контроллер трубки (контроллер движения ротора), генератор высоких частот, встроенный микрокомпьютер (регулирующий напряжение и ток на трубке), компьютер, обеспечивающий обмен данными с консолью.

Рисунок 3 – Гентри КТ-сканера: 1 – трубка и коллиматоры, 2 – детекторы, 3 – контроллер трубки, 4 – ВЧ генератор, 5 – встроенный микрокомпьютер, 6 – стационарный компьютер
Рентгеновское излучение создается рентгеновской трубкой, схема которой представлена на рис. 4. Источником электронов (катодом) служит вольфрамовая нить, нагреваемая током, под действием которого электроны «выкипают» с его поверхности. Затем они ускоряются разностью потенциалов в несколько десятков тысяч вольт и фокусируются на анод, сделанный из тугоплавкого материала с высоким атомным номером (например, вольфрама). При торможении быстрых электронов веществом анода (взаимодействии с его атомами) возникают электромагнитные волны в диапазоне длин волн от 10-14 до 10-17 м, называемые рентгеновским излучением, открытым в 1895 году немецким физиком Конрадом Вильгельмом Рентгеном. Выход рентгеновского излучения растет с атомным номером мишени. При этом 99% энергии электронов рассеивается в тепло, и лишь 1% освобождается в форме квантов.

Рисунок 4 – Схема рентгеновской трубки: 1 – пучок электронов; 2 – катод с фокусирующим электродом; 3 – стеклянный корпус; 4 – вольфрамовая мишень (антикатод); 5 – нить накала катода; 6 – реально облучаемая площадь; 7 – эффективное фокальное пятно; 8 – медный анод; 9 – окно; 10 – рассеянное рентгеновское излучение.
Современные рентгеновские трубки состоят из трех основных частей: стеклянного корпуса, обеспечивающего вакуум вокруг частей трубки, катода и анода. Анод должен быть сделан из материала, способного противостоять высоким температурам и имеющего высокий атомный номер (молибден, рений, вольфрам). В зависимости от способа охлаждения анода рентгеновские трубки бывают двух видов: со стационарным или с вращающимся анодом.
Трубки со стационарным анодом использовались в первых сканерах; в них анод охлаждался маслом. Их недостатком было большое фокальное пятно, что давало высокое облучение пациента и низкое разрешение изображения.
Трубки с вращающимся анодом имеют малое фокальное пятно и большее разрешение и могут создавать пульсирующий или непрерывный пучок лучей. Анод в них вращается со скоростью 3600–10000 об/мин и охлаждается воздухом.
Рентгеновские трубки в современных КТ-системах имеют мощность 20–60 кВт при напряжении 80–140 кВ. При максимальных значениях мощности во избежание перегрева трубки такие системы могут работать ограниченное время; эти ограничения определяются свойствами анода и генератора. Современные системы с несколькими рядами детекторов и эффективным использованием ресурса трубки практически сняли эти ограничения. Сила тока на трубке также может устанавливаться в пределах от 10 мА до 440 мА, что позволяет добиться оптимального соотношения между качеством изображения (уровнем шума) и дозой облучения пациента.
В компьютерном томографе рентгеновская трубка совместно с системой коллимирования создает узкий веерообразный пучок лучей, угол расхождения которого составляет 300 – 500. Ослабление рентгеновского луча при прохождении через объект регистрируется детекторами, преобразующими регистрируемое рентгеновское излучение в электрические сигналы. Затем эти аналоговые сигналы усиливаются электронными модулями и преобразуются в цифровые импульсы. Некоторые материалы оказываются очень эффективными для преобразования рентгеновского излучения. Например, Siemens использует UFC–детекторы (сверхбыстрые керамические детекторы), которые благодаря хорошим свойствам материала дают превосходное качество изображения. Чаще в КТ используются два типа детекторов – люминесцентные и газовые.
В люминесцентных детекторах используются люминесцентные кристаллы соединенные с трубкой фотоумножителя для преобразования вспышек света в электроны. Количество произведенного света прямо пропорционально энергии поглощенных лучей. Такие детекторы использовались в сканерах 1 и 2 поколений. Их недостатками являются невозможность близкого расположения друг к другу и эффект послесвечения.
Газовый детектор представляет собой камеру ионизации, заполненную ксеноном или криптоном. Ионизированный газ, пропорциональный излучению, падающему на камеру, вызывает соединение электронов с вольфрамовыми пластинами, создающим электронные сигналы. Пластны расположены на расстоянии 1,5 мм друг от друга. Газовые детекторы были разработаны для сканеров 3 поколения и дают высокое разрешение и чувствительность. Их эффективность близка к 100%, поскольку они могут быть расположены близко друг к другу.
Основными параметрами детекторов, используемых в КТ, являются:
– эффективность – характеристика, отражающая способность детекторов обнаруживать фотоны (эффективность фиксирования характеризует способность детектора получать фотоны и зависит от размера детектора и расстояния между ними; эффективность преобразования характеризует процент фотонов, падающих на детектор и вызывающих сигнал в нём);
– стабильность – качественная характеристика, отражающая динамическую устойчивость детекторов;
– время ответа (мкс) – время, затрачиваемое на обнаружение события, восстановление детектора и обнаружение следующего события;
– динамический диапазон – отношение наибольшего сигнала, способного быть измеренным, к наименьшему сигналу, способному быть измеренным.
В современных томографах внутренняя схема коммутации на полевых транзисторах позволяет динамически выбирать режим работы детекторов.
Форма пучку рентгеновских лучей придается с помощью специальных диафрагм, называемых коллиматорами, которые бывают двух видов. Коллиматоры источника расположены непосредственно перед источником излучения (рентгеновская трубка); они создают пучок более параллельных лучей и позволяют снизить дозу воздействия на пациента.
Коллиматоры детекторов расположены непосредственно перед детекторами и служат для снижения излучения рассеивания и сокращения артефактов изображений. Эти коллиматоры служат для определения толщины среза (ограничения области, рассматриваемой датчиками) и качества профиля среза.
Фильтры обеспечивают равномерное распределение фотонов поперек рентгеновского луча и уменьшают суммарную дозу облучения, удаляя более мягкое излучение. Обычно они сделаны из алюминия, графита или тефлона.
Консоль управления столом пациента и гентри используется для контроля горизонтального и вертикального движения стола, позиционирования пациента, наклона гентри относительно вертикальной оси сканера.
Высоковольтный трехфазный генератор обеспечивает всю систему необходимой электроэнергией, позволяя корректировать методику исследования уменьшая дозу пациента и сохраняя необходимую мощность.
Компьютер осуществляет реконструкцию изображения, решая более 30 000 уравнений одновременно. В современных томографах программное обеспечение для обработки изображений во многом определяет их клиническую производительность и информативность регистрируемых данных и составляет 1/3 общей стоимости сканера. Компьютер получает сигнал в аналоговой форме и преобразовывает его в двоичный код, используя аналогово-цифровой преобразователь. Цифровой сигнал хранится в течении сканирования, что позволяет после его окончания реконструировать изображение в заданной плоскости.
2.2 Режимы сканирования
Существует два способа сбора данных в компьютерной томографии: пошаговое и спиральное сканирование.
Самым простым способом сбора данных является пошаговая КТ, для которого можно выделить две основные стадии: накопление данных и позиционирование пациента (рис. 5). На стадии накопления данных (1 с или менее) пациент остается неподвижным и рентгеновская трубка вращается относительно пациента для накопления полного набора проекций в предварительно определенном месте сканирования. На стадии позиционирования пациента (более 1 с) данные не накапливаются, а пациент перемещается в следующее положение сбора данных. Изображение реконструируют по полному набору данных.

Рисунок 5 – Схема обследования при пошаговом сканировании: 1 – сбор данных; 2 – движение стола; 3 – команда задержки дыхания; 4 – сбор данных; 5 – команда нормального дыхания; 6 – движение стола; 7 – реконструкция изображения
Движение пациента во время сбора данных при различных положениях трубки вызывает артефакты изображений и ограничивает области диагностического применения.
Более сложным является винтовое (спиральное) сканирование, которое стало возможным благодаря появлению конструкции гентри с кольцом скольжения, позволяющим трубке и детекторам вращаться непрерывно.
Достоинство спиральной КТ заключается в непрерывном накоплении данных, осуществляемом одновременно с движением пациента через раму (рис. 6). Расстояние перемещения пациента за оборот рамы соответствует скорости движения стола. Поскольку данные накапливаются непрерывно, рабочий цикл в спиральной КТ близок к 100%, а отображение изображаемого объема происходит быстрее. Обычно при реконструкции изображений в спиральной КТ используются алгоритмы интерполяции, которые позволяют выделить из общего набора данные, необходимые для построения изображения отдельного среза при каждом положении стола.

Рисунок 6 – Схема спирального сканирования
2.3 Получение компьютерной томограммы
Получение компьютерной томограммы (среза) на выбранном уровне основывается на выполнении следующих операций: 1) формирование требуемой ширины рентгеновского луча (коллимирование); 2) сканирование пучком рентгеновского излучения, осуществляемого движением (вращательным и поступательным) вокруг неподвижного объекта устройства «излучатель – детекторы»; 3) измерение излучения и определение его ослабления с последующим преобразованием результатов в цифровую форму; 4) машинный (компьютерный) синтез томограммы по совокупности данных измерения, относящихся к выбранному слою; 5) построение изображения исследуемого слоя на экране видеомонитора (дисплея). Пример рентгеновской компьютерной томограммы на рис. 9.

Рисунок 7 – Компьютерная томография верхнечелюстных пазух. Сверхкомплектный зуб в левой гайморовой пазухе.
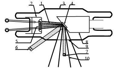
Строго коллимированный пучок рентгеновского излучения проходит только через ту плоскость, которая интересует врача (рис. 10). При этом регистрация рассеянного излучения сведена к минимуму, что значительно улучшает визуализацию тканей, особенно мало контрастных. Снижение регистрации рассеянного излучения при компьютерной томографии осуществляется коллиматорами, один из которых расположен на выходе рентгеновского пучка из трубки, другой – перед сборкой детекторов.

Рисунок 8 – Схема рентгеновской компьютерной томографии.
1 – излучатель; 2 – круговой ячеистый детектор; 3 – компьютер; 4 – система получения изображения.
Известно, что при одинаковой энергии рентгеновского излучения материал с большей относительной молекулярной массой будет поглощать рентгеновское излучение в большей степени, чем вещество с меньшей относительной молекулярной массой. Подобное ослабление рентгеновского пучка может быть легко зафиксировано. Однако на практике мы имеем дело с совершенно неоднородным объектом – телом человека. Поэтому часто случается, что детекторы фиксируют несколько рентгеновских пучков одинаковой интенсивности в то время, как они прошли через совершенно различные среды. Это наблюдается, например, при прохождении через однородный объект достаточной протяженности и неоднородный объект с такой же суммарной плотностью. При вращении рентгеновской трубки вокруг тела пациента детекторы регистрируют 1,5–6 млн. сигналов из различных точек (проекций) и, что особенно важно, каждая точка многократно проецируется на различные окружающие точки. При регистрации ослабленного рентгеновского излучения на каждом детекторе возбуждается ток, соответствующий величине излучения, попадающего на детектор. В системе сбора данных ток от каждого детектора преобразуется в цифровой сигнал и после усиления подается в ЭВМ для обработки и хранения. Только после этого начинается собственно процесс восстановления изображения.
Восстановление изображения среза по сумме собранных проекций является чрезвычайно сложным процессом, и конечный результат представляет собой некую матрицу с относительными числами, соответствующую уровню поглощения каждой точки в отдельности.
В компьютерных томографах применяются матрицы первичного изображения 256х256, 320х320, 512х512 и 1024х1024 элементов. Качество изображения растет при увеличении числа детекторов, увеличении количества регистрируемых проекций за один оборот трубки и при увеличении первичной матрицы. Увеличение количества регистрируемых проекций ведет к повышению лучевой нагрузки, применение большей первичной матрицы – к увеличению времени обработки среза или необходимости устанавливать дополнительные специальные процессоры видеоизображения. За одно сканирование получают два соприкасающихся между собой среза толщиной 10 мм каждый. Картина среза восстанавливается на матрице размером 160х160. Полученные коэффициенты поглощения выражают в относительных единицах шкалы, нижняя граница которой (-1000 ед. Н.) (ед. Н. – единицы Хаунсфильда или числа компьютерной томографии) соответствует ослаблению рентгеновских лучей в воздухе, верхняя (+1000 ед. Н.) – ослаблению в костях, а за ноль принимается коэффициент поглощения воды. Различные ткани мозга и жидкие среды имеют разные по величине коэффициенты поглощения. Например, коэффициент поглощения жира находится в пределах от -100 до 0 ед. Н., спинно-мозговой жидкости – от 2 до 16 ед. Н., крови – от 28 до 62 ед. Н. Это обеспечивает возможность получать на компьютерных томограммах основные структуры органов и многие патологические процессы в них. Чувствительность системы в улавливании перепада рентгеновской плотности в обычном режиме исследования не превышает 5 ед. Н., что составляет 0,5%. На экране дисплея высоким значениям плотности (например, кости) соответствует светлые участки, низким – темные. Градационная способность экрана составляет 15–16 полутоновых ступеней, различаемые человеческим глазом. На каждую ступень, таким образом, приходится около 130 ед. Н.
Известно, что качество визуализации анатомических образований и очагов поражения зависит в основном от двух факторов: размера матрицы, на которой строится томограмма, и перепада показателей поглощения. Величина матрицы может оказывать существенное влияние на точность диагностики. Так, количество ошибочных диагнозов при анализе томограмм на матрице 80х80 клеток составляло 27%, а при работе на матрице 160х160 – уменьшилось до 11%.
Компьютерный томограф обладает двумя видами разрешающей способности: пространственной и по перепаду плотности. Первый тип определяется размером клетки матрицы (обычно – 1,5х1,5 мм), второй равен 5 ед. Н. (0,5%). Обычная рентгенография позволяет уловить минимальную разницу по плотности между соседними участками в 10–20%. Однако при очень значительном перепаде плотностей рядом расположенных структур возникают специфические для данного метода условия, снижающие его разрешающую способность, так как при построении изображения в этих случаях происходит математическое усреднение и при этом очаги небольших размеров могут быть не обнаружены. Чаще это происходит при небольших зонах пониженной плотности, расположенных вблизи массивных костных структур (пирамиды височных костей) или костей свода черепа. Важным условием для обеспечения проведения компьютерной томографии является неподвижное положение пациента, ибо движение во время исследования приводят к возникновению артефактов – наводок: полос темного цвета от образований с низким коэффициентом поглощения (воздух) и белых полос от структур с высоким КП (кость, металлические хирургические клипсы), что также снижает диагностические возможности.
3. Спиральная компьютерная томография
Спиральная КТ используется в клинической практике с 1988 года, когда компания Siemens Medical Systems представила первый спиральный компьютерный томограф. Спиральное сканирование заключается в одновременном выполнении двух действий: непрерывного вращения источника – рентгеновской трубки, генерирующей излучение, вокруг тела пациента, и непрерывного поступательного движения стола с пациентом вдоль продольной оси сканирования z через апертуру гантри. В этом случае траектория движения рентгеновской трубки, относительно оси z – направления движения стола с телом пациента, примет форму спирали.
В отличие от последовательной КТ скорость движения стола с телом пациента может принимать произвольные значения, определяемые целями исследования. Чем выше скорость движения стола, тем больше протяженность области сканирования. Важно то, что скорость движения стола может быть в 1,5–2 раза больше толщины томографического слоя без ухудшения пространственного разрешения изображения.
Технология спирального сканирования позволила значительно сократить время, затрачиваемое на КТ-исследование и существенно уменьшить лучевую нагрузку на пациента.
Компьютерная томография широко используется в медицине для нескольких целей:
Как скрининговый тест. Скрининг (screening) – просмотр, отбор, в медицине используется для исключения потенциально серьезного диагноза в группах риска.
Компьютерная томография часто используется, как скрининг при следующих состояниях:
Головная боль
Травма головы, не сопровождающаяся потерей сознания
Обморок
Исключение рака легких. В случае использования компьютерной томографии для скрининга, исследование делается в плановом порядке.
Для диагностики по экстренным показаниям – экстренная компьютерная томография
Тяжелые травмы
Подозрение на кровоизлияние в мозг
Подозрение на повреждение сосуда (например, расслаивающая аневризма аорты)
Подозрение на некоторые другие острые повреждения полых и паренхиматозных органов (осложнения, как основного заболевания, так и в результате проводимого лечения)
Компьютерная томография для плановой диагностики
Большинство КТ исследований делается в плановом порядке, по направлению врача, для окончательного подтверждения диагноза. Как правило, перед проведением компьютерной томографии, делаются более простые исследования – рентген, УЗИ, анализы.
Для контроля результатов лечения.
Для проведения лечебных и диагностических манипуляций, например пункция под контролем компьютерной томографии и др.
3.1 Спиральный компьютерный томограф Emotion (Siemens)
Все томографы фирмы SIEMENS объединяет единый интерфейс пользователя – syngo. Помимо стандартных закладок Examination, Viewing, Filming имеется закладка 3D с возможностями осуществлений MPR – (в реальном времени) и MIP-реконструкций.
Программно и технически (в комплект поставки вошел автоматический инъектор Medrad CT Tripak CTP-200-FLS) реализованы возможности КТ-ангиографии. Имеется опциональная программа Pulmo CT для исследования легочной эмфиземы.

Рисунок 9 – Интерфейс пользователя
Печать изображений на пленку осуществляется с помощью термопринтера Agfa Drystar 3000. Эта модель обрабатывает пленку по сухому процессу (без растворов) и весьма неприхотлива в эксплуатации, что можно сказать исходя из годового опыта ее использования в НИИ онкологии в Минске.
Современный спиральный компьютерный томограф с длительностью спирали до 100 сек, пространственным разрешением до 0,32 мм и обеспечением отличного диагностического качества изображения (специфицированного низкоконтрастного и высококонтрастного разрешения). Двойной ряд датчиков позволяет за одно сканирование получать два среза, что значительно убыстряет время исследования. Поставляется в двух возможных вариантах: с минимальной длительностью полного 360° скана 1 сек. или 0,8 сек. Предоставляет удобство работы, эргономичность, комфорт как для пациента, так и для персонала (толщина гентри всего 56 см, интегрированный в гентри индикатор контроля за задержкой дыхания, лазерные маркеры для позиционирования пациента, встроенный в гентри монитор основных параметров сканирования) и включет в полном объеме низкодозные Сименс-технологии (UFC детектор, CARE Filter, CARE Dose, CARE Vision с HandCARE, SoftSCAN, Pediatric SCAN, Preventive CARE и пр.). Обеспечивает безопасность проведения обследований для пациента как с точки зрения минимизации лучевой нагрузки, так и с точки зрения эффективности используемых режимов сканирования.
Среди многочисленных достоинств и преимуществ компьютерных томографов:
– быстрота исследования,
– трехмерные изображения,
– точность исследования,
– безопасность и комфорт.
Доза лучевой нагрузки на этих томографах равна дозе лучевой нагрузки, получаемой человеком за 1 час пребывания на пляже.
Компьютерные томографы исследуют:
– все внутренние органы;
– позвоночник;
– кости конечностей и черепа;
– суставы;
– головной мозг.
Простота и интуитивность проведения обследования обеспечивается syngo ультимодальной программной платформой и уникально удобным пользовательским интерфейсом. Безопасность инвестиций и четкое представление о перспективах развития гарантируется непрерывным обновлением (syngoEVOLVE) программных и компьютерных модулей (при стандартной поставке – в течение 5 лет), а также возможностью модернизации сканера (Evolve программа) до более высоких технологий компьютерной томографии (меньшая длительность скана, большая длина спирали и мультисрезовая технология).
Оснащен мощными средствами трехмерной постобработки изображений. Имеет широкий набор программных и программно-аппаратных клинических пакетов для решения разнообразных диагностических задач. Позволяет проводить скрининговые обследования, виртуальную эндоскопию, перфузию, интервенции под контролем КТ, метрический анализ васкулярных структур и многое другое.
Прост в установке (требуемая площадь 18,5 м2) и экономичен в эксплуатации (потребляемая мощность 48 кВт, не требуется система водяного охлаждения и кондиционирование помещения).
Для повышения пропускной способности КТ подразделения может оснащаться второй консолью Wizard и / или мультимодальной рабочей станцией Leonardo.

Рисунок 10 – Томограф SOMATOM Emotion
4. Охрана труда
4.1 Общие положения
1. К работе по эксплуатации рентгеновского компьютерного томографа (далее КТ) допускаются лица не менее 18 лет, которые имеют профессиональное образование, прошли вставной инструктаж и ежегодное диспансерное медицинское обследование.
2. Техническое обслуживание КТ (профилактические, регламентные и ремонтные работы) совершается техническим персоналом, что имеет право на обслуживание КТ.
3. Аппаратура, что входит в комплекс КТ, должна содержаться в чистоте и работоспособном состоянии.
4. Не допускается загромождение помещений КТ аппаратурой и мебелью, которые не используются в работе.
5. Посторонние лица могут находиться в помещении КТ только в присутствии обслуживающего персонала.
6. Персоналу КТ проводится индивидуальный дозиметрический контроль. Работа без персональных дозиметров запрещена.
4.2 Требования безопасности перед началом работы
1. Перед включением аппарата убедиться в отсутствии людей в процедурной.
2. Влажную уборку помещений делать при выключенном КТ.
3. Перед эксплуатацией убедится в подключении действующей установки к контуру, который заземляет.
4. Не допускается использование неисправных розеток.
5. Не допускается эксплуатация томографа без включенной вентиляции помещения.
4.3 Требования безопасности во время выполнения работы
1. При необходимости присутствия возле пациента в процессе гомографического обследования сопроводительный должен одеть защитный фартук из просвинцевой резины.
2. Пациент при каждом прохождении гомографического обследования должен быть укрытым защитным фартуком из просвинцевой резины.
3. При проведении томографических обследований возле пультовой КТ могут находиться только задействованные в них лица.
4. Запрещается находиться в помещении, где находится рентгеновский излучатель при включенном высоком напряжении.
4.4 Требования безопасности после окончания работы
1. Обслуживающему персоналу запрещается оставлять включенным КТ без присмотра или поручать присмотр лицам, которые не имеют на это право.
2. Влажную уборку помещений делать при выключенном КТ.
4.5 Требования безопасности в аварийных ситуациях
1. При аварии томографа или пожаре электропитания томографа должно быть отключено путем нажатия любой из четырех кнопок Stop
На правой или левой сторонах контрольной панели «гентри»
На консоле оператора
Вверху справа на X-Ray панели
Срочно привести к сведению заведующего отделения, главного врача больницы и службу техники безопасности;
При возникновении пожара необходимо вызвать пожарную команду, а до ее прибытия приступить к ликвидации пожара силами сотрудников отделения;
С появлением запаха жженой резины или тлеющей изоляции, персонал КТ должен срочно вызвать электромонтера;
При аварии с повреждением электрическим током потерпевшим должна быть оказана срочная помощь.
4.6 Вредные и опасные производственные факторы
В соответствии с ГОСТ 12.1.003–74 ССБТ «Опасные и вредные производственные факторы. Классификация» различают следующие вредные и опасные производственные факторы:
Физически опасные и вредные производственные факторы:
повышенная или сниженная температура воздуха рабочей зоны;
повышенная или сниженная влажность воздуха;
отсутствие или недостаток природного освещения;
недостаточная освещенность рабочей зоны;
повышенный уровень статического электричества;
повышенная яркость света;
пониженная контрастность;
2. Психофизиологические опасные и вредные факторы:
физическая перегрузка;
нервно-психические перегрузки (умственные, эмоциональные, монотонность труда).
Выводы
Томография широко применяется в медицине, биологии, дефектоскопии, геофизике, а также интенсивно развивается применение томографических методов в химии при создании и исследовании сверхчистых веществ.
Современный спиральный компьютерный томограф с длительностью спирали до 100 сек, пространственным разрешением до 0,32 мм и обеспечением отличного диагностического качества изображения (специфицированного низкоконтрастного и высококонтрастного разрешения). Двойной ряд датчиков позволяет за одно сканирование получать два среза, что значительно убыстряет время исследования.
Недавно появившаяся новая концепция сканирования, названная спиральной КТ, значительно увеличила эффективность в плане скорости исследования выбранной анатомической области.
Список литературы
1. Марусина М.Я., Казначеева А.О. Современные виды томографии. Учебное пособие. – СПб: СПбГУ ИТМО, 2006. – 132 с.
2. Computed tomography. Its history and technology. Siemens medical. www.siemensmedical.com
3. Barrett J.F., Keat N. Artifacts in CT: Recognition and Avoidance. Radio Graphics, 2004, vol. 24, pp. 1679–1691.
4. Иванов В.А., Суворов А.С., Полонский Ю.З., Трофимова Т.Н. Методы лучевой диагностики и информационные технологии в клинической практике: компьютерная томография и информационные технологии // СПб.: МАПО, 2001. С. 23.
5. Dawson P., Lees W.R. Multi-slice technology in computed tomography.