Типовые технологические и гибкие производственные модули гибких производственных систем (ГПС) сборки и монтажа
Типовые технологические и гибкие производственные модули ГИБКИХ ПРОИЗВОДСТВЕННЫХ СИСТЕМ (гпс) сборки и монтажа
Типовые технологические модули
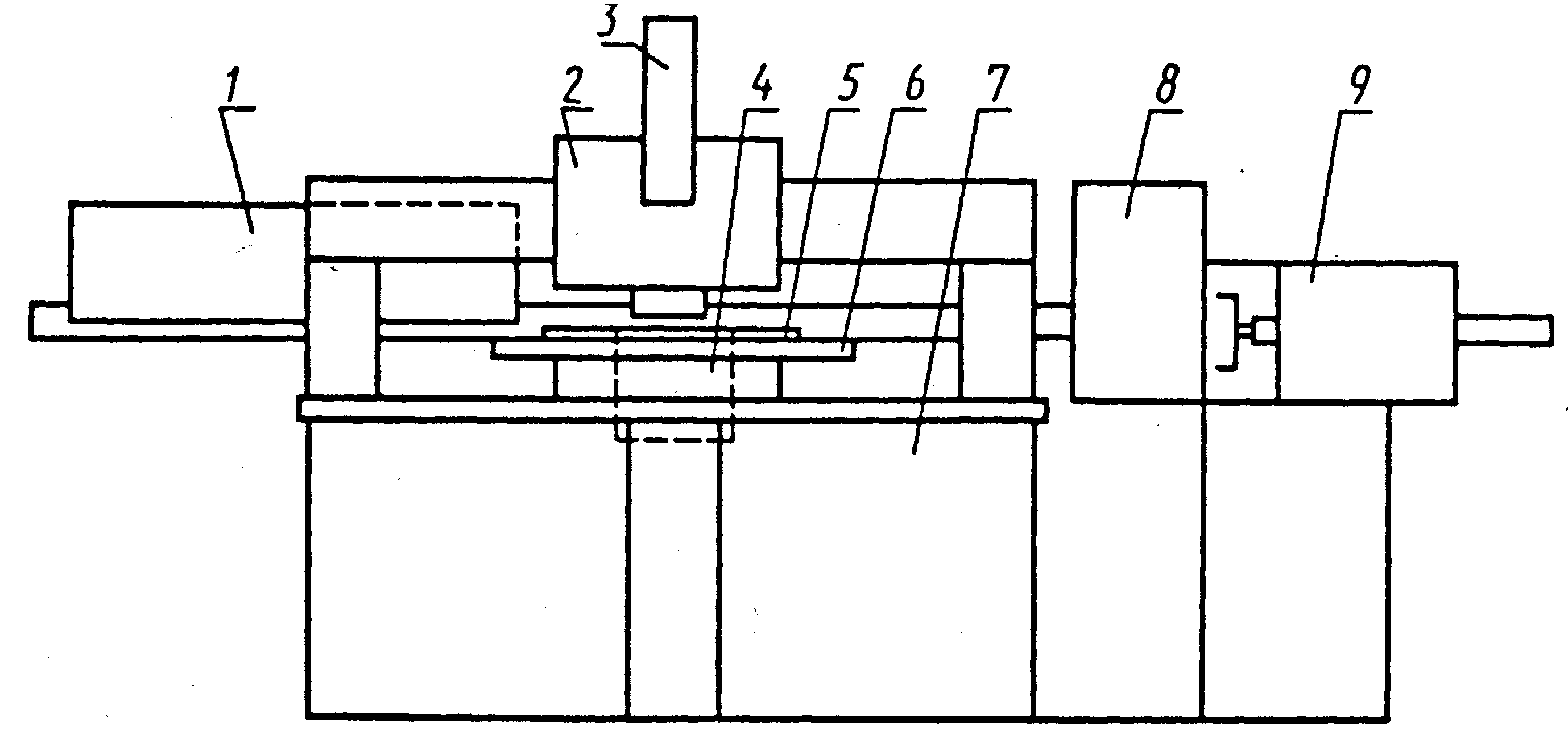
В состав типовых технологических модулей ГПС сборки и монтажа ЭМ-1 входят комплексы автоматического или автоматизированного технологического оборудования с ЧПУ (отдельные автоматы установки), для реализации технологических процессов. В качестве примера рассмотрим назначение, структуру и процесс функционирования установки для ручной программированной сборки. Указанная установка предназначена для укладки на печатную плату ИЭТ малой применяемости, а также ИЭТ сложной формы. Технологическая схема и состав установки представлены на рис. 1.
Процесс функционирования установки следующий.
ПП извлекается вручную из накопителя 1 и устанавливается в фиксирующее устройство 5. Световой луч указателя места установки ИЭТ б, перемещаясь по поверхности ПП, останавливается в заданных устройством управления точках. При этом одновременно оператору выдается из накопителя 2, 3 или 7 тот ИЭТ , который должен быть установлен на печатную плату в данной точке. В ленточном накопителе размещается ИС в корпусах типа 4 (401, 402, 405), в кассетном - ИС в корпусах типа 2, в конвейерном - дискретные элементы. Однако возможны другие варианты размещения, например, в конвейерном накопителе наряду с дискретными ИЭТ могут размещаться и ИС.
Световой луч несет информацию не только о месте установки ИЭТ, но и его расположении на ПП - указывает место размещения первого вывода многовыводных ИЭТ или метод размещения положительного вывода для полярных двухвыводных.
Операция установки ИЭТ осуществляется вручную.
В случае необходимости с помощью дозатора клея 4 может быть реализована операция приклеивания ИЭТ . Излишки выводов ИЭТ штырькового типа могут быть подрезаны под ПП по завершении операций установки с помощью универсального приспособления для групповой подрезки 9.
ГПМ сборки и монтажа ЭМ-1
Состав типовых ГПМ (РТС) ГПС сборки и монтажа ЭМ-1 по цехам и участкам сборочно-монтажного производства приведен на рис. 2 и включает в себя следующие виды:
комплекс технологического оборудования (ТО) для подготовки ИЭТ к автоматизированной установке на ПП, в том числе рихтовки, формовки и обрезки выводов ИЭТ, их лужения;
комплекс технологического оборудования для комплектации партии ПП ИЭТ, механических деталей, материалов;
ГПМ комплектации ИЭТ , вклеенных в двухрядную липкую ленту (резисторы, диоды конденсатора);
комплекс ГПМ комплектации и комплексной подготовки ИС в корпусах типа 4 (специализированных для ИС в корпусах 401, 402, 405 и т.п.);
комплекс специального ТО для установки и крепления на ПП контрольных контактов (специализированных для контактов разной формы);
комплекс специального ТО для установки и крепления на ПП разъемов (специализированных для каждого типа конструкции разъема);
ГПМ установки и крепления на ПП ИЭТ , вклеенных в двухрядную липкую ленту (универсальный);
ГПМ установки на ПП ИС в корпусах типа 2 (универсальный);
комплекс ГПМ установки и пайки ПП ИС в корпусах типа 4 (специализированных по типам корпусов 401,402,405);
ГПМ досборки (для ручной программированной установки ПП ИЭТ малой применяемости - универсальный);
ГПМ (РТК) пайки ПП волной припоя;
ГПМ (РТК) очистки ПП водными растворами технических моющих
средств (ТМС);
стенд технологического визуального контроля качества и ремонта для паяных соединений;
ГПМ (РТК) влагозащиты ЭМ;
ГПМ установки разъемов на ПП;
ГПМ комплектации ИС с пленарными выводами;
ГПМ комплектации ИЭТ , вклеенных в двухрядную ленту.
В состав ГПМ может включаться также оборудование для технологического или приемо-сдаточного контроля электрических параметров ЭМ-1, но чаще всего оно выделяется в самостоятельную подсистему. Состав ГПМ для конкретных производственных ситуаций определяется составом элементной базы ЭМ-1, подлежащих изготовлению в ГПС, масштабом выпуска, принятым вариантом технологического процесса.
ГПМ установки и крепления на ПП ИЭТЭ, вклеенных в двухрядную липкую ленту
Предназначен для установки на печатную плату и крепление на ней путем подгибки выводов ИЭТЭ, вклеенных в двухрядную липкую ленту.
Технологическая схема и состав ГПМ представлен на рис. 3. Процесс функционирования ГПМ следующий. Печатная плата из накопителя 8 подается устройством загрузки-выгрузки 9 к координатному столу сборочного автомата 6 и фиксируется на нем с помощью фиксирующего устройства 5. Координатный стол перед этим выводится в нулевое (крайнее справа и назад) положение. После фиксации ПП координатный стол подается к укладочной головке 2, которая в соответствии с заданной программой перемещения ПП производит вырезку ИЭТЭ из ленты, формовку выводов, установку ИЭТ по направляющим выводам в монтажные отверстия ПП и крепление ИЭТ подгибкой выводов под ПП навстречу друг другу или по радиусу. Излишки выводов обрезаются перед подгибкой.

Рис. 1 - Установка ручной программированной сборки ЭМ-1: 1 — накопитель ПП; 2 — накопитель ИС (ленточный) ; 3 — накопитель ИЭТ (конвейерный); 4 — устройство дозированного нанесения клея; 5 — устройство фиксации ПП; 6 - указатель места установки ИЭТ ; 7 - накопитель ИС (кассетный) ; 8 — устройство управления; 9 — устройство групповой подрезки и подчистки выводов.

Рис. 2 - Основной состав комплексов ТО и ГПМ ГПС сборки и монтажа ЭМ-1 (по участкам и цехам сборочного производства

Рис. 3 - ГПМ установки и крепления на ПП ИЭТ вклеенных в двухрядную липкую ленту: 1 - накопитель ИЭТ (складского типа) ; 2 — автоматическая укладочная головка; 3 — накопитель ИЭТ (ленточный) ; 4 — подгибочная головка; 5 — устройство фиксации ПП; 6 — координатный стол; 7 — устройство управления; 8 — накопитель ПП; 9 - автоматическое устройство загрузки и выгрузки
ИЭТЭ для установки на ПП подаются к укладочной головке в соответствии с программой установки из программно-скомплектованной ленты 3, либо из магазина складского типа 1 (сиквенсора). Программно-скомплектованная двухрядная лента в виде катушки располагается, как правило, на укладочной головке. Конец ленты заправляется в подающем устройстве, после чего автомат начинает работать по сигналу системы управления. Программа передвижения ПП под укладочной головкой согласована с программой вклейки элементов в ленту. Вклейка ИЭТ в ленту производится на ГПМ комплектации ИЭТ в двухрядной липкой ленте.
Сиквенсор состоит из ряда катушек с ИЭТ, вклеенных в двухрядную ленту (в каждой катушке один тип ИЭТЭ), и обычно располагается сзади автомата на специальной штанге, которая служит направляющей для перемещения сиквенсора. Перемещается сиквенсор таким образом, чтобы катушка с ИЭТ требуемого для установки типа была расположена на минимальном расстоянии от укладочной головки, точнее устройства подачи ИЭТ. Программа перемещения сиквенсора и программа перемещения ПП должны быть согласованы. По завершении программы установки ИЭТ координатный стол с ПП возвращается в нулевое положение, после чего устройство загрузки изымает ПП из фиксирующего приспособления и возвращает в накопитель. Накопитель перемещается на 1 шаг, после чего цикл сборки повторяется для остальных ПП данной партии.
ГПМ установки на ПП ИС в корпусах типа 2
Предназначен для установки на ПП и, при необходимости, крепления на ней подгибкой двух выводов ИС в корпусах типа 2, уложенных в технологических кассетах.
Технологическая схема и состав ГПМ представлен на рис. 4. Процесс функционирования ГПМ следующий. ПП из накопителя 9 подается устройством загрузки-выгрузки к координатному столу 7 сборочного автомата и фиксируется на нем с помощью фиксирующего устройства 6. Координатный стол перед этим выводится в нулевое положение. После фиксации ПП координатный стол перемещается к укладочной головке 3, которая в соответствии с заданной программой производит выбор нужного типа ИС из накопителя (линейного 1 или роторного 4), установку ИС выводами в отверстия ПП. При необходимости, подгибочная головка 5 может осуществить подгибку двух выводов с целью дополнительного крепления ИС на ПП. Для ИС с числом выводов 14 и более в дополнительном креплении необходимости нет — ИС держится на ПП за счет пружинения выводов, вставленных в отверстия.
Программа перемещения ПП согласована с программой выбора и установки ИС. При работе автомата накопитель роторного типа поворачивается вокруг оси так, чтобы микрооборот автоматической укладочной головки мог извлечь из накопителя ИС заданного программой типа. Накопитель линейного типа неподвижен — он по команде системы управления выдает ИС нужного типа, которая с помощью транспортного устройства 2 подается к укладочной головке. По завершении программы установки координатный стол возвращается в нулевое положение. УЗВ извлекает ПП из фиксирующего устройства и возвращает ее в накопитель. Накопитель перемещается на один шаг, после чего цикл сборки повторяется для остальных ПП данной партии.
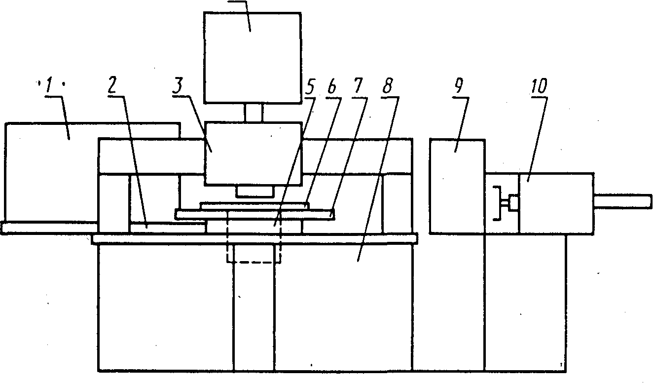
ГПМ установки и пайки ИС с планарными выводами на ПП
Предназначен для установки на ПП ИС в корпусах типа 401 (или 402, или 405) и пайки их выводов к контактным площадкам ПП.
Технологическая схема и состав ГПМ представлен на рис. 5. Загрузка и выгрузка печатной платы описана выше. Укладочная головка 4 совмещает операции установки и пайки ИС, которые подаются по транспортному устройству 9 из накопителя ИС ленточного '2 или кассетного 1 типов. В ленточном накопителе ИС уложены в той последовательности, в которой будут устанавливаться на ПП. Кассетный накопитель вращается по команде управляющей системы и выдает в транспортную систему ИС нужного типа из соответствующей кассеты. ИС, установленная на ПП, удерживается на ней в процессе выполнения пайки (до ее затвердевания). Пайке подвергаются все выводы ИС одновременно; способ - электроконтактный. Подача припоя и флюса производятся непосредственно в зону пайки. ГПМ устанавливает и паяет на ПП ИС только одного типоразмера в корпусах 401 (или 402, или 405).
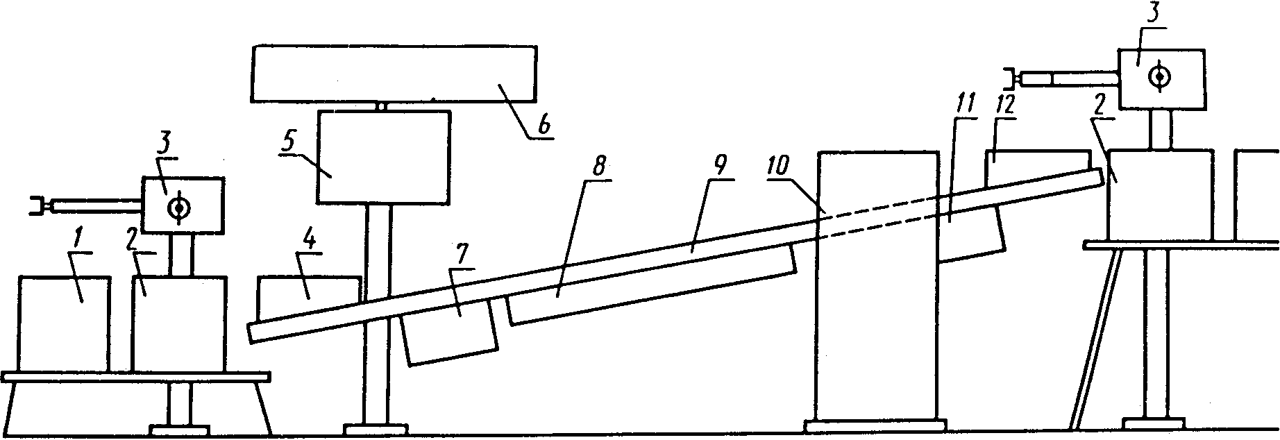
РТК пайки ПП волной припоя
Предназначены для выполнения монтажных соединений на ПП способом пайки за счет автоматического выполнения операций загрузки-разгрузки, флюсования, подогрева, пайки и удаления излишков припоя.
Технологическая схема и состав РТК пайки представлена на рис. 6. Печатная плата с установленными на ней ИЭТ извлекается роботом 3 из накопителя 1, устанавливается в технологическую кассету (которая, в свою очередь, извлекается из накопителя 2) и через устройство загрузки 4 передается на транспортер 9 линии пайки. Транспортер (цепной конвейер) последовательно перемещает ПП через агрегаты линии пайки. В агрегате. флюсования 7 поверхность монтажных элементов, подлежащих пайке, смачивается флюсом, подающимся в виде пены к нижней поверхности ПП. В агрегате подогрева 8 происходит испарение жидкости, используемой в качестве растворителя флюса, необходимого для предотвращения разбрызгивания расплавленного припоя при попадании на него капелек жидкого флюса с поверхности ПП, а также подогрев ПП до 75 — 125 °С с целью уменьшения термоудара при погружении ПП в волну расплавленного припоя (t " 260 °С). Способ нагрева - терморадиационный. Температура подогрева должна быть максимальной, но не выше той, которую допускают ИЭТ, установленные на ПП.
В агрегате пайки 10 ПП нижней своей поверхностью проходит через волну расплавленного припоя (навстречу ее течению), создаваемую специальным устройством в виде насоса и сопла особой конструкции. Припой смачивает монтажные поверхности и образует монтажные соединения, проникая в металлизированные отверстия.

Рис. 4. ГПМ установки на ПП ИС в корпусах типа 2: / — накопитель ИС (кассетный линейный) ; 2 — устройство подачи ИС; 3 - автоматическая укладочная головка; 4 — накопитель ИС (кассетный, роторный) ; 5 — подгибочная головка; 6 — устройство фиксации ПП; 7 — координатный стол; 8 — устройство управления; 9 - накопитель ПП; 10 — автоматическое устройство загрузки и выгрузки ПП.

Рис. 5 - ГПМ установки и пайки ИС с планарными выводами на ПП: 1 — накопитель ИС (кассетный) ; 2 — накопитель ИС (ленточный) ; 3 — координатный стол; 4 — автоматическая головка установки и пайки ИС; 5 — устройство фиксации ПП; 6 — устройство управления; 7 — накопитель ПП; 8 — автоматическое устройство загрузки и выгрузки ПП; 9 — устройство подачи ИС

Рис. 6 - РТК пайки ЭМ-1 волной припоя: 1 - накопитель ПП; 2 - накопитель технологических кассет; 3 - робот; 4 - устройство загрузки ПП; 5 - устройство управления; 6 - информационное табло; 7 - агрегат флюсования ПП; 8 — агрегат подогрева; 9 - транспортер; 10 — агрегат пайки; 11 - горячий воздушный „нож"; 12 — устройство выгрузки
С целью предотвращения саздания сосулек на выводах ИЭТ, перемычек между выводами и близко расположенными проводниками к месту выхода ПП из припоя подается струя сжатого воздуха (t "в 250 - 300 ° С), которая сдувает излишки припоя с поверхности ПП в ванну.
На заключительном этапе запаянная ПП попадает в устройство выгрузки 12, в котором робот 3 извлекает ее из технологической кассеты и загружает в накопитель 1.
Технологическая кассета загружается тем же роботом в накопитель 2. Заполненный накопитель 2 возвращается подвесным роботом-трансманипулятором на вход линии пайки. Заполненный накопитель 1 с помощью робота-трансманипулятора передается на РТК очистки.
РТК очистки ПП водными растворами ТМС
Предназначен для очистки ПП электронных модулей после пайки и перед влагозащитен от технологических загрязнений.
Технологическая схема и состав РТК очистки представлена на рис. 7. ПП извлекается роботом 2 из накопителя 1 и передается на устройство загрузки 9 ПП в линию, которое передает ее на транспортер. В линии ПП последовательно проходит ванны с раствором ТМС, горячей проточной водой, холодной проточной водой, деионизированной водой и станцию сушки. После сушки ПП через устройство ориентации с помощью робота загружается в пустой накопитель 1.
Накопители на входе и на выходе линии по мере извлечения и заполнения перемешаются на 1 шаг с помощью устройства загрузки-выгрузки 10. В случае отсутствия на предприятии централизованной поставки деионизированной воды в составе линии может быть предусмотрена станция местной деионизации 7.
ГПМ влагозащиты ЭМ
Предназначен для нанесения на печатную плату и сушки лаковых многослойных покрытий для защиты от влаги.
Технологическая схема и состав ГПМ (ГАЛ) представлен на рис.8.
ЭМ извлекается из накопителя 1 и на его участки, не подлежащие нанесению лака, и на него крепятся средства технологической защиты, хранящиеся в накопителе 2. Работа выполняется вручную на рабочем месте 3. ЭМ передается в накопитель, из которого автоматически извлекается и навешивается на (исполнительный механизм устройства нанесения лака. Исполнительный механизм погружает ЭМ в лак, извлекает из лака и для удаления излишков и создания слоя лака минимальной толщины центрифугирует его. Затем ЭМ передается в терморадиационное сушило, где лак полимеризуется. Следующий слой лака может быть нанесен способом распыления, для чего ЭМ . пропускается между форсунками устройства нанесения лака распылением - и вновь подвергается сушке для полимеризации лака.
Конструкция линии модульная, поэтому технологическая ее компоновка определяется количеством требуемых слоев лака и способом его нанесения. Для трехслойной защиты возможны любые комбинации модулей: 3 модуля лакировки методом погружения; 2 модуля лакировки погружением и 1 модуль — распылением; 1 модуль — погружением, 2 модуля — распылением; 3 модуля лакировки методом распыления. Состав линии определяется при формулировании заказа на ее изготовление. На (входе линии производится удаление с ЭМ средств технологической защиты и они размещаются в соответствующих накопителях.

Рис. 7 - ГПМ очистки ЭМ-1 водными растворами ТМС: 1 — накопитель ПП; 2 - робот; 3 — ванна с раствором ТМС; 4 — ванна с проточной горячей водой; 5 — ванна с проточной холодной водой; 6 - ванна с деионизированной водой; 7 — станция деонизации воды; 8 — станция сушки; 9 — устройство ориентации ПП; 10 — устройство загрузки-выгрузки ПП

Рис. 8 - ГПМ (автоматизированная линия) влагозащиты ЭМ-1: 1 — накопитель ПП; 2 - накопитель средств технологической защиты; 3 — рабочее место защиты мест, не подлежащих лакировке; 4 — автоматическое устройство нанесения лака погружением с последующим центрифугированием; 5 — робот; 6 — сушило; 7 — автоматическое устройство нанесения лака распылением

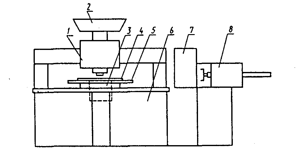
Рис. 9. ГПМ установки разъемов на ПП: 1 - накопитель разъемов; 2 - устройство поштучной подачи разъемов; 3 - автоматическая головка крепления разъемов; 4 - устройство фиксации ПП; 5 - координатный стол; б - устройство управления; 7 - накопитель ПП; 8 - автоматическое устройство загрузки и выгрузки ПП
ГПМ установки разъемов на ПП
Предназначен для установки на печатную плату и крепление на ней разъемов (вилок или колодок).
Технологическая схема и состав ГПМ установки разъемов представлены на рис. 9. Координатный стол 5 располагается под головкой крепления разъемов 3 и в соответствующие места устройства фиксации ПП 4 устанавливается крепеж (винт, пистон, заклепка и тд.) . После этого координатный стол выводится в нулевое положение и в устройстве 4 фиксируется ПП, подаваемая УЗВ8 из накопителя 7 так, чтобы крепеж попал в крепежные отверстия на ПП. Далее стол с ПП перемещается под устройство поштучной выдачи разъемов 2, которое производит установку его на ПП совмещая крепежные отверстия разъема с крепежом. При необходимости операция повторяется для 2-го, 3-го и т.д. разъемов. После установки разъемов стол с ПП перемещается под головку крепления, где производится либо накручивание гаек (с шайбой), либо развальцовка пистонов, либо расклепка заклепок. Собранная ПП возвращается в накопитель, после чего цикл повторяется для остальных ПП партии.
ГПМ установки контрольных контактов на ПП
Предназначен для установки и крепления на ПП контрольных контактов.
Загрузка и выгрузка ПП описана выше. Координатный стол 5 с ПП, зафиксированный в устройстве 4, перемещается по заданной программе под автоматической головкой /, которая производит установку контактов в отверстие ПП. Крепление контактов производится под платой подгибкой (для плоских) или развальцовкой (для круглых). Конструкция контактов должна обеспечивать возможность их бункеровки, ориентации и поштучной выдачи.
ГПМ комплектации ИС с пленарными выводами
Предназначен для Программируемой комплектации ИС в корпусах типа 4 (401 или 402, или р|05) и подготовке их к установке на печатные платы путем извлечения из тары-спутника, формовки, обрезки и лужения выводов и укладки в ленточную кассету в заданной программной последовательности.
Технологическая схема и состав ГПМ представлены на рис. 11. В магазине 1 сосредоточены накопители ИС различных типономиналов (но одного конструктивно-технологического исполнения, например, в корпусе |401) каждый накопитель имеет свой узел поштучной выдачи, срабатывающий по сигналу системы управления. ИС в таре-спутнике из накопителя по пневмотранспортеру 2 поступают в узел распаковки 3. Далее на линии вы-1полняется комплекс технологических операций формовки, обрезки и лужения выводов, после выполнения которых ИС укладываются в ячейки ленточного накопителя 8 в последовательности, определенной программой выдачи ИС из магазина накопителей. Возможен вариант компоновки ГПМ, когда взамен ленточного накопителя может быть использован кассетный накопитель роторного типа 9.

Рис. 10 - ГПМ установки контрольных контактов на ПП: 1 — автоматическая головка установки контрольных контактов; 2 - устройство ориентации и поштучной выдачи контрольных контактов; 3 — устройство крепления контрольных контактов; 4 — устройство фиксации ПП; 5 — координатный стол; б — устройство управления; 7 — накопитель ПП; 8 — автоматическое устройство загрузки и выгрузки ПП

Рис. 11 - ГПМ комплектации ИС с планарными выводами: 1 — магазин накопителей ИС (в таре-спутниках) ; 2 - транспортер; 3 — устройство распаковки ИС; 4 — устройство формовки ИС; 5 — устройство управления; 6 — устройство флюсования и лужения выводов ИС; 7 — устройство загрузки ИС в накопитель; 8 — накопитель ИС (ленточный) ; 9 — накопитель ИС (кассетный)
Список литературы
Н.П.Меткин, М.С.Лапин, С.А.Клейменов, В.М.Критський. Гибкие производственные системы. – М.: Издательство стандартов, 1989. – 309с.
Харченко А.О. Станки с ЧПУ и оборудование гибких производственных систем: Учебное пособие для студентов вузов. – К.: ИД "Профессионал", 2004. – 304 с.
Роботизированные технологические комплексы/ Г. И. Костюк, О. О. Баранов, И. Г. Левченко, В. А. Фадеев – Учеб. Пособие. – Харьков. Нац. аэрокосмический университет "ХАИ", 2003. – 214с.
Алексеев П.И., Н.П.Меткин, М.С.Лапин. Технологическое проектирование ГПС. – Л.: ЛДНТП, 1984. – 36с.
Проектирование металлорежущих станков и станочных систем: Справочник-учебник в 3-х т. Т. 3: Проектирование станочных систем /Под общей ред. А.С. Проникова - М.: Изд-во МГТУ им. Н.Э.Баумана; Изд-во МГТУ "Станкин", 2000. - 584 с.
Гибкие производственные комплексы /под.ред. П.Н.Белянина. – М.: Машиностроение, 1984. – 384с.
Гибкое автоматическое производство/под.ред. С.А.Майорова. – М.: Машиностроение, 1985. – 456с.