Физико-топологическая модель интегрального биполярного п-р-п-транзистора
БЕЛОРУССКИЙ ГОСУДАРСТВЕННЫЙ УНИВЕРСИТЕТ ИНФОРМАТИКИ И РАДИОЭЛЕКТРОНИКИ
КАФЕДРА РЭС
РЕФЕРАТ
НА ТЕМУ:
ФИЗИКО-ТОПОЛОГИЧЕСКАЯ МОДЕЛЬ ИНТЕГРАЛЬНОГО БИПОЛЯРНОГО п-р-п-ТРАНЗИСТОРА
МИНСК, 2009
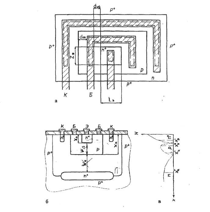
Физико-топологическая модель — модель расчета электрических параметров, исходными параметрами которой являются электрофизические характеристики полупроводниковой структуры и топологические размеры транзистора (см. рис.1). Электрофизические характеристики: концентрация собственных носителей заряда, ширина запрещенной зоны и диэлектрическая проницаемость полупроводника, времена жизни, тепловые скорости, концентрации и сечения ловушек захвата, подвижности, коэффициенты диффузии и концентрации примесных электронов и дырок. Многие из этих параметров зависят от профиля легирования (распределения концентрации легирующих примесей вглубь) транзисторной структуры.
Топологические размеры: длина эмиттера L>э>; ширина эмиттера Z>э>; расстояния от базового контакта до края базы d>бб>.
Параметры профиля легирования (см. рис. 1,в): концентрация донорной примеси в эпитаксиальном коллекторном слое N>дк>, глубины залегания р-п-переходов коллектор-база х>к> и эмиттер-база х>э>, концентрации акцепторной примеси на поверхности базы N>an> и донорной примеси на поверхности эмиттера N>д>>n>, толщина эпитаксиальной пленки W>ЭП>.
Распределение концентрации акцепторной примеси при формировании базы путем двухстадийной диффузии находится из выражения
(1)
где t>1>>a> и t>2>>a> — время "загонки" и "разгонки" акцепторной примеси;
D>1>>a> и D>2>>a> — коэффициенты диффузии акцепторной примеси при "загонке" и "разгонке".

Рис. 1. Разрез структуры и топология БТ: а - структура БТ; б - эскиз топологии БТ;в - параметры профиля легирования БТ
Распределение концентрации донорной примеси при формировании эмиттера путем одностадийной диффузии рассчитывается по формуле
(2)
где D>д> и t>д> — коэффициент и время диффузии донорной примеси.
Коэффициент диффузии определяется выражением
D = D>o>exp(∆E/KT), (3)
где D>o> — постоянная коэффициента диффузии примеси;
∆E — энергия активации примеси;
К — постоянная Больцмана;
Т — абсолютная температура диффузии примеси.
Согласно (1) и (2) для расчета концентрации на любой глубине х транзисторной структуры необходимо знать значения времени диффузии t>2>>a> и t>д> (t>1>>a> задается), которые определяются при решении уравнений
N>a> ( x>к>, t ) = N>дк>, (4)
N>д> ( x>э>, t ) = N.( x>э>, t>2>>а> ). (5)
Уравнения (4) и (5) являются условиями образования p-n-перехода. При решении этих уравнений относительно t>2>>a> и t>д> величины N>a>>п>, N>д>>n>, N>дк>, х>э>, х>к> являются исходными параметрами модели и задаются разработчиком.
Интегральные БТ работают при малых токах коллектора I>к> (1... 1000 мкА).
При таких токах коллектора статический коэффициент передачи тока в схеме с общим эмиттером может быть рассчитан по формуле
(6)
где I>би> — составляющая тока базы, обусловленная инжекцией дырок из базы в эмиттер;
I>бп> и I>б р-п> — составляющие тока базы, обусловленные рекомбинацией на поверхности пассивной базы и в области пространственного заряда (ОПЗ) р-п-перехода база-эмиттер.
Для БТ, включенного по схеме с общим эмиттером (ОЭ), соблюдается следующее соотношение между токами эмиттера I>э>, коллектора I>к> и базы I>б>:
(7)
Для типичных значений В>ст> > 20 можно с погрешностью менее пяти процентов записать I>з > = I>к>.
Ток I>э> обусловлен движением электронов, инжектированных из эмиттера в базу от эмиттерного к коллекторному p-n-переходу. Движение электронов по базе обусловлено двумя механизмами: диффузией и дрейфом. Диффузия электронов происходит из-за возникновения градиента электронов в результате увеличения их концентрации у эмиттерного края базы вследствие инжекции. Дрейф (движение под действием электрического поля) электронов по базе обусловлен наличием в ней ускоряющего поля, образующегося в неравномерно легированной (диффузионной базе) в результате диффузии дырок от эмиттерного к коллекторному краю базы. Возникает это поле в части базы, расположенной под эмиттером. На основании изложенного ток эмиттера может быть рассчитан по формуле
,
(8)
где q — заряд электрона;
μ>п>(х) — подвижность электронов в базе;
Е(х) — напряженность поля в базе;
п(х) — концентрация электронов в базе;
D>n>(x) — коэффициент диффузии электронов в базе;
dn(x)/dx — градиент электронов в базе.
Концентрация инжектированных электронов описывается выражением
(9)
где п>ро>(х) — равновесная концентрация (при U>эб> = 0) электронов в точке (см. рис. 1,в), которая определяется соотношением
(10)
где n>i>, - концентрация собственных носителей зарядов в кремнии.
Согласно (9) и (10) при уменьшении концентрации |N>a>(x>э>")-N>д>(x>э>")| увеличивается концентрация инжектированных электронов в базу. Из чего следует, что инжекция электронов в данной части эмиттера будет больше, чем в базовой. Кроме того, в базе под эмиттером имеет место ускоряющее попе. Следовательно, наибольший ток эмиттера протекает через дно эмиттерной области и часть базы, расположенной под ней. Поэтому базу под эмиттером называют "активной", а окружающую эмиттер - "пассивной".
Подвижность μ>п>(х) и коэффициент диффузии D>n>(x) растут с уменьшением концентрации легирующей примеси в базе (благодаря уменьшению столкновений с ионами легирующей примеси).
Напряженность поля Е(х) равна
(11)
где φ>Т> = k∙T/q — температурный потенциал,
W'>б> = х'>к>- х>э>" — толщина квазинейтральной базы (см. рис.1,в).
Из выражения (11) следует, что Е(х) увеличивается при уменьшении концентрации N>к> и координаты х'>к>.
Границы областей пространственного заряда (ОПЗ) р-п-переходов, определяющие толщину квазинейтральной базы, рассчитываются следующим образом.
Переход база-эмиттер можно считать плавным и ширина его ОПЗ равна
(12)
где α(x>э>)=dn(x>э>)/dx — градиент распределения концентрации легирующих примесей в ОПЗ, снижающийся при их уменьшении;
εε>о> — диэлектрическая проницаемость кремния;
ф>кз> — потенциальный барьер p-n-перехода база-эмиттер.
Потенциальный барьер p-n-перехода база-эмиттер рассчитывается по формуле
(13)
Ширина ОПЗ p-n-перехода коллектор-база
(14)
где
— характеристическая длина в распределении
акцепторов в базе;
ф>кк> и U>кб> — потенциальный барьер и напряжение на р-п-переходе коллектор-база.
Потенциальный барьер p-n-перехода коллектор-база находится из выражения
(15)
Из соотношений (12)...(15) следует, что ширина p-n-переходов база-эмиттер и коллектор-база увеличивается при уменьшении концентрации легирующих примесей в них, в частности при уменьшении N>a>(x>э>) и N>дк>.
Напряжение U>кб> при включении БТ по схеме с ОЭ определяется из соотношения
(16)
где U>кэ> — напряжение питания коллектора в схеме с ОЭ;
R>к> — сопротивление области коллектора, по которой течет ток I>к>.Граница ОПЗ p-n-перехода коллектор-база в базе х'>к> равна
(17)
Сопротивление области коллектора в соответствии с рис. 1,а определяется выражением (при этом сопротивление скрытой коллекторной области n+-типа и подконтактной области n+-типа не учитываются)
(18)
Градиент dn/dx можно найти из соотношения
(19)
или в соответствии с выражениями (9) и (10):
(20)
С учетом (10), (11) и (20) выражение (8) можно преобразовать к следующему виду:
(21)
где
начальное (при U>бэ>
= 0) значение тока эмиттера.
Инжекционная составляющая тока базы I>би> согласно (1) определяется выражением
(22)
где
— начальное значение тока;
— равновесная концентрация
дырок в эмиттере;
— напряженность тормозящего
поля в эмиттере, образующегося в
результате диффузии электронов от
поверхности к р-п-переходу эмиттер-база;
— время жизни инжектированных
дырок в эмиттере.
Рекомбинационная составляющая тока базы I>бп> согласно (1) описывается выражением
(23)
где
— начальное значение тока;
q — концентрация ловушек захвата электронов и дырок;
S>n>, S>p> — сечения ловушек захвата электронов и дырок;
V>tn>, V>tp> — тепловые скорости электронов и дырок;
D>п пов> — коэффициент диффузии электронов на поверхности пассивной базы;
τ>п пов> — время жизни электронов на поверхности пассивной базы;
Р>э> — периметр эмиттера.
Параметры N>t>, S>n>, S>p>, V>tn>, V>tp> не зависят от топологических размеров и профиля легирования. Коэффициент D>п пов> и время τ>п пов> слабо зависят от концентрации акцепторов на поверхности. Кроме того, следует заметить, что ток I>бр> в отличие от других составляющих тока базы пропорционален не площади, а периметру эмиттера. Последнее обстоятельство необходимо учитывать при анализе зависимости коэффициента передачи тока от топологических размеров эмиттера.
Рекомбинационная составляющая тока базы I>бр-п> согласно (1) находится из выражения
(24)
где
— времена жизни электронов
и дырок в ОПЗ р-п-перехода эмиттер-база.
Времена τ>по> и τ>ро> уменьшаются с ростом концентрации легирующих примесей в ОПЗ.
На рис.2 приведены графики зависимостей всех рассмотренных токов от напряжения U>бэ>, построенные для типичных значений электрофизических параметров (1), определяющих значения этих токов.

Рис. 2. Графики зависимостей:
а токов I>к>, I>би>, 1>б>>n>, 1>б>>p>>->>n>, от напряжения U>бэ>;
б коэффициента передачи тока от коллектора
Следует отметить, что рекомбинационные токи слабее зависят от напряжения база-эмиттер, что учитывается коэффициентом два в знаменателе экспоненциальных множителей выражений (23) и (24).
С учетом (6) и графиков, приведенных на рис.2,а, можно построить график зависимости В>ст>(I>к>), представленный на рис.2,б.
Сильная зависимость коэффициента передачи тока от тока коллектора имеет место в диапазоне рабочих токов коллектора БТ. Поэтому при проведении исследований зависимости коэффициента В>ст>(I>к>) от конструктивно-технологических параметров необходимо поддерживать ток I>к> постоянным, что обеспечивается соответствующим изменением напряжения прямого смещения на p-n-переходе база эмиттер U>бэ>. Напряжение U>бэ>, обеспечивающее заданный ток I>к>, с учетом принятого ранее допущения I>э> = I>к> и соотношения (21) может быть рассчитано по формуле
(25)
Из выражения (25) следует, что при увеличении I>эо>, которое может произойти при изменении конструктивно-технологических параметров БТ (при проведении соответствующих исследований), напряжение U>бэ>.уменьшится, что приведет к уменьшению составляющих тока базы.
Граничная частота усиления БТ согласно (1) определяется выражением
,
(26)
где
- постоянная цепи заряда барьерной
емкости p-n-p-перехода
база-эмиттер С>бэ>;
- время пролета через квазинейтральную
базу;
- постоянная цепи заряда барьерной
емкости p-n-p
перехода коллектор-база С>кб.>
Барьерная емкость С>бэ>, состоит из двух параллельно включенных емкостей донной и боковой частей p-n-перехода база-эмиттер:
С>бэ>= С>бэдон>+ С>бэбок>, (27)
где С>бэдон>=εε>0>·z>э>·Lэ/l>бэ>(x>э>) – емкость донной части p-n-перехода база-эмиттер;
С>бэбок>=
- емкость боковой части p-n-перехода
база-эмиттер;
Поскольку ширина ОПЗ зависит от концентрации легирующей примеси в p-n-переходе, а она в боковой части p-n-перехода изменяется по глубине, то С>бэбок >также зависит от глубины и с учетом двухмерного распределения донорной примеси может быть определена из выражения
, (28)
где N>д>(х,у)
= N>dn>·erfc[(х+1,5у)/2
]
— двухмерное распределение донорной
(эмиттерной) примеси;
φ>кэбок>(х) — контактная разность потенциалов боковой части р-n-перехода база-эмиттер(зависит от глубины по той же причине, что и ширина l>бэбок>.).
Сопротивление базы R>б> можно представить состоящим из двух последовательно включенных сопротивлений активной и пассивной базы, по которым протекает ток базы от соответствующего вывода до р-n-перехода эмиттер-база:
R>б> =R>ба> +R>бпас, >(29)
где
—
сопротивление активной части базы;
— сопротивление пассивной части
базы.
Барьерная емкость С>кб>: по аналогии с емкостью С>бэ> также состоит из двух параллельно включенных емкостей донной и боковой частей р-п-перехода коллектор-база:
С>кб>=εε>0>(S>кбдон>+S>кббок>), (30)
где S>кбдон >и S>кббок> — площади донной и боковой частей р-n-перехода коллектор-база. Поскольку коллектором является равномерно легированный эпитаксиальный слой, то концентрации легирующей примеси в боковой и донной частях этого р-n-перехода одинакова, а значит, и постоянна толщина ОПЗ l>кб>
Напряжения лавинного пробоя плавного р-п-перехода база-эмиттер:

и резкого р-п-перехода коллектор-база:

Литература
1. Новиков Ю.В. Основы цифровой схемотехники. Базовые элементы и схемы. Методы проектирования. М.: Мир, 2001. - 379 с.
2. Новиков Ю.В., Скоробогатов П.К. Основы микропроцессорной техники. Курс лекций. М.: ИНТУИТ.РУ, 2003. - 440 с.
3. Пухальский Г.И., Новосельцева Т.Я. Цифровые устройства: Учеб. пособие для ВТУЗов. СПб.: Политехника, 2006. - 885 с.
4. Преснухин Л.Н., Воробьев Н.В., Шишкевич А.А. Расчет элементов цифровых устройств. М.: Высш. шк., 2001. - 526 с.
5. Букреев И.Н., Горячев В.И., Мансуров Б.М. Микроэлектронные схемы цифровых устройств. М.: Радио и связь, 2000. - 416 с.
6. Соломатин Н.М. Логические элементы ЭВМ. М.: Высш. шк., 2000. - 160 с.