Физические обоснования и методика проведения процедур. Аппараты для низкочастотной магнитотерапии
БЕЛОРУССКИЙ ГОСУДАРСТВЕННЫЙ УНИВЕРСИТЕТ ИНФФОРМАТИКИ И РАДИОЭЛЕКТРОНИКИ
Кафедра ЭТТ
РЕФЕРАТ
На тему:
«Физические обоснования и методика проведения процедур. Аппараты для низкочастотной магнитотерапии»
МИНСК, 2008
За последние десятилетия интенсивно развиваются методы и аппаратура для лечебного применения постоянных и особенно низкочастотных переменных магнитных полей. Многочисленными экспериментальными и клиническими исследованиями показано, что низкочастотное магнитное поле с магнитной индукцией, не превышающей несколько десятков миллитесла, улучшает кровообращение и обменные процессы, обладает противовоспалительным, болеутоляющим действием. Кроме того, оно способствует эпителизации язвенных поверхностей, ускоряет заживление ран, уменьшает зуд при кожных заболеваниях. Механизмы биологического действия магнитных полей неясны. Имеются предположения, что эти механизмы основаны, в частности, на наведении ЭДС в отдельных структурах организма, на смещении равновесия в биохимических реакциях, изменении скорости диффузии, на изменении структуры и свойств воды организма и т. д. Эти и другие теории не вышли еще за рамки гипотез и нуждаются в дополнительных подтверждениях.
Однако, несмотря на отставание теоретических основ магнитотерапии, применение в физиотерапевтической практике как постоянных, так и особенно переменных магнитных полей имеет значительные успехи.
До последнего времени применялись отдельные экспериментальные образцы, различающиеся по схемам и конструкции. Наиболее существенной частью аппаратов для низкочастотной магнитотерапии являются индукторы. Индуктор представляет собой катушку, по виткам которой протекает переменный ток. Катушка может иметь разомкнутый сердечник из пластин трансформаторной стали или может использоваться без сердечника.
Катушки с разомкнутым сердечником, называемые электромагнитами, обеспечивают получение у полюсов сердечника достаточно высокой магнитной индукции. При этом габариты и вес таких индукторов невелики. Электромагниты применяются обычно для воздействия на ограниченные участки тела.
Катушки без сердечника создают наибольшую магнитную индукцию во внутренней своей части. Поэтому они используются обычно для воздействия на конечности, которые вставляются в полость катушки. Такие индукторы в виде соленоидов имеют значительные габариты и потребляют большие токи. Аппараты с индукторами в виде соленоидов, как правило, являются стационарными.
Для питания индукторов используется обычно переменный ток промышленной частоты. Применяется также пульсирующий одно- или двухполупериодный ток. Режим колебаний может быть непрерывный, либо прерывистый с длительностью работы и паузы, составляющей несколько секунд.
Аппараты для низкочастотной магнитотерапии
С выпуском первого серийного аппарата «Полюс-1» низкочастотная магнитотерапия заняла прочное место среди других физических лечебных методов. Аппарат «Полюс-1» снабжен индукторами-электромагнитами. При проведении процедур индуктор с помощью специального держателя устанавливается вплотную без давления или с небольшим зазором (О,5-1 см) против подвергаемой воздействию части тела. Магнитное поле проникает без ослабления через шерсть, хлопок, гипс и другие не содержащие ферромагнетиков материалы, поэтому при проведении наружных процедур одежду и повязки можно не снимать. Однако следует учитывать, что по мере удаления от поверхности индуктора магнитная индукция быстро падает. Так, например, наибольшая индукция, составляющая у полюсов 30-35 мТл, на расстоянии 3 см уменьшается в 6-8 раз, на расстоянии 5 см - в 15-20 раз.
В процессе процедуры тепло в тканях тела не образуется и пациент, как правило, не испытывает каких-либо ощущений. Иногда в области воздействия возникает легкое покалывание, типа «мурашек». Поэтому для целей дозиметрии ориентироваться на субъективные ощущения пациента нельзя. Поскольку ткани тела не искажают конфигурации магнитного поля, дозиметрия осуществляется путем измерения вектора магнитной индукции в воздухе перед индуктором. Для измерений используют индукционный метод. Измерительная катушка диаметром 1-2 см помещается в различные точки поля и напряжение, наводимое в ней, измеряется милливольтметром. В каждой точке катушка ориентируется в двух взаимно перпендикулярных направлениях. По полученным составляющим поля вычисляются модуль и направление вектора индукции поля в данной точке.
Графические картины магнитного поля для каждого индуктора с учетом режима работы аппарата (положение регулятора интенсивности, вид тока) позволяют оценивать магнитную индукцию поля, действующего на различные участки тела при проведении процедуры.
Аппарат для низкочастотной магнитотерапии. Основные технические данные: один или два одновременно работающих индуктора питаются синусоидальным или пульсирующим однополупериодным током частотой 50 Гц, наибольшая магнитная индукция на поверхности индуктора с П-образным сердечником не менее 35 мТ, индуктора с прямым сердечником-25 мТ, полостного индуктора-30 мТ; предусмотрен прерывистый режим работы при длительности посылок и пауз, равных 2 с; питание от сети переменного тока частотой 50 или 60 Гц напряжением 220±10%; потребляемая мощность не более 100 ВА; по защите от поражения электрическим током аппарат выполнен по классу II; габаритные размеры (без держателей индукторов) 860х540х500 мм; масса (без комплекта) не более 40 кг.
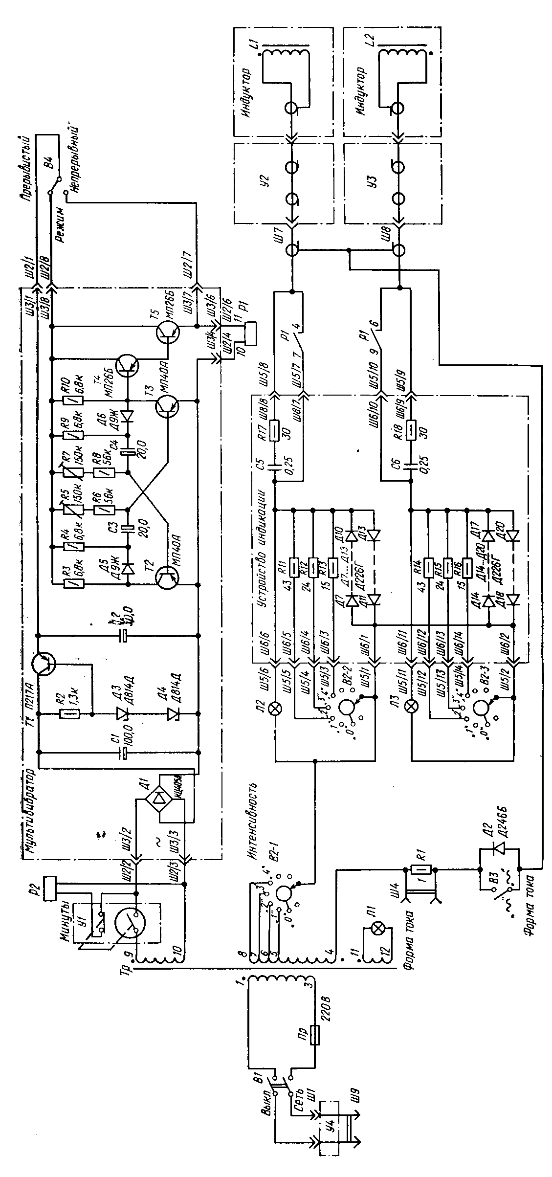
Принципиальная электрическая схема аппарата приведена на рис.1. Питание электрических цепей аппарата производится с помощью силового трансформатора Тр. Напряжение на обмотку индукторов L1, L2 подается от вторичной обмотки трансформатора. Обмотка имеет отводы (5-8), коммутируемые переключателем В2-1 (ручка «Интенсивность» на панели управления). Этим обеспечивается ступенчатая регулировка индукции создаваемого индукторами магнитного поля.
Переключателем В3 (ручка «Форма тока» на панели управления) может быть выбран вид тока через обмотку индукторов: синусоидальный, либо пульсирующий однополупериодный. В последнем случае в цепь тока включается диод Д2.
С помощью переключателя «Режим» осуществляется выбор режима работы: непрерывный или прерывистый. В непрерывном режиме напряжение с выхода выпрямителя на диодном мосте Д1 и конденсаторе С1 после стабилизации на обмотку реле Р1, и контакты 4-7 к 6-9 реле замыкают цепь питания индукторов. Конденсаторы С5, С6 и резисторы R17, R28 образуют искрогасящие цепочки, подключенные параллельно контактам .
В прерывистом режиме постоянное напряжение подается не на обмотку реле Р1, а на симметричный мультивибратор, собранный на транзисторах Т2, ТЭ. Импульсы с выхода мультивибратора через эмиттерный повторитель на составном транзисторе Т4, Т5 поступают на обмотку реле. Длительность импульсов мультивибратора, составляющая 2 с, определяет режим работы реле, а следовательно, и индукторов - 2с посылка, 2с-пауза. Напряжение выпрямителя, питающего мультивибратор и реле, стабилизировано с помощью регулирующего транзистора Т1. В цепи базы транзистора включены балластный резистор R2 и создающие опорное напряжение стабилитроны Д3, Д4.
Для индикации прохождения тока через индукторы последовательно с их обмотками включены сигнальные лампы накаливания Л2, Л3. Для стабилизации падения напряжения на лампах при колебаниях напряжения сети, изменениях вида тока, а также при смене индукторов, они зашунтированы соответственно диодами Д7-Д13 и Д14-Д20. При увеличении тока через диоды их сопротивление уменьшается, благодаря чему поддерживается на одном уровне напряжение на лампах. При регулировке интенсивности дополнительное выравнивание тока через сигнальные лампы осуществляется секциями переключателя В2-2 и В2-3, которые коммутируют шунтирующие резисторы R11-R1З и R14-R16.
Для контроля формы тока, протекающего через индукторы, в цепь их питания включен резистор R1. Падение напряжения на резисторе подается на контрольную розетку Ш4.
Первичная обмотка силового трансформатора подключается к сети с помощью двухполюсного выключателя В1 (ручка «Сеть-выкл». на панели управления). В цепи питания включен предохранитель Пр.
Индукторы представляют собой катушки с незамкнутым сердечником из пластин трансформаторной стали различной формы. Магнитные силовые линии, проходящие через сердечник, замыкаются в пространстве перед индуктором. Эта часть магнитного поля используется для местного воздействия на тело больного.

Рисунок 1 – Принципиальная электрическая схема аппарата «Полюс-1»
Чтобы в максимальной степени использовать магнитное поле катушки с сердечником (рис. 2), зазор между крышкой и полюсами сердечника не превышает 1 мм.

Рисунок 2 – Картина магнитного поля (линии одинаковой индукции), создаваемого индуктором с П-образным сердечником аппарата «Полюс-1».
Индуктор с прямым сердечником имеет прямоугольный корпус, рабочими частями которого являются не только передняя, но и торцовые, а также боковые стенки. Сердечник сечением 2х4 см собран из пластин трансформаторной стали толщиной 0,35мм. На сердечнике укреплены две последовательно включенные катушки.
Полостной индуктор предназначен для лечения ряда гинекологических заболеваний. Катушка индуктора представляет собой цилиндрический каркас с обмоткой, внутри которого помещен сердечник. Чтобы обеспечить заполнение цилиндрического окна каркас, сердечник состоит из прямоугольных пластин трансформаторной стали трех типоразмеров. Снаружи катушка закрыта полиэтиленовым колпаком с закругленным торцом. Наибольшая напряженность магнитного поля имеет место у торца индуктора. При гинекологических процедурах, проводимых с помощью этого индуктора, держатель аппарата не используется и индуктор крепится резиновым ремнем. Ремень имеет отверстия, с помощью которых он фиксируется на выступе 5 навинчиваемого на колпак индуктора кольца. Свободные концы ремня соединяются между собой фиксатором с двумя штырями.
На корпусе каждого индуктора нанесена стрелка, указывающая направление магнитных силовых линий (от S к N), создаваемых индуктором при его питании выпрямленным током. При питании переменным током направление магнитных силовых линий изменяется соответственно направлению тока через обмотку и поэтому стрелка не соответствует направлению поля в каждый данный момент времени. Однако стрелки при этом не теряют своего значения. С их помощью можно располагать два индуктора так, чтобы создаваемые ими магнитные поля взаимодействовали строго определенным образом. Такое взаимодействие отсутствует при раздельном использовании двух индукторов (например, одновременно на различные конечности) и в этом случае взаимное расположение полюсов значения не имеет. При совместном применении индукторов, когда расстояние между ними не превышает 10 см (например, для воздействия с двух сторон на сустав), следует располагать индукторы разноименными полюсами друг против друга. Это обеспечит более глубокое проникновение поля.
Виды магнитных полей.
Постоянным магнитным полем (ПМП) является поле, индукция которого не изменяется во времени. В каждой точке пространства вектор магнитного поля остается постоянным по значению и направлению. ПМП образуется либо постоянным магнитом, либо постоянным электрическим током, протекающим по какому-либо проводнику. Любой источник ПМП имеет два полюса: северный (N) и южный (S).
Переменное магнитное поле (ПеМП) образуется с помощью индукторов при питании их переменными токами. В ПеМП в каждой точке пространства изменяются как значение, так и направление вектора магнитной индукции в соответствии с законом изменения тока. Частным случаем ПеМП является синусоидальное магнитное поле, которое образуется при питании индуктора от промышленной сети переменного тока или от специального генератора синусоидальных колебаний. Такое поле является моногармоническим. Большинство промышленно выпускаемых магнитотерапевтических аппаратов либо непосредственно питаются от сети переменного тока, либо имеют в одном из режимов питание синусоидальным током. Поэтому в существующей научно-технической литературе аббревиатура «ПеМП» относится, в основном, именно к синусоидальным магнитным полям.
Пульсирующее магнитное поле (ПуМП) — частный случай переменного поля, у которого вектор магнитной индукции изменяется по уровню, но не изменяется по направлению. Такое поле образуется в индукторе при питании его пульсирующим током, получающимся, например, в результате одно- или двухполупериодного выпрямления. ПуМП является полигармоническим, его спектр содержит несколько гармонических составляющих.
Вращающееся магнитное поле (ВМП) характеризуется тем, что вектор магнитной индукции перемещается в пространстве (например, относительно поверхности формообразующего цилиндра). Вращающееся поле может быть как моногармоническим, так и пульсирующим. Создается ВМП с помощью трех- или многофазных преобразователей. При этом индукторы должны располагаться либо по окружности (для локальных воздействий), либо по образующей цилиндра (для общих воздействий). Использование ВМП позволяет индуцировать в электролитах однонаправленные электродвижущие силы, т.е. обеспечивать направленное перемещение электрически заряженных частиц, что в ряде случаев существенно повышает эффективность лечения.
Импульсное магнитное поле (ИМП) формируется с помощью индукторов при питании их импульсным током заданной формы. В лечебной практике применяются различные формы импульсов как моно -, так и биполярные. Кроме того, импульсы характеризуются длительностью, частотой (периодом повторения) или скважностью. ИМП обладают широким частотным спектром и отличаются большей биологической активностью по сравнению с ПуМП, ПеМП, ПМП. Ритмичный характер процессов в органах и тканях и импульсная терапия созвучны, поэтому импульсные воздействия легче «усваиваются» организмом.
Импульсное бегущее магнитное поле (ИБМП) представляет собой поле, перемещающееся в пространстве относительно неподвижного пациента и импульсно изменяющееся во времени. ИБМП обладает самым большим набором биотропных параметров и имеет наибольшую магнитобиологическую активность. Поскольку у бегущего (перемещающегося) поля имеется дополнительный позитивный фактор: изменение магнитного потока еще по одной координате (пространственной), то это в определенной степени усиливает эффекты взаимодействия. Воспроизвести ИБМП можно двумя способами: механическим перемещением источника импульсного магнитного поля относительно пациента и последовательным переключением тока в группе неподвижных индукторов. В абсолютном большинстве аппаратов подобного рода ИБМП формируется вторым способом: эффект бегущего магнитного поля создается переключением индукторов.
На рис. 3 представлена классификация электромагнитных полей естественного и искусственного происхождения. В ней выделена группа случайных магнитных полей (СлМП). Предполагается, что неорганизованные хаотичные магнитные поля могут негативно действовать на организм, вызывая у здоровых людей ощущение внутреннего дискомфорта, у больных — угнетение функциональной активности, а в ряде случаев — более серьезные осложнения. Вместе с тем есть основания предполагать, что изменяющиеся случайным образом магнитные поля — СлМП, сформированные искусственно с рядом заданных характеристик (плотность распределения вектора магнитной индукции, спектральная плотность мощности и др.), ориентированные относительно пораженного органа или всего тела человека и воздействующие по заданной программе, обладают общеукрепляющим и терапевтическим действием и могут быть также использованы для лечения. Однако конкретных сведений о создании и применении подобного поля для лечения у авторов не имеется.
Для усиления магнитобиологической активности искусственных магнитных полей в практике магнитотерапии используют дополнительные приемы: комбинации переменного и постоянного поля (постоянный фон), модуляцию низкочастотных переменных полей более высокочастотными составляющими, использование, наряду с непрерывными, прерывистых режимов питания индукторов, синхронизацию с биоритмами человека. Все эти меры приводят, по-видимому, к усилению динамики изменения магнитного потока, что делает взаимодействие поля с биоэлементами и частицами более активным. Разновидности магнитных полей, которые могут быть получены в результате возможных комбинаций частотно-временных параметров, отражены на рис. 4.

Рисунок 3 – Классификация электромагнитных полей

Рисунок 4 – Разновидности искусственных переменных магнитных полей (во временной области)
Наличие противоречивости во взаимодействии МП с живыми системами обусловливает необходимость детального разбора и изучения механизмов влияния их на организм человека. При решении этих задач нам представляется крайне важным соблюдать дифференцированный подход к оценке биологических эффектов физических полей различного происхождения и структуры: электрических, магнитных и электромагнитных, поскольку их влияние неоднозначно и имеет определенную специфику. Помимо этого следует определиться в перечне параметрических характеристик физических полей — «биотропных параметров», благодаря которым предопределяется возможность воздействия на биообъекты.
ЛИТЕРАТУРА
Системы комплексной электромагнитотерапии: Учебное пособие для вузов/ Под ред А.М. Беркутова, В.И.Жулева, Г.А. Кураева, Е.М. Прошина. – М.: Лаборатория Базовых знаний, 2000г. – 376с.
Электронная аппаратура для стимуляции органов и тканей /Под ред Р.И.Утямышева и М.Враны - М.: Энергоатомиздат, 2003.384с.
Ливенсон А.Р. Электромедицинская аппаратура. :[Учебн. пособие] - Мн.: Медицина, 2001. - 344с.