Фотоприемники на основе твердого раствора кадмий-ртуть-телур (КРТ)
Введение
В настоящее время тем, кто более-менее знаком с полупроводниковыми технологиями, сочетание букв КРТ – не пустой звук, а довольно обширная тема. Твердые растворы на основе КРТ доказали на практике свои преимущества, и областей, где их используют, сейчас довольно много. Тепловизионная техника, основанная на применении фотоприемников инфракрасного ИК-диапазона на длины волн 1–30 мкм, используется в различных областях народного хозяйства:
Использование ИК-фотоприемников на основе КРТ
– химическая промышленность;
– металлургия черных и цветных металлов;
– медицина (ранняя диагностика раковых опухолей и других заболеваний);
– геология (поиск нефтегазовый, рудных и нерудных месторождений и геотермальных вод);
– городское хозяйство (для обнаружения скрытых утечек тепла, горячей и холодной воды в теплотрассах и водопроводной сети, обнаружение карстовых полостей в районах массовой застройки, обнаружение нарушения изоляции электропроводки);
– сельское хозяйство (контроль увлажнения и иссушения почв, состояние посевов с/х культур, выявление поражения вредителями и болезнями посевов и т.д.);
– лесное хозяйство (выявление массового поражения леса вредителями, обнаружение очагов лесных пожаров при значительном задымлении);
– экология (тепловые загрязнения рек и водоёмов, загрязнения воздушного бассейна выбросами электростанций и других промышленных предприятий, наблюдение за миграцией подземных вод – отходов металлургической и химической промышленности);
– контроль и диагностика чрезвычайных ситуаций;
– энергетика (дистанционный контроль предаварийных ситуаций крупных энергетических объектов).
В чем же секрет успеха этих соединений?
Ведь если разобраться, в настоящее время у HgCdTe много больше конкурентов, чем когда-либо прежде. К ним относятся кремниевые диоды с барьером Шоттки, гетеропереходы SiGe, структуры с множеством квантовых ям на основе AlGaAs, сверхрешетки на основе напряженных слоев GalnSb, высокотемпературные сверхпроводники, а также два типа тепловых детекторов: пироэлектрические детекторы и кремниевые болометры. Однако ни один из вышеперечисленных детекторов не может конкурировать с HgCdTe по фундаментальным свойствам. Они могут быть более технологичными, но никогда не смогут обеспечить более высокие рабочие характеристики или, за исключением тепловых детекторов, функционировать при более высоких или даже сравнимых температурах.
Особые преимущества HgCdTe – прямая запрещенная зона, возможность получать как низкую, так и высокую концентрацию носителей заряда, высокую подвижность электронов и низкую диэлектрическую постоянную. Чрезвычайно малое изменение периода кристаллической решетки с изменением состава позволяет выращивать высококачественные многослойные структуры и структуры со ступенчатой шириной запрещенной зоны. HgCdTe может использоваться для детекторов, работающих в различных режимах, а также может быть оптимизирован для использования в диапазоне температур от жидкого гелия до комнатной в чрезвычайно широком диапазоне ИК-спектра (1–30 мкм). Такой широкий диапазон длин волн дает и широкие области применения.
1. Теоретические основы фотопроводимости. Типы проводимостей полупроводников
1.1 Собственная проводимость
Собственными полупроводниками являются химически чистые полупроводники, а их проводимость называется собственной проводимостью. Примером собственных полупроводников могут служить химически чистые Ge, Si, а также многие химические соединения: InSb, GaAs, CdS и др.
При 0 К и отсутствии других внешних факторов собственные полупроводники ведут себя как диэлектрики. При повышении же температуры электроны с верхних уровней валентной зоны I могут быть переброшены на нижние уровни зоны проводимости I I (рис. 1:3). При наложении на кристалл электрического поля они перемещаются против поля и создают электрический ток. Таким образом, зона I I из-за ее частичного «укомплектования» электронами становится зоной проводимости. Проводимость собственных полупроводников, обусловленная электронами, называется электронной проводимостью или проводимостью n-типа.

Рис. 1 Схемы проводимости п/п:1, а), б) примесная с донорной примесью; 2, а), б) примесная с акцепторной примесью; 3), 4) собственная.
В результате тепловых забросов электронов из зоны I в зону I I в валентной зоне возникают вакантные состояния, получившие название дырок. Во внешнем электрическом поле на освободившееся от электрона место – дырку – может переместиться электрон с соседнего уровня, а дырка появится в том месте, откуда ушел электрон, и т. д. Такой процесс заполнения дырок электронами равносилен перемещению дырки в направлении, противоположном движению электрона, так, как если бы дырка обладала положительным зарядом, равным по величине заряду электрона.
Проводимость собственных полупроводников, обусловленная квазичастицами – дырками, называется дырочной проводимостью или проводимостью р-типа.
Таким образом, в собственных полупроводниках наблюдаются два механизма проводимости – электронный и дырочный. Число электронов в зоне проводимости равно числу дырок в валентной зоне, так как последние соответствуют электронам, возбужденным в зону проводимости. Следовательно, если концентрации электронов проводимости и дырок обозначить соответственно n>e> и n>р>, то n>e> = n>р.>
Проводимость полупроводников всегда является возбужденной, т.е. появляется только под действием внешних факторов (температуры, облучения, сильных электрических полей и т.д.).
В собственном полупроводнике уровень Ферми находится в середине запрещенной зоны (рис. 1:4). Действительно, для переброса электрона с верхнего уровня валентной зоны на нижний уровень зоны проводимости затрачивается энергия активации, равная ширине запрещенной зоны ΔE. При появлении же электрона в зоне проводимости в валентной зоне обязательно возникает дырка. Следовательно, энергия, затраченная на образование пары носителей тока, должна делиться на две равные части. Так как энергия, соответствующая половине ширины запрещенной зоны, идет на переброс электрона и такая же энергия затрачивается на образование дырки, то начало отсчета для каждого из этих процессов должно находиться в середине запрещенной зоны. Энергия Ферми в собственном полупроводнике представляет собой энергию, от которой происходит возбуждение электронов и дырок.
1.2 Примесная проводимость
Проводимость полупроводников, обусловленная примесями, называется примесной проводимостью, а сами полупроводники – примесными полупроводниками. Примесная проводимость обусловлена примесями (атомы посторонних элементов), а также дефектами типа избыточных атомов (по сравнению со стехиометрическим составом), тепловыми (пустые узлы или атомы в междоузлиях) и механическими (трещины, дислокации и т.д.) дефектами. Наличие в полупроводнике примеси существенно изменяет его проводимость. Например, при введении в кремний примерно 0,001 ат.% бора его проводимость увеличивается примерно в 106 раз.
Примесную проводимость полупроводников рассмотрим на примере Ge и Si, в которые вводятся атомы с валентностью, отличной от валентности основных атомов на единицу. Например, при замещении атома германия пятивалентным атомом мышьяка (рис. 1:1.а) один электрон не может образовать ковалентной связи, он оказывается лишним и может быть легко при тепловых колебаниях решетки отщеплен от атома, т. е. стать свободным. Образование свободного электрона не сопровождается нарушением ковалентной связи; следовательно, в отличие от случая, рассмотренного выше, дырка не возникает. Избыточный положительный заряд, возникающий вблизи атома примеси, связан с атомом примеси и поэтому перемещаться по решетке не может.
С точки зрения зонной теории рассмотренный процесс можно представить следующим образом (рис. 1:1.б). Введение примеси искажает поле решетки, что приводит к возникновению в запрещенной зоне энергетического уровня D валентных электронов мышьяка, называемого примесным уровнем. В случае германия с примесью мышьяка этот уровень располагается от дна зоны проводимости на расстоянии ΔЕ>D> = 0.013 эВ. Так как ΔЕ>D> < kT, то уже при обычных температурах энергия теплового движения достаточна для того, чтобы перебросить электроны примесного уровня в зону проводимости; образующиеся при этом положительные заряды локализуются на неподвижных атомах мышьяка и в проводимости не участвуют.
Таким образом, в полупроводниках с примесью, валентность которой на единицу больше валентности основных атомов, носителями тока являются электроны; возникает электронная примесная проводимость (проводимость n-типа). Полупроводники с такой проводимостью называются электронными (или полупроводниками n-типа). Примеси, являющиеся источником электронов, называются донорами, а энергетические уровни этих примесей – донорными уровнями.
Предположим, что в решетку кремния введен примесный атом с тремя валентными электронами, например бор (рис. 1:2.а). Для образования связей с четырьмя ближайшими соседями у атома бора не хватает одного электрона, одна из связей остается неукомплектованной и четвертый электрон может быть захвачен от соседнего атома основного вещества, где соответственно образуется дырка. Последовательное заполнение образующихся дырок электронами эквивалентно движению дырок в полупроводнике, т.е. дырки не остаются локализованными, а перемещаются в решетке кремния как свободные положительные заряды. Избыточный же отрицательный заряд, возникающий вблизи атома примеси, связан с атомом примеси и по решетке перемещаться не может.
По зонной теории, введение трехвалентной примеси в решетку кремния приводит к возникновению в запрещенной зоне примесного энергетического уровня А, не занятого электронами. В случае кремния с примесью бора этот уровень располагается выше верхнего края валентной зоны на расстоянии ΔЕ>А> = 0.08 эВ (рис. 1:2.б). Близость этих уровней к валентной зоне приводит к тому, что уже при сравнительно низких температурах электроны из валентной зоны переходят на примесные уровни и, связываясь с атомами бора, теряют способность перемещаться по решетке кремния, т.е. в проводимости не участвуют. Носителями тока являются лишь дырки, возникающие в валентной зоне.
Таким образом, в полупроводниках с примесью, валентность которой на единицу меньше валентности основных атомов, носителями тока являются дырки; возникает дырочная проводимость (проводимость р-типа). Полупроводники с такой проводимостью называются дырочными (или полупроводниками р-типа). Примеси, захватывающие электроны из валентной зоны полупроводника, называются акцепторами, а энергетические уровни этих примесей – акцепторными уровнями.
В отличие от собственной проводимости, осуществляющейся одновременно электронами и дырками, примесная проводимость полупроводников обусловлена в основном носителями одного знака: электронами – в случае донорной примеси, дырками – в случае акцепторной. Эти носители тока называются основными. Кроме основных носителей в полупроводнике имеются и неосновные носители: в полупроводниках n-типа – дырки, в полупроводниках р-типа – электроны.

Рис.2 а) расположение уровня Ферми в п/п n-типа при 0 К;
б) расположение уровня Ферми в п/п p-типа при 0 К;
в) график зависимости
ln
от 1/Т для примесного п/п.
Наличие примесных уровней в полупроводниках существенно изменяет положение уровня Ферми E>F>. Расчеты показывают, что в случае полупроводников n-типа уровень Ферми E>Fo> при 0 К расположен посередине между дном зоны проводимости и донорным уровнем (рис. 2, а).
С повышением температуры все большее число электронов переходит из донорных состояний в зону проводимости, но, помимо этого, возрастает и число тепловых флуктуаций, способных возбуждать электроны из валентной зоны и перебрасывать их через запрещенную зону энергий. Поэтому при высоких температурах уровень Ферми имеет тенденцию смещаться вниз (сплошная кривая) к своему предельному положению в центре запрещенной зоны, характерному для собственного полупроводника.
Уровень Ферми в полупроводниках р-типа при Т = 0 К E>Fo> располагается посередине между потолком валентной зоны и акцепторным уровнем (рис. 2, б). Сплошная кривая опять-таки показывает его смещение с температурой. При температурах, при которых примесные атомы оказываются полностью истощенными и увеличение концентрации носителей происходит за счет возбуждения собственных носителей, уровень Ферми располагается посередине запрещенной зоны, как в собственном полупроводнике.
Проводимость примесного полупроводника, как и проводимость любого проводника, определяется концентрацией носителей и их подвижностью. С изменением температуры подвижность носителей меняется по сравнительно слабому степенному закону, а концентрация носителей – по очень сильному экспоненциальному закону, поэтому проводимость примесных полупроводников от температуры определяется в основном температурной зависимостью концентрации носителей тока в нем. На (рис. 2, в) дан примерный график ln σ от 1/Т для примесных полупроводников. Участок АВ описывает примесную проводимость полупроводника. Рост примесной проводимости полупроводника с увеличением температуры обусловлен в основном повышением концентрации примесных носителей. Участок ВС соответствует области истощения примесей, участок CD описывает собственную проводимость полупроводника.
Фотопроводимость полупроводников
Увеличение электропроводности полупроводников может быть обусловлено не только тепловым возбуждением носителей тока, но и под действием электромагнитного излучения. В таком случае говорят о фотопроводимости полупроводников. Фотопроводимость полупроводников может быть связана со свойствами как основного вещества, так и содержащихся в нем примесей. В первом случае при поглощении фотонов, соответствующих собственной полосе поглощения полупроводника т. е. когда энергия фотонов равна или больше ширины запрещенной зоны (hν ≥ ∆E), могут совершаться перебросы электронов из валентной зоны в зону проводимости (рис. 3, а), что приведет к появлению добавочных (неравновесных) электронов (в зоне проводимости) и дырок (в валентной зоне). В результате возникает собственная фотопроводимость, обусловленная электронами и дырками.

Рис.3 Схемы фотопроводимости полупроводника:
а) собственная ф/п;
б) примесная ф/п, донорная примесь, п/п n-типа;
в) примесная ф/п, акцепторная примесь, п/п p-типа.
Если полупроводник содержит примеси, то фотопроводимость может возникать и при hν < ∆E: для полупроводников с донорной примесью фотон должен обладать энергией hν ≥ ∆E>D>, а для полупроводников с акцепторной примесью hν ≥ ∆E>A>. При поглощении света примесными центрами происходит переход электронов с донорных уровней в зону проводимости в случае полупроводника n-типа (рис. 3, б) или из валентной зоны на акцепторные уровни в случае полупроводника р-типа (рис. 3, в). В результате возникает примесная фотопроводимость, являющаяся чисто электронной для полупроводников n-типа и чисто дырочной для полупроводников р-типа.
Из условия hν = hc/λ можно определить красную границу фотопроводимости – максимальную длину волны, при которой еще фотопроводимость возбуждается:
для собственных полупроводников λ>0> = hc/∆E
для примесных полупроводников λ>0> = hc/∆E>п>
(∆E>п> – в общем случае энергия активации примесных атомов).
Учитывая значения ∆E и ∆E>п> для конкретных полупроводников, можно показать, что красная граница фотопроводимости для собственных полупроводников приходится на видимую область спектра, для примесных же полупроводников – на инфракрасную.
Тепловое или электромагнитное возбуждение электронов и дырок может и не сопровождаться увеличением электропроводности. Одним из таких механизмов может быть механизм возникновения экситонов. Экситоны представляют собой квазичастицы – электрически нейтральные связанные состояния электрона и дырки, образующиеся в случае возбуждения с энергией, меньшей ширины запрещенной зоны. Уровни энергии экситонов располагаются у дна зоны проводимости. Так как экситоны электрически нейтральны, то их возникновение в полупроводнике не приводит к появлению дополнительных носителей тока, вследствие чего экситонное поглощение света не сопровождается увеличением фотопроводимости.
Прямозонные и непрямозонные полупроводники и их фотопроводимость
Прямозонные полупроводники, такие как арсенид галлия, начинают сильно поглощать свет, когда энергия кванта превышает ширину запрещённой зоны. Такие полупроводники очень удобны для использования в оптоэлектронике. Эти полупроводниковые материалы имеют прямую запрещенную зону, как показано на рис. 4.б. В данном случае электроны валентной и зон проводимости имеют близкие импульсы, потому высока вероятность прямых излучательных переходов и, следовательно, высока внутренняя квантовая эффективность.
Непрямозонные полупроводники, например, кремний, поглощают в области частот света с энергией кванта чуть больше ширины запрещённой зоны значительно слабее, только благодаря непрямым переходам, интенсивность которых зависит от присутствия фононов, и следовательно, от температуры. Граничная частота прямых переходов кремния больше 3 эВ, то есть лежит в ультрафиолетовой области спектра.
Известно, что Si, Ge – непрямозонные полупроводники. Это означает, что электрон, находящийся вблизи дна зоны проводимости, имеет импульс, отличающийся от импульса электрона, находящегося вблизи потолка валентной зоны. Это определение иллюстрирует рис. 4.а, из которого видно, что в данном случае зона-зонный переход возможен только при условии компенсации импульсов электронов.

Рис. 4 Схемы рекомбинации
а) в непрямозонном п/п, б) в прямозонном п/п\\
Она может происходить, если при рекомбинации излучается фотон высокой энергии, при этом происходит компенсация импульсов и генерируется фонон. Ещё более трудно выполнимым оказывается условие одновременности этих двух процессов, что приводит к снижению вероятности именно такого рекомбинационного перехода. Таким образом, в непрямозонных полупроводниках преобладают безызлучательные переходы, поэтому внутренняя квантовая эффективность мала.
Полная проводимость
полупроводника определяется равновесными
носителями заряда n>0>,
/p>0>
и фотоносителями
и
равна:
=
e[
)].
Так как темновая
проводимость
,
то фотопроводимость полупроводника,
обусловленная непосредственным действием
излучения, есть

Отношение фотопроводимости σ>ф> к интенсивности света определяет удельную фоточувствительность полупроводника
S>ф>=
>ф>/l.
1.3 Преимущества КРТ
За годы развития HgCdTe уменьшился спрос на примесные кремниевые приемники и приемники на соединениях PbSnTe, но, несмотря на это, в настоящее время у HgCdTe много больше конкурентов, чем когда-либо прежде. К ним относятся кремниевые диоды с барьером Шоттки, гетеропереходы SiGe, структуры с множеством квантовых ям на основе AlGaAs, сверхрешетки на основе напряженных слоев GalnSb, высокотемпературные сверхпроводники, а также два типа тепловых детекторов: пироэлектрические детекторы и кремниевые болометры. Однако ни один из вышеперечисленных детекторов не может конкурировать с HgCdTe по фундаментальным свойствам. Они могут быть более технологичными, но никогда не смогут обеспечить более высокие рабочие характеристики или, за исключением тепловых детекторов, функционировать при более высоких или даже сравнимых температурах.
Особые преимущества HgCdTe – прямая запрещенная зона, возможность получать как низкую, так и высокую концентрацию носителей заряда, высокую подвижность электронов и низкую диэлектрическую постоянную. Чрезвычайно малое изменение периода кристаллической решетки с изменением состава позволяет выращивать высококачественные многослойные структуры и структуры со ступенчатой шириной запрещенной зоны. HgCdTe может использоваться для детекторов, работающих в различных режимах, а также может быть оптимизирован для использования в диапазоне температур от жидкого гелия до комнатной в чрезвычайно широком диапазоне ИК-спектра (1–30 мкм).
Такой широкий диапазон длин волн дает и широкие области применения:
Применение ИК фотоприемников.
Тепловизионная техника, основанная на применении фотоприемников инфракрасного (ИК) диапазона используется в различных областях народного хозяйства:
– химическая промышленность;
– металлургия черных и цветных металлов;
– медицина (ранняя диагностика раковых опухолей и других заболеваний);
– геология (поиск нефтегазовый, рудных и нерудных месторождений и геотермальных вод);
– городское хозяйство (используют для обнаружения скрытых утечек тепла, горячей и холодной воды в теплотрассах и водопроводной сети, обнаружение карстовых полостей в районах массовой застройки, обнаружение нарушения изоляции электропроводки);
– сельское хозяйство (контроль увлажнения и иссушения почв, состояние посевов с/х культур, выявление поражения вредителями и болезнями посевов и т.д.);
– лесное хозяйство (выявление массового поражения леса вредителями, обнаружение очагов лесных пожаров при значительном задымлении);
– экология (тепловые загрязнения рек и водоёмов, загрязнения воздушного бассейна выбросами электростанций и других промышленных предприятий, наблюдение за миграцией подземных вод – отходов металлургической и химической промышленности);
– контроль и диагностика чрезвычайных ситуаций;
– энергетика (дистанционный контроль предаварийных ситуаций крупных энергетических объектов).
– КРТ материал относится к собственным полупроводникам, поэтому чувствительность детекторов на его основе выше, чем чувствительность детекторов на основе примесных полупроводников.
- В этом материале время жизни носителей довольно мало, диэлектрическая постоянная невелика, поэтому быстродействие детекторов на основе КРТ высокое.
– Возможность варьировать ширину запрещенной зоны.
– Еще одно преимущество КРТ перед другими материалами заключается в возможности (и это подтверждено опытными разработками) изготавливать многоэлементные линейные и двумерные матрицы фотодетекторов, чувствительных в спектральном диапазоне 10–12 мкм при температуре 77К и в диапазоне 4–6 мкм при температуре 220К (-60 С).
Преимущества гетероэпитаксиальных структур КРТ по сравнению с объемными кристаллами КРТ.
– Преимуществом структур является существенное упрощение технологии изготовления ИК фотоприемников. ГЭС (Гетероэпитаксиальные структуры) КРТ не уступают по свойствам объемным кристаллам КРТ, превосходят их по технологичности изготовления фотоприемников и пригодны для производства многоэлементных фотоприемников с параметрами, близкими к предельным.
– Этот материал может быть изготовлен с различной шириной запрещенной зоны, так что приборы на его основе могут регистрировать ИК-излучение в диапазоне 1.6 – 20 мкм.
1.4 HgCdTe: свойства и технология
С точки зрения фундаментальных свойств HgCdTe – очень привлекательный материал, он пользуется большим спросом в течение последних тридцати лет. HgCdTe – полупроводниковый твердый раствор со структурой цинковой обманки, чьи свойства меняются непрерывно с изменением состава х между фазами бинарных соединений. Для того чтобы дать полное описание свойств и сказать, как они изменяются с х, необходимо большое число экспериментальных данных. В отличие от сильной зависимости полупроводниковых свойств от состава, период кристаллической решетки CdTe только на 0.3% больше, чем период кристаллической решетки HgTe. Здесь представлены фундаментальные свойства материала, важные при создании ИК-детекторов, а также связанные с технологией.
Полупроводниковые свойства
Рабочие характеристики ИК-фотодетекторов определяются следующими основными свойствами используемого полупроводника: шириной запрещенной зоны, собственной концентрацией, подвижностями электронов и дырок, коэффициентом поглощения, скоростями тепловой генерации и рекомбинации. Табл. 1 содержит перечень основных параметров материала.
Зонная структура
Электрические и оптические свойства Hg>1->>x>Cd>x>Te определяются структурой запрещенной зоны вблизи Г-точки зоны Бриллюэна. Формы электронной зоны и зоны легких дырок определяются шириной запрещенной зоны и матричным элементом импульса. Ширина запрещенной зоны этого соединения при температуре 4.2 К варьируется от -0,300 эВ для полуметаллического HgTe, проходит ноль при х = 0.15 и далее увеличивается до 1.648 эВ для CdTe.
Таблица 1. Физические свойства Hg>1->>x>Cd>x>Te (х = 0; 0.2; 1)
|
Свойства |
Т, К. |
HgTe |
Hg>0.8>Cd>0.2>Te |
CdTe |
|
Постоянная решетки А, А |
300 |
6.4614 |
6.4637 |
6.4809 |
|
Коэф. теплового расширения а, 10 -6 К. |
300 |
4.2 |
4.1 |
4.1 |
|
Тепловая проводимость С, Вт/(см • К) |
300 |
0.031 |
0.013 |
0.057 |
|
Плотность р, г/см3 |
300 |
8.076 |
7.630 |
5.846 |
|
Температура плавления Т>m>, К. |
943 |
940 (тв.) |
||
|
1050 (жид.) |
1365 |
|||
|
Ширина запрещенной зоны E>g>, эВ |
300 |
-0.1415 |
0.1546 |
1.4895 |
|
77 |
-0.2608 |
0.0830 |
1.6088 |
|
|
4.2 |
-0.2998 |
0.05960 |
1.6478 |
|
|
Эффективные массы: m* /m |
77 |
0.029 |
0.0064 |
0.096 |
|
mh*/m |
0.35–0.7 |
0.4–0.7 |
0.66 |
|
|
Подвижности,
см2/(В
• с):
|
77 |
2.5 х105 |
4x104 |
|
|
|
7x102 |
3.8 х 104 |
||
|
Собственная концентрация ni, см-3 |
300 |
3.4 х 1016 |
||
|
77 |
9.9 х 1013 |
|||
|
Статическая
диэлектрическая постоянная
|
300 |
20.8 |
17.8 |
10.5 |
|
Высокочастотная
диэлектрическая
постоянная
|
300 |
15.1 |
13.0 |
7.2 |
Подвижности
Благодаря малым эффективным массам, значения подвижности электронов в HgCdTe являются высокими, в то время как подвижность тяжелой дырки – на два порядка ниже. Подвижность электронов определяется рядом механизмов рассеяния, включая рассеяние на ионизированных примесях и разупорядоченностях соединения, электрон – электронные и дырка – дырочные взаимодействия, рассеяние на акустических и полярных оптических фононах. Рассеяние на неполярных оптических фононах вносит значительный вклад в р-типе и полуметаллических материалах n-типа. Несмотря на то, что результаты расчета значений подвижности электронов в основном хорошо согласуются с экспериментом, все еще нет общего теоретического понимания подвижности дырки в HgCdTe.
Электронная подвижность в Hg>1->>x>Cd>x>Te (в см2/(В • с)) в диапазоне составов 0.2 < х < 0.6 и при температурах Т > 50 К может быть аппроксимирована как
>е>
=
с
Где г=(0.2/х)0,6, s = (0.2/x)7.5.
Используют следующую
эмпирическую формулу подвижности
>е>
для слаболегированного материала
n-типа:
>е>=9х104(me;
T)-3/2.
(13)
Эта формула может
быть связана с формулой подвижности
для рассеяния на ионизированной примеси
при приблизительной оценке зависимостей
>е>
с изменением
состава х
и уровня
легирования полупроводника при
температуре >77 К. Предлагают
эмпирическую формулу (действующую в
диапазоне составов 0.18 < х < 0.25) для
изменения подвижности
>е>
с изменением х
при 300 К
для самых высококачественных материалов:
>е>=104(8.754х-1.044)-1см2/(В•с).
(14)
Значения подвижности дырок при комнатной температуре изменяются в диапазоне от 40 до 80 см2/(В • с), температурные зависимости относительно слабы. Дырочная подвижность при температуре 77 К на порядок выше, чем при комнатной температуре. При моделировании фотоприемников ИК-излучения обычно полагают, что дырочная подвижность вычисляется при предположении, что отношение подвижностей электрона и дырки b= m>e>/m>h> постоянна и равна 100.
Оптические свойства
Оптические свойства HgCdTe исследованы, главным образом, при значениях энергии порядка ширины запрещенной зоны. Коэффициент поглощения при оптической генерации носителей может быть рассчитан в рамках модели Кейна, включая сдвиг Мосса–Бурштейна. Легирование полупроводника примесью р-типа увеличивает поглощение благодаря снижению заполнения зоны.
До сих пор появляются значительные несоответствия между известными данными относительно значений коэффициента поглощения. Это вызвано различными концентрациями собственных дефектов и примесей, неравномерным составом и легированием, неоднородностью толщины образцов, механическими деформациями и различными способами обработки поверхности. В высококачественных образцах измеренное поглощение в коротковолновой области спектра находится в хорошем согласии с рассчитанным по модели Кейна, в то время как на длинноволновой границе появляется экспоненциальный хвост. Наличие хвостов зон увеличивается из-за собственных точечных дефектов, примесей и других нарушений в кристалле:
см-1,
(15)
где Е выражено в электрон-вольтах, Т – в Кельвинах, Т>0> = 81.9,
Е>0>
= -0.3424 +
1.838x
+ 0.148x2,
=3.267
х 104(1
+ х) и
>0>
= exp
(53.61x
– 18.88). Наилучшее согласие с моделью
Кейна достигается в области E>g>
= E(
=
500 см-1).
Точка перехода между областью, описываемой
моделью Кейна, и экспоненциальным
хвостом при температуре 300 К находится
при
t
= 100 + 5000x. Значительное поглощение HgCdTe
ниже границ поглощения может быть
связано с внутризонными переходами как
в зоне проводимости, так и в валентной
зоне, а также с переходами между подзонами
валентной зоны.
Измерение поглощения является, возможно, наиболее общим стандартным методом для определения состава и его распределения в объемных кристаллах и эпитаксиальных слоях. Как правило, для толстых (>0.1 мм) образцов используется уровень поглощения 0.5 или 1% для верхней граничной длины волны, для более тонких образцов – различные методы.
Состав эпитаксиальных слоев обычно определяется из значения длины волны, соответствующей половине максимального пропускания 0.5Т>m>>ах>. Определение состава может быть затруднено наличием градиента состава по толщине. Измерения коэффициента отражения в ультрафиолетовом и видимом спектрах также используются для определения состава, особенно для характеризации поверхностной области при глубине проникновения 10–30 нм.
Местонахождение ширины запрещенной зоны Eg обычно измеряется по положению максимума коэффициента отражения, а состав рассчитывается из экспериментального выражения
E>1> = 2.087 + 0.7109x + 0.1421x 2+ 0.3623x3. (16)
Сильно влияют на свойства КРТ легирующие примеси
Легирующие примеси
1.5 Выращивание объемных кристаллов КРТ и получение тонких эпитаксиальных слоев КРТ
Для производства ИК-фотодетекторов с высокими характеристиками необходим высококачественный полупроводниковый материал. Основными требованиями, предъявляемыми к материалу, являются: низкая концентрация дефектов, большой размер пластин, однородность и воспроизводимость собственных и примесных свойств материала. Постоянно прогрессируя, производство HgCdTe развивалось от метода выращивания объемных кристаллов из расплава при высокой температуре к методам низкотемпературной жидкофазной эпитаксии и эпитаксии из паровой фазы. Однако стоимость и доступность высококачественного HgCdTe большой площади все еще являются сдерживающими факторами при производстве фотоприемников.
Для успешного производства HgCdTe необходимо фундаментальное понимание термодинамики и химии твердого тела.
Обобщенная модель раствора оказалась успешной для объяснения экспериментальных данных и предсказывает диаграмму состояния полной Hg-Cd-Te системы. Предполагалось, что жидкая фаза – это смесь Hg, Те, Cd, HgTe и CdTe. Газовая фаза материала содержит атомы Hg, Cd и молекулы Те>2>. Состав твердотельного материала может быть описан обобщенной формулой
(Hg>1->>x>Cd>x>)>1->>y>Te>y>. Обычная формула Hg>1->>x>Cd>x>Te соответствует псевдобинарному соединению CdTe и HgTe (у=0.5) с полной взаимной растворимостью. Предполагается, что псевдобинарная фазовая область со структурой цинковой обманки в Hg>1->>x>Cd>x>Te расширена в область обогащенного Те материала с шириной порядка 1%. Ширина уменьшается при понижении температуры. Следствием подобной формы диаграммы является наличие включений теллура. Излишек теллура из-за вакансий в металлической подрешетке приводит к тому, что чистый материал обладает проводимостью р-типа. Отжиг при низкой температуре (200–300 К) уменьшает концентрацию собственных дефектов (преимущественно акцепторов) и образует неконтролируемый (преимущественно донорный) примесный фон.
Большинство проблем в процессе выращивания кристаллов обусловлены разностью между кривыми солидуса и ликвидуса, приводящей к сегрегации бинарных соединений во время кристаллизации из расплава. Поверхностная сегрегация – это явление изменения состава, структуры и свойств поверхностных слоев атомов вещества в конденсированном состоянии, то есть в твердом или жидком состояниях. Причина поверхностной сегрегации – резкое изменение атомной структуры (уменьшение числа соседних атомов) в поверхности по сравнению с объемом. Вместе с тем у поверхностных атомов остается стремление к достижению минимума свободной энергии. Поэтому явление поверхностной сегрегации охватывает и ряд других явлений: поверхностные реконструкции, релаксации, поверхностные фазы. Коэффициент сегрегации для процесса выращивания из расплава зависит от давления ртути. Серьезные проблемы возникают также при высоких давлениях ртути над псевдобинарным расплавом. Слабая Hg-Te связь приводит к низкой энергии активации дефектообразования и миграции атомов Hg в матрице. Это может вызывать объемную и поверхностную нестабильность. Однако указанные трудности были систематически преодолены в течение последних трех десятилетий.
Объемные кристаллы
В настоящее время наиболее часто для изготовления высококачественных материалов используется выращивание объемных кристаллов из жидкой фазы. Этот метод применялся главным образом для изготовления одноэлементных фоторезисторов n-типа, матриц и SPRITE-детекторов для первого поколения систем тепловидения и обнаружения. Фотоприемник SPRITE (Signal Processing In The Element). Иногда его называют по имени изобретателя – TED (Tom Elliot Detector). В ФПУ (Фотоприемное устройство) SPRITE задержка и суммирование принимаемых сигналов происходит внутри самого чувствительного элемента. Это исключает необходимость в электронных схемах, обычно применяемых в линейных системах ФПУ. Это упрощает процесс обработки сигналов. По сравнению с традиционными ФПУ SPRITE-детектор имеет малое количество проводников на входе и выходе. Это упрощает систему охлаждения. Кроме того, SPRITE-детектор характеризуется упрощенной схемой задержки и суммирования сигналов. Однако SPRITE-детектор требует специфического блока развертки изображения. В нем используется сканирующая зеркальная призма, грани которой выполнены под определенным углом к оси ее вращения. Из объемного материала создаются высоконадежные детекторы для космоса, а также для коммерческих систем типа ИК-спектрометров. Хорошая однородность, отличные электрические свойства (концентрация носителей <1014 см-3), высокая подвижность и большие времена жизни неосновных носителей заряда являются стандартными характеристиками поставляемых в продажу материалов. Стоимость качественного материала все еще высока и зависит от состава, легирования полупроводника и диапазона характеристик.
При выращивании объемных кристаллов для массового производства материала используется ряд методов. Выращивание включает в себя также возможность зонной очистки и перегонку первоначальных ингредиентов. Как следует из диаграммы состояния, во время кристаллизации из расплава имеет место сильная сегрегация, которая снижается при быстром охлаждении. Поэтому традиционными методами выращивания из расплава типа стандартного метода Бриджмена производятся кристаллы с большими продольными и осевыми отклонениями состава, которые являются препятствием для получения качественных материалов. Улучшенный процесс выращивания Бриджмена–Стокбаргера и метод ускоренного вращения тигля (ACRT) все еще используются для обеспечения достаточного объема производства матричных детекторов.
Метод Бриджмена-Стокбаргера
Этот метод уже старый, практически не применяемый. Заключается в том, что через печь, имеющую неравномерное распределение температуры по длине, протягивается ампула с материалом (возможна неподвижная ампула и движущаяся печь). Ампула имеет заостренный конец для исключения образования большого числа зародышей.
Другой вариант реализации конструкции – ампула с «перетяжкой», через которую прорастает только зародыш одного кристаллографического направления. Метод прост и экономичен (рис. 5.).

Рис.5 Выращивание по методу Бриджмена-Стокбаргера: а – ампула с заостренным концом; б – аппаратурная реализация метода; в-распределение температуры по длине печи.
Еще одним методом выращивания однородных и высококачественных кристаллов является метод «закалки-отжига» (также называемый модифицированным методом Бриджмена и методом твердотельной рекристаллизации (ТТР)). При выращивании данным методом слиток заданного состава синтезируется, расплавляется и закаляется. Затем полученная мелкозернистая дендритовая масса отжигается при температуре ниже температуры ликвидуса в течение нескольких недель, для того чтобы кристалл рекристаллизовался и гомогенизировался. Предложены различные пути улучшения процесса, включая отжиг при температурном градиенте и медленное остывание для предотвращения преципитации теллура. Для регулировки концентрации собственных дефектов материалу обычно требуется низкотемпературный отжиг. Кристаллы могут быть также однородно легированы введением легирующих примесей в слиток.
Метод «закалки-отжига» имеет некоторые недостатки. Поскольку сегрегации не происходит, все примеси, имеющиеся в слитке, замораживаются в кристалле, поэтому требуются высокочистые исходные элементы. Максимальный диаметр слитков ограничен приблизительно 1.5 см, так как для подавления сегрегации в слитках большого диаметра необходима слишком низкая скорость охлаждения. Кристаллы содержат дефекты типа малых угловых границ.
Относительно однородные и совершенные кристаллы могут быть выращены в таких системах, в которых обеднение расплава в широкозонном бинарном материале компенсируется постоянным пополнением из твердотельных «слаш» (slush) частиц, взвешенных в верхней части расплава.
Большие и однородные кристаллы диаметром до ~5 см можно вырастить, используя зонную плавку. Температуру роста можно существенно снизить, используя рост кристаллов из обогащенных (Те) расплавов. Одна из успешных реализаций этого метода – метод движущегося нагревателя, который объединяет преимущества роста из растворов при низкой температуре с ростом при равновесных условиях, как в методе зонной плавки. Выращивание этим методом кристаллов отличного качества происходит с низкой скоростью роста.
Эпитаксиальные слои
Объемный материал на основе HgCdTe в значительной степени непригоден для более высокотехнологичных применений из-за дефектов материала, включая малоугловые границы зерен и области высокой концентрации дислокаций. Эпитаксиальные методы выращивания HgCdTe, по сравнению с объемными методами, дают возможность выращивать эпитаксиальные слои большой площади (=30 см2) и сложные многослойные структуры с крутыми и сложными профилями состава и профилями легирования полупроводника, необходимые для достижения высоких рабочих характеристик фотодетекторов. Рост происходит при низких температурах, что позволяет уменьшить плотность собственных дефектов. Благодаря низкому давлению ртути не требуется толстостенных ампул, а рост может быть проведен в стандартных системах промышленного типа. Выращенные таким образом эпитаксиальные слои могут быть отожжены при низкой температуре. Эпитаксиальные слои можно использовать для фоторезисторов без ненадежного и отнимающего много времени процесса уменьшения толщины.
Все эпитаксиальные методы связаны с общей проблемой – потребностью в дешевых подложках большой площади, которые структурно, химически, оптически и механически согласованы с полупроводниками на основе Hg. До настоящего времени не найдено подложки, которая бы удовлетворяла одновременно всем требованиям. CdTe и тройные соединения с близко согласованными решетками из семейства Cd-Zn-Te, Cd-Te-Se и Cd-Mn-Te наиболее часто используются в качестве подложек. Они применяются при выращивании эпитаксиальных слоев с параметрами, соответствующими качеству объемных кристаллов. Подложки обычно выращиваются модифицированным вертикальным и горизонтальным методом Бриджмена без затравки.
Метод горизонтальной направленной кристаллизации Бриджмена (рис. 6.).
В этом методе используется заранее выращенная монокристаллическая затравка. Процесс происходит в атмосфере водорода или инертного газа.
Структурное совершенство кристаллов, получаемых этим методом, выше, чем в вертикальном варианте – открытая поверхность уменьшает механические напряжения. Перемещается либо печь относительно реактора (как на рис. 6.), либо ампула в реакторе. На заводе «Сапфир» этим методом сейчас выращивают, например, сапфир для подложек.

Рис. 6. а) Направленная кристаллизация по методу Бриджмена: 1 – монокристаллическая затравка; 2 – печь; 3 – лодочка; 4 – реактор;
б) График изменения температуры по длине слитка.
Обычно используются ориентации (111) и (100). Ограниченный размер, проблемы чистоты, преципитация теллура, концентрация дислокаций, разброс постоянных решеток и высокая цена – проблемы, требующие своего решения. Предполагается, что такие подложки будут востребованы в течение длительного времени, особенно для детекторов с самыми высокими рабочими характеристиками. В случае выращивания эпитаксиальных слоев HgCdTe на подложках CdZnTe размер матриц фокальной плоскости ограничен 8x8 мм.
Перспективный подход для получения дешевых подложек – применение гибридных подложек, которые представляют собой многослойные структуры, состоящие из пластин объемного кристалла, закрытых буферными слоями с согласованной решеткой. Объемные полупроводниковые материалы Si, GaAs, InSb, InP и сапфир являются высококачественными, дешевыми и легкодоступными кристаллами, которые в этом случае можно использовать. В качестве буферных слоев наносится пленка CdZnTe толщиной несколько микрон, полученная неравновесным методом выращивания, обычно осаждением из паровой Фазы. Эта технология относится к так называемой РАСЕ (for Producible Alternative to CdTe for Epitaxy), т.е. эпитаксиальная технология на подложках, альтернативных CdTe. Поглощение сапфиром в ИК-области ограничивает использование РАСЕ-1 (CdTe/сапфир) для матриц фокальной плоскости до длин волн <5.5 мкм. Для диапазона длин волн 8–12 мкм длинноволновой области ИК-излучения разработана технология РАСЕ-2 для производства детекторов, изготавливаемых на подложках из арсенида галлия (GaAs). Поскольку GaAs имеет коэффициент теплового расширения, сравнимый с коэффициентом теплового расширения CdTe, матрицы фокальной плоскости, полученные методом РАСЕ-2, будут иметь те же ограничения размера, как и гибридные матрицы фокальной плоскости на основе CdTe, если не используются схемы считывания на основе GaAs. Однако включение слоев GaAs может приводить к загрязнению Ga пленок соединений А2В6, а также к нежелательному повышению стоимости и сложности процесса. Для увеличения размеров матриц предлагаются два подхода. В первом матрица HgCdTe формируется на Si подложке, которая потом соединяется индием с Si интегральной микросхемой считывания. Во втором она монолитно интегрирована со схемой считывания путем выращивания эпитаксиальных слоев непосредственно на подложке считывающего устройства. Для обоих подходов методика молекулярно-лучевой эпитаксии (МЛЭ) наиболее предпочтительна благодаря лучшему контролю над толщиной слоя и низкой температуре процесса.
В настоящее время наиболее интенсивные исследования проводятся по разработке молекулярно-лучевой эпитаксии (МЛЭ).

Рис.8 Схема установки для выращивания гетероэпитаксиальных структур КРТ методом МЛЭ. 1-ламинарный бокс 2-подложка с носителем 3-модуль загрузки подложек 4-модуль подготовки поверхности подложек 5-модуль выращивания буферных слоев 6-накопительная камера 7-модуль выращивания слоев КРТ 8-встроенный автоматический эллипсометр 9-модуль выгрузки эпитаксиальных структур
Метод молекулярно-лучевой эпитаксии (МЛЭ). Является развитием метода вакуумного напыления. Отличается тем, что в рабочем объеме создаются независимые молекулярные потоки основного и легирующего компонентов. Метод в последнее время получил широкое развитие благодаря получению тонких и сверхтонких слоев п/п, в том числе сложного состава с контролируемой структурой и составом. Вакуум – 10-810-10 Па. Независимое регулирование Т>1>, Т>2> и Т>3 >позволяет регулировать интенсивность испарения компонентов и т.о. управлять составом молекулярных потоков. Температура подложки определяет величину коэффициента конденсации (прилипания) атомов каждого компонента к подложке.
Наличие глубокого вакуума в установке позволяет оперативно контролировать условия осаждения и качество получаемых слоев непосредственно в процессе их осаждения. Современные установки представляют собой сложные системы с масс-спектрометрами для анализа газовой среды, Оже-спектрометрами для анализа состава получаемых слоев, а также для исследований используют спектроскопию вторичных ионов, дифракцию медленных и быстрых электронов.

Рис.9. Схема молекулярно-лучевой установки: 1 – ячейка Кнудсена; 2 – механическая заслонка; 3 – азотный экран; 4 – водоохлаждаемый экран; 5 – подвижная цилиндрическая заслонка; 6 – пушка дифрактометра быстрых электронов; 7 – Оже-спектрометр с цилиндрическим энергоанализатором; 8 – ионная пушка; 9 – энергетический фильтр; 10 – квадрупольный масс-спектрометр; 11 – дифрактометр медленных электронов; 12 – поворотный карусельный держатель; 13 – флуоресцентный экран дифрактометра быстрых электронов; 14 – встроенный сублимационный титановый насос; 15 – корпус модуля испарительных ячеек.

Рис. 10. Схема реактора для МЛЭ кремния (прямое наращивание кремния на подложке): 1-экран; 2-основа с водяным охлаждением; 3-нить накала источника; 4-электронный пучок; 5-электростатический экран (-V); 6-твердый кремний; 7-расплавленный кремний; 8-пары кремния; 9-держатель подложки; 10-кремниевая подложка; 11-нить подогрева подложки; 12-электронный пучок.
Сущность процесса
состоит в испарении п/п вещества и одной
или нескольких легирующих примесей.
Низкое давление паров п/п и легирующих
примесей гарантирует их конденсацию
на относительно холодной подложке.
Обычно МЛЭ проводят в сверхвысоком
вакууме при давлении 10-6
– 10-8
Па. Температурный диапазон составляет
400 – 800 ºС. Технически возможно применение
и более высоких температур, но это
приводит к увеличению автолегирования
и диффузии примеси из подложки.
Этот метод предоставляет уникальные возможности при создании материала и разработке приемников, в том числе самую низкую температуру роста, выращивание сверхрешеток и возможность получения наиболее сложных профилей легирования и состава полупроводника. Большие успехи достигнуты в устранении дефектов, контроле роста и легирования полупроводника, а также в создании ИК электрооптических приборов. Быстрое улучшение качества приемников с прецизионно управляемой архитектурой убедило исследователей в превосходстве молекулярно-лучевой эпитаксии над жидкофазной эпитаксией. Основной недостаток МЛЭ – высокая стоимость оборудования и обслуживания.
Если температура роста для МЛЭ ниже 200 °С, то для метода ГФЭ на металлорганических соединениях она составляет -350 °С, что затрудняет управление легированием полупроводника р-типа проводимости в процессе выращивания из-за формирования вакансий ртути при более высоких температурах роста. As является наиболее предпочтительной легирующей примесью для пленок р-типа, в то время как индий более предпочтителен для получения слоев n-типа. Основные проблемы этих двух методов: образование двойников, требование очень хорошей подготовки поверхности, предшествующей росту, неуправляемое легирование полупроводника, высокие значения концентрации дислокаций и наличие неоднородностей состава. Имеет место постоянное повышение качества пленок, выращиваемых методом неравновесной эпитаксии.
Для уменьшения нежелательных эффектов из-за разности на 19.3% в постоянных кристаллической решетки вводятся буферные слои между HgCdTe и Si. Ранее нанесение буферных слоев CdZnTe на подложках на основе Si было связано с подложками GaAs/Si. Использование тройных буферных слоев CdZnTe позволило достигнуть улучшения морфологии поверхности HgCdTe. К сожалению, межфазный слой GaAs повышает стоимость первоначальной подложки и представляет опасность примесного загрязнения при использовании детектора. В настоящее время для жидкофазных структур на основе HgCdTe (001) используются подложки CdZnTe/ZnTe/Si (001), выращенные методом МЛЭ. В то же время, как и для слоев на основе HgCdTe, выращенных методом МЛЭ, больше внимания уделяется подложкам Si (112) В. Ориентация (112) В предпочтительна из-за ее устойчивости к образованию двойников, a также совместимости с химическим легированием р-типа As. Продемонстрированы изготовленные технологией РАСЕ-3 большие (640 х 480) матрицы фокальной плоскости, структурно выполненные в четырех квадрантах с прямой инжекцией и непосредственным считыванием в канале, высокоскоростные, с архитектурой переключателей на основе полевых транзисторов. Ранее МФП того же формата были созданы с помощью технологии эпитаксии из газовой фазы с использованием металлорганических соединений (МОСГФЭ) для получения альтернативных подложек CdZnTe/GaAs/Si и последующего выращивания р-п двухслойных гетеропереходов (ДСГП) на основе HgCdTe методом жидкофазной эпитаксии из Hg-расплава с контролируемым легированием.
Среди эпитаксиальных методов жидкофазная эпитаксия является наиболее развитым методом выращивания качественных однородных пленок и многослойных структур. Как следует из диаграмм состояния, выращивание методом жидкофазной эпитаксии происходит из псевдобинарных HgTe-обогащенных, Те- и Hg-обогащенных растворов. Первый подход в настоящее время не имеет никакого практического значения, главным образом, потому что требуются высокая температура порядка 700 °С и высокое (>10 атм.) давление ртути. Рост из Те-обогащенного раствора (420–500 °С), как и рост из Hg-обогащенного раствора (400–500 °С), с равным успехом использовался в различных конфигурациях. Рост из Те-раствора происходит при самом низком давлении ртути (=0.1 атм.). Основной трудностью являются окончательное удаление Те-обогащенного расплава с выращенных слоев и адаптация технологии для промышленных потребностей. Подобных проблем не возникает при выращивании из Hg-обогащенных растворов. Еще одним важным преимуществом этого подхода является легкость, с которой нужные примеси могут быть внедрены в Hg-обогащенные растворы. В отличие от метода выращивания из Те-обогащенных растворов, состав растущих слоев может быть радикально изменен в результате обеднения расплава Cd из-за низкой растворимости CdTe в Hg-обогащенных растворах. Этот недостаток был преодолен при помощи так называемого метода выращивания «неограниченный расплав». Термин «неограниченный расплав» предполагает использование расплава очень большого объема (>2 кг), в котором сохраняются постоянными температура и состав в течение всего процесса плавления. Совершенные нелегированные и преднамеренно легированные жидкофазные слои выращивались на подложках CdTe, CdZnTe, CdTeSe и гибридных подложках. Была продемонстрирована высокая однородность состава для х = 0.223 ± 0.001 по площади в пределах от 43 до 54 см2. При управлении воспроизводимостью состава х = 0.226 ± 0.0033 при многократном выращивании (~200) достигается производительность >8000 см2. Постоянными проблемами при выращивании методом ЖФЭ являются частые случаи террасной поверхностной морфологии, резкость границы раздела и относительно высокая плотность дефектов несоответствия и линейных дислокаций.
Выращивание из газовой фазы с использованием металлорганических соединений (МОСГФЭ) – неравновесный метод, который представляется наиболее перспективным для будущего крупномасштабного и дешевого производства эпитаксиальных слоев. Главные преимущества его – невысокая температура роста и возможность изменения условий роста в процессе выращивания для получения заданной ширины запрещенной зоны и профилей легирования полупроводника. Невысокая температура осаждения позволяет использовать гораздо большее число видов подложек по сравнению с жидкофазной эпитаксией. МОСГФЭ наиболее часто используется для производства гибридных подложек для Hg>1->>x>Cd>x>Te. Особенность метода состоит в том, что в эпитаксиальном реакторе создается высокотемпературная зона, в которую поступает газовая смесь, содержащая разлагаемое соединение. В этой зоне протекает реакция и происходит выделение и осаждение вещества на подложке, а газообразные продукты реакции уносятся потоком газа-носителя.
1.6 Приборы на основе КРТ
Краткая справка.
В 1959 г. началось развитие исследований твердых растворов Hg>1->>x>Cd>x>Te (HgCdTe) с переменной шириной запрещенной зоны, предоставляющих широкие возможности для создания ИК-детекторов. Технологии выращивания HgCdTe развивались и продолжают развиваться, прежде всего, для военных применений. Требование секретности значительно замедляло сотрудничество среди исследовательских групп на национальном и особенно на международном уровне. Основное внимание привлекало создание матрицы фокальной плоскости (МФП), и намного меньше внимания уделялось исследованиям. Однако более чем за три десятилетия произошел значительный прогресс. В настоящее время HgCdTe является наиболее широко используемым полупроводником с переменной шириной запрещенной зоны для создания ИК-фотодетекторов.
Сначала рассмотрим принцип действия ИК-детекторов в общем.
ИК-детекторы.
В детекторах класса фотоприёмников излучение поглощается внутри материала в результате взаимодействия с электронами, связанными с атомами решётки или с примесными атомами, а также со свободными электронами. Наблюдаемый выходной сигнал обусловлен изменением энергетического распределения электронов. Фотонные детекторы (фотоприёмники) обладают селективной спектральной зависимостью фотоотклика при одинаковой мощности падающего излучения, обеспечивают хорошие пороговые характеристики и высокое быстродействие. Но для достижения этого требуется охлаждение фотоприёмников до криогенных температур. Фотоприёмники, длинноволновая граница которых 3 мкм, обычно охлаждены. Охлаждение необходимо для уменьшения тепловой генерации носителей заряда. Тепловые переходы конкурируют с оптическими, что приводит к большому шуму в неохлаждённых приборах.
Таблица 2. Типы полупроводниковых фотоприёмников
|
Тип |
Переходы |
Тип электрического выходного сигнала |
Примеры |
|
Собственные |
Межзонные |
Фотопроводящий |
PbS, PbSe, InSb, CdHgTe |
|
Фотовольтаический |
InSb, InAs, PbTe, CdHgTe, PbSnTe |
||
|
Емкость |
InSb, CdHgTe |
||
|
ФЭМ |
InSb, CdHgTe |
||
|
Примесные |
Примесь-зона |
Фотопроводящий |
Si: In, Si: Ga, Ge: Cu, Ge: Hg |
|
На свободных носителях |
Внутризонные |
Фотопроводящий |
InSb электронный болометр |
В зависимости от природы взаимодействия класс фотоприемников подразделяется на различные типы. Наиболее важные из них:
– собственные детекторы;
– примесные детекторы.
Второй класс детекторов ИК-излучения – тепловые детекторы. В тепловом детекторе падающее излучение при поглощении изменяет температуру материала и результирующее изменение некоторых физических свойств используется для генерации электрического выходного сигнала.
Сигнал не зависит от фотонной природы падающего излучения. Так как тепловые эффекты обычно не зависят от длины волны, выходной сигнал зависит от мощности излучения (или скорости её изменения), а не от его спектрального состава. При этом предполагается, что механизм, ответственный за поглощение излучения, сам по себе не зависит от длины волны, что, строго говоря, неверно в большинстве других случаев. В пироэлектрических детекторах измеряется изменение внутренней электрической поляризации, в то время, как в случае термисторных болометров – изменение электрического сопротивления. В отличие от фотоприёмников, тепловые детекторы обычно действуют при комнатной температуре. Они, как правило, характеризуются невысокой чувствительностью и большой инерционностью (потому что нагрев и охлаждение элемента детектора происходит довольно медленно), но дешевле и удобнее. Из-за своей дешевизны они широко используются там, где не требуются высокая эффективность и быстродействие. Будучи неселективными приборами, они часто применяются в ИК-спектрометрах.
Неохлаждаемые, монолитные матричные приёмники фокальной плоскости (МФП) на основе тепловых детекторов могут коренным образом изменить направление разработок формирователей теплового изображения.
Теперь рассмотрим более подробно приборы на основе КРТ
Приемники на основе КРТ.
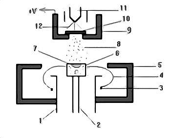
На рис. 11 представлена типичная структура HgCdTe фоторезистора. Основной частью такой структуры является слой HgCdTe толщиной 3–20 мкм с контактами. Оптимальная толщина активной области (несколько микрометров) зависит от рабочей температуры и имеет меньшее значение в неохлаждаемых устройствах. Толщина обычно выбирается порядка a-1, где а – коэффициент оптического поглощения. Если толщина меньше, чем диффузионная длина неосновных носителей заряда, рекомбинация носителей заряда на поверхности может преобладать в процессе рекомбинации для некорректно изготовленного детектора. Чтобы получить времена жизни, ограниченные объемными процессами, необходимо уменьшить скорость поверхностной рекомбинации приблизительно до 500 см/с. Это может быть достигнуто обработкой поверхности таким способом, чтобы предотвратить отток носителей на поверхность путем слабого ее обогащения. В результате изгиба зон появляется электрическое поле, которое уменьшает поток неосновных носителей к поверхностным рекомбинационным центрам. Для получения обогащенной поверхности с низкой скоростью рекомбинации часто используется собственный оксид на верхней поверхности, полученный анодным окислением. Верхняя поверхность обычно покрывается пассивирующим слоем и антиотражающим покрытием. Поверхность с обратной стороны приемника также пассивируется. Напротив, поверхность тыльной стороны эпитаксиального слоя, выращенного на CdZnTe подложке, не требует никакой пассивации. Детекторы соединяются с теплопроводящими подложками.
Для увеличения поглощения излучения детекторы иногда снабжаются тыльным золотым отражателем, изолированным от фоторезистора слоем ZnS или подложкой. Толщина полупроводника и двух диэлектрических слоев выбирается таким образом, чтобы получился оптический резонатор со стоячими волнами в структуре с максимумами на передней поверхности и узлами – на обратной.

Рис. 11 Поперечное сечение типичного HgCdTe фоторезистора
Фоторезисторы на объёмных монокристаллах КРТ.
Для большинства фоторезисторов на основе HgCdTe используется объемный материал, выращенный методом Бриджмена или методом твердотельной рекристаллизации, хотя сейчас применяется материал, изготовленный методами газо- и жидкофазной эпитаксии: ЖФЭ, МОСГФЭ и МЛЭ
В течение последующих с начала развития лет технология изготовления ОМ КРТ перетерпела ряд важных изменений. Была разработана и освоена технология выращивания МК из двухфазной смеси и внедрено легирование монокристалла индием. Первое мероприятие обеспечивало более высокую однородность состава и свойств МК по пластине, увеличивало выход годных. Легирование индием решило проблему стабильности ОМ КРТ, повысило однородность электрофизических и фотоэлектрических свойств, а также повысило выход годных. Изменения технологии получения ОМ КРТ неизбежно приводили к изменениям технологии изготовления фотоприемников. Главным направлением в разработке фотоприемников для тепловидения было создание фоторезисторов из ОМ КРТ на диапазон 8 – 14 мкм. До сегодняшнего дня фоторезисторы из КРТ являются основными сенсорами в различных видах тепловизионной техники.
Фоторезистор из КРТ способен использовать большую часть излучения в атмосферном окне (8 – 14 мкм), так как максимум спектральной чувствительности может приобретать в зависимости от состава КРТ любые значения в окне 8 – 14 мкм практически без ухудшения обнаружительной способности.
Фоторезисторы из ОМ КРТ, используемые в настоящее время, достигли параметров, близких к теоретическому пределу (ограничение фоном). При серийном производстве фотоприёмников и фотоприемных устройств возникают определённые трудности в реализации предельных параметров.
Особенности фоторезисторов на объёмных кристаллах КРТ.
Сопротивление фоторезистора.
Высокая подвижность носителей в n-типе КРТ, μ≥105 см2/В*с и достаточно высокая собственная концентрация n>i> (n>i>> 77>>K> = 3*1013 см-3) для E>g> = 0,1 эВ, по сравнению с полупроводниками с большей шириной запрещённой зоны,
n>i> = (2πkT/h2)*(m>e>*m>p>)¾*e-ΔE/kT,
где T – температура полупроводника;
h – постоянная Планка;
m>e> – эффективная масса электрона;
m>p> – эффективная масса дырки;
ΔE – ширина запрещённой зоны;
k – постоянная Больцмана,
и определяют высокую электропроводность ОМ КРТ
σ = μ*n*e.
Ограничения на уменьшение толщины рабочего слоя фоточувствительного элемента (ФЧЭ), накладываемые технологией утоньшения при химико-механическом полировании приклеенных к технологической подложке пластин, затрудняют получение достаточно высоких сопротивлений ФЧЭ путём уменьшения толщины слоя. Фоторезисторы из КРТ низкоомные. Величина сопротивления обычно 50 -70 ОМ в образцах с квадратной площадкой ФЧЭ. Стабилизирующий анодный окисел на нижней, приклеенной к подложке, поверхности ФЧЭ создаёт фиксированный заряд в приповерхностном слое, что снижает сопротивление до 25 – 35 Ом. При этом толщина рабочего слоя КРТ составляет 13 – 15 мкм. Низкое сопротивление фоторезистора создаёт определённые трудности, в его сопряжении с электроникой первичной обработки сигналов изображения. Низкое сопротивление фоторезистора приводит также к необходимости обеспечить значительные, по масштабам ФЧЭ, токи смещения, необходимые для получения максимального сигнала.
Шумы фоторезистора.
Фоторезисторы из ОМ КРТ имеют очень низкие шумы. Это связано как с достаточно большой величиной собственной концентрации, так и с относительно малым временем жизни носителей.
Генерационно-рекомбинационный шум при тепловом ограничении (см. выше)
U>G>>->>R> = 2*U>см>*[p>0>τΔf/n>0>*(n>0>+p>0>) V]1/2
U>см> – напряжение смещения,
τ – время жизни неосновных носителей заряда,
n>0> и p>0> – темновые концентрации электронов и дырок,
V – объём ФЧЭ,
Δf – информационная полоса частот.
При ограничении фоном, когда концентрация дырок в n-типе, генерируемых фоновым излучением становится сопоставимой с n>0>, может измениться время жизни τ. Это скажется на изменении генерационно-рекомбинационного шума. Насыщение вольтовой чувствительности при увеличении напряжения смещения также связано с уменьшением времени жизни неравновесных носителей под влиянием фона и приводит также к зависимости генерационно-рекомбинационного шума от фона. То есть, «пролёт» носителей и фон влияют на генерационно-рекомбинационный шум через τ.
U>G>>->>R> = (eμ>n>R/μ>d>)*[ηФ>В>lbΔf]½
где Ф>В> – фоновый поток,
l – длина фоточувствительной площадки,
b – ширина фоточувствительной площадки,
μ>d> – дрейфовая подвижность.
То есть, имеет место насыщение генерационно-рекомбинационного шума, при млых фонах концентрация дырок определяется тепловой генерацией, насыщение генерационно-рекоминационного шума не наступает и в режиме пролета.
U>G>>->>R> = (2n>i>/n>0>) [Ueμ>n>RΔf/ μ>d>] ½
где U – напряжение смещения, в этом случае U>G>>->>R> изменяется как U>см>½.
В реальных высококачественных кристаллах, в которых время жизни неосновных носителей определяется Оже-рекомбинацией и лежит в пределах 10-6 – 20*12-6 с, а концентрация электронов в «n» – типе находится в пределах (2 – 5)*1014 см-3, спектральная плотность шума составляет U>G>>->>R> = 2,5*10-9 – 3,5*10-9 В*Гц-1/2. Для реализации обнаружительной способности фоторезистора
D* = S>U> √A/U>ш>
где S>U> – вольтовая чувствительность фоторезистора,
А – площадь ФЧЭ.
U>ш> =√(U>ш>n2 + U>ш>y2)
Необходимо существенно снижать шумы предусилителей U>ш> до 1 -1,5 нВ*Гц1/2, что является достаточно сложной задачей, и повышать вольтовую чувствительность.
Вольтовая чувствительность.
Для фоторезистора, включённого на согласованную нагрузку, вольтовая чувствительность связана с электрофизическими параметрами материала КРТ, геометрией ФЧП, длиной волны и напряжением смещения:
S>U> = ηU>см>τ>эф>/hνnAd
Где η – внешняя квантовая эффективность,
U>см> – напряжение смещения,
τ>эф> – эффективное время жизни неравновесных носителей заряда при рабочей температуре,
hν – энергия кванта в максимуме спектральной чувствительности,
n – концентрация носителей при рабочей температуре (77 К),
А – площадка ФЧП,
d – толщина ФЧП.
Из формулы видно, что в пределах заданного требованиями аппаратуры быстродействия, необходимо выбирать материал КРТ с максимальным временем жизни носителей, τ. А так же необходимо увеличивать до предельных значений напряжение смещения и уменьшать толщину ФЧЭ. По всем выше названным параметрам существуют ограничения. Минимальная концентрация носителей не может быть меньше собственной, которую в материале КРТ, получить очень сложно из-за наличия дефектов с малой энергией активации. Увеличение напряжения смещения ограничено явлением «пролёта» носителей, когда избыточные носители, возбуждённые излучением на одном конце ФЧП, успевают, под действием электрического поля смещения, добежать до противоположного контакта за время дрейфа сравнимое с временем жизни.
τ>пр> = l2/μ>др>U>см>
где l – расстояние между контактами,
μ>др> – дрейфовая подвижность, определяется медленными носителями заряда (для КРТ х = 0,2 µ>др> ≈ µ>p>),
U>см> – напряжение смещения.
Увеличение напряжение смещения фоторезистора в соответствии с формулой нахождения S>U> приводит к увеличению вольтовой чувствительности до тех пор, пока уменьшающееся при этом время пролёта не ограничит S>U>. Такой режим, когда повышение напряжение смещения не вызывает дальнейшего увеличения сигнала фотоответа называется режимом насыщения вольтовой чувствительности. В этом случае упрощается выражения для нахождения S>U>. Для КРТ x = 0,215: μ>n> ≥ 105 см2/В*с, μ>p> ≥ 300 см2/В*с. В режиме включения на согласованную нагрузку (R>T> = R>H>) вольтовая чувствительность насыщения:
S>Un> = 1,5 R>T>103
где R>T> – темновое сопротивление фоточувствительной площадки (ФЧП).
Так же для получения максимального фотоответа необходимо устранять потери на отражение излучения путём нанесения просветляющего диэлектрического покрытия.
Обнаружительная способность.
Обнаружительная способность при тепловом ограничении определяется по формуле:
D* = (η/2hν) [(n>0>+p>0>)τ/n>0>tp>0>]½
Где t – толщина слоя фоторезистора.
Для механизма Оже рекомбинации, реализующегося в монокристаллах КРТ высокого совершенства
τ>A> = τ>Ai>*2n>i>/[n>0>(n>0> + p>0>)]
где τ>Ai> – время жизни при Оже рекомбинации в собственном материале.
В этом случае:
D*>U> = (η/2hν) [2τ>Ai>/n>0>t]½
При скорости поверхностной рекомбинации приблизительно равной нулю и толщине ФЧЭ t ≥ α-1, коэффициент поглощения α ≈ 103 см-1, принимая n>0> ~ 4*1014 см-3 и τ ~ 10-3 с при 77 К, получим D*>U> = 2,2*1012*η, принимая η ≈ 0,8, получим D*>U> ≈ 1,76*1012. В реальных резисторах необходимо учитывать скорость поверхностной рекомбинации и ограничения, накладываемые фоновым излучением.
Величина обнаружительной способности при термическом ограничении получена также без учёта шумов в виде 1/f. Источником этих шумов, называемых избыточными, являются несовершенство контактов, неоднородность исходного материала КРТ, поверхностная рекомбинация.
Технология изготовления фоторезисторов из объёмных монокрисаллов (ОМ) КРТ в настоящее время достигла достаточно высокого уровня, позволяющего получить минимальные шумы вида 1/f, ограниченные по верхней частоте, как правило, 300 – 500 Гц.
Поскольку информационная полоса частот тепловизионных систем обычно находится в диапазоне 20 – 100 кГц, шумы вида 1/f вносят незначительный вклад в общий шум фоторезистора.
Низкая вольтовая чувствительность и обнаружительная способность наблюдается в фоторезисторах, изготовленных из образцов КРТ, в которых имеются большое число центров рекомбинации, что говорит о некачественном материале КРТ. Такой же результат возможен при неправильной, приводящей к образованию центров рекомбинации, обработке материала КРТ при изготовлении фоторезистора. В этом случае работает иной, быстрый механизм рекомбинации Шокли-Рида. Такие фоторезисторы обладают низкой вольтовой чувствительностью и обнаружительной способностью.
Правильно сконструированный, изготовленный из высококачественного материала КРТ фоторезистор имеет обнаружительную способность, ограниченную флуктуациями фоновых носителей (фоновое ограничение).
Стабильность параметров фоторезистора.
Низкая энергия активации некоторых дефектов в ОМ КРТ, связанных с вакансиями ртути и междоузельной ртутью, приводит к явлениям деградации свойств из-за ухода атомов ртути с поверхности образца и диффузии вакансий ртути внутрь образца. Этот процесс за большой период времени (год – два) может привести к изменению типа проводимости поверхностного слоя, достигающего при продолжительном хранении при повышенных температурах (600 – 700 С) 100 мкм и более.
Длительное время эта проблема сдерживала развитие фотоприёмников из ОМ КРТ. Ситуация изменилась после того, как были разработаны технологии легирования ОМ КРТ индием, пассивации поверхности образцов КРТ и нанесение защитных, в том числе просветляющих, покрытий.
Особое место занимает введение в монокристалл незначительного количества индия (N ~ 1015) в процессе выращивания монокристалла КРТ. Индий – амфотерная примесь в КРТ и является преимущественно донором. Монокристаллы, легированные индием, обладают не только большей стабильностью свойств при длительном хранении, но также большей однородностью по электрофизическим характеристикам и большими значениями времени жизни неравновесных носителей заряда в образцах «n» – типа.
Использование собственного анодного окисла позволило стабилизировать поверхность фоторезистора, но при этом увеличилась проводимость образца за счёт приповерхностного фиксированного заряда, создаваемого анодным окислом в КРТ.
Особенностью материала КРТ является его высокая чувствительность к обработке (шлифованию, полированию, травлению). Исходный, незащищённый образец ОМ КРТ в поверхностном слое ухудшает свои свойства при длительном воздействии повышенных температур (60 – 700С). При изготовлении фоторезистора этот слой нуждается в удалении. Неизбежное утоньшение толстой пластины (1 мм) до толщины рабочего слоя порядка 15 – 17 мкм связано с химико-механической обработкой, которая также даёт нарушенный слой, который необходимо удалять финишным травлением. Это травление приводит к завалам краёв образца, ухудшению плоскости и снижению коэффициента использования ОМ КРТ.
Виды фоточувствительных элементов на основе ОМ КРТ.
Фоточувствительный элемент с запирающими контактами.
Первым способом, использованном на практике, для увеличения вольтовой чувствительности фоторезисторов на КРТ диапазона 8 – 14 мкм был способ получения запирающих контактов. Запирающие контакты получались путём обработки подконтактных областей ионами аргона, под действием которых в подконтактной области возникали отрицательно заряженные дефекты. Электрическое поле подконтактной области уменьшало скорость дрейфа неравновесных носителей, продлевая тем самым, время жизни носителей, что приводило к увеличению вольтовой чувствительности при увеличении напряжения смещения в образцах (ФЧП размерами 50х50 мкм), в которых временем жизни носителей в КРТ в объёме было не менее 1 – 2 мкс. Обработка подконтактных областей ионами аргона сопровождалось травлением поверхности и её очищением, что также улучшало качество контактов. Конструкция фоточувствительного элемента с запирающими контактами схематически изображена на рисунке 12.

Рис. 12 Конструкция ФЧЭ с запирающими контактами.
1 – подложка контактного растра, 2 – контактная дорожка растра, 3 – клей, 4 – подложка ФЧЭ, 5 – клей, 6 – фоточувствительный слой КРТ, 7 – припой, 8 – контакт ФЧЭ, 9 – проводник Au, 10 – защитное просветляющее покрытие, 11 – подконтактный слой n+.
Фоточувствительный элемент с частично затенённой площадкой.
Для увеличения вольтовой чувствительности путём снижения влияния «пролёта» носителей в ряде случаев используются более сложная конструкция и технология изготовления ФЧЭ.

Рис. 13 Конструкция ФЧЭ с частично затемнённой площадкой.
1 – подложка контактного растра, 2 – клей, 3 – подложка слоя КРТ, 4 – клей, 5 – фоточувствительный слой КРТ, 6 – припой, 7 – проводник Au, 8 – контакт ФЧЭ, 9 – защитное покрытие, 10 – затеняющая металлическая шторка (In).
В конструкции (рис. 13) «электрический» размер ФЧП (расстояние между контактами) существенно больше, чем световой. Это достигается путём нанесения непрозрачной металлической шторки поверх защитного диэлектрического просветляющего покрытия удлинённой площадки. Таким образом, удлинённая и частично затенённая площадка превращается в квадратную. Время «пролёта» носителей в этом случае увеличивается с удлинением площадки, соответственно возрастает вольтовая чувствительность.
В конструкции фоточувствительного элемента величина «b» характеризует световой размер ФЧП, а величина «L» – электрический (расстояние между контактами, определяющее время «пролёта» носителей). Затеняющая металлическая шторка (10) получена напылением индия через маску.
Гетероэпитаксиальные структуры КРТ.
Строение ГЭС КРТ.

Рис. 14 Строение ГЭС КРТ.
1-Подложка из монокристаллического арсенида галлия;
2-Буферный слой Cd Zn Te;
3-Варизонный слой Cd>x>Hg>1->>x>Te x=1->0,215;
4-Рабочий слой Cd>x>Hg>1->>x>Te x=0,215±0,005;
5-Варизонный слой Cd>x>Hg>1->>x>Te x=0,215->0,3–0,35.
Толщины слоёв должны находится в пределах:
Буферный слой CdZnTe 2 – 8 мкм,
Нижний варизонный слой 0,5 – 1,5 мкм,
Рабочий слой 5 – 7 мкм,
Верхний варизонный слой 0,1 – 0,5 мкм.
Отклонение толщины слоёв по образцу не более 10% от среднего значения. Суммарная толщина ГЭС при диаметре 51 мм – 0,4 мм ± 10%, при диаметре 76 мм – 0,5 мм ± 10%.
Важнейший параметр, характеризующий совершенство слоёв и их пригодность к разработке и выпуску фоторезисторов – время жизни неравновесных носителей заряда достигло (2 – 2,5)*10-6 с. Такие значения времени жизни наблюдаются в высококачественных ОМ КРТ.
Фоточувствительный элемент на основе гетероэпитаксиальной структуры КРТ.
Появление новых эпитаксиальных методов получения тонких слоёв КРТ позволило изменить конструкцию фоточувствительного элемента, упростить технологию изготовления фоторезисторов из эпитаксиальных структур и существенно улучшить характеристики, в том числе вольтовую чувствительность. Жидкофазная эпитаксия, при которой в процессе выращивания слоя КРТ заданного состава происходит неоднородный подтрав подложки, а на поверхности эпитаксиального слоя КРТ образуется рельеф, также пригодна для изготовления фоторезисторов радикальном изменении технологии. Подтрав приводит к разнотолщинности слоя КРТ и разбросу сопротивления фоточувствительных площадок, что ухудшает однородность фотоэлектрических характеристик и качества фотоприёмника. Рельеф поверхности при ЖФЭ вынуждает вводить дополнительную химико-механическую обработку поверхности, приводящую к ухудшению плоскости слоя КРТ и снижению выхода годных.
Развитие молекулярно-лучевой эпитаксии позволило получить слои КРТ с зеркальной поверхностью оптимальной толщины. Сложные гетероэпитаксиальные структуры (ГЭС) материала КРТ, полученные методом молекулярно лучевой эпитаксии позволили создать новую конструкцию фоточувствительного элемента фоторезистора.

Рис. 15 ФЧЭ на основе ГЭС КРТ.
1 – подложка контактного растра, 2 – подслой хрома, 3 – контактная дорожка Au, 4 – клей, 5 – подложка GaAs, 6 – буферный слой CgZnTe, 7 – варизонный слой Cd>x>Hg>1->>x>Te, 8 – токоподвод Au, 9 – рабочий слой Cg>0,2>Hg>0,8>Te, 10 – припой InAu, 11 – варизонный слой Cd>x>Hg>1->>x>Te, 12 – слой CdTe, 13 – слой ZnSe, 14 – слой YtSc, 15 – слой n+.
Особенности фоторезистора на основе ГЭС КРТ с варизонными слоями, полученными методом молекулярно-лучевой эпитаксии.
Преимущества данной конструкции ФЧЭ состоят:
– в возможности увеличения вольтовой чувствительности в 3 – 4 раза за счёт уменьшения толщины рабочего слоя до ≈ 5 мкм вместо 15 – 20 мкм в конструкции ФЧЭ с запирающими контактами и соответствующего увеличения темнового сопротивления;
– в практически полном подавлении поверхностной рекомбинации за счёт встроенного электрического поля варизонной структуры:
E = (1/e)*(dE>ν>/dx),
препятствующего диффузии неравновесных носителей к поверхности ФЧЭ.
Значение градиента состава варизонных слоёв определяются из соотношения скорости диффузии носителей заряда к поверхности и скорости дрейфа носителей в электрическом поле смещения, V>диф.><< V>др.>, где V>диф. >>i> = D>p>/b>i> (D>p> – коэффициент диффузии дырок в варизонных нижнем и верхнем слое, а b>i> – толщина i-го варизонного слоя), V>др.> = μ>p>(1/e)*(dE>ν>/dx).
Следовательно:
D>p>/b>i> << μ>p>(1/e)*(dE>ν>/dx),
dE>ν>/dx >> eD>p>/b>i> μ>p>.
D>p> ≈ 2 см2/с; B = 2*10-4 см; μ>p> ≈ 400 см2/В*с и eD = μ>p>kT ≈ 32,5 эВ/см. Таким образом E >> 35 В/см, что легко достижимо в варизонных слоях. Следствием этого является практически полная реализация времени жизни неравновесных носителей в объёме полупроводников:
– наличие варизонного слоя соответствующего градиента состава в фоторезисторе исключает шунтирование рабочей области поверхностными слоями и устраняет вклад поверхностной рекомбинации в шумы вида 1/f;
– варизонные слои фоторезистора приводят к расширению спектральной области фотоответа и увеличению интегральной чувствительности фоторезистора.
Выводы
Итак, в ходе выполнения курсовой работы я пришел к выводу, что КРТ – не только настоящее, но и будущее полупроводниковой технологии. В связи с его преимуществами без КРТ невозможно представить фотоприемную промышленность во всем мире. Считаю, что крайне важно дальнейшее развитие технологии и расширение возможностей по внедрению и применению КРТ как материала для фотодетекторов в нашей стране.
В работе я ознакомился с теорией проводимости полупроводников
Рассмотрел теоретические основы взаимодействия вещества со светом (фотопроводимости).
Проанализировал основные важные для применения свойства КРТ (физико-химические, оптические, электрические)
Выделил главные преимущества этого материала по сравнению с другими полупроводниками, конкурирующими с КРТ в производстве приборов (фотодетекторов),
Рассмотрел приборы на основе КРТ: их принцип действия и устройство.
Ознакомился с особенностями некоторых методов получения КРТ (объемных кристаллов и тонких пленок).
>h>