Широтно-імпульсний модулятор на базі магнітного підсилювача
міністерство освіти і науки україни
ЖИТОМИРСЬКИЙ
ІНЖЕНЕРНО-ТЕХНОЛОГИЧНИЙ ІНСТИТУТ
Група
Кафедра АіКТ
ЕЛЕМЕНТИ ТА ПРИСТРОЇ АВТОМАТИКИ
Курсова робота
„ШИРОТНО-ІМПУЛЬСНИЙ МОДУЛЯТОР
НА БАЗІ МАГНІТНОГО ПІДСИЛЮВАЧА"
Пояснювальна записка
Керівник (
Виконавець ( )
Житомир 2005
1.ТЕХНИЧНЕ ЗАВДАННЯ
Тип двигуна СЛ – 521
Номінальна напруга 110 В
Номінальна потужність 77Вт
Номінальний струм 1.2А
Номінальна частота обертання 3000 об/хв
Номінальний обертальний момент 25 Нсм
Момент інерції якоря 1,7кгсм2
Пусковий момент 65Нсм
Статичний момент тертя 3.5Нсм
Опір обмотки якоря 8.5Ом
Закон регулювання n/n>п> = const = 0,5
2.ВСТУП
В сучасних системах автоматичного керування досить широко використовуються перетворювачі синусоїдної напруги в імпульси струму. В автоматизованому електроприводі такі джерела керування дозволяють отримати досить м'які механічні характеристики.
3.ВИБІР СХЕМИ
Одним з варіантів створення перетворювачів синусоїдної напруги в імпульси струму є використання магнітних однотактних підсилювачів (керованих дроселів) у режимі вимушеного намагнічування. В таких дроселях імпульси струму завжди мають прямокутну форму, а форма імпульсів напруги на навантаженні залежить від властивостей останнього. Звичайний керований дросель у режимі вимушеного намагнічування дозволяє отримати імпульси напруги трикутної форми на ємності (рис.3.1, а), увімкненій в ланцюг робочої обмотки.

Формування таких імпульсів напруги на ємності виникає за умови, якщо незначний сигнал управління Іу викликає насичення одного з осердь. Це призводить до того, що конденсатор С буде періодично перезаряджатись струмом з постійною амплітудою (рис. 3.1, б). З урахуванням цієї обставини напруга на конденсаторі на протязі одного півперіоду може бути визначена за формулою:

де п - порядковий номер півперіоду; Uc>0> - напруга на конденсаторі на
початку півперіоду (в момент зміни напрямку струму i>p>).
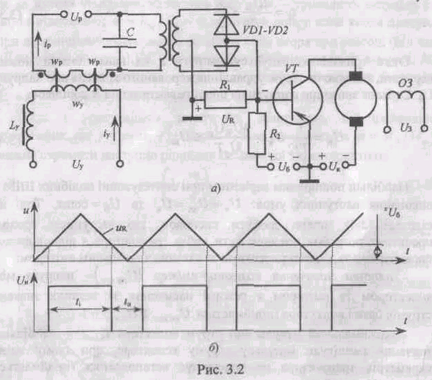
На базі такого формувача імпульсів напруги трикутної форми можна побудувати, широтно-імпульсний модулятор (ШІМ), схема якого зображена на рис. 3.2, а.
Напруга на конденсаторі Uc випрямляється двопівперіодним випрямлячем і подається у вигляді імпульсів напруги U>R> трикутної форми подвоєної частоти в ланцюг база - колектор транзистора VT. Ця напруга намагається відкрити транзистор. На протязі відрізку часу t>i>, коли U>б> < U>R> транзистор відкритий (рис. 3.2, б) і через якір двигуна під дією напруги U>R> буде протікати відповідний струм.

У відповідності до діаграми (рис. 3.2, б) напруга U>R> в інтервалі
0< ωt <π/2 дорівнює:
U>R> = kI>у> t
Тоді за умови U>б ><> >U>R>> >(U>R> – амплітуда імпульсу напруги) тривалість імпульсу напруги, що буде прикладена до якоря двигуна,


Отже тривалістю імпульсу напруги t>i> на навантаженні можна керувати, змінюючи струм управління керованого дроселя або напругу U>б>. Cереднє значення напруги на опорі навантаження R дорівнює:

3.3. Розрахунок параметрів електронного ключа
В схемі Ш1М (рис. 3.2) використовуємо вмикання транзистора за схемою(рис. 3.3) з загальним емітером (ЗЕ), оскільки така схема характеризується досить малою потужністю керування і в той же час має хороші формувальні властивості за рахунок коефіцієнта підсилення по напрузі К>u>> >>> 1.

Рис 3,3
Вибір транзистора виконуємо на підставі напруги і струму якоря виконавчого двигуна:
U>ke> ≥ 1.2Ua>ном >≥1.2·110 ≥ 132B
Iк>макс >≥ Iа>ном> ≥ 1,2А
Вибираємо транзистор типу КТ851А з такими характеристиками:
Uke>макс> = 200В > 132В; Iк>макс >= 2А > 1,2А
Pк>макс >=25Вт; h>21>>e>> >>мін> =40; Ікб>0 >≤ 1мА;
t>р> ≤ 2,6мкс; Uбе>макс> = 5В; І>бн >= 50мА.
Для забезпечення нормальних умов роботи транзистора вибираємо
Необхідну величину опору резистора R>б> для забезпечення режиму відсічки транзистора отримуємо за формулою:

Потужність на опорі:

Вибираємо
по стандарту R>б> –
типу МЛТ-0,125-3кОм
Навантаженням колекторного ланцюга є обмотка якоря двигуна, тому:
R>к> = R>а> = 8,5Ом
Напруга живлення:
Е>жив> = 1,2Ua>ном > = 1.2·110 = 132B
3.4.Розрахунок параметрів магнітного підсилювача та трансформатора
Посільки рівень напруги U>R>>макс> = 3В , то використовуємо розділювальний трансформатор з потужністю
Р>тр >= І>б>2>нас>R>б >/η>тр >= (5010-3)2 3103/0,9 = 8,4Вт
В цьому виразі можна прийняти, що коефіцієнт корисної дії трансформатора η>тр> = 0,9.
Для забезпечення відповідного режиму роботи ШІМ необхідно щоб магнітний підсилювач (МП) працював в режимі вимушеного намагнічування. Варто нагадати, що такий режим роботи МП характеризується наявністю великого реактивного опору у ланцюзі керування [1], повний активний опір контуру навантаження є незначним і складається лише з активного опору робочої обмотки а напруга живлення робочої обмотки вибирається такою, що незначний струм керування почергово призводить до насичення осердя з ідеальною кривою намагнічування. Як наслідок, у робочій обмотці буде протікати періодичний змінний струм прямокутної форми.
Конструктивні параметри та характеристики магнітного підсилювача (МП) значною мірою залежать від його потужності. Останню в цій задачі можна визначити за формулою:
Р>мп>=Р>б>/η>тр>=3/0,9=3,3 мВт
де Р>б> - максимальна потужність, що споживається резистором R>б;>
η>тр >– коефіцієнт корисної дії трансформатора.
Вибір марки феромагнітного матеріалу для виготовлення осердя виконуємо з урахуванням частоти живлення робочої обмотки та потужності МП на підставі рекомендацій, зазначених в [1].
Для виготовлення осердя МП вибираємо електромагнітну сталь Э310, яка є однією із найпоширеніших в електромагнітних пристроях.
-







0
16 32 48 Н, А/см
В>m>>, >Тл
1,6
0,8
Н>макс кз>
Рис 3.5
H = 0
H = 4
В>ХХ>
H = 8
H = 16
H = 24

Розрахунок МП розпочинаємо з визначення об’єму його осердя за формулою:
де H>max>> >>кз> – напруженість в режимі короткого замикання (див.рис 3,5)
Вибравши точку А на ділянці перегібу основної кривої намагнічування, знаходимо індукцію В>хх> = 1,45Тл та відповідну їй
напруженість магнітного поля Н>хх> = 5 А/см.
Коефіцієнт кратності струму к>кр> для малопотужних МП, що використовуються як регулюючий елемент в ШІМ рекомендується:
к>кр> = 5
Максимальне значення напруженості в режимі короткого замикання (насичення) визначаємо за формулою:
H>max> = к>кр>Н>хх> = 55 = 25А/см =0,25А/м
Графічним шляхом за допомогою рис.3.5 визначаємо індукцію короткого замикання В>m>> кз> = 0,1Тл.
Кутова швидкість двигуна
ω = 2πn = 23,143000 =18840рад/хв
Таким чином:

Згідно нормального ряду осердь (додаток 1 в [2]) вибираємо найближче осердя з геометрічними розмірами D>1> / D>2> / h типу ОЛ 16/20-2 (2шт)
Тоді уточнений об’єм осердя становить

Середня лінія осердя:

Тоді площа поперечного перерізу осердя

де К>зос >=0,9 – коефіцієнт заповнення загального перерізу осердя сталлю.
Середнє значення довжини одного витка робочої обмотки l>р ср> та обмотки управління l>у ср> (див. рис. 3.6)> >визначаємо за формулами:



де χ = 5мм – припуск на кути.
Кількість витків робочої обмотки змінного струму розраховуємо за формулою:

де
=0,0175
Оммм2/м
(для меди)
J=2 – нормована щільність струму [1].
Приймаємо початкове значення струму І>у макс >=1мА. Тоді число витків обмотки управління визначаємо за формулою:

Напруженість Н>у> >макс> знаходимо графічним методом (рис. 3.5) як напруженість управління, що зумовлює режим Н>макс> >кз>.
Струм робочої обмотки знаходимо за формулою

Площу поперечного перерізу дроту для кожної з обмоток визначаємо через максимальний струм, що протікатиме через неї, та нормовану щільність струму:

Відповідні діаметри дротів кожної обмотки:

Обираємо відповідно марки проводів:
Для робочої обмотки ПЕВ-I-0,05мм;
Для обмотки управління ПЕВ-I-0,03мм.
Опір одного метра вибраних проводів відповідно дорівнюють:
R>1>>М 0,05> = 9,3 Ом/м R>1>>М 0,03> = 24,7 Ом/м
Довжина обмотки управління:
l>У> = l>Уср > w>У> =0,036 = 0,18м
Довжина робочої обмотки:
l>Р> = l> Рср > w>У> =0,02128 = 0,59м
Активний опір обмотки управління:
R>У> =R>1М> l>У >= 24,7 0,18 = 4,45Ом
Активний опір робочої обмотки :
R>Р> =R>1М> l>Р >= 9,3 0,59 = 5,48 Ом
Приведений до ланцюга управління опір робочої обмотки:
R/>Р> = 2R>Р>(W>У> / W>Р>)2 = 25,48(6/28)2 =0,5Ом.
Реактивний опір Х>У>, який необхідно увімкнути в контур управління для подавлення парних гармонік, знаходимо з формули повного опіру обмотки управління Z>У,> що повинен задовольняти наступній умові:
Z>У> =
Звідси :
Х>У> =

Знаходимо індуктивність дроселя:

Визначаємо падіння напруги на індуктивній ланці робочої обмотки:
U>L> = 4.44fW>P>SB>XX >=4.4428500,0161,45 =144В,
де f =50Гц – частота живлення робочої обмотки;
S = (D>2> – D>1>)h = (20 -16)4 = 16мм2 - площа поперечного перерізу стрижня магнітопроводу;
В>хх> - індукція в магнітопроводі на ділянці перегину основної кривої намагнічування.
Напруга джерела живлення робочої обмотки без урахування впливу ємності в режимі вимушеного намагнічування:

Значення ємності С, яка є нагрузкою робочої обмотки знаходимо за
формулою:

Вибираємо за стандартом С = 0,22мкФ.
ЛІТЕРАТУРА
1. Миловзоров В.П. Электромагнитные устройства автоматики: Учебник для вузов. -4-е изд., перераб. й доп. -М.: Высш.школа, 1983. -408 с.
2. Боярченков М.А., Черкашина А.Г. Магнитные злементы автоматики й вычислительной техники. Учеб. Пособие для специальности "Автоматика й телемеханика" вузов. М., "Высш. школа", 1976. -383 с.
3. Изьюрова Г.И., Кауфман М.С. Приборы й устройства промышленной злектроники. Учебник для вузов. -М.: Высш.школа, 1986.-398с.
4. Лавриненко В.Ю. Справочник по полупроводниковым приборам. Изд. 8-е, перераб. Киев, "Техніка", 1977. 376 с.
5. Подлипенский В.С., Петренко В.И. Злектромагнитные и злектромашинные устройства автоматики. -К.: Вища шк. Головное изд-во, 1987.-592 с.
6. Волков Н.И., Миловзоров В.П. Злектромашинные устройства автоматики: Учеб. для вузов для спец. „Автоматика й телемеханика". -2-е изд. й доп. -М.: Вьісш. шк.., 1986. - 335 с.
7. Желєзна А.О. Дипломні (курсові) проекти. Вимоги до оформлення документації: Навчальний посібник. - Житомир: ЖІТІ, 2000. -244с.



Масш
Аркушів
