Электронная микроскопия
БЕЛОРУССКИЙ ГОСУДАРСТВЕННЫЙ УНИВЕРСИТЕТ ИНФОРМАТИКИ И РАДИОЭЛЕКТРОНИКИ
Кафедра ЭТТ
РЕФЕРАТ
На тему:
«Электронная микроскопия»
МИНСК, 2008
Основные характеристики микроскопов
Разрешающая способность микроскопа - это минимальное расстояние между ближайшими точками, при котором их ещё можно наблюдать раздельно.
Из теории оптической микроскопии следует, что разрешающая способность выражается как
= /NA ,
где NA - числовая апертура линз объектива, - длина волны излучения, в котором формируется изображение в микроскопе.
Для светового микроскопа = 400...750 нм, а значение NA для лучших объективов не превышает 1,5. Это говорит о том, что даже в самых лучших световых микроскопах нельзя наблюдать детали объекта меньше чем 200 нм.
Глубина резкости - это расстояние вдоль оптической оси, на котором расфокусировка (т.е. неточность установки объектива по отношению к объекту и его изображению) не влияет на разрешающую способность:
D = / sin ,
где 2 - угол расходимости лучей, образующих изображение предмета.
Увеличение любого микроскопа равно отношению размера, разрешаемого невооружённым глазом (0.2 мм) к размеру наименьшей детали изображения, разрешаемого микроскопом. Для светового микроскопа
M = 0.2/ = 1000 .
Увеличение разрешающей способности микроскопа путём уменьшения длины волны привело к положительному результату. Микроскопы, использующие УФ - лучи, позволяют увеличить разрешающую способность примерно в два раза. Переход к микроскопии, использующей рентгеновские лучи, позволяет ещё более резко увеличить разрешающую способность. Однако отсутствие оптических линз для рентгеновского диапазона создаёт ряд трудностей в реализации этой идеи. Такие принципиальные трудности были преодолены после того, как в 1923 г. Луи де Бройлем была выдвинута гипотеза, согласно которой любой частице с массой m, движущейся со скоростью v, соответствует волна с длиной
= h/mv ,
где h - постоянная Планка, равная 6.67>*>10-34 Дж с .
Скорость электрона можно выразить через ускоряющее напряжение:
Е = еU = mv 2/2
v = (2еU/m)1/2
= h/(2mеU)1/2
Приближённые расчёты показывают, что волна, соответствующая электрону, ускоренному полем в 150 В, равна 0.1 нм, что на 3 порядка меньше длины волны видимого света. Поскольку электрону соответствует столь короткая волна, это наводит на мысль о возможности создания микроскопа, работающего с электронными пучками. Роль оптической системы могут выполнять соответствующим образом подобранные электрические и магнитные поля, сформированные электромагнитными линзами.
Принцип действия электронных микроскопов
В настоящее время различают просвечивающую электронную микроскопию (ПЭМ) и растровую электронную микроскопию (РЭМ). Данные для сравнения РЭМ, ПЭМ и световой микроскопии (СМ) приведены в таблице 1.
Табл. 1. Сравнительные характеристики световых и электронных микроскопов

Просвечивающий электронный микроскоп представляет собой вакуумную камеру, изготовленную в виде вертикально расположенной колонны (рис. 1). Вдоль центральной оси этой колонны сверху вниз внутри колонны расположены электронный прожектор, определенный набор электрических катушек с проводом - электрических магнитов, выполняющих роль электромагнитных линз для пучка электронов, проходящего вдоль центральной оси колонны до ее основания, и флуоресцирующего экрана, поверхность которого бомбардируют электроны пучка.

Рис.1. Просвечивающий электронный микроскоп JEM-200CX
ПЭМ является фактическим аналогом светового микроскопа. Его схема показана на рис.2. Исследуемый образец располагается в области объективной линзы 5. Проекционная и промежуточная линзы выполняют функцию окуляра. Изображение формируется на флуоресцирующем экране.

Рис. 2. Схема просвечивающего электронного микроскопа:
1 - катод, 2 - управляющий электрод, 3 - анод, 4 - конденсорная линза, 5 - объектная линза, 6 - апертурная диафрагма, 7 - селекторная диафрагма, 8 - промежуточная линза, 9 - проекционная линза, 10 – экран
Объект АВ располагают обычно на микросетке. Проходя через объект, электроны рассеиваются в некоторый телесный угол, который ограничивается апертурой диафрагмой объектной линзы. Изображение объекта, формируемое объектной линзой (А’В’) увеличивается промежуточной (А’’В’’) и проекционной (А’’’В’’’) линзами. Контраст изображения обуславливается поглощением (амплитудный контраст) и рассеянием (фазовый контраст) электронов в объекте (рис. 3).

Рис. 3. Электронные изображения биологической ткани, полученные при различной степени увеличения. На первом изображении с увеличением в 170 раз видна графитовая микросетка, на которой располагают исследуемый объект
В ПЭМ объект исследования должен пропускать пучок электронов. Первостепенная задача исследователя - обеспечение двух условий: малой толщины образца и избирательного взаимодействия электронов с разными деталями образца. Микроскоп снабжается камерой, в объёме которой создаётся необходимый вакуум (10-5 - 10-6 Па). Ускоряющее напряжение, прикладываемое между катодом и анодом, находится в пределах от 20 до 200 кВ, что обеспечивает режим работы «на просвет». В РЭМ это напряжение значительно меньше (до 20 кВ). Весьма эффективно применение ПЭМ для анализа микроструктуры материалов, установление в ней нарушений, контроля правильности заполнения узлов кристаллической решётки, наличия пустот, дислокаций и т.д. (рис. 4).

Рис. 4. Двумерное электронное изображение кристалла Nb, полученное при 200 кэВ ускоряющего напряжения и увеличении в 6.000.000 раз. Черные точки соответствуют позициям атомов Nb, белые – каналам межатомного пространства
В

Рис .5. Изображение структуры золотой пленки, полученное во вторичных электронах с увеличением в 180.000 раз и разрешением 6 нм
отличие от ПЭМ растровая электронная микроскопия позволяет дефектоскопировать образцы практически любых размеров по толщине. В её основе лежат физические явления, наблюдающиеся при бомбардировке поверхности твёрдого тела пучком электронов с энергией до нескольких десятков килоэлектронвольт, разворачиваемым в двумерный растр на поверхности исследуемого образца. К таким явлениям относятся: эмиссия вторичных электронов (рис. 5); рентгеновское излучение; оптическое излучение (катодолюминесценция); образование отражённых электронов (рис. 6); наведение токов в объекте дефектоскопирования (рис. 7 а); поглощение электронов (рис. 7 б); электроны, прошедшие сквозь образец (рис. 7 в); образование объёмного заряда; образование термоволны при модуляции электронного пучка по амплитуде. Регистрация и последующее преобразование сигналов, вызванных вторичными эффектами, позволяет получить разнообразные по информативному содержанию "электронные" изображения объекта.

Рис. 6. Контроль дефектов изготовления интегральных схем по электронным изображениям, полученным в режиме контроля отраженных электроном при различных ускоряющих напряжениях и увеличении в 250 раз

Рис. 7. Электронные изображения, полученное в режимах контроля наведенных токов в кристалле интегральной схемы (а), поглощенных электронов (сквозного сопротивления) в пленке сплава четырех металлов Ti-Fe-Ni-Ag (б), электронов, прошедших сквозь тонкий слой каучука (в)
Если после бомбардировки образца электронным пучком измерить энергетическое распределение всех эмиттированных из него электронов в диапазоне энергий от 0 до Е>0 >(Е>0> - энергия первичных бомбардирующих поверхность исследуемого образца электронов), то получится кривая, подобная изображённой на рис. 8. Высокоэнергетическая часть распределения (область I) имеет широкий максимум и соответствует отраженным электронам, меньшая часть которых имеет низкие энергии (область II). Увеличение числа эмиттированных электронов, которые образуют область III, происходит за счёт процесса вторичной электронной эмиссии.

Рис. 8. Энергетическое распределение электронов, эмиттированных из исследуемого образца после его бомбардировки первичным электронным пучком
Вторичные электроны возникают в результате взаимодействия между высокоэнергетичными электронами пучка и слабо связанными электронами проводимости. При взаимодействии между ними происходит передача электронам зоны проводимости лишь нескольких электронвольт энергии, но вполне достаточных для того, чтобы они покинули кристаллическую решётку. В состав вторичных электронов входят также электроны, возникающие в результате выбивания из внутренних оболочек атомов и Оже-электроны, возникающие в результате безизлучательной рекомбинации. Энергия этих электронов характеризуется энергией определённых электронных уровней конкретного атома.
В процессе неупругого рассеяния электронов пучка при взаимодействии его с исследуемым образцом может возникать рентгеновское излучение. Это происходит за счёт двух различных процессов:
торможения электрона пучка в кулоновском поле атома, приводящего к возникновению непрерывного спектра электромагнитного излучения с энергией от нуля до энергии падающего электрона (в этот диапазон входит и энергия рентгеновских квантов);
взаимодействия электрона пучка с электронами внутренних оболочек, приводящего к возникновению характеристического рентгеновского излучения (энергия испускаемого рентгеновского кванта характеризуется разностью энергий между чётко определёнными электронными уровнями).
К

Рис..9. Растровый электронный микроскоп JSM-35C
огда некоторые материалы, такие как диэлектрики и полупроводники, подвергаются электронной бомбардировке, то возникает длинноволновое электромагнитное излучение в ультрафиолетовой и видимой части спектра. Это излучение, известное как катодолюминесценция.Для анализа рабочего состояния активных и пассивных элементов ИС представляет интерес режим наведённых токов. При сканировании электронным пучком поверхности кристалла ИС, подключенного к источнику питания, часть поглощённых в кристалле электронов превращается в свободные носители заряда и генерируют электрические сигналы, обнаруживаемые в цепи питания. Эти сигналы имеют максимальное своё значение при пересечении электронным пучком областей потенциальных барьеров на кристалле (p-n переходов), что позволяет их визуализировать на экране видеомонитора (рис. 7 а).
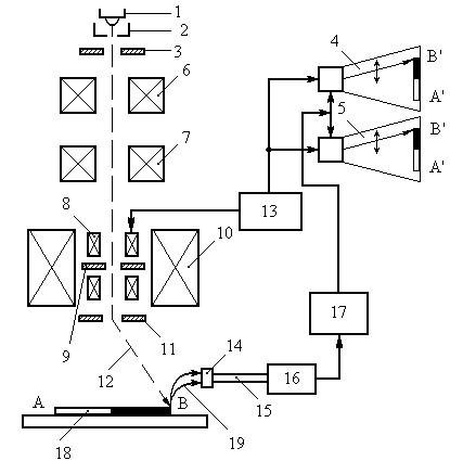
Конструктивно РЭМ от ПЭМ отличается наличием отклоняющей системы для электронного луча, датчиков отражённых и вторичных электронов, датчиков других вторичных сигналов с блоком формирования видеосигнала и электронным видеоблоком для наблюдения и фотографирования изображения (рис. 9, 10).

Рис. 10. Схема растрового электронного микроскопа:
1 - термоэмиссионный катод; 2 - управляющий электрод; 3 - анод, 4 - ЭЛТ для наблюдения; 5 - ЭЛТ для фотографирования; 6,7 - первая и вторая конденсорная линзы; 8 - отклоняющие катушки; 9 – стигматор; 10 - объективная линза; 11 - объективная диафрагма; 12 - электронный пучок; 13 - генератор развёртки электронного луча микроскопа и ЭЛТ видеоблока; 14 - сцинтиллятор; 15 – светопровод; 16 – ФЭУ; 17 – видеоусилитель; 18 – исследуемый образец; 19 – регистрируемый сигнал (оптический, рентгеновский или электронный)
В

Рис. 11. Электронное изображение головы муравья, полученное в отраженных электронах с большой глубиной резкости
РЭМ необходимо применять излучающую систему, формирующую на образце пятно очень малого размера и позволяющую перемещать его по всей поверхности образца. Вследствие того, что диаметр пучка электронов поддерживается в пределах нескольких микрометров на достаточно большом расстоянии от поверхности образца, глубина резкости велика, что очень важно при исследовании рельефных поверхностей микрообъектов (рис. 6). Эта особенность РЭМ, которой полностью лишены световые и просвечивающие электронные микроскопы, обеспечивает РЭМ большое практическое значение и при небольших увеличениях (рис. 11).Принцип действия ионных микроскопов
Методы зондирования поверхности излучениями всё же не дают возможности своими глазами увидеть её самые малые участки. Для того, чтобы понять, что же происходит на поверхности, исследователям необходима карта точного расположения атомов и их электронных оболочек. Наблюдать отдельные атомы на поверхности позволяют ионные микроскопы. Это связано с тем, что длина волны движущегося в электрическом поле иона должна быть гораздо меньше, чем длина волны электрона, что подтверждается формулой Луи де Бройля -
= h/mv ,
ведь масса иона несоизмеримо больше массы покоя электрона.
В настоящее время (начало бурного развития наноэлектронных технологий) практически опробованы и постоянно модернизируются несколько типов ионных микроскопов, среди которых можно выделить полевой ионизационный микроскоп, растровый туннельный микроскоп и атомный силовой микроскоп. Ниже кратко рассмотрим первых два вида ионных микроскопов.
Полевой ионизационный микроскоп (ПИМ).
Основой прибора служит очень тонкая и острая металлическая игла, являющаяся исследуемым образцом, а также люминесцентный экран, расположенный напротив (рис. 12).

Рис. 12. Схема формирования изображения в полевом ионизационном микроскопе
1 - образец исследуемого материала (наконечник иглы); 2 - зона ионизации;
3 - атом "изображающего" газа; 4 - ион; 5 - расходящийся поток ионов;
6 - заземлённый флуорисцирующий экран; 7 - вспышка на экране;
8 - изображение (совокупность вспышек)
Пространство между иглой и экраном заполняется инертным газом (гелием, аргоном) при давлении 10-1 Па. Если между кончиком иглы и экраном приложить напряжение, причём игла должна служить анодом, то вокруг неё можно создать чрезвычайно сильное электрическое поле - около 500 МВ/см2. Когда электрически нейтральный атом вследствие диффузии подходит к атомам острия, электрическое поле ионизирует его. Этот ион под действием электрического поля направляется к той точке экрана, которая однозначно соответствует позиции атома исследуемого образца, вблизи которого произошла ионизация. Изображение иглы на флуоресцирующем экране характеризуется очень большим увеличением - отчётливо видны атомы кристаллической решётки. Поскольку ионы - это тяжёлые частицы, то длина их волны очень мала, вследствие чего исключаются дифракционные эффекты, снижающие разрешающую способность получаемых изображений.
При этом максимальное разрешение микроскопа определяется величиной менее 0,2 нм.
Однако не все образцы можно изучать с помощью ионного микроскопа. Образец должен быть насажен на тонкий кончик иглы шириной несколько ангстрем и быть стойким к огромным электрическим полям, которые могут привести к разрыву химических связей, удерживающих атомы на поверхности. Самые важные с технологической точки зрения полупроводниковые материалы можно изучать лишь при полях с плотностью около 350 МВ/см.
Растровый туннельный микроскоп (РТМ).
Принцип работы РТМ сравнительно прост. Сканирующая металлическая игла, закрепленная в трехкоординатном приводе P>X>, P>Y>, P>Z>, расположена перпендикулярно исследуемой поверхности (рис. 13).

Рис. 13. Принцип работы сканирующего туннельного микроскопа:
1 – игла; 2 – исследуемая поверхность; 3 – трехкоординатный пьезопривод; 4 – система обратной связи
С помощью пьезопривода игла подводится к поверхности образца до возникновения туннельного тока I>T>, который определяется величиной зазора s между иглой и поверхностью:
,
г

Рис. 14. Пределы разрешенич различных типов микроскопов: РТМ-растровый туннельный микроскоп; ОВМ-оптический микроскоп с высоким разрешением; РЭМ-растровый электронный микроскоп;ПИМ-полевой ионизационный микроскоп; ФКМ-фазо-контрастный микроскоп
де Ф – величина потенциального барьера в зазоре, измеряемая в электронвольтах; U – напряжение, приложенное между иглой и образцом в вольтах; s – зазор между поверхностью и иглой в ангстремах.При постоянном напряжении U на зазоре игла перемещается вдоль поверхности, причем с помощью системы обратной связи, воздействующей на пьезоэлемент P>Z>, туннельный ток I>T> поддерживают постоянным. Если величина барьера Ф постоянна вдоль исследуемой поверхности (материал поверхности однороден), то величина туннельного тока будет изменяться пропорционально величине зазора между иглой и поверхностью и график изменения этого тока будет описывать профиль рельефа поверхности. Набор таких профилей даст непосредственную информацию о топографии поверхности.
На рис. 14 представлены сравнительные характеристики различных сканирующих растровых микроскопов, а на рис. 15 и 16 – примеры изображений отдельных групп атомов, построенных с помощью РТМ.

Рис. 15. РТМ-изображение германиевой самосборки атомов (германиевая «пирамида» на кремнии) шириной 10 нм

Рис. 16. РТМ-изображение «квантового загона» - 48 атомов Fe по окружности диаметром 14,6 нм с движущимися внутри электронами (волновой рельеф) на медной пластине
ЛИТЕРАТУРА
1. Б. Хабаров, Г.Куликов, А.Парамонов. Техническая диагностика и ремонт бытовой радиоэлектронной аппаратуры. – Мн.: Издательство: Горячая Линия – Телеком, 2004. – 376 с.
2. Дэвидсон Г. Поиск неисправностей и ремонт электронной аппаратуры без схем. 2-е издание. М. Издательство: ДМК Пресс. 2005, - 544 с.