Электрополитография. Рентгенолитография
БЕЛОРУССКИЙ ГОСУДАРСТВЕННЫЙ УНИВЕРСИТЕТ ИНФОРМАТИКИ И РАДИОЭЛЕКТРОНИКИ
кафедра ЭТТ
РЕФЕРАТ на тему:
«Электрополитография. Рентгенолитиграфия»
МИНСК, 2008
Электрополитография
Электронолитография основана на непосредственном создании или проекционном переносе изображения с помощью пучка электронов.
Этот метод наиболее перспективен для формирования элементов изображения, размеры которых составляют менее микрометра, и имеет несколько существенных отличий от фотолитографии.
Электронный пучок, ускоренный электрическим полем при разности потенциалов U (В), характеризуется длиной волны (нм) актиничного излучения
(1)
Так, при разности потенциалов 15 000 В длина волны составит 0,01 нм, что более чем в десять тысяч раз меньше длины волны актиничного излучения, используемого в фотолитографии. Следовательно, даже при формировании элементов размером менее 1 мкм дифракционные явления не будет оказывать существенного влияния.
Энергия кванта светаЕ у = hcfh, а при прохождении ускоряющей разности потенциалов U энергия электрона
Е>е> = т>е>с + е U (2)
где h =6,62 • 10-34 Вт • с - постоянная Планка; т = 9,1 х 10-28 г - масса электрона; с = 3 • 108 м/с —скорость света в вакууме; е=1,6•10-19Кл- заряд электрона.
Таким образом, при λ = 0,4 мкм энергия кванта света Е>у> = = 5 • 10"19 Дж, а при U=15 000 В энергия электрона Е>е> = 8,33 х10-14 Дж.
Столь высокая энергия актиничного излучения (в сто тысяч раз большая энергии кванта света) позволяет применять в электронолитографии специальные чувствительные полимерные составы, называемые электронорезистами. Электронорезисты характеризуются коэффициентом чувствительности, который определяется зарядом, образующимся при их экспонировании пучком электронов на единицу площади (Кл/см2).
Сравнительные характеристики фото- и электронорезистов при экспонировании их электронным пучком приведены В таблице 1.
Характеристики экспонирования резистов Табли ц а1.
Актиночувствительная Разрешающая способ- Коэффициент чувст композицияность, линий/мм вительности при U=
= 15 000 В, Кл/см2
Фоторезисты:
позитивные 600 6 • 10-4
негативные 300 (5…8) • 10-5
Электронорезисты на
основе:
метакрилатов 1000 10-s - 5 • 10-6
силиконов 1250 10-s -10-6
При экспонировании электронорезиста происходит рассеяние электронов пучка на ядрах его атомов и орбитальных электронах. Так как толщина слоя электронорезиста обычно мала (0,3 - 1,0 мкм), пучок электронов проходит через него и рассеивается в нижележащем слое и подложке (Рисунок 1). При этом наблюдается прямое и обратное рассеяние электронов, суммарное действие которого расширяет область экспонирования по сравнению с первичным пучком. Так, при диаметре пучка d>0> = 50 нм, толщине слоя электронорезиста 0,5 мкм и энергии 20 кэВ диаметр рассеянного пучка электронов будет равен 200 нм. Естественно, что чем тоньше слой электронорезиста, тем больше его разрешающая способность.
При попадании электронного пучка в тонкий полимерный слой электроны при упругих и неупругих столкновениях теряют свою энергию. Эти процессы и называют рассеянием электронов. При таком рассеянии возникает поперечный поток электронов в направлении, перпендикулярном направлению падающего пучка. При прохождении пучка электронов в подложку в ней также происходят рассеяние и отражение электронов (обратное рассеяние).
Характеристики рассеяния зависят от энергии, тока и геометрии электронного пучка, толщины слоя электронорезиста и материала подложки. Обратное рассеяние оказывает влияние на экспонирование электронорезиста. Поэтому участки слоя электронорезиста, нанесенные на различные по составу слои, получают разные дозы облучения и будут проявляться по-разному.
Характеристиками рассеяния электронов в слое электронорезиста определяется форма клина проявления, которая зависит также от энергии воздействующих электронов, типа электронорезиста (позитивный или негативный), его толщины и состава слоев осажденных на подложку.

Рисунок 1. Рассеяние пучка электронов в слое электронорезиста и подложке:
1 — первичный пучок электронов, 2 - слой электронорезиста, 3 - подложка, 4 — область прямого и обратного рассеяния электронов

Рисунок 2. Формы клина проявления на тонком слое позитивного электронорезиста (а) и на толстых слоях позитивного (б) и негативного (в):
1 — пучок электронов, 2 - слой электронорезиста, 3 — подложка, 4 - область рассеяния и поглощения электронов, 5 - клин проявления
Формы клипа проявления электронорезиста в зависимости от толщины его слоя показаны на рисунке 2, а - в. Если пучок 1 электронов проходит через слой 2 злектронорезиста и не успевает рассеяться, так как его толщина мала, а энергия электронов велика, формы клина 5 проявления близка к вертикальной (Рисунок 2, а). Когда рассеяние электронов происходит в основном в объеме слоя электронорезиста большой толщины, после проявления форма его клина повторяет форму и области рассеяния электронов (Рисунок 2, б, в). На позитивных электронорезистах в этом случае получают "отрицательный" клин проявления, а на негативных — "тянутый".
Рассеяние электронов в слое электронорезиста влияет не только на форму клина проявления, но и существенным образом определяет возможность формирования малых элементов изображения. Так, на рисунке 1 была пунктиром показана граница области проявления при экспонировании электронным пучком. На самом деле область рассеяния электронов намного больше. Если элементы изображения лежат в непосредственной близости друг к другу, то дозы, полученные от рассеянных при экспонировании электронов, складываются и могут вызвать существенное искажение геометрии элементов после проявления.

Рисунок 3. Проявление "эффекта близости" при экспонировании в случаях отсутствия (а) и наличия (б) рассеяния электронов:
— распределение первичного пучка электронов, 2 — уровень облучения, необходимый для полного проявления, 3 — полученное изображение, 4 — реальное (рассеянное) распределение электронов при экспонировании, 5 - суммарное распределение дозы облучения с учетом рассеяния (эффект близости)
Рассмотрим, как "хвосты" рассеяния от экспонированных областей складываются и приводят к проявлению областей, в которые не проходило прямое экспонирование электронным пучком, но которые получили суммарную дозу, достаточную для их проявления. При малом рассеянии (тонкий слой электро-норезиста — Рисунок 3, а) область проявления соответствует области экспонирования, поэтому можно получить изображение малых экспонируемых областей d при их близком взаимном расположении. Сильное рассеяние электронов (Рисунок 3, б) искажает не только размеры проявленных областей, но и вызывает взаимное влияние близко расположенных элементов изображения. Такое влияние называют эффектом близости.
Эффект близости является самым значительным ограничением в электронолитографии по точности переноса изображения и формирования элементов малых размеров. На рисунке 4, а, б показано, как исходная геометрия элементов искажается из-за эффекта близости. Причем геометрия элементов может настолько исказиться, что произойдет полное их слияние.
Уменьшением дозы экспонирования площади элемента искажения устранить нельзя, так как это приведет к его недопроявлению. Поэтому для компенсации эффекта близости предварительно устанавливают определенную дозу экспонирования и выбирают необходимую геометрию элементов изображения. Только так удается избежать влияния эффекта близости.
В электронолитографии применяют два способа непосредственного формирования элементов изображения на полупроводниковых подложках: последовательной экспозицией тонким сфокусированным электронным пучком круглого сечения (сканирующий способ) и последовательным экспонированием прямоугольным пучком переменного сечения (электронно-наборный способ). Оба эти способа отличаются только операцией экспонирования.
По сравнению с фотолитографией электронолитография обладает следующими преимуществами:

Рисунок 4. Перенос изображения элементов без влияния "эффекта близости" (д) и искажение их геометрии под его влиянием (б): 1 — смыкание элементов, 2, 3 - допустимое и не допустимое частичное искажение формы элементов

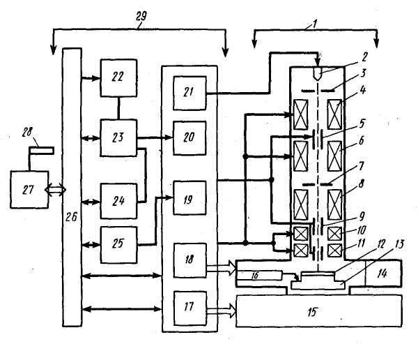
Рисунок 5. Структурная схема электронно-лучевой установки экспонирования :
1 — электронно-оптическая система, 2 - электронная пушка, 3, 7 — формирующая первичный электронный пучок и промежуточная диафрагмы, 4 - магнитная линза, формирующая электронный пучок, 5 -отклоняющая пластина, б, 8 - промежуточная фокусирующая и уменьшающая магнитные линзы, 9 - система электродов отклонения и отключения электронного пучка, 10 - магнитная система отклонения электронного пучка, 11 - проекционная магнитная линза, 12 -экспонируемая подложка, 13 - координатный стол, 14 — шлюзовая система загрузки и смены подложек, 15 - вакуумная система с безмасляными средствами откачки, 16 - система привода координатного стола, 17 - блок контроля и управления вакуумной системы, 18 - система управления координатным столом и загрузкой - выгрузкой подложек, 19 - блок питания и контроля магнитной системы, 20, 25 -блок и система контроля электронно-оптической системы, 21 - высоковольтный блок, 22 — буферное быстродействующее запоминающее устройство, 23 - арифметический блок расчета коррекций, 24 -система контроля изображения и совмещения, 26 - интерфейс, 27 — быстродействующая суперЭВМ, 28 - магнитная лента с топологической информацией, 29 - система управления
во-первых, имеет принципиально большую разрешающую способность, обусловленную малым влиянием дифракционных явлений;
во-вторых, пучок электронов можно отклонять и запирать с большими скоростями с помощью электрических или магнитных полей и управлять им по программе, заложенной в ЭВМ;
в-третьих, электронный пучок можно фокусировать с помощью магнитных линз в тонкий луч однородной плотности или формировать с помощью диафрагм в прямоугольный пучок переменного сечения;
в -четвертых, глубина резкости электронно-оптических систем значительно больше, чем оптических проекционных, что существенно снижает требования к геометрии полупроводниковых подложек;
в-пятых, так как электронно-лучевые системы размещаются в вакуумной рабочей камере, подложки в процессе экспонирования не загрязняются.
Рентгенолитиграфия
При рентгенолитографии изображение на полупроводниковую подложку "переносится с шаблона, называемого рентгеношаблоном, с помощью мягкого рентгеновского излучения, длина волны которого λ = 0,5…2 нм. Разрешающая способность рентгенолитографии 0,2 - 0,3 мкм.
В настоящее время рентгенолитография не нашла широкого применения в серийном производстве полупроводниковых приборов и ИМС из-за сложности технологии и используемого оборудования. Для реализации рентгенолитографии необходимы:
мощный источник рентгеновского излучения с малой расходимостью пучка;
рентгеношаблоны, обладающие высокой прочностью, контрастностью и малым температурным коэффициентом линейного расширения;
рентгенорезисты высокой разрешающей способности и чувствительности;
системы мультипликации изображения, погрешность совмещения которых не превышает 0,03 - 0,05 мкм.
Упрощенная схема экспонирования при рентгенолитографии показана на рисунке 6.
При рентгенолитографии используют два способа переноса изображения с рентгеношаблона на рабочую площадь подложек: полностью и мультипликацией.
В обоих случаях совмещение выполняют по специальным меткам на рентгеношаблоне и подложках при освещении монохроматическим излучением видимого диапазона, а экспонирование — рентгеновским.

Рисунок 6. Схема экспонирования рентгенолитографии:
1 — поток рентгеновских лучей, 2 - канал совмещения, 3 — опорная рамка рентгеношаблона, 4 — область экспонирования (окно в опорной рамке), 5 -рисунок на слое, непрозрачном для рентгеновских лучей, б — окно для совмещения рентгеношаблона и подложки, 7 - пленка, несущая рисунок и прозрачная для рентгеновских лучей, 8 — метка совмещения на подложке, 9 — слой рентгенорезиста, 10 — подложка
Плотность потока рентгеновский лучей, падающих на подложку, обратно пропорциональна расстоянию от их источника. Поэтому это расстояние, чтобы уменьшить время экспонирования, с одной стороны, должно быть небольшим, а с другой, для уменьшения размытости изображения из-за расходимости рентгеновского луча — большим. Кроме того, необходимо устанавливать с высокой точностью (не хуже 0,5 мкм) зазор между поверхностями рентгеношаблона и подложки, для чего их закрепляют в специальном устройстве.
Как известно, при облучении поверхности потоком ускоренных электронов она излучает рентгеновские лучи. Для создания высокоинтенсивного потока рентгеновского излучения необходимо использовать электронные пучки высокой плотности тока. В качестве материалов, используемых для изготовления мишеней, способных излучать рентгеновские лучи требуемых длин волн, обычно служат Сu, Al, Mo, Pd.
Основной характеристикой источника рентгеновского излучения является длина волны и способность материала мишени выдерживать электронный поток высокой интенсивности. Мишень при облучении мощными потока электронов сильно нагревается, плавится и испаряется, поэтому отвод теплоты является основной задачей при создании высокоинтенсивных источников излучения. Так как электроны и рентгеновские лучи достаточно легко рассеиваются в воздухе, необходимо рентгеновский источник помещать в высокий вакуум. По этой же причине систему совмещения и экспонирования также располагают в низковакуумной рабочей камере или заполняют камеру гелием.
Высоковакуумная часть установки рентгенолитографии отделяется от низковакуумной вакуумно-плотным окном, прозрачным для мягкого рентгеновского излучения. Этим требованиям отвечают окна из бериллия или прочных органических пленок толщиной до 7 — 8 мкм, которые, кроме того, обладают незначительным поглощением рентгеновского излучения и обеспечивают надежную изоляцию объемов источника и рабочей камеры.
В настоящее время в рентгенолитографии используют точечные источники мягкого рентгеновского излучения, в которых электронный пучок фокусируется на вращающейся с большой частотой (10 000 об/мин и более) мишени, охлаждаемой проточной водой.
Наиболее перспективным источником рентгеновского излучения является синхротронное излучение, создаваемое ускорителем электронов в магнитном поле при движении их по криволинейным траекториям. Синхротронное излучение имеет непрерывный спектр, максимум которого при достаточно большой энергии (до 1 ГэВ) приходится на область мягкого рентгеновского излучения.
Использование синхротронного излучения в рентгенолитографии обусловлено его сильной природной коллимацией, т.е. малой расходимостью потока. В каждой точке криволинейного участка орбиты поток синхротронного излучения сосредоточен в пределах очень узкого конуса с углом вертикальной расходимости порядка нескольких угловых секунд. В результате этого при экспонировании геометрические искажения переносимого изображения оказываются незначительными.
Синхротронное излучение обладает высокой интенсивностью и превосходит в тысячи раз рентгеновское излучение, создаваемое мишенями. Благодаря этому экспонирование синхротронным излучением составляет единицы секунд, что обеспечивает высокую производительность рентгенолитографии.
Стоимость синхротронов очень велика, поэтому необходимо использовать их на множество каналов экспонирования.
Следует отметить, что при использовании синхротронного излучения плоскости рентгеношаблона и подложки должны располагаться по вертикали. Это надо учитывать при проектировании установок совмещения и мультипликации, так как подложки должны точно перемещаться в вертикальной плоскости.
Рентгенорезисты не являются особым классом органических соединений и не отличаются по механизму работы от электронорезистов. Особенность состоит лишь в том, что поглощение слоем резиста рентгеновского излучения меньше, чем электронного, поэтому и эффективность экспонирования рентгеновскими лучами ниже. В результате поглощения кванта энергии рентгеновского излучения в резисте возникают фотоэлектроны которые, взаимодействуя с полимерной основой позитивны: или негативных резйстов, приводят к ее деструкции или объем ной полимеризации.
Кроме того, следует учитывать, что в результате поглощения рентгеновского излучения подложка также излучает электроны, которые производят дополнительное экспонирование. Именно вторичное электронное излучение ограничивает разрушающую способность рентгенолитографии.
Важной проблемой рентгенолитографии является разработка технологии изготовления рентгеношаблонов, которые должны отвечал определенным требованиям. Маска рентгеношаблона, нанесенная на тон кую мембрану, должна хорошо поглощать рентгеновское излучение а мембрана должна обладать малым коэффициентом поглощения, достаточной механической прочностью и не давать усадок и искажение при изменении внешних условий.
Исходя из этих требований, маски формируют в виде тонких пленок Аu, Pt, W, Mo, а мембраны изготовляют в виде тонких слоев Be, Si, SiO>2>, Si>3>N>4>, A1>2>O>3>, их сочетаний или специальных безусадочных полимерных пленок.
Как правило, рентгеношаблоны выполняют на жестком каркасе (обычно — это селективно вытравленные кремниевые подложки), на который наносят мембрану. Изображения элементов на рентгеношаблоне создают электронолитографией.
При рентгенолитографии следует учитывать также радиационные дефекты, которые возникают как в экспонируемых Полупроводниковых подложках, так и в рентгеношаблонах. Дефекты, возникающие в формируемых в подложках транзисторных структурах, устраняют термическим отжигом. Высокие дозы рентгеновского излучения приводят к тому, что сроки использования рентгеношаблонов невелики.
Одним из достоинств рентгенолитографии является возможность получения структур субмикронных размеров с низким уровнем дефектности. Это объясняется тем, что загрязняющие частицы, как правило, органические, существенно не ослабляют рентгеновское излучение при экспонировании, вследствие чего дефекты рентгеношаблона не переносятся на слой рентгенорезиста на подложке.
Рентгенолитографию следует рассматривать как один из наиболее перспективных методов литографии при изготовлении сверхбыстродействующих полупроводниковых приборов и ИМС.
ЛИТЕРАТУРА
Черняев В.Н. Технология производства интегральных микросхем и микропроцессоров. Учебник для ВУЗов - М; Радио и связь, 2007 - 464 с: ил.
Технология СБИС. В 2 кн. Пер. с англ./Под ред. С.Зи,- М.: Мир, 2006.-786 с.
Готра З.Ю. Технология микроэлектронных устройств. Справочник. - М.: Радио и связь, 2001.-528 с.
Достанко А.П., Баранов В.В., Шаталов В.В. Пленочные токопроводящие системы СБИС.-Мн.: Выш.шк., 2000.-238 с.