Оптические, цифровые телекоммуникационные системы
Федеральное агентство по образованию Российской Федерации
Государственное образовательное учреждение высшего профессионального образования
ЧИТИНСКИЙ ГОСУДАРСТВЕННЫЙ УНИВЕРСИТЕТ (ЧитГУ)
ИНСТИТУТ ТЕХНОЛОГИЧЕСКИХ И ТРАНСПОРТНЫХ СИСТЕМ (ИТиТС)
Кафедра физики и техники связи (ФиТС)
ПРОЕКТИРОВАНИЕ СЕТИ SDH
Курсовой проект по дисциплине
«Оптические, цифровые телекоммуникационные системы»
Студент гр. ТК 04-2
_________ А.А. Андреев
31.03.2008
Руководитель
Старший преподаватель кафедры ФиТС
_________ _________ К.Ф. Сахибгореев
_________
2008
Содержание
Введение……………………………………………...…………………………
1. Синхронные цифровые сети на основе технологии SDH……….…………
2. Техническое задание на проектирование сети SDH…………………...…...
3. Выбор топологии………………………………………………...…………
4. Выбор оборудования и схемы функциональной связи узлов……..………
4.1 Выбор требуемого оборудования………………………………….….
4.2 Номенклатура сменных модулей SDH «НТЦ НАТЕКС»……….…....
4.3 Расчет количества модулей………..…………………………………..
5. Формирование сети управления и синхронизации………………………....
5.1 Определение адресов NSAP для узлов сети………………………….
5.2 Формирование сети синхронизации…………………………………..
5.3 Соединение и конфигурирование узлов и маршрутизация потоков.
Заключение…………………………………………………………………….…
Список использованной литературы………………………………………...…
Введение
Развитие технологий скоростных телекоммуникаций на основе PDH привело к появлению двух наиболее значительных новых цифровых технологий: синхронной оптической сети SONET (COC) и синхронной цифровой иерархии SDH (СЦИ), иногда рассматриваемых как единая технология SONET/ SDH, расширившая диапазон используемых скоростей передачи до 40 Гбит/с [1].
Первые сети SDH в России начали создаваться с 1992г., а эксплуатироваться с 1993г. Первые сети проектировались, как правило, специалистами тех компаний, которые поставляли оборудование SDH. В связи с широким распространением сетей SDH в нашей стране в последнее время проектированием таких сетей стали занимается и отечественные специалисты.
Массовое развертывание сетей SDH связанно не только со строительством новых, но и с модернизацией старых телефонных сетей, в том числе и тех, которые использовали достаточно новые для России сети PDH на основе многомодового ВОК. Если новые сети SDH строились первоначально по классической схеме кольца SDH, то в последствии, при модернизации телефонных узлов в ряде случаев, такие «островки SDH» связывались друг с другом в пределах одного района - в так называемое технологическое кольцо, которое только топологически было замкнутым кольцом, но логически не составляло единого кольца, так как в разных его сегментах существовали разные потоки и не поддерживалась логика кольцевого взаимодействия и защиты.
Это было оправданно, если потоки на различных участках такого кольца значительно отличались друг от друга, и использование классических кольцевых SDH топологий не было оправданно, так как приводило к завышению необходимого числа каналов, циркулирующих по кольцу и, как следствие, к необходимости использовать мультиплексоры SDH более высокого уровня. В этих случаях оказывалось, что дешевле использовать сети с ячеистой топологией, используя сформировавшуюся структуру потоков старых телефонных сетей, основанных на топологиях «точка-точка» и «звезда», тем более что мультиплексоры SDH могли быть использованы как кросс-коммутаторы при небольшом числе лучей в центральном узле [2].
2 Преимущества строительства сетей SDH
Цифровые сети, разработанные и внедренные до появления синхронных сетевых технологий SONET/SDH, были асинхронными системами, так как не использовали внешнюю синхронизацию от центрального эталонного источника. В них потери бит приводили не только к потере информации, но и к нарушению синхронизации. На принимающем конце сети можно было только выбросить полученные с ошибками кадры, и ждать восстановления синхронизации, а не инициировать повторную передачу потерянного фрагмента, как это делается, например, при использовании технологии Х.25 в локальных сетях. Это означало, что указанная информация будет потеряна безвозвратно.
В синхронных сетях средняя частота всех местных таймеров или одинакова (синхронна) или близка к синхронной (плезиохронна), благодаря использованию центрального таймера (источника) класса PRS (что дает для DS3 возможное отклонение скорости порядка 0,045 бит/с). В этой ситуации необходимость выравнивания фреймов или мультифреймов стоит не так остро, а диапазон выравнивания значительно уже.
Синхронные сети имеют ряд преимуществ перед асинхронными, основные из них следующие:
упрощение сети;
надежность и самовосстанавливаемость сети;
гибкость управления сетью;
выделение полосы пропускания по требованию;
прозрачность для передачи любого трафика;
универсальность применения;
простота наращивания мощности.
3 ТЕХНИЧЕСКОЕ ЗАДАНИЕ НА ПРОЕКТИРОВАНИЕ СЕТИ SDH
Техническое задание:
Построить сеть SDH;
Ввести в действие 6 цифровых АТС;
Связать станции в единую сеть, используя технологию SDH;
Сеть SDH предполагается построить в два этапа: 1 этап осуществляется в текущем году, а 2 этап – в следующем;
Существующий и предполагаемый на следующий год сетевой трафик, пересчитанный на число каналов 2 Мбит/с, представлен в таблице 1.1.
Часть каналов должны иметь резервирование 1+1.
Таблица 1.1 – Сетевой межстанционный трафик
|
|
1 этап |
2 этап |
1 этап |
2 этап |
1 этап |
2 этап |
1 этап |
2 этап |
1 этап |
2 этап |
1 этап |
2 этап |
|
А |
A |
25/5 |
40/6 |
40/2 |
75/35 |
50/4 |
15/1 |
30/3 |
25/3 |
15/2 |
20/4 |
|
|
B |
25/5 |
40/6 |
B |
20/2 |
30/5 |
15/3 |
40/10 |
15/3 |
50/1 |
6/2 |
15/3 |
|
|
C |
40/2 |
75/35 |
20/2 |
30/5 |
C |
20/2 |
42/8 |
32/4 |
45/6 |
24/2 |
--- |
|
|
D |
50/4 |
15/1 |
15/3 |
40/10 |
20/2 |
42/8 |
D |
10/2 |
20/4 |
10/1 |
--- |
|
|
E |
30/3 |
25/3 |
15/3 |
50/1 |
32/4 |
40/6 |
10/2 |
20/4 |
E |
6/1 |
10/2 |
|
|
F |
15/2 |
20/4 |
6/2 |
15/3 |
24/2 |
--- |
10/1 |
--- |
6/1 |
10/2 |
F |
|
|
Сумма |
160/16 |
175/49 |
81/15 |
185/24 |
136/12 |
187/24 |
105/12 |
117/23 |
93/13 |
150/16 |
61/8 |
45/9 |
Схема решения включает следующие основные этапы:
выбор топологии;
выбор требуемого уровня и числа мультиплексоров;
выбор поставщика оборудования и изучение номенклатуры сменных блоков;
конфигурация мультиплексорных узлов и составление спецификации оборудования.
3.1 Выбор топологии сети
Для того чтобы спроектировать сеть в целом нужно пройти несколько этапов, на каждом из которых решается та или иная функциональная задача, поставленная в техническом задании на стадии проектирования. Первой из них является задача выбора топологии сети. Эта задача может быть решена достаточно легко, если знать возможный набор базовых стандартных топологий, из которых может быть составлена топология сети в целом. Ниже рассмотрены такие базовые топологии и их особенности.
Топология "точка-точка". Сегмент сети, связывающий два узла А и В, или топология "точка-точка", является наиболее простым примером базовой топологии SDH сети. Она может быть реализована с помощью терминальных мультиплексоров ТМ, как по схеме без резервирования канала приема/передачи, так и по схеме со 100% резервированием типа 1+1, использующей основной и резервный электрический или оптический агрегатные выходы (каналы приема/передачи). При выходе из строя основного канала сеть в считанные десятки миллисекунд может автоматически перейти на резервный.
Несмотря на свою простоту, именно эта базовая топология наиболее широко используется при передаче больших потоков данных по высокоскоростным магистральным каналам, например, по трансокеанским подводным кабелям, обслуживающим магистральный цифровой телефонный трафик. Она же используется как составная часть радиально-кольцевой топологии (используется в качестве радиусов кольцевой сети) и является основой для топологии типа "последовательная линейная цепь".
Топология "последовательная линейная цепь". Эта базовая топология используется тогда, когда интенсивность трафика в сети не так велика и существует необходимость ответвлений в ряде точек на линии, где могут вводится и выводиться каналы доступа.
Она реализуется с использованием как терминальных мультиплексоров на обоих концах цепи, так и мультиплексоров ввода/вывода в точках ответвлений. Эта топология напоминает последовательную линейную цепь, где каждый мультиплексор ввода/вывода является отдельным ее звеном. Она может быть представлена либо в виде простой последовательной линейной цепи без резервирования, либо более сложной цепью с резервированием типа 1+1. Последний вариант топологии часто называют уплощенным кольцом.
Топология "звезда". В этой топологии один из удаленных узлов сети, связанный с центром коммутации (например, цифровой АТС) или узлом сети SDH на центральном кольце, играет роль концентратора, где часть трафика может быть выведена на терминалы пользователей, тогда как оставшаяся его часть может быть распределена по другим удаленным узлам.
Топология “кольцо”. Эта топология, широко используется для построения сетей SDH первых трех уровней SDH иерархии: 155, 622 и 2500 Мбит/с. Основное преимущество этой топологии - легкость организации защиты типа 1+1, благодаря наличию в мультиплексорах SMUX двух пар (основной и резервный) оптических агрегатных выходов (каналов приема/передачи): восток - запад, дающих возможность формирования двойного кольца со встречными потоками.
Радиально-кольцевая архитектура. В этой сети вместо последовательной линейной цепи в радиальной части может быть использована и более простая топология "точка-точка". Число радиальных ветвей ограничивается только из соображений допустимой нагрузки (общего числа каналов доступа) на мультиплексор доступа (ввода/вывода), установленный на кольце.
Топология "ячеистая сеть". Рассмотренные выше базовые топологии, как более характерные для магистральных транспортных сетей, широко используются при построении новых сетей SDH. Традиционные телефонные сети, основанные на использовании узлов коммутации, построены в большинстве своем на основе топологии смешанной сети, в которой, однако можно выделить базовую топологию ячеистой сети - сети, составленной из замкнутых ячеек или контуров, или технологических колец.
В них используется разная форма ячеек сети, например, треугольная (3 узла), четырехугольная (4 узла), пятиугольная (5 узлов), шестиугольная (6 узлов). Существенное отличие ячеистой топологии, например от кольцевой, в том, что потоки в звеньях, соединяющих узлы, могут быть разными, зависящими от требуемой пропускной способности конкретного звена. При этом замкнутый контур ячейки формирует так называемое технологическое кольцо, потоки которого в разных сечениях - разные. Однако ячейка, если нужно, может играть и роль полноценного, а не только технологического кольца.
Характерная особенность ячеистой топологии - возможность расширения сети путем наращивания (мультиплицирования) однотипных ячеек без потери топологической однородности сети. Таким свойством обладают все сети, использующие перечисленные выше ячейки [2].
Исходя из вышесказанного и учитывая то, что ячеистая сеть более дешевая по сравнению с кольцевой топологией из-за меньших расходов на линейно-кабельные сооружения, расчет сети будем производить на основании ячеистой топологии сети. Недостатком данной топологии является организация защиты выделенных каналов. Этот вопрос решается путем направления выделенного канала по двум маршрутам с совпадающими конечными точками.
Такая схема защиты «по разнесенным маршрутам» (1:1) иногда более предпочтительна, чем схема защиты 1+1 в кольце SDH. Однако она требует более тщательного расчета числа потоков, проходящих по отдельным ветвям сети, для того, чтобы убедиться, что оно не превышает возможности кросс-коммутатора узлового мультиплексора.
Проведем этот расчет, основываясь на таблице 1.1. В результате получим таблицу 3.1, дающую сводную информацию о потоках, проходящих по ВОК между узловыми мультиплексорами на станциях. Число каналов дано по этапам 1/2.
В качестве основных и резервных каналов были выбраны следующие маршруты:
основной А→В, резервный А→С→D→B;
основной А→С, резервный А→В→D→С;
основной В→D, резервный В→А→С→D;
основной C→D, резервный C→А→B→D;
основной C→E, резервный C→D→F→E;
основной D→F, резервный D→C→E→F;
основной E→F, резервный E→C→D→F.
Таблица 3.1 – Основные и резервные потоки по сегментам ячеистой сети
|
А→В |
А→С |
В→D |
C→D |
C→Е |
D→F |
E→F |
|
A-B 25/40 |
A-B(p) 5/6 |
A-B(p) 5/6 |
A-B(p) 5/6 |
А-Е 30/25 |
A-E(p) 3/3 |
A-E(p) 3/3 |
|
A-C(p) 2/35 |
A-C 40/75 |
A-C(p) 2/35 |
A-C(p) 2/35 |
A-F 15/20 |
A-F(p) 2/4 |
A-F 15/20 |
|
A-D 50/15 |
A-D(p) 4/1 |
A-D 50/15 |
A-D(p) 4/1 |
B-E(p) 3/1 |
B-E 15/50 |
B-E 15/50 |
|
A-E(p) 3/3 |
A-E 30/25 |
A-E(p) 3/3 |
B-C 20/30 |
B-F(p) 2/3 |
B-F 6/15 |
B-F(p) 2/3 |
|
A-F(p) 2/4 |
A-F 15/20 |
A-F(p) 2/4 |
B-D(p) 3/10 |
C-E 32/40 |
D-E 10/20 |
D-F(p) 1/0 |
|
B-C(p) 2/5 |
B-C(p) 2/5 |
B-C 20/30 |
C-D 20/42 |
D-F(p) 1/0 |
D-F 10/0 |
D-E 10/20 |
|
B-D(p) 3/10 |
B-D(p) 3/10 |
B-D 15/40 |
D-F(p) 1/0 |
D-E(p) 2/4 |
C-F(p) 2/0 |
E-F 6/10 |
|
B-E(p) 3/1 |
B-E(p) 3/1 |
B-E 15/50 |
D-E(p) 2/4 |
C-F 24/0 |
|
C-E(p) 4/6 |
|
B-F(p) 2/3 |
B-F(p) 2/3 |
B-F 6/15 |
C-E(p) 4/6 |
|
|
C-F 24/0 |
|
C-D(p) 2/8 |
C-D(p) 2/8 |
C-D(p) 2/8 |
|
|
|
|
|
|
|
D-E(p) 2/4 |
|
|
|
|
|
Сумма 124 |
Сумма 154 |
Сумма 210 |
Сумма 134 |
Сумма 93 |
Сумма 92 |
Сумма 112 |
4 ВЫБОР ОБОРУДОВАНИЯ И СХЕМЫ ФУНКЦИОНАЛЬНОЙ СВЯЗИ УЗЛОВ
4.1 Выбор требуемого оборудования
Сеть SDH, как и любая транспортная сеть, строится из отдельных функциональных модулей ограниченного набора: мультиплексоров, коммутаторов, концентраторов, усилителей, регенераторов и терминального оборудования.
Основным функциональным модулем сетей SDH является мультиплексор. Мультиплексоры SDH в отличии от обычных мультиплексоров, используемых, например, в сетях PDH, выполняют как функции собственно мультиплексирования, так и функции устройств терминального доступа, позволяя подключать стандартные каналы PDH иерархии (трибы) непосредственно к своим входным портам. Они являются более универсальными и гибкими устройствами, позволяющими решать практически все перечисленные выше задачи, т.е. кроме задачи мультиплексирования выполнять еще и задачи коммутации, концентрации и регенерации. Это оказывается возможным в силу модульной конструкции SDH мультиплексора - SMUX, при которой выполняемые функции определяются лишь возможностями системы управления и составом функциональных модулей (карт), включенных в спецификацию мультиплексора.
Полученная таблица говорит о том, что во всех узлах сети необходимо использовать мультиплексоры уровня STM-4. В результате обзора топологий можно выбрать для использования ячеистую сеть с топологией на рис. 4.1 как наиболее оптимальную, т.к. она при минимальном числе мультиплексоров (6 - уровня STM-4) удовлетворяет поставленным условиям по резервированию указанных каналов.

Рисунок 4.1 – Схема простой ячеистой сети SDH
Для конфигурации узлов, составления спецификации сменных модулей и прорисовки блок-схемы соединений сменных блоков всех узлов, кроме топологии сети и той информации, которая содержится в таблицах 1.1 и 3.1, нужно знать номенклатуру функциональных сменных блоков.
Для этого необходимо выбрать оборудование конкретного производителя. Для данного примера проектирования сети было выбрано оборудование компании ЗАО «НТЦ НАТЕКС». Учитывая два этапа развития сети, следует указать, какие блоки будут установлены на первом и какие на втором этапах.
4.2 Номенклатура сменных блоков SDH ЗАО «НТЦ НАТЕКС»
Компания ЗАО «НЦТ НАТЕКС» производит мультиплексоры SDH уровня STM-1, 4, 16. Оборудование FlexGain A2500 Extra предназначено для использования в различных сетевых конфигурациях: как оконечный мультиплексор, мультиплексор выделения/добавления, регенератор или кроссовый коммутатор. Может применяться в качестве кроссового коммутатора, поддерживающего 32 направления STM-1 и 8 направлений STM-4. В шасси мультиплексора предусмотрено восемь мест для установки плат компонентных потоков. Ниже представлена номенклатура сменных блоков мультиплексора FlexGain A2500 Extra [3]:
Общие модули:
Модуль электропитания имеет два входа батарейного питания –48/-60 В1;
Блок вентиляторов;
Модуль кроссовой коммутации (SWITCH) выполняет функции, не блокируемой полнодоступной матрицы на уровне 64х64 VC4 или 4032х4032 VC12/VC3/VC4;
Интерфейсный модуль (CCU) представляет собой интерфейсный блок для синхронизации, подключения питания и отображения ошибок.
Агрегатные интерфейсы:
L-16.1 - модуль оптического приемопередатчика с интерфейсом STM-16 (работает на длине волны 1300 нм);
L-16.2 - модуль оптического приемопередатчика с интерфейсом STM-16 (работает на длине волны 1550 нм);
L-16.2+ - модуль оптического приемопередатчика с интерфейсом STM-16 (работает на длине волны 1550 нм);
STM-16 - оптический приемопередатчик с интерфейсом STM-16 (работает на длине волны 1550 нм);
MUX10000- четырехканальный мультиплексор/демультиплексор, способный передавать трафик со скоростью 10 Гбит/с от четырех мультиплексоров FlexGain A2500 Extra;
MUX 10000T - одноканальный мультиплексор/демультиплексор;
MUX 10000А - двухканальный мультиплексор/демультиплексор.
Компонентные интерфейсы:
4 STM-1 - модуль электрических приемопередатчиков организует четыре электрических интерфейса STM-1, связанных с модулем кроссовой коммутации;
4 STM-1 S1.1 - модуль оптических приемопередатчиков организует четыре оптических интерфейса STM-1 S1.1, связанных с модулем кроссовой коммутации, работает на длине волны 1300 нм;
4 STM-1 L-1.1 - модуль оптических приемопередатчиков организует четыре оптических интерфейса STM-1 L-1.1, связанных с модулем кроссовой коммутации, работает на длине волны 1300 нм;
4 STM-1 L-1.2 - модуль оптических приемопередатчиков организует четыре оптических интерфейса STM-1 L-1.2, связанных с модулем кроссовой коммутации, работает на длине волны 1550 нм;
STM-4 S-4.1 - модуль оптического приемопередатчика организует один оптический интерфейс STM-4 (или STM-4c), связанный с модулем кроссовой коммутации, работает на длине волны 1300 нм;
STM-4 L-4.1 - модуль оптического приемопередатчика организует один оптический интерфейс STM-4 (или STM-4c), связанный с модулем кроссовой коммутации, работает на длине волны 1300 нм;
STM-4 L-4.2 - модуль оптического приемопередатчика организует один оптический интерфейс STM-4 (или STM-4c), связанный с модулем кроссовой коммутации, работает на длине волны 1550 нм;
STM-16 - модуль оптического компонентного интерфейса;
Gigabit Ethernet - модуль позволяет организовать передачу данных в формате Gigabit Ethernet с сетевой топологией «точка-точка»;
63 Е1 - плата компонентного интерфейса позволяет подключать 63 интерфейса Е1 с волновым сопротивлением 120 Ом или 75 Ом;
3ХЕ3/DS3 - плата компонентного интерфейса позволяет подключать 3 интерфейса Е3 или DS3 с волновым сопротивлением 75 Ом;
GFP150-Extra - модуль позволяет организовать передачу данных в формате Ethernet 10/100 с сетевой топологией «точка-точка» или «точка-многоточка».
4.3 Конфигурация мультиплексорных узлов и составление спецификации оборудования
Для работы всех мультиплексоров уровня STM-4 при минимальной конфигурации требуется следующий набор блоков: шасси, мультиплексор ввода/вывода MUX 10000, интерфейсный модуль (CCU), модуль кроссовой коммутации (SWITCH), STM-4 L-4.1, модуль управления, модуль питания, блок вентиляторов, с различным количеством карт 63Е1.
Для мультиплексоров узлов В и Е будет достаточно иметь на первом этапе 2 карты 63Е1 и три карты на 2 этапе.
Для мультиплексора узла F на обоих этапах нужна всего одна карта 63Е1.
Для мультиплексоров узлов С и D нужно предусмотреть две карты 63Е1(для узла D) и 3 карты 63Е1 (для узла С) и 2 шасси для двух этапов.
Для мультиплексора узла А, работающего в режиме мультиплексора ввода/вывода в технологическом кольце А→В→D→С, обслуживающего на первом этапе 160 каналов и 175 каналов на втором, требуется 3 карты 63Е1 на обоих этапах.

Рисунок 4.2 - Схема конфигурации и функциональной связи узлов 1 этапа

Рисунок 4.2 - Схема конфигурации и функциональной связи узлов 2 этапа
5 ФОРИМРОВАНИЕ СЕТИ УПРАВЛЕНИЯ И СИНХРОНИЗАЦИИ
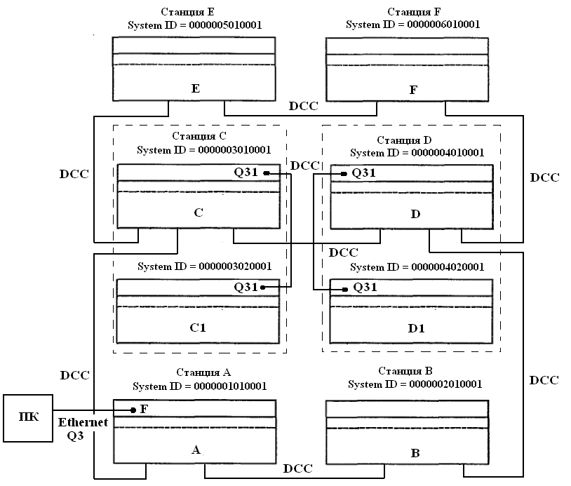
Организуем схему управления узлами (мультиплексорами) используя встроенные каналы связи DCC, которые обеспечиваются самим оборудованием SDH. Соединения между полками мультиплексоров на узлах С и D также осуществляются с помощью каналов DCC. Элемент-менеджер (ПК) подключен к мультиплексору узла А через локальную сеть по интерфейсу Q3.

Рисунок 5.1 – Схема управления ячеистой сетью SDH
5.1 Определение адресов NSAP для узлов сети
Каждый узел сети управления должен иметь свой адрес точки доступа сетевого сервиса NSAP. Этот адрес присваивается узлу при инсталляции. Он уникален и служит для идентификации узла при его подключении к элемент-менеджеру.
При управлении конкретной сетью важным параметром является максимальное число узлов (мультиплексоров), управление которыми возможно. Если число узлов в результате роста сети превысило допустимое количество, то сеть управления должна быть разбита на области с меньшим числом управляемых узлов. Если такое разбиение нужно, то оно должно быть проведено с учетом целого ряда ограничений, обычно указываемых в руководствах по маршрутизации. Некоторые вещи полезно знать для того, чтобы осуществить такое разбиение:
наиболее удобной топологией для сети управления, имеющей несколько областей, является топология звезды,
области управления могут не иметь ничего общего с топологией транспортной сети SDH (хотя это и рекомендуется),
используя портативный компьютер в качестве элемент-менеджера; при переходе из области в область надо менять адрес NSAP у портативного компьютера.
На практике адреса NSAP должны контролироваться (распределяться) некоей сетевой администрацией страны, где развертывается такая сеть, и схема нумерации должна быть локальной для данной страны. Если сама сеть управления локальна и не соединяется ни с какой другой сетью управления, то схема нумерации (отражаемая полем IDI) может быть выбрана произвольно.
Код страны в сетях передачи также должен регламентироваться определенным стандартом. Им является стандарт ISO 3166, который содержит список трехзначных десятичных (двухзначных шестнадцатеричных) кодов, выделенных для каждой страны и используемых для заполнения поля AFI.
В этой связи в данной задаче используется произвольный адрес страны: IDI = 001F, а также произвольный идентификатор AFI = 39. Адрес собственно области - 1, адрес домена - 1, т.е. поле адреса области АА = 00000000000000010001. Поле NSEL = 0. Эти адресные поля остаются постоянными для всех узлов сети SDH.
Системный идентификатор SID должен быть уникальным в данной области и должен отражать структуру используемой сети SDH. В данном примере используется следующая структура SID:
поле с номером станции (Station - 3 байта),
поле с номером отсека (места установки), где установлено оборудование (Room - 1 байт),
поле с номером полки (sub>rack - 2 байта) [2].
С учетом этого в таблице 5.1 помещены значения системных идентификаторов для различных узлов сети.
Таблица 5.1 – Значение системных идентификаторов для узлов сети
|
Узел |
A |
В |
С |
C1 |
D |
D1 |
|
SID |
01010001 |
02010001 |
03010001 |
03020001 |
04010001 |
04020001 |
|
Узел |
E |
F |
|
SID |
05010001 |
06010001 |
5.2 Формирование сети синхронизации
Проблема синхронизации сетей SDH, с одной стороны, является частью общей проблемы синхронизации цифровых сетей (ИКМ и PDH). С другой стороны, SDH привносит свои дополнительные проблемы, вызванные использованием указателей и наличием плавающего режима размещения контейнеров в поле полезной нагрузки, что приводит фактически к определенной асинхронности его транспортировки. Последняя делает невозможным использование выделенного при демультиплексировании STM-N 2 Мбит/с потока для целей синхронизации. Однако технология SDH предлагает и свои специфические методы решения проблем синхронизации.
Если цифровая сеть локальна, то для нее проблемы синхронизации отсутствуют и в разумных пределах фактически не зависят от точности общего источника синхронизации. Проблема синхронизации возникает при объединении таких сетей в одну сложную сеть. Для ее синхронизации нужно предусмотреть, чтобы источники тактовой синхронизации отдельных сетей были одинаковыми и высокостабильными или была построена сеть синхронизации с единым высокостабильным источником тактовой синхронизации.
Синхронизация сетей PDH и SDH отличается своей спецификой. Целостность синхронизации сети PDH основана на использовании той же схемы иерархической принудительной синхронизации (по схеме «ведущий-ведомый»). В ней прохождение сигналов таймеров через узлы сети прозрачно, так как фазы сигналов Е1, используемых для синхронизации, жестко привязаны к фрейму PDH.
В сети SDH, восстанавливающей в каждом узле сигнал таймера из линейного сигнала STM-N, такая прозрачность теряется, а сигнал Е1, восстановленный из сигнала STM-N, для целей синхронизации не используется. В этой ситуации целостность синхронизации сети SDH лучше поддерживается при использовании распределенных первичных эталонных источников PRS, что позволяет устранить эффекты "каскадирования сигналов таймеров".
Внедрение сетей SDH, использующих наряду с привычной топологией точка-точка, кольцевую и ячеистую топологии, привнесло дополнительную сложность в решение проблем синхронизации, так как для двух последних топологий маршруты сигналов могут меняться в процессе функционирования сетей.
Сети SDH имеют несколько дублирующих источников синхронизации, которые можно разделить на два класса: внешние и внутренние.
Внешняя синхронизация:
- сигнал внешнего сетевого таймера, или первичный эталонный таймер PRC, определяемый в рекомендации ITU-T G.811, т.е. сигнал с частотой 2048 кГц;
- сигнал с трибного интерфейса канала доступа, определяемый в рекомендации ITU-T G.812, сигнал с частотой 2048 кГц, выделяемый из первичного потока 2048 кбит/с;
- линейный сигнал STM-N, или линейный таймер, сигнал 2048 кГц, выделяемый из линейного сигнала 155,52 Мбит/с или 4n x 155,52 Мбит/с.
Внутренняя синхронизация:
- сигнал внутреннего таймера (рассматриваемый как таймер ведомого локального узла LNC), определяемый в рекомендации ITU-T G.813, сигнал 2048 кГц;
Что касается точности сигналов внешней синхронизации, то она соответствует стандартам G.811, G.812. Точность сигналов внутренней синхронизации регламентируется производителями и для мультиплексоров SDH составляет обычно 4,6-10".
Учитывая, что трибы 2 Мбит/с, пришедшие из сетей SDH, отображаются в VC-12 и могут плавать в рамках структуры вложенных контейнеров, использующих указатели, их сигналы должны быть исключены из схемы синхронизации сети SDH. Реализуемая точность внутреннего таймера мала и, учитывая возможность накапливания ошибки в процессе так называемого "каскадирования сигналов таймеров", когда узел сети восстанавливает сигнал таймера по принятому сигналу и передает его следующему узлу, может быть использована только локально. В этом смысле наиболее надежными источниками синхронизации являются сигнал внешнего сетевого таймера и линейный сигнал STM-N.
Предусмотрено четыре режима работы хронирующих источников узлов синхронизации: первый - PRC, используется в мастер-узлах, второй - SRC, используется в транзитных и/или местных узлах, третий и четвертый также используются в транзитных и/или местных узлах.
Учитывая наличие нескольких режимов, а также факт трансляции (распространения) сигнала синхронизации, системы управления должны иметь возможность с одной стороны переключать эти режимы, а с другой - иметь показатель, на основе которого можно было бы принять решение о необходимости такого переключения.
Организации ITU-T и ETSI предложили использовать в качестве такого показателя понятие уровень качества хронирующего источника. Этот уровень может быть передан в виде сообщения о статусе синхронизации SSM. Для систем PDH это реализуется последовательностью резервных бит в мультифрейме Е1, для систем SDH это реализуется через заголовок фрейма STM-N, в котором резервируются под эти цели биты 5-8 байта синхронизации S1. В обоих случаях при сбое в сети, узел сети, ответственный за распространение SSM, имеет возможность послать сообщение системе управления о необходимости использования альтернативного сигнала синхронизации.
Основным требованием при формировании сети синхронизации является наличие основных и резервных путей распространения сигнала синхронизации. Однако и в том, и в другом случае должна строго выдерживаться топология иерархического дерева и отсутствовать замкнутые петли синхронизации.
Другим требованием является наличие альтернативных хронирующих источников. Идеальной является ситуация, когда альтернативные источники проранжированы в соответствии с их приоритетом и статусом.
При аккуратном формировании сетевой синхронизации можно избежать возникновения замкнутых петель синхронизации, как в кольцевых, так и в ячеистых сетях. Использование сообщений о статусе синхронизации позволяет в свою очередь повысить надежность функционирования сетей синхронизации [2].
Схема синхронизации приведена на рисунке 5.2. Она содержит один первичный источник синхронизации PRC (узел А) и один вторичный источник в транзитном узле В (G.812). Система управления переключается между этими источниками синхронизации, основываясь на качестве хронирующего источника. Сообщения о статусе синхронизации SSM для систем SDH реализуется через заголовок фрейма STM-N, в котором резервируются под эти цели биты 5-8 байта синхронизации S1. При сбое в сети, узел сети, ответственный за распространение SSM, имеет возможность послать сообщение системе управления о необходимости использования альтернативного сигнала синхронизации.
Сплошными линиями показаны цепи первичной синхронизации, штриховыми – цепи вторичной синхронизации.
Списки источников синхронизации, выбираемых по номеру приоритета для каждого узла, приведены в таблице 5.2.
Таблица 5.2 - Приоритетные источники синхронизации
|
А |
В |
С |
С1 |
D |
D1 |
|
1. Внешний источник синхронизации PRC |
1. Слот 7 STM-4 |
1. Слот 7 STM-4 |
1. Слот 5 4STM-1 |
1. Слот 7 STM-4 |
1. Слот 5 от 4STM-1 |
|
2. Слот 7 STM-4 |
2. Внешний G.812 |
2. Слот 6 STM-4 |
2. Слот 6 STM-4 |
2. Слот 6 STM-4 |
2. Слот 6 STM-4 |
|
3. Внутренний |
3. Внутренний |
3. Внутренний |
3. Внутренний |
3. Внутренний |
3. Внутренний |
|
E |
F |
||||
|
Слот 6 STM-4 |
1. Слот 6 от STM-4 |
||||
|
2. Слот 7 STM-4 |
2. Слот 7 STM-4 |
||||
|
3. Внутренний |
3. Внутренний |

Рисунок 5.2 – Схема первичной и вторичной синхронизации
5.3 Соединение и конфигурирование узлов
Окончательный этап формирования сети управления состоит в механической установке оборудования узлов, их соединении с помощью кабелей и интерфейсных разъемов и инициализации узла: установки программного обеспечения, тестирования правильности соединения, конфигурирования узлов и блоков и прокладки маршрутов потоков данных.
Процедура инициализации узла включает следующие этапы:
подключение интерфейса F очередного узла (например, А) к NM и запустить NM;
введение данных о типе узла, типе полки, имени узла и имени станции, места его расположения;
установку требуемого программного обеспечения блоков узла;
введение адреса NSAP;
перезагрузку системы и выход по введенному адресу NSAP;
редактирование приоритетов в списке источников синхронизации;
конфигурирование каналов управления DCC;
конфигурирование используемых блоков STM-N, обеспечение каждого проложенного маршрута данных контейнера VC-4 идентификатором трассировки маршрута данных TTI.
5.4 Маршрутизация потоков
Управление маршрутизацией потоков данных в сети позволяет:
формировать в автоматическом режиме маршруты потоков данных (trail routes), используя схему топологии сети, типы мультиплексоров, адреса терминальных точек клиентов, требуемые емкости каналов данных и другую информацию;
корректировать или заново формировать потоки данных (trails) вручную, используя сведения о ресурсах сети SDH и ограничениях, существующих на отдельных ее участках;
осуществлять мониторинг потоков данных на основе задания точек мониторинга РОН VC нижнего уровня (точек LPOM);
формировать следующие типы защиты потоков данных: без защиты, полная (двунаправленная), частичная (путем дублирования контейнеров), типа SNCP, дублирование на уровне ОВ, защита на уровне серверного потока данных (использующего блоки верхнего уровня, например, AU-4, для защиты инкапсулированных в нем потоков нижнего уровня);
реконфигурацию трафика и восстановление потока данных;
просмотр списка потоков данных по клиентам/пользователям;
визуальное представление неиспользованных ресурсов по потокам данных на определенном сегменте сети на карте сети.
Для маршрутизации потоков каждый проложенный маршрут данных контейнера VC-4 снабжают идентификатором трассировки маршрута данных TTI. Длина TTI не должна превышать 15 символов, если придерживаться при его формировании правил, предложенных ETSI и основанных на рекомендации ITU-T E.164. Он должен содержать как минимум имена исходного узла и узла назначения, символьный код виртуального контейнера, номер тайм-слота терминального кросс-коммутатора, осуществляющего вывод заданного виртуального контейнера. Идентификаторы TTI позволяют контролировать корректность установки таблицы кросс-коммутации у кросс-коммутаторов на всем пути следования виртуального контейнера [2].
В таблице 5.3 приведены идентификаторы TTI для каждого маршрута передачи данных от одной станции к другой [4].
Таблица 5.3 - Идентификаторы TTI
|
№ |
Маршрут |
Идентификатор TTI |
|
станция А |
||
|
1 |
AB |
A-B_VC4-1_0289 |
|
2 |
AC |
A-C_VC4-3_0995 |
|
3 |
AE |
A-E_VC4-5_0501 |
|
4 |
AF |
A-F_VC4-6_1174 |
|
станция В |
||
|
5 |
BA |
B-A_VC4-1_0289 |
|
6 |
BD |
B-D_VC4-2_0402 |
|
7 |
BF |
B-F_VC4-3_0547 |
|
8 |
BE |
B-E_VC4-4_0564 |
|
9 |
BC |
B-C_VC4-6_0438 |
|
станция С |
||
|
10 |
CA |
C-A_VC4-1_0289 |
|
11 |
CB |
C-B_VC4-2_0802 |
|
12 |
CD |
C-D_VC4-3_1188 |
|
13 |
CE |
C-E_VC4-3_0835 |
|
станция D |
||
|
14 |
DB |
D-B_VC4-2_1202 |
|
15 |
DC |
D-C_VC4-3_1027 |
|
16 |
DE |
D-E_VC4-3_0707 |
|
17 |
DF |
D-F_VC4-4_0756 |
|
станция Е |
||
|
18 |
EA |
E-A_VC4-1_0289 |
|
19 |
EB |
E-B_VC4-2_0962 |
|
20 |
EC |
E-C_VC4-3_1203 |
|
21 |
ED |
E-D_VC4-3_0883 |
|
22 |
EF |
E-F_VC4-4_0932 |
|
станция F |
||
|
23 |
FA |
F-A_VC4-1_0289 |
|
24 |
FB |
F-B_VC4-1_0609 |
|
25 |
FD |
F-D_VC4-4_0436 |
|
26 |
FE |
F-E_VC4-5_0325 |
Заключение
Данный расчет ячеистой сети SDH недостаточно подробен, но он дает возможность изучить основные этапы расчета сетей SDH, такие как составление технического задания, выбор топологии сети, конфигурирование узлов и составление спецификации оборудования.
Данную сеть можно расширить путем наращивания однотипных ячеек, а также увеличить пропускную способность до уровня STM-16, так как мультиплексор FlexGain A2500 Extra позволяет одновременно устанавливать четыре шасси в стойку и пассивный оптический мультиплексор, представляющий собой мультиплексор/демультиплексор 4-х оптических каналов. Это позволит подключить большее количество пользователей к сети, что в свою очередь увеличит экономическую эффективность сети.
Список используемых источников
Слепов Н.Н. «Синхронные цифровые сети SDH» -М.: Эко-трендз, 1997г.- 150с.
Слепов Н.Н. «Современные технологии цифровых оптоволоконных сетей связи» -М.: Радио и связь, 2000г. – 468с.
Краткое техническое описание системы «FlexGain A2500 Extra» -М.: ЗАО «НТЦ НАТЕКС» 2006г. – 33с.
http://www.nateks.ru/