Организация интеллектуальной сети в г. Кокшетау на базе платформы оборудования Alcatel S12
Введение
Концепция интеллектуальной сети является сегодня одной из определяющих концепций развития современных сетей связи. Интерес, проявляемый к ИС (интеллектуальная сеть), не случаен и основан на преимуществах, которые получают администрации связи, операторы сетей и абоненты при реализации услуг ИС, называемых также услугами дополнительных доходов (value added services). Кроме того, данная концепция позволила осуществить выход на рынок средств связи не только производителей коммутационного оборудования, но и ведущих производителей средств вычислительной техники (СВТ) и современных средств обработки информации. Концепция ИС формируется уже более десяти лет и после выпуска в 1993 году ITU-T (International Telecommunication Union – Telecommunication Standardization Sector – Международный Союз Электросвязи – Сектор стандартизации в области связи) пакета рекомендаций серии Q.1200 стала действующим международным стандартом, поддерживаемым также практически всеми основными организациями стандартизации связи - ETSI, ANSI и др.
Интеллектуальная сеть (IN – Intelligent Network) - это новый способ (архитектура, концепция) организации предоставления услуг на сети электросвязи, который облегчает введение новых дополнительных услуг и управление ими. ИС является сегодня одной из определяющих концепций развития современных сетей связи. Интерес, проявляемый к ИС, основан на тех преимуществах, которые получают как клиенты, так и операторы связи при реализации услуг интеллектуальной сети. Основная цель перехода к архитектуре ИС заключается в желании упростить доступ клиентов к услугам, а для оператора - упростить порядок ввода новых услуг. Развитие такого рода услуг продиктовано возросшими потребностями бизнес-структур в необходимости укрепления обратной связи со своими клиентами.
АО «Казахтелеком» продолжает активную работу по предоставлению своим абонентам современных услуг связи и внедряет услуги интеллектуальных сетей. Создание единой интеллектуальной сети АО «Казахтелеком» охватит все регионы Республики и позволит значительно расширить спектр услуг связи, предоставляемых как самим АО «Казахтелекомом», так и сторонними телекоммуникационными операторами, которые могут найти новые взаимовыгодные формы сотрудничества с нашей компанией. Кроме того, внедрение интеллектуальных сетей послужит построению сетей будущего: сближению фиксированных и мобильных сетей, интеграции традиционных сетей связи и сетей Internet [6].
В основе архитектуры ИС лежат так называемые наборы возможностей (CS — Capability Sets), определяющие функциональные возможности сети при предоставлении услуг. Разработка набора возможностей первого этапа CS1 завершена в рамках рекомендаций серии Q.1200 и опирается на существующие сетевые технологии сетей коммутации каналов. Отличительной особенностью данных услуг является то, что они могут быть активизированы только в процессе установления/разъединения соединения. По терминологии ITU-T услуги CS1 относятся к услугам типа «А», они являются одноконцевыми (Single Ended) с централизованной логикой управления (Single Point of Control) [7].
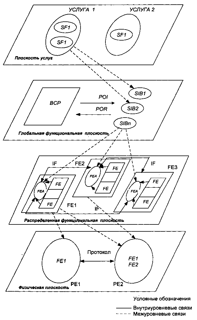
Принципы создания и предоставления услуг в ИС определяются четырехуровневой концептуальной моделью, стандартизованной в рекомендации ITU-T I.312/Q.1201. Модель отражает абстрактный подход к описанию ИС и состоит из четырех плоскостей. Собственно услуга описывается на первом уровне — плоскости услуг SP (Service Plane). Здесь отсутствует информация о том, как именно осуществляется предоставление услуг сетью. На втором уровне — глобальной функциональной плоскости GFP (Global Functional Plane) — услуга представляется в виде цепочки независимых от услуг конструктивных блоков (SIB), разработка которых необходима для внедрения услуг. В рекомендации ITU-T Q.1213 специфицированы как операции, выполняемые блоками SIB, так и данные, необходимые для их выполнения. На третьем уровне распределенной функциональной плоскости DFP (Distributed Functional Plane) - операции, выполняемые SIB, объединяются в группы, называемые функциональными объектами, которые при внедрении услуг могут быть распределены по различным физическим объектам - сетевым центрам. Здесь сеть рассматривается как совокупность функциональных объектов, взаимодействующих друг с другом и, таким образом, порождающих информационные потоки. Четвертый уровень - физическая плоскость РР (Physical Plane) - описывает сетевые центры, содержащиеся в них функциональные элементы и протоколы взаимодействия с другими элементами сети.
В настоящем дипломном проекте предлагается организация интеллектуальной сети в г.Кокшетау на базе платформы оборудования Alcatel S12. Организация интеллектуальной сети позволит повысить доходы операторов при минимальных затратах, без изменения структуры сети и оборудования
1 Анализ состояния существующей сети телекоммуникаций и обоснование необходимости создания интеллектуальной сети в г.Кокшетау
1.1 Маркетинговые исследования по созданию интеллектуальной сети
1.1.1 Географическо-экономические особенности региона
Кокшетау – исторически-географический регион на северной части РК (Республики Казахстан). Граничит с многими областями Казахстана. Территория региона богата водными и горными ресурсами. Город Кокшетау - административный центр Акмолинской области (1999г.), а с 1944 – 1997гг. был центром Кокчетавской области. Город расположен от столицы Астана на северо-западе на расстоянии 276 км. Население (2003г.) 133,1 тыс. человек. Площадь города 420,0 км2. Климат в городе, как и в других городах северной части РК резко-континентальный. Кокшетау - крупный промышленный центр. В городе развивается легкая, пищевая промышленности, машиностроение, химическая промышленность, производство неметаллических изделий, картонно-бумажная промышленность, теплоэнергетика, электроэнергетика, газовые предприятия и предприятия водоснабжения. Функционирует также на территории города золотодобывающее предприятие «Васильковский», АО «Тыныс» (выпускает агрегаты авиационной техники, счетчики водоснабжения, и многое другое), АО «Наука-Восток» (выпускает агрегаты). В городе хорошо развита деревоперерабатывающая промышленность, мясо-молочная промышленность, зерноперерабатывающее производство, комбинат по выпуску минеральных вод и напитков. В общей сложности в г.Кокшетау функционирует свыше 45 предприятий малого бизнеса (2003г.), где работают около 20 тыс. человек. Протяженность автодорог по городу составляет свыше 267 км. Перевозка грузов осуществляется в основном по автомобильным дорогам. Работает и авиатранспорт. Железные дороги соединяют г.Кокшетау со всеми регионами Казахстана и СНГ, а также странами дальнего зарубежья [28].
В секторе здравоохранения города функционируют 13 СВА, 17 поликлиник, несколько больниц, около 50 аптек.
В сфере образования функционируют 2 университета, несколько институтов, 15 школ. Город богат в сфере культуры и спорта, имеется 2 театра, филармония, хореографический ансамбль, система библиотек, 4 музея, выставочные залы, около десяти клубов, несколько стадионов, бассейнов, лыжная база, около десяти спортивных школ.
В центральной части города Кокшетау расположены административные и культурные центры, после переезда областного центра из г.Астаны в г.Кокшетау значительно активизировалась деятельность предприятий, в городские инфраструктуры вкладываются инвестиции, улучшилось экономическое благосостояние населения. Все эти факты создают предпосылки для развития и улучшения качества сети и предоставляемых услуг телекоммуникаций.
1.1.2 Характеристика сети телекоммуникаций г.Кокшетау
В г.Кокшетау работают несколько компаний предоставляющих телекоммуникационные услуги, а также доступ в Интернет и передачи информации, используя кабельные и спутниковые каналы (до 128 кбит/с).
В настоящее время в г.Кокшетау действует четыре АТС (Автоматическая телефонная станция), две подстанции SSA, четыре подстанции RSU и одна подстанция М-200 (рисунок 1.1). Общая монтированная емкость сети составляет 41588 номеров, задействованная емкость – 39039 номеров (таблица 1.1), использование емкости сети – 92,71%. Уровень телефонизации составляет 30 ТА (телефонных аппаратов) на 100 жителей (рисунок 1.2).
Таблица 1.1 – Сводная таблица по АТС г.Кокшетау
|
№ п/п |
Наименование АТС |
Тип АТС |
Год ввода в экспл. |
Монтированная емкость, номеров |
Задействованная емкость, номеров |
Используемая емкость, % |
|
1 |
АТС-23 |
S-12 |
2006 |
5000 |
4500 |
90 |
|
2 |
АТС-25 |
S-12 MLE |
1995 |
12790 |
12585 |
98,412 |
|
3 |
ПСЭ-260/261 |
S-12 RSU |
1995 |
2790 |
2761 |
99,077 |
|
4 |
АТС-262 |
S-12 SSAx1 |
1995 |
1300 |
1287 |
99,023 |
|
5 |
ПСЭ-263 |
S-12 RSU |
1995 |
380 |
364 |
96,926 |
|
6 |
ПСЭ-264 |
S-12 RSU |
1995 |
770 |
722 |
93,852 |
|
7 |
ПСЭ-265 |
M-200 |
2003 |
256 |
218 |
85,15 |
|
8 |
ПСЭ-266 |
S-12 RSU |
1995 |
2850 |
2838 |
99,559 |
|
9 |
АТС-267/268 |
S-12 SSAx1 |
1995 |
1400 |
1310 |
93,57 |
|
10 |
АТС-42 |
S-12 |
2003 |
6750 |
6170 |
91,45 |
|
11 |
АТС-77 |
S-12 MLE |
2002 |
6790 |
5880 |
86,612 |
|
12 |
ПСЭ-278 |
S-12 RSU |
2004 |
512 |
404 |
78,91 |
|
Итого: |
41588 |
39039 |
92,71 |
Существующие сети всех АТС построены по шкафной системе с применением прямого питания. На ГТС ускоренными темпами внедряются современные технологии, такие как HDSL (Высокоскоростная цифровая абонентская линия), ADSL (Асимметричная цифровая абонентская линия), узкополосный и широкополосный абонентский доступ с применением мультиплексорного оборудования. Станции связаны между собой по оптическому кабелю с применением оборудования STM (Синхронный транспортный модуль). На сети применяется шестизначная система нумерации.
Связь со спецслужбами на городской телефонной сети г.Кокшетау осуществляется по общему пучку соединительных линий через узел спецслужб – УСС, который расположен на АТСЭ-25. В качестве соединительных линий между РАТС и УСС используется цифровые каналы систем передачи.
Организована спецслужба с трехзначной нумерацией – служба времени (060), справочная служба телеграфа (061), служба погоды (062).
Для включения в мировые системы телекоммуникаций национальная сеть связи должна соответствовать мировым стандартам. Появление таких глобальных информационных сетей как Интернет, подразумевает передачу больших потоков информации, а это возможно только при соответствующей достоверности и скорости передачи данных. Среди важнейших направлений развития городской телефонной сети была цифровизация АТС и соединительных линий. Это позволит предоставить абонентам более широкий список услуг и высокое качество связи, в том числе высококачественные интеллектуальные услуги.
В настоящее время появляется большое число операторов предоставляющих услуги связи (сети мобильной связи GSM, DAMPS, пейджинговые компании, провайдеры Интернет, транкинговые сети). Оборудование, на базе которого предоставляются все эти услуги, являются современными цифровыми средствами связи. Поэтому, для того, чтобы в недалеком будущем успешно конкурировать на рынке услуг связи, необходимо обеспечивать услугами связи, создать в конечном итоге интеллектуальные сети.
В связи с заменой АТСКУ-23 на цифровую АТС типа S-12 фирмы Alcatel (2006г). ГТС г.Кокшетау достигла 100% цифровизации сети. Это позволит предоставить всем абонентам города дополнительные виды услуг, внедрить систему повременного учета стоимости переговоров, вводить систему ЦТЭ (Центр технической эксплуатации), а также полностью перейти на систему ОКС №7, и создает предпосылки по созданию интеллектуальной сети.
В целом услуги интеллектуальной сети очень похожи на услуги ДВО (дополнительные виды обслуживания) и ЦСИО (цифровая сеть интегрального обслуживания), но в отличие от них могут быть реализованы в рамках глобальной сети связи. К их числу относятся такие знакомые нам услуги, как сокращенный набор, бесплатный вызов, направленный вызов, конференц-связь и др. Всего набор CS1 включает 25 видов услуг, которые должны поддерживаться телефонными сетями, сетями ЦСИО и мобильными сетями. В нашей стране наиболее распространены следующие из них: предоплаченные услуги - предоставляются по сервисным телефонным картам; со значительным отрывом лидируют по популярности среди всех видов услуг и используются для доступа к речевой почте, Интернету, сетям IP телефонии, платным информационным службам и др.; заказ услуги осуществляется при помощи PIN-кода, либо через серийный городской номер, либо через номер спецслужбы, либо номер 805 по правилам ИС; тарификация вызовов - позволяет создавать тарифные планы, зависящие от номеров и категорий вызываемого и вызывающего абонентов, использовать различные периоды тарификации, бесплатных порогов и т. д.; возможности управления процессами оплаты зависят от биллинговых подсистем; телеголосование (Mass Calling) - позволяет проводить опросы населения по телефону; свое мнение респондент выражает набором одной из цифр на терминале; в настоящее время услуга востребована преимущественно центральными телеканалами, а ее провайдерами являются операторы. Потенциал услуги вырастет, если в регионах появится интерес к опросам общественного мнения.
2 Концептуальные основы интеллектуальных сетей
Современный этап развития цивилизации связан с переходом к информационному обществу, существование которого невозможно без развитых инфокоммуникационных сетей (ИКС). Понятие ИКС отражает технические, технологические, экономические и организационные процессы производства, обработки, хранения и распространения информации. Необходимым условием создания ИКС является глобализация и персонализация услуг, которые предоставляются телекоммуникационными сетями. Стремление пользователей и сетевых администраций к расширению функциональных возможностей сетей в направлении расширения состава и изменения характера предоставляемых ими услуг является главным фактором, стимулирующим переход к новым сетевым технологиям [7].
Основными этапами эволюции сетей связи, с точки зрения состава предоставляемых услуг, являются этапы показанные на рисунке 2.1. Каждый этап имеет свою логику развития, взаимосвязь с предыдущими и последующими этапами. Кроме того, каждый этап зависит от уровня развития экономики и национальных особенностей отдельного государства.
Первый этап - построение телефонной сети общего пользования PSTN (Public Switched Telephone Network). В течение длительного времени каждое государство создавало свою национальную аналоговую телефонную сеть общего пользования (ТфОП). Телефонная связь предоставлялась населению, учреждениям, предприятиям и отождествлялась с единственной услугой - передачей речевых сообщений. В дальнейшем по телефонным сетям с помощью модемов стала осуществляться передача данных. Тем не менее, даже в настоящее время телефон остается основной услугой связи, принося эксплуатационным организациям более 80% доходов [13].

Рисунок 2.1 - Этапы развития сетей и услуг связи
Второй этап - цифровизация телефонной сети. Для повышения качества услуг связи, увеличения их числа, повышения автоматизации управления и технологичности оборудования, промышленно развитые страны в начале 70-х годов начали работы по цифровизации первичных и вторичных сетей связи. Были созданы интегральные цифровые сети IDN (Integrated Digital Network), предоставляющие также в основном услуги телефонной связи на базе цифровых систем коммутации и передачи. В настоящее время во многих странах цифровизация телефонных сетей практически закончилась.
Третий этап - интеграция услуг. Цифровизация сетей связи позволила не только повысить качество услуг, но и перейти к увеличению их числа на основе интеграции. Так появилась концепция цифровой сети с интеграцией служб ISDN (Integrated Service Digital Network). Пользователю этой сети предоставляется базовый доступ (2B+D), по которому информация передается по трем цифровым каналам: два канала В со скоростью передачи 64 Кбит/с и канал D со скоростью 16 кбит/с. Каналы В используются для передачи речевых сообщений и данных, канал D - для сигнализации и для передачи данных в режиме пакетной коммутации. Для пользователя с большими потребностями может быть предоставлен первичный доступ, содержащий (30B+D) каналов. Концепция ISDN существует около 20 лет, но широкого распространения в мире не получила по нескольким причинам. Во-первых, оборудование ISDN достаточно дорого, чтобы стать массовым; во-вторых, пользователь постоянно оплачивает три цифровых канала; в-третьих, перечень услуг ISDN превышает потребности массового пользователя. Именно поэтому интеграция услуг начинает заменяться концепцией интеллектуальной сети [6].
Четвертый этап - интеллектуальная сеть IN (Intelligent Network). Эта сеть предназначена для быстрого, эффективного и экономичного предоставления информационных услуг массовому пользователю. Необходимая услуга предоставляется пользователю тогда, когда она ему требуется и в тот момент времени, когда она ему нужна. Соответственно и платить он будет за предоставленную услугу в течение этого интервала времени. Таким образом, быстрота и эффективность предоставления услуги позволяют обеспечить и ее экономичность, так как пользователь будет использовать канал связи значительно меньшее время, что позволит ему уменьшить затраты. В этом заключается принципиальное отличие интеллектуальной сети от предшествующих сетей - в гибкости и экономичности предоставления услуг.
В свою очередь, уменьшение затрат индивидуального пользователя на новые услуги должно увеличить спрос на них, т.е. привести к увеличению прибыли поставщиков услуг. Соответственно расширение спроса на услуги приведет к увеличению поставок необходимого оборудования, т.е. к увеличению прибыли поставщиков оборудования. Таким образом, гибкость предоставления услуг в интеллектуальной сети приводит к объединению экономических интересов трех сторон: пользователей, поставщиков услуг и поставщиков оборудования [17].
Внедрение концепции ИС с набором возможностей CS1 изменяет не столько характер предлагаемых услуг, сколько технологию их производства и предоставления. Следующий принципиальный скачок в телекоммуникационных технологиях будет достигнут при переходе к инфокоммуникационным сетям следующего поколения (ИКС), которые предназначены не только для передачи информации между пользователями и предоставления телекоммуникационных услуг, но и для организации доступа пользователей к информационным услугам и контенту (информации), что меняет содержание задач сетевого управления и принципы построения сетевых центров.
Сети следующего поколения не отвергают опыт, накопленный в процессе эволюции сетей коммутации каналов. Они также используют программную логику для создания услуг, возможности цифровых интерфейсов для доставки услуг пользователям и концепцию построения отдельной интеллектуальной платформы для управления услугами. В то же время они принципиально отличаются от традиционных информационных и телекоммуникационных услуг, поскольку предполагают в комплексе автоматизированную обработку, хранение или предоставление по запросу информации с использованием информационных систем как на входящем, так и на исходящем концах соединения.
2.1 Новые услуги электросвязи
Быстрое, эффективное и экономичное предоставление услуг пользователю возможно лишь при новой концепции построения сетей связи, которая заключается в разделении функций коммутации и функций предоставления услуг. В классических телефонных сетях функции предоставления услуг являются неотъемлемой частью функций коммутационных систем. Это приводит к тому, что с ростом числа услуг и увеличением их функциональных особенностей резко увеличиваются аппаратные средства и особенно программное обеспечение коммутационных систем. В результате растет сложность коммутационных систем и, соответственно, их стоимость. Более того, происходит непрерывная модернизация коммутационных систем, обусловленная ростом числа предоставляемых услуг. Естественно, возрастает и стоимость предоставления услуг, что значительно замедляет рост спроса на них. Именно такой процесс происходит в настоящее время с ISDN [7].
До введения понятия интеллектуальной сети был возможен лишь один сценарий предоставления новых услуг электросвязи. Он основан на традиционном подходе, при котором ввод каждой новой услуги требует модернизации соответствующих аппаратно-программных средств коммутационных станций.
После введения ИС стал возможен второй сценарий предоставления новых услуг электросвязи. Он основан на реализации ряда основных элементов ИС, которые должны обеспечить снижение затрат на введение каждой новой услуги. В этом случае функции распределения информации отделены от функций предоставления дополнительных услуг. Для реализации услуг ИС требуются затраты на общие основные элементы, но в дальнейшем ввод каждой новой услуги требует существенно меньших затрат по сравнению с ТфОП.
Первый и второй сценарии, показанные на рисунках 2.2 и 2.3, определяют специфическую структуру затрат на различных этапах развития сети электросвязи. За единицу затрат для обоих сценариев принят уровень затрат на ТфОП, когда абонентам сети доступны лишь услуги по установлению соединений. Очевидно, что относительная стоимость сети электросвязи при введении небольшого перечня дополнительных услуг будет меньше при первом
сценарии. Начиная с определенного момента времени, когда перечень дополнительных услуг превышает некоторый уровень, второй сценарий становится предпочтительным.

Рисунок 2.2 - Затраты на реализацию дополнительных услуг в ТфОП

Рисунок 2.3 - Затраты на реализацию дополнительных услуг в ИС
Указанные на рисунке 2.3 основные элементы ИС можно рассматривать как одноименный уровень сети. Применительно к структуре ИС концептуальная модель представлена на рисунке 2.4 [6].
Процесс проключения телефонных соединений осуществляется на транспортном уровне, включающем сетевые узлы и коммутационные станции. Логика предоставления интеллектуальных услуг (ИУ) реализуется в соответствующих узлах интеллектуального уровня. Для взаимодействия интеллектуального и транспортного уровней используется сеть передачи данных (СПД), в качестве которой чаще всего используется сеть общеканальной сигнализации ОКС №7 со специальной прикладной подсистемой пользователя интеллектуальной сети INAP (Intelligent Network Application Part).

Рисунок 2.4 - Концептуальная модель ИС
Показанные в правой части рисунке 2.4 два треугольника отображают две весьма существенные для ИС особенности. Скорость обработки вызова на верхних уровнях падает с ростом их «интеллектуальности», которая, в свою очередь, падает по мере продвижения вниз по транспортному уровню предложенной модели электросвязи. В этих треугольниках заложены те проблемы, которые возникают по мере создания и развития ИС.
2.2 Модель обслуживания вызова в интеллектуальной сети
Модели обслуживания вызова в ТфОП и в ИС имеют существенные отличия, основанные на использовании новой концептуальной модели сети (рисунок 2.4). Схема, изображенная на рисунке 2.5, является логической моделью обслуживания вызовов в обычной телефонной сети. При введении каждой новой дополнительной услуги (ДУ) аппаратно-программные средства коммутационной станции (КС) соответствующим образом модифицируются. Для реализации общесетевой услуги необходимо провести аппаратно-программную модернизацию всех узлов сети. Соответствующие действия будут необходимы также во всех узлах при изменении алгоритма предоставления существующей общесетевой услуги. По мере роста числа предоставляемых услуг сложность и, следовательно, стоимость КС непрерывно растут. Эта причина и послужила стимулом разделения функций распределения информации и предоставления дополнительных услуг. Концепция ИС может считаться одним из наиболее успешных решений поставленной задачи. В соответствии с рекомендацией ITU-T 1.312/Q. 1201 модель обслуживания вызовов в ИС, показанная на рисунке 2.6, подразумевает введение в состав КС определителей вызова (ОВ), именуемых в зарубежной литературе как «Hook». Слово «hook» (крюк) в вычислительной технике обозначает дополнительные программные и/или аппаратные средства, облегчающие дальнейшее расширение функций и внесение изменений в какую-либо систему [17].

Рисунок 2.5 - Модель обслуживания вызова в ТфОП

Рисунок 2.6 - Модель обслуживания вызова в ИС
Модель обслуживания вызовов в ИС включает в себя три основных компонента:
- технические средства обработки основных вызовов, которые выполняют ряд стандартных процессов вне зависимости от предоставляемых и планируемых к введению дополнительных услуг;
- определители вызовов (Hook), опознающие заявки, направляемые в ИС и временно приостанавливающие процесс обслуживания вызова на период обмена информацией с логической частью ИС;
- логическая часть ИС, содержащая аппаратные средства и ПО, как для создания дополнительных услуг и передачи информации, управляющей стандартными процессами обработки вызовов [6].
Такое разделение функций обслуживания вызова в интеллектуальной сети имеет ряд достоинств. Во-первых, в ИС для обработки основного вызова используются обычные телефонные станции. Во-вторых, для выполнения функций определителей вызова необходимо только небольшая коррекция существующих коммутационных систем, что чаще всего реализуется соответствующим ПО. И самое главное - централизованная логика услуг ИС позволяет оператору ускорить и упростить процесс ввода новых и коррекции существующих ИУ, что сказывается на экономичности всей сети.
3 Сравнение возможностей оборудования различных производителей
3.1 Платформа ИС фирмы Siemens
Данная платформа ИС фирмы Siemens широко применяется в странах СНГ. Например в России после утверждения Минсвязи России спецификаций национальной версии протокола INAP (INAP-R) в России были созданы условия для внедрения на ТфОП услуг ИС. В середине 1997 года ряду зарубежных фирм было предложено представить свои технические предложения на поставку платформы ИС для сети ОАО «Ростелеком». Одним из условий была обязательная реализация протокола INAP-R. Было принято решение о размещении платформы ИС в Москве, где уже функционировала комбинированная АМТС/ АТС типа EWSD (версия ПО 7.1) производства IskraTel. В рамках проекта требовалось модернизировать ПО этой станции до уровня 10-й версии с реализацией функций SSP и протокола INAP-R. В качестве платформы ИС было выбрано оборудование IN Xpress v.5.2 производства фирмы Siemens [7].
Платформа ИС IN Xpress v.5.2 выполняет функции SCP/SMP/SCEP (рисунок 3.1). Ее компоненты базируются на использовании открытой системы семейства серверов SNI RM (RM200/RM300/RM400/RM600), функционирующих под управлением операционной системы UNIX V.4. «Московский» проект базируется на использовании UNIX-серверов типа RM600, выполняющих все необходимые функции SCP и SMP, рабочей станции (RM200), предназначенной для административных целей, и ПК, служащих для контроля обслуживания абонентов. Функции SCEP (проектное название ASD - Advanced Service Design) выполняет рабочая станция на базе RM200. Платформе ИС присвоен код 100 в структуре системы нумерации ВСС России (8-80Х-100-ХХХХ).
Узел SCP реализован в соответствии с многопроцессорной архитектурой «клиент-сервер» и высокоскоростной локальной сетью Ethernet для обеспечения связи между компонентами. В состав SCP входит два компьютерных элемента СЕ1 и СЕ2, образующих кластерную конфигурацию, которая функционирует в режиме разделения нагрузки. Если один СЕ выходит из строя, второй принимает на себя все его функции по обслуживанию задач.
SCP осуществляет обработку трафика вызовов, генерируемых ИС, и поддерживает предоставление большого числа услуг, обладающих разнообразными требованиями к обработке и емкости баз данных [6].
Основными функциями SCP являются:
- обработка перегрузки;
- восстановление работоспособности/устранение ошибок функцио-нирования;
- централизованное управление сигнализацией о сбоях и ошибках;
- надзор и мониторинг функционирования системы;
- перезапуск/ перезагрузка системы;
- обработка данных по услугам и абонентам;

Рисунок 3.1 - Архитектура платформы ИС IN Xpress v.5.2
- администрирование глобальных данных;
- сбор статистических данных;
- тарификация;
- техническое обслуживание.
Интерфейс между SCP и SSP/IP поддерживает процедуру распределенной обработки вызова услуги ИС в структурах: клиент (SSP) - сервер (SCP) и клиент (SCP) - промежуточный объект (SSP) - сервер (IP) в соответствии с процедурой смены состояний динамической системы обработки вызова услуги ИС (Q. 1214) и прикладным протоколом INAP-R, использующим стек протоколов ОКС №7 TCAP/SCCP/MTP [18].
Основным назначением узла SMP являются:
- предоставление возможности модификации параметров логики услуг ИС со стороны оператора сети, модификация данных логики услуги, как со стороны оператора, так и со стороны абонентов (при соответствующих ограничениях уровня доступа), ввод этих данных в SCP;
- активизация услуг в SCP;
- обеспечение контроля за доступом пользователя SMP (оператор сети, абонент услуги, пользователь услуги);
- обеспечение получения, обработки и предоставления статистических данных;
- обеспечение возможности отслеживания и индикации нештатных и аварийных ситуаций.
SMP связан с SCP при помощи внутрисистемного интерфейса посредством локальной сети LAN с использованием протокола Ethernet (рисунок 3.1). Интерфейсы с внешним окружением (оператор сети, поставщики и абоненты услуг) базируются на протоколах Х.25, TCP/IP, RS232 - V.24. В проекте реализована конфигурация «ведущий-ведомый» из двух серверов типа RM600-420 семейства RM, производства фирмы Siemens Nixdorf (SNI).
Функции создания услуг (SCEP) выполняет рабочая станция, имеющая проектное название ASD. Основным назначением SCEP является создание новых услуг ИС, т.е. создание логики услуг (ЛУ) и описание массива данных, и предоставление всех необходимых средств для прикладного программирования ЛУ. Одно из преимуществ платформы INXpress v.5.2 - возможность реализации интерфейса между SCEP и SMP на базе протокола TCP/IP. SCEP обеспечивает определение услуг на уровне SIB, управление ими, их настройку.
Функции узла коммутации услуг (SSP) были реализованы в комбинированной станции АМТС/АТС системы EWSD (версия ПО v.10). Станция распознает вызовы к платформе ИС и осуществляет их обработку в соответствии с инструкциями, полученными от SCP, а также обеспечивает доступ к услугам ИС через системы сигнализации в соответствии с «Ограничительным перечнем протоколов сигнализации, поддерживаемых цифровыми станциями сети общего пользования», утвержденным Минсвязи РФ в 1996 году [7].
В ПО станции предусмотрен анализ событий на различных фазах установления основного соединения, в результате чего осуществляется посылка сообщений в SCP для активизации программы выполнения ЛУ или поддержки уже активизированной программы ЛУ. В процессе обработки вызова ИС SSP может приостановить этот процесс и организовать диалог с SCP для получения инструкций по дальнейшим действиям. Программное обеспечение SSP обеспечивает контроль нагрузки, создаваемой вызовами ИС и организует диалог с SCP для получения инструкций по дальнейшим действиям. Кроме этого, одной из основных функций SSP является реализация функций учета стоимости вызовов ИС [8].
Для развития ИС в России очень важным было создание единого протокола на базе ОКС №7 - INAP-R, спецификации которого в основном соответствуют стандартам ETSI с учетом требований сети связи России и перспектив ее развития. На сегодняшний день уже разработан и внедрен протокол INAP-R как со стороны EWSD (SSP), так и со стороны SCP. В перспективе именно INAP-R должен обеспечить совместную работу оборудования разных производителей при предоставлении услуг ИС на российских сетях. Реализация INAP-R является единственной перспективной возможностью построения полномасштабных ИС в России.
Реализация стандартного интерфейса INAP-R позволит подключать цифровые станции с функциями SSP и протокола INAP-R. Заключив соответствующие контракты с операторами ИС и сетей электросвязи, можно напрямую выйти на платформу ИС IN Xpress сети «Ростелеком»/ММТ и предоставлять ИУ абонентам.
Станции EWSD установлены на сегодняшний день приблизительно в сорока регионах России. Это означает, что они становятся потенциальными заказчиками ИУ. При правильной маркетинговой политике и учитывая, что платформа IN Xpress может легко расширяться как по мощности, так и по числу услуг, реализация данного проекта открывает большие возможности для охвата значительной части рынка ИС России.
3.2 Построение ИС на базе оборудования Alcatel 1000 S12
Широко применяются в странах СНГ продукт для интеллектуального решения фирмы Alcatel. Консорциум Alcatel представляет комплексное решение ИС, основанное на полном и совместимом ряде изделий, которое позволяет оператору построить мощную ИС даже в окружении сети с оборудованием разных поставщиков. Поставщик услуг может воплотить новые услуги быстро во всех типах сетей, включая ТфОП (PSTN), цифровую сеть с интеграцией служб (ISDN), подвижной сети связи (GSM) и ведомственные сети. На рисунке 3.2 изображена архитектура интеллектуальной сети Alcatel [6].

Рисунок 3.2 - Архитектура ИС фирмы Alcatel
Что очень важно, любой узел коммутации Alcatel 1000 S12, вновь устанавливаемый или уже работающий, можно сконфигурировать как узел коммутации услуг (SSP). Эта платформа имеет открытую архитектуру, которая распределяет функции между модулями оборудования и ПО. Все это обеспечивает то, что любая станция в работе может развиваться простым добавлением ПО и оборудования без прерывания обслуживания. В случае ИС, функции SSP могут быть введены в структуру ПО Alcatel 1000 S12 добавлением ПО или совершенствованием старого ПО, не затрагивая коммутационное оборудование.
3.3 Оборудование Lucent Technologies для построения ИС
Продукция Lucent Technologies широко применяется в нашей Республике. Фирма также заинтересована в решении проблемы по созданию ИС. В ITU-T серии Q.12xx определены функциональные объекты, путем взаимодействия которых реализуются конкретные услуги ИС. В зависимости от распределения функций CCF, SSF и SCF, платформы ИС подразделяются на централизованные и распределенные.
Для предоставления услуг ИС на основе централизованной платформы на цифровой АТС устанавливается специальный модуль ПО, позволяющий АТС совмещать функции CCF/SSF и SCF. Такой совмещенный узел называется узлом коммутации и управления услугами SSCP. Станция 5ESS-2000 производства Lucent Technologies может функционировать как узел SSCP, при этом не требуется дополнительного оборудования, а пакет ПО загружается непосредственно в новую или уже установленную станцию 5ESS-2000.
В случае распределенной ИС необходима установка дополнительного оборудования: узла SCP, узла SMP, узла SCEP, IP. На рисунке 3.3 приведена архитектура ИС с использованием распределенной платформы и указанием интерфейсов между отдельными функциональными элементами. Чем большее число станций нижнего уровня сети охвачены функциями SSP, тем выше эффективность ИС [7].
Основа узла SSP - цифровая система коммутации 5ESS-2000. Пакет программного обеспечения SSP загружается так же, как и в случае централизованной платформы.
В качестве IP предлагается как самостоятельное оборудование, так и оборудование, интегрированное в узел SSP. Компания также предлагает PC для изменения записанных на IP речевых сообщений, которые выполнены на платформе Sun.
Узел SCP является исполнительной системой для предоставления услуг ИС. Основу SCP составляет современное надежное высокопроизводительное оборудование и комплект многоуровневого ПО. Компания предлагает полностью дублированную многопроцессорную платформу, выполненную на процессорах Intel.
На рисунке 3.4 приведена архитектура узла SCP производства Lucent Technologies. Основным элементом SCP является дублированный управляющий сервер, взаимодействующий с ТфОП через сетевые серверы, количество которых определяет емкость узла SCP. Сигнальные каналы ОКС №7 подключаются непосредственно к сетевым серверам [9].
В качестве узла SMP используется современная дублированная многопроцессорная система на основе платформы Hewlett Packard.
Узел SCEP применяется для конфигурации услуг ИС и дает оператору

Рисунок 3.3 - Распределенная архитектура ИС
связи дополнительные возможности по предоставлению новых услуг с помощью специально разработанного графического интерфейса методом графического программирования. Узел SCEP состоит из трех основных элементов: файлового сервера, выполненного на платформе Sun SPARC Ultra; PC, реализованной на базе оборудования Sun SPARC; сервера для функций компиляции на базе Intel Pentium.
Программное обеспечение всех компонентов ИС имеет модульную структуру и построено на базе отказоустойчивой платформы UNIX. Все программные модули соответствуют открытым стандартам UNIX.
Для предотвращения утечки информации в компьютерных системах компанией Lucent Technologies разработаны специальные модули, защищающие информацию от несанкционированного доступа, а также модули, позволяющие отслеживать злонамеренные вызовы в ИС [6].
Компания предлагает для использования пакет основных услуг ИС, в него входят: бесплатный телефон, дополнительная плата, телефонное голосование, телефонная карта, персональный номер, виртуальная частная сеть.
Для эксплуатации ИС и управления ею на узле SCP может быть предусмотрен интерфейс к автоматизированным системам технической эксплуатации и управления трафиком компании Lucent Technologies, таким как NFM/NOC1 (для управления сетевыми элементами ИС) и NetMinder (для управления трафиком ИС). Данные системы могут быть интегрированы в единый центр технической эксплуатации оператора связи.

Рисунок 3.4 - Архитектура узла SCP производства Lucent Technologies
3.4 Обоснование выбора оборудования для создания интеллектуальной сети
В соответствии с рекомендацией ITU-T 1.312/Q. 1201 определение интеллектуальной сети звучит следующим образом.
Интеллектуальная сеть - это архитектурная концепция предоставления новых услуг связи, обладающих следующими основными характеристиками:
- широкое использование современных методов обработки информации;
- эффективное использование сетевых ресурсов;
- модульность и многоцелевое назначение сетевых функций;
- интегрированные возможности разработки и внедрения услуг средствами модульных и многоцелевых сетевых функций;
- стандартизованное взаимодействие сетевых функций посредством независимых от услуг сетевых интерфейсов;
- возможность управления некоторыми атрибутами услуг со стороны абонентов и пользователей;
- стандартизованное управление логикой услуг [7].
Кроме того, следует отметить, что концепция ИС применима практически ко всем известным сегодня типам сетей, таким как:
- телефонная сеть общего пользования PSTN (Public Switched Telephone Network);
- сеть связи с подвижными системами PLMN (Public Land Mobile Network);
- узкополосная и широкополосная цифровые сети с интеграцией служб N(B) - ISDN (Narrowband (Broadband) Integrated Services Digital Network).
Опыты внедрения услуг и создания ИС операторов связи зарубежных стран, а также стран СНГ (особенно опыт России) показывают, что самым оптимальным считается создание ИС на базе существующего оборудования. Это обеспечивает в короткий срок без кардинальных изменений создание узлов ИС. Поэтому с учетом особенностей сети телекоммуникаций, а также сравнивая технические возможности оборудований различных фирм в настоящем дипломном проекте предлагаю создать интеллектуальную сеть в г.Кокшетау на базе оборудования S-12 фирмы Alcatel [6].
Выбор оборудования не случаен, так как на сети города полностью эксплуатируется данная система. Это позволяет оптимально решить вопросы по синхронизации, сигнализации и по эксплуатации. Создание узла ИС на базе платформы интеллектуальных услуг S-12 предлагаю на новой станции S-12 АТС-23. Данная станция находится в центре города, это позволяет также оптимально решить вопросы по созданию центра трафика не только телефонных услуг, а также других «не телефонных» видов связи, в том числе интеллектуальных услуг. Выбор интеллектуальной платформы на основе существующего оборудования S-12 в конечном итоге отражается и на технико-экономических показателях оператора.
4 Техническая реализация интеллектуальной сети
4.1 Архитектура интеллектуальной сети
Согласно рекомендации ITU-T Q.I201 основополагающим требованием к архитектуре ИС является отделение функций предоставления услуг от функций коммутации и распределение их по различным функциональным подсистемам. Функции коммутации, как и для традиционных сетей, остаются в базовой сети связи, а функции управления, создания и внедрения услуг выносятся в создаваемую отдельно от базовой сети «интеллектуальную» надстройку, взаимодействующую с базовой сетью посредством стандартизованных интерфейсов [13].
Требование стандартизации протоколов обмена между базовой сетью и интеллектуальной надстройкой освобождает операторов сетей от существовавшей ранее зависимости от поставщиков коммутационного оборудования. Взаимодействие между функциями коммутации и управления услугами осуществляется посредством прикладного протокола интеллектуальной сети INAP, стандартизованного ITU-T в рекомендации Q.1205. Управление созданием и внедрением услуг осуществляется через прикладной программный интерфейс API (Application Programm Interface). Таким образом, стандартизованные интерфейсы ИС делают сеть открытой для независимых изменений, как в интеллектуальной надстройке, так и в базовой сети [7].
Функциональная архитектура (рисунок 4.1) наглядно отражает одну из основных идей реализации ИС по формуле:
ИНТЕЛЛЕКТУАЛЬНАЯ СЕТЬ = КОММУТАТОР + КОМПЬЮТЕР
К этой формуле на протяжении многих лет стремились как производители коммутационного оборудования, так и производители СВТ (средств вычислительной техники). При этом первые получали возможность гибкого и оперативного создания и внедрения новых услуг связи без существенных изменений в коммутационном оборудовании, а вторые - выход на один из крупнейших сегментов рынка новых информационных технологий. На сегодняшний день видна устойчивая тенденция к глубокому взаимопроникновению этих двух технологий. Это приводит в будущем к созданию инфокоммуникационной сети следующего поколения.

Рисунок 4.1 - Схема функциональной архитектуры ИС
4.1.1 Принципы предоставления услуг ИС
На рисунке 4.2 дана классическая схема физической архитектуры ИС, в состав которой входят следующие элементы [6]:
- SSP (Service Switching Point) - узел коммутации услуг, представляющий собой АТС с соответствующей версией программного обеспечения и выполняющий функцию управления вызовом и функцию коммутации услуги;
- SCP (Service Control Point) - узел управления услугами (контроллер услуг), делает возможной работу с базой данных с транзакцией в реальном масштабе времени (РМВ). SCP интерпретирует поступающие запросы, обрабатывает данные и формирует соответствующие ответы;
- SDP (Service Data Point) - узел базы данных услуг, содержащий данные, используемые программами логики услуги, чтобы обеспечить индивидуальность услуги;
- IP (Intelligent Peripheral) - интеллектуальные периферийные устройства, представляющие собой независимые от используемых приложений устройства интеллектуальных ресурсов, обеспечивающие дополнительные к SSP возможности;
- SMP (Service Management Point) - узел менеджмента услуг, реализующий функции административного управления пользователями и/или сетевой информацией, включающей данные об услугах и программную логику услуги;
- SCEP (Service Creation Environment Point) - узел создания услуг, выполняет функцию среды создания услуг и служит для разработки, формирования и внедрения услуг в пункте их обеспечения SMP.

Рисунок 4.2 - Упрощенная схема ИС
Узлы упрощенной схемы ИС размещены на трех уровнях иерархии:
- узел коммутации услуг SSP с интеллектуальной периферией IP;
- узел управления услугами SCP с узлом данных услуги (базой данных) SDP;
- узел менеджмента услуг SMP с узлом создания услуг SCEP [13].
Для получения услуги ИС пользователь сети набирает номер той АТС, которая обладает функциями SSP, а также код услуги и номер услуги. Пользуясь протоколом INAP, АТС с функциями SSP общается с узлом SCP и получает необходимую информацию для предоставления услуги и обслуживания вызова. В обслуживании вызова принимает участие IP (для передачи голосовых команд пользователю, сбора дополнительной информации и т. д.). Общение между SCP, SSP и IP происходит в режиме РМВ с учетом жестких временных ограничений на обслуживание телефонного вызова.
Подготовка новых услуг происходит в узле SCEP, а за введение новых услуг отвечает узел SMP. Эти два центра действуют в условиях относительного масштаба времени, и для передачи информации о новых услугах в узел SCP используется, например, протокол Х.25 или Frame Relay.
В соответствии с вышеизложенным, обобщенно структуру сети, представляющую интеллектуальные услуги, можно классифицировать по времени выполнения и по функциональному назначению.
По времени выполнения выделяют узлы, работающие в режиме РМВ и в режиме относительного масштаба времени. Узлы SCP, SDP, SSP и IP участвуют непосредственно в процессе обработки «интеллектуального вызова» и работают в режиме РМВ. К узлам SMO и SCEP таких условий не предъявляется. Услуги создаются и изменяются независимо от базового процесса вызова абонента. Поэтому такие работы могут производиться в любое время.
По функциональному назначению следует отделить уровень физической сети от уровня интеллектуальной услуги (рисунок 4.2). К уровню физической сети следует отнести узел SSP и IP. Лишь эти два блока имеют жесткую связь с ТфОП посредством каналов связи. Взаимодействие других узлов осуществляется только через каналы сигнализации.
4.1.2 Стандартизация концепции ИС
Сегодня ITU-T разрабатывает долговременную архитектуру ИС (Long Term IN Architecture), в основе которой лежит определение так называемых наборов возможностей CS, описывающих конкретные аспекты целевой архитектуры ИС [7].
Разработка CS-1 уже завершена в рамках рекомендаций серии Q.1200, определяющих функциональные возможности ИС, основанных на существующих сетевых технологиях, например ISDN, и ориентированных на поддержку услуг реализованных на базе сетей с коммутацией каналов. Отличительной особенностью данных услуг является то, что они могут быть активизированы только в процессе установления/разъединения соединения. По терминологии ITU-T услуги CS1 относятся к услугам типа «А» - являются одноконцевыми (Single Ended) с централизованной логикой управления (Single Point of Control).
Отметим, что ITU-T активно ведет работы по спецификации наборов CS-2 и CS-3 для широкополосных сетей, где также рассматриваются способы интеграции концепций ИС с сетью управления телекоммуникациями TMN. При спецификации очередного CS предполагается обратная связь с предыдущими этапами для внесения изменений в процесс эволюции ИС (рисунок 4.3).
В 1997 году были выпущены рекомендации по набору услуг CS-2 Q.1220-Q.1228, в 1999 году - Q.1229. В рекомендации Q.1221 впервые определены сервисы управления услугами и сервисы создания услуг.
Сервис управления услугами включает три основных сервиса: адаптации услуги под заказчика, мониторинга услуг, контроля услуг [9].
Сервис создания услуг в свою очередь отвечает за сервисы: спецификации услуг, разработки услуг, проверки услуг, развертывания услуг, управления созданием услуг.

Рисунок 4.3 - Процесс стандартизации ИС (по рекомендации Q.1211)
4.2 Концептуальная модель ИС
Согласно рекомендации ITU-T 1.312/Q. 1201 основой для стандартизации в области интеллектуальных сетей связи является абстрактная концептуальная модель (INCM - Intelligent Network Conceptual Model). Модель состоит из четырех плоскостей (рисунок 4.4) и отражает абстрактный подход к описанию ИС. Модель разделяет аспекты, относящиеся к услугам, и аспекты, связанные с сетью, что позволяет описывать услуги и возможности ИС независимо от базовой сети, над которой создается интеллектуальная надстройка [6].
Первый уровень - плоскость (план) услуг (Service Plane) представляет взгляд на ИС исключительно с точки зрения услуг. Здесь отсутствует информация о том, как именно осуществляется предоставление услуг сетью.
Второй уровень - глобальная функциональная плоскость GFP (Global Functional Plane) описывает возможности сети, которые необходимы разработчикам для внедрения услуг. Здесь сеть рассматривается как единое целое, даются модели обработки вызова ВСР и независимых от услуг конструктивных блоков SIB.
Третий уровень - распределенная функциональная плоскость DFP (Distributed Functional Plane) описывает функции, реализуемые узлами сети. Здесь сеть рассматривается как совокупность функциональных элементов, порождающих информационные потоки.
Четвертый уровень - физическая плоскость РР (Physical Plane) описывает узлы сети, содержащиеся в них функциональные элементы и протоколы взаимодействия [7].
На рисунке 4.4 используются следующие обозначения: SF (Service Feature) - характеристика услуги; ВСР (Basic Call Process) - базовый процесс вызова; FE (Functional Entity) - функциональная единица; FEA (FE Action) - действие FE; PE (Physical Entity) - физическая единица; SIB (Service Independent Block) - независимый от услуг конструктивный блок; IF (Information Flow) - информационный поток; POI (Point of Initiation) - точка инициации; FOR (Point of Return) - точка возврата.

Рисунок 4.4 - Концептуальная модель ИС (по рекомендации Q.1201)
4.2.1 Услуги и свойства услуг ИС. Плоскость услуг
В рекомендациях ITU-T Q.12H различают два термина «service» - услуга, и «service feature» - компонент (свойство) услуги.
Согласно Q.1290 услугой является самостоятельное коммерческое предложение, характеризуемое одним или более компонентами (возможностями), открытыми для дополнения. Компонент услуги является ее специфической частью, который в совокупности с другими услугами и компонентами услуг может составлять часть самостоятельного коммерческого предложения, определяя составляющую, которая может быть различима пользователем [12].
Согласно Q.1211 набор CS-l включает 25 видов услуг, которые должны поддерживаться сетями PSTN, ISDN и PLMN. Следует отметить, что определение набора услуг является одним из первых этапов при создании ИС в конкретном регионе и зависит от требований, сложившихся на местном рынке услуг связи.
В настоящее время в мире широкое применение нашли только некоторые услуги. На основе анализа мирового опыта в качестве первой очереди внедрения ИС в странах СНГ в основном выбраны пять услуг CS-lrus. Согласно Q.1211 эти услуги определяются 21 свойством (из общего их числа 38 свойств), где «С» (Core feature) обозначает обязательное свойство, «О» (Optional feature) - свойство по выбору, «-» - свойство в услуге не используется.
Глобальная функциональная плоскость. Вторая плоскость модели - глобальная функциональная плоскость GFP согласно Q.1203 включает следующие основные элементы:
- базовый процесс обработки вызовов - ВСР;
- независимые от услуг конструктивные блоки - SIB;
- точки инициации - POI и точки завершения - FOR.
Блоки SIB обеспечивают выполнение стандартных многократно используемых сетевых функций. Базовый процесс обработки вызовов является специализированным SIB, который взаимодействует с другими блоками посредством точек инициации и завершения. Если в процессе обработки вызова встретится одна из точек инициации, то это приводит к определенной последовательности обращений к блокам SIB. По завершении этой последовательности обращений осуществляется воздействие на процесс обработки вызова, зависящее от точки завершения. В результате такого взаимодействия может быть обеспечена услуга или компонент услуги. Таким образом, ВСР описывает процесс обработки вызовов базовой сети связи, из которой осуществляется запрос на услуги ИС. Определенные на первом уровне INCM услуги декомпозируются на компоненты и на плоскости GFP объединяются в один или несколько SIB, которые при взаимодействии определяют глобальную логику услуги GSL (Global Service Logic). На рисунке 4.5 показан процесс взаимодействия GSL и ВСР, осуществляемый через точки POI и FOR [15].
Выполняемые блоками SIB операции и данные, необходимые для их выполнения, специфицированы в Q. 1213. Заметим, что ETSI требует наличия в ИС дополнительно еще семи блоков SIB.

Рисунок 4.5 - Взаимодействие GSL и ВСР
Распределенная функциональная плоскость. Согласно Q.1214 на третьем уровне INCM (распределенная функциональная плоскость - DFP) общесетевые функции определены в виде отдельных функциональных объектов FE. Специфицированные на плоскости GFP блоки SIB реализуются на плоскости DFP в виде последовательности функциональных объектов FEA, в результате выполнения которой возникают информационные потоки IF. В CS-1 определено 60 различных IF, соответствующих процедурам прикладного протокола INАР.
Узлы ИС, как правило, выполняют одну или несколько функций, которые делятся на три основные категории: функции, относящиеся к управлению вызовом, функции, относящиеся к управлению услугами и функции, обеспечивающие услуги (эксплуатационная поддержка и администрирование сети).
Функция коммутации услуг SSF тесно связана с функцией управления вызовом ССF. Обычно считается, что эти две функции образуют единый пакет SSF/CCF. Запрос на услугу, как правило, заключается в снятии трубки телефона и набору некоторого количества цифр. Роль функции коммутации услуг заключается в том, чтобы зафиксировать вызов и сформировать стандартный запрос. Функция управления вызовом не «интеллектуальна», но запрограммирована так, чтобы распознать запрос на услугу и послать его функции управления услугами SCF [6].
Функция SCF декодирует полученный запрос и интерпретирует его в контексте предоставляемых ИС услуг. После этого формулируется, кодируется и посылается стандартное подтверждение, отсылаемое функции коммутации услуг SSF. Процесс формулирования подтверждения может включать выполнение комплекса программ, в том числе, контакт с вызываемым абонентом и обращение к функции поддержки данных SDF.
Функция SSF, получив от SCF подтверждение, декодирует и интерпретирует его, а затем посылает функции ССF инструкции о том, как осуществить процесс установления соединением.
В процессе формулирования подтверждения от SCF к SSF может потребоваться диалог между SCF и вызывающим или вызываемым абонентом. Такой диалог обычно заключается в отправке подсказки и получении некоторой последовательности цифр. Функция SCF не имеет средств для непосредственного осуществления такого диалога, который происходит не иначе, как с помощью функции специализированных ресурсов SRF. Обычно SCF обращается к SRF с запросом о соединении абонента с соответствующим устройством, входящим в SRF (например, с речевым автоинформатором), и о необходимости получить от абонента определенные данные.
В отличие от описанного порядка взаимодействия между SSF, SCF и SRF, который осуществляется по инициативе абонентов, функции, касающиеся обеспечения услуг, инициируются операторами сети. Эти функции не связаны с каким-либо вызовом абонента или предоставлением конкретной услуги.
Функции SMF, SMAF и SCEF могут использоваться для удаления или изменения уже имеющихся услуг, а также для создания новых услуг. Это достигается путем изменения информации в SSF, SCF, SDF и SRF. Причем такие изменения не должны отражаться на качестве предоставляемых в этот момент услуг [7].
Физическая плоскость. На четвертом уровне INCM согласно Q.1205 определяются физические объекты (Physical entities - РЕ), способы отображения функциональных объектов на физические и описываются способы реализации сетевых элементов ИС. На рисунке 4.6 представлена физическая плоскость ИС.
Физическая плоскость состоит из следующих физических объектов:
- SSP (Service Switching Point) - узел коммутации услуг;
- SCP (Service Control Point) - узел управления услугами;
- SDP (Service Data Point) - узел базы данных;
- IP (Intelligent Peripheral) - интеллектуальная периферия;
- SN (Service nodes) - узел услуг;
- SMP (Service Management Point) - узел менеджмента услуг;
- SCEP (Service Creation Environment Point) - узел среды создания услуг;
- AD (Adjunct) - адъюнкт;
- SSCP (Service Switching and Control Point) - узел коммутации и управления услугами;
- SMAP (Service Management Access Point) - узел доступа администрирования услуг.
Распределение сетевых функций по узлам ИС может иметь следующий вид:
SSP. Кроме обеспечения пользователям доступа в телефонную сеть и выполнения любых необходимых для коммутации функций, SSP обеспечивает доступ к интеллектуальной сети. Он должен быть связан с узлами, выполняющими функции управления услугами (SCF), например, с узлами управления услугами SCP [13].
SCP. Этот узел имеет набор программ, обеспечивающих выполнение услуг и, возможно, обработки данных, получаемых от пользователей ИС. SCP выполняет функцию управления услуг SCF и, возможно, функцию поддержки данных SDF. SCP имеет прямой доступ к узлу SDP или может подсоединяться к нему через сеть сигнализации. При этом узел SDP может входить как в ту же сеть, что и узел SCP, так и в другие сети. Через сеть сигнализации SCP может быть связан с узлом коммутации услуг SSP и интеллектуальной периферией IP.

Рисунок 4.6 - Физическая плоскость ИС (по Q.1205)
SDP. Узел содержит данные, необходимые для предоставления индивидуализированных услуг, т.е. выполняет функцию поддержки данных. Доступ к SDP может быть получен либо через сеть сигнализации, либо через узел SCP или узел SMP. Различные узлы поддержки данных могут быть связаны друг с другом [16].
IP. Интеллектуальная периферия содержит средства, делающие услуги сети удобными для пользователей, например: запись речи пользователя, устройство распознавания речи, синтезатор речи. IP выполняет функции SRF, SSF и CCF. Последние две функции используются для обеспечения доступа к средствам, входящим в IP, который осуществляется по запросу из узла SSP.
SMP. Данный узел выполняет функции SMF, SMAF и функцию среды создания услуг SCEF. Он может быть связан с любым узлом ИС, управлять базами данных, тестировать сеть, управлять нагрузкой и проводить измерения различных характеристик сети.
SCEP. Данный узел выполняет функцию среды создания услуг и служит для разработки, формирования, тестирования и внедрения услуг в пункте их обеспечения SMP.
AD. Данный узел аналогичен узлу SCP, но имеет непосредственную связь с узлом SSP. Связь между вспомогательным узлом управления и узлом коммутации услуг поддерживается по высокоскоростному каналу.
SN. Данный узел напрямую связан с одним или более узлами SSP и выполняет функции SCF, SDF, SRF, а также функции SSF и CCF. При этом функции SSF/CCF в узле услуг тесно связаны с функцией SCF и недоступны из других узлов, выполняющих функцию управления услугами. Данный узел имеет возможности как у узлов коммутации услуг, управления услуг и интеллектуальной периферии, вместе взятых.
SSCP. Данный узел объединяет узлы коммутации и управления услугами и выполняет функции SSF, CCF, SCF, SDF, CCAF и, возможно, функцию SRF. SMAP. Данный узел дает некоторым избранным пользователям доступ к узлам менеджмента услуг SMP [7].
В заключение к данному разделу еще раз подчеркнем, что концептуальная модель представляет собой абстрактное средство для создания услуг ИС путем их последовательного описания «сверху вниз».
Вывод: текущие понятия набора услуг CS-1 включают ряд недостатков, которые обычно накладывают ограничения на описание продуктов:
- степень детализации низкого уровня CS-1 SIB недостаточна для моделирования сложных услуг. Процесс составления услуг и их свойств, основанный на CS-1 SIB, усложнен. Невозможно разбить услуги и сервисные свойства в функции высокого уровня или процессы для их дальнейшего совершенствования. CS-1 SIB разработаны для последовательного выполнения, в то время как необходимо параллельное выполнение сервисов. CS-1 рассматривает ИС как одиночный объект. SIB в CS-1 не позволяют моделирование услуги, поддерживающие несколько сетей;
- в CS-1 количество SIB ограничено. Только часть сервисных аспектов создания может быть обработана стандартизированным SIB;
- в CS-1 SIB поддерживают только услуги, связанные с вызовом. Услуги, несвязанные с вызовом - вне компетенции CS-1.
Указанные недостатки набора CS-1 планируется устранить в реализациях последующих наборов услуг CS-2, CS-3 и другие [6].
4.3 Прикладной протокол INAP и интерфейсы ИС
Для обеспечения передачи всей необходимой управляющей информации между узлами интеллектуальной сети при предоставлении интеллектуальных услуг необходимо применение соответствующей системы сигнализации. Разработанная в конце 70-х годов и стандартизированная на международном уровне универсальная общеканальная система сигнализации №7 (ОКС №7) обладает всеми необходимыми возможностями и в некоторой степени явилась одной из предпосылок появления концепции интеллектуальных сетей. В данном разделе рассмотрены основные положения использования ОКС №7 в интеллектуальных сетях.
Стандартизованная на международном уровне система общеканальной сигнализации ОКС № 7 предназначена для обмена сигнальной информацией в цифровых сетях связи с цифровыми программно-управляемыми станциями. Она работает по цифровым каналам со скоростью 64 кбит/с, управляя установлением соединений, передавая информацию для технического обслуживания и эксплуатации и может быть использована для передачи других видов информации между станциями и специализированными центрами сетей электросвязи. Сеть ОКС №7 по сути является специализированной сетью ПД с коммутацией пакетов переменной длины [12].
Одна из проблем развития связи заключается в обеспечении совместимости средств связи, разрабатываемых разными производителями. Для решения этой проблемы разработаны международные рекомендации и стандарты, использующие унифицированный язык и способы описания. Для описания функциональной архитектуры средств связи используется эталонная модель взаимодействия открытых систем (ВОС), описанная в рекомендации ITU-T X.200. Эталонная модель ВОС имеет следующие семь уровней: 1 - физический, 2 - канальный, 3 - сетевой, 4 - транспортный, 5 - сеансовый, 6 - представительный, 7 - прикладной.
Система сигнализации ОКС №7 разработана с учетом ее согласования с эталонной моделью ВОС. Система ОКС №7 также построена по многоуровневому принципу, но уровни модели ОКС №7 не идентичны уровням эталонной модели ВОС. Нижние уровни ОКС №7: первый уровень (звено передачи данных сигнализации) и второй уровень (канал передачи сигнализации) полностью согласуются с физическим и канальным уровнями модели ВОС. Третий уровень ОКС №7 - сеть сигнализации не обеспечивает все функции сетевого уровня модели ВОС: не выполняются полностью функции маршрутизации. Все три уровня ОКС №7 вместе называются подсистемой передачи сообщений (Message Transfer Part - МТР) [16].
В целом модель ОКС №7 состоит из двух основных частей:
- подсистемы передачи сообщений МТР;
- подсистемы пользователей и приложений.
Подсистема МТР является единой транспортной платформой, над которой расположены подсистемы пользователей и приложений, предназначенные для обеспечения соответствующих услуг связи. Эта подсистема предоставляет транспортную услугу без соединения, но с упорядоченной последовательностью передачи. Подсистема передачи сообщений МТР обеспечивает передачу информации в неискаженной форме, без потерь, дублирования и ошибок, в установленной последовательности, от одного пункта сигнализации к другому. Причем эта подсистема не анализирует значения передаваемых сигнальных сообщений, формируемых различными подсистемами пользователя. Благодаря такой независимости работы МТР от передаваемых сообщений имеется возможность реконфигурации и гибкого управления сигнальным трафиком при отказах или перегрузках в сети сигнализации. Следует заметить, что выполнение функций передачи сообщений в некоторых случаях выполняется совместно подсистемой МТР и подсистемой управления сигнальными соединениями SCCP.
Четвертый уровень ОКС (функции подсистемы пользователя) состоит из различных подсистем пользователей, каждая из которых определяет функции и процедуры сигнализации, характерные для определенного типа пользователя системы. Набор функций подсистемы пользователя может значительно различаться для разных категорий пользователей системы сигнализации [6].
4.3.2 Прикладной протокол INAP
Протокол INAP (Intelligent Network Application Protocol) является протоколом верхнего уровня в системе сигнализации ОКС №7 и обеспечивает взаимодействие между двумя основными объектами телефонной сети, построенной по принципам ИС, а именно между узлом коммутации SSP и узлом управления услугами SCP, как это показано на рисунке 4.7.

Рисунок 4.7 - Использование протокола INAP в интеллектуальной сети
Согласно рекомендации ITU-T Q.1218 для набора CS1 протокол INAP должен обеспечивать взаимодействие четырех функциональных элементов FE определенных в функциональной модели интеллектуальной сети [7].
В данном случае коммутатор услуг SSP реализует три функции:
- коммутации услуги SSF, суть которой состоит в выходе к SCP при обнаружении запроса на интеллектуальную услугу;
- управления вызовом ССР, т.е. само установление соединения через данную АТС;
- специализированных ресурсов SRF, то есть функцию интеллектуальной периферии IP.
Узел управления услугами SCF реализует единственную функцию - управления услугой SCF, т.е. контроль прохождения алгоритма реализации услуги согласно ее логике, определяемой международными рекомендациями.
Собственно протокол INAP представлен набором из подпротоколов ASE для выполнения отдельных операций, например, InitialDP и других. Если в SSF, например, обнаружена точка DP, инициализирующая услугу и требующая участия SCF, то функция SSF формирует сообщение, которое называется InitialDP Operation и посредством подсистемы транзакций ТСАР, где в свою очередь еще выделены два подуровня (компонентный и транзакций), начинается сеанс связи с соответствующими уровнями протоколов контроллера SCP. При этом используются также подсистемы, а также канал передачи данных ОКС №7 .
Для адресации сообщений INAP используются глобальные заголовки SCCP и коды пунктов сигнализации МТР, гарантирующие доставку сообщений INAP заданному физическому адресату, независимо от того, в какой сети этот адресат находится.
Для выполнения какой-либо удаленной операции в интеллектуальной сети формируется необходимое сигнальное сообщение, которое посредством соответствующего подпротокола ASE передается через многоуровневую цепочку протоколов системы ОКС №7 вниз и затем вверх. В европейских рекомендациях для набора услуг ИС CS-1 заданы 29 операций и 21 под-протокол ASE (часть операций обслуживается только парами операций типа запрос-ответ Request-Report, поэтому общее число ASE меньше числа операций) [16].
На практике при реализации первой очереди внедрения услуг ИС CS-1 протокол INAP-R значительно упрощается за счет уменьшения общего числа подпротоколов ASE. Упрощается также описание операций, так как уменьшается число передаваемых параметров, ошибок и т.д. Только жесткая стандартизация всех деталей протокола INAP-R обеспечивает использование оборудования разных поставщиков на интеллектуальной сети.
4.3.3 Интерфейсы ИС
В рекомендации ITU-T Q.1215 определен основной набор интерфейсов между физическими объектами ИС: SCP-SSP; AD-SSP; IP-SSP; SN-SSP; AD-IP; SCP-SDP [21].
Интерфейсы SCP-SSP, SCP-IP и SCP-SDP осуществляются стеком протоколов ОКС №7. Интерфейсы AD-SSP и AD-IP на верхнем уровне используют протокол ТСАР ОКС №7, а нижние уровни пока не специфицированы и здесь могут быть использованы протоколы аналогичные МТР и SCCP ОКС №7 (например, Х.25). В качестве интерфейсов IP-SSP и SN-SSP возможно применение базового метода доступа ISDN типа 2B+D. Пользователи применяют существующие интерфейсы базовой, по отношению к ИС, сети связи. Для сигнализации применяются либо стандартные аналоговые средства, либо сигнализация ISDN no D каналу (DSS1) [6].
Возможный сценарий сетевой физической архитектуры ИС с использованием основных функциональных и физических объектов из набора возможностей CS-1 приведен ранее на рисунке 4.6.
4.4 Реализация интеллектуальных сетей и варианты доступа к ИС
Международный опыт развития интеллектуальных сетей показывает, что, несмотря на разработанные стандарты и очевидные преимущества технологии ИС, внедрение последней в практику многих стран, например, таких как Россия, происходит, не так быстро, как хотелось бы. Это обусловлено проблемами экономической эффективности и техническим состоянием сетей связи, на базе которых реализуется технология ИС.
Как указывалось ранее, архитектура ИС описывается шестью основными функциональными узлами: SCP, SSP, SMP, SCEP, SDP и IP. Различная комбинация этих функций предопределяет разные варианты построения ИС, начиная от централизованной архитектуры - Service Node (SN) - «узел услуг» - до распределенной - «классической» (рисунок 4.8).

Рисунок 4.8 - «Классическая» архитектура ИС
Первый вариант - полномасштабное классическое решение в виде отдельных архитектурных элементов (рисунок 4.8):
- узел SSP - коммутатор ТфОП, оснащенный обратной связью с подключенным к нему компьютером;
- узел SCP, управляющий логикой предоставления услуг;
- узел SMP, предназначенный для ввода новых услуг и корректировки старых, содержащий данные обо всех оказываемых услугах, а также оригиналы всех программ обслуживания;
- среда создания услуг SCEP;
- интеллектуальная периферия IP, которая обеспечивает процесс предоставления услуг специализированными ресурсами (объявления, речевые подсказки и пр.);
- БД услуг SDP, хранящая данные, используемые программами логики услуг [7].
«Полная» или так называемая «классическая» архитектура ИС для первого набора услуг CS-1 предназначена для использования в больших или средних сетях с высоким трафиком. Она способна обеспечить на нынешнем этапе развития практически все требования, как операторов, так и будущих пользователей. Но эта система достаточно дорогая. Поэтому компании, которых интересует, прежде всего, дешевизна и компании, которые хотят сначала оценить эффективность от внедрения новых услуг, часто выбирают другие варианты.
К одной из таких конфигураций относится вариант реализации ИС на базе узла услуг SN (рисунок 4.9), совмещающий в себе все необходимые функции ИС (SSP, SCP и IP) на единой платформе и являющийся независимым и полностью автономным сетевым элементом. Узлы услуг подключаются к сети связи по существующим системам сигнализации. Таким образом, практически все речевые соединения проходят через узел SN. Внимание должно быть обращено на наличие открытых интерфейсов, соответствующих национальным спецификациям, которые позволяют при росте трафика осуществить безболезненный переход от SN к более производительным конфигурациям. Общим требованием к базовой сети является то, что при установке SN сервис-провайдер должен обеспечить поддержку системы сигнализации ОКС №7, которая связывает все узлы «классической» ИС со всеми АТС телефонной сети. Напротив, узлы типа SN обычно могут работать с ТфОП по цифровым потокам, принятым в данной стране. И это очень важно для Казахстана, где в региональных телефонных сетях ОКС №7 не всегда поддерживается. Кроме того, для передачи абонентами ИС дополнительной информации (например, номера телефонной карты) в качестве абонентских терминалов, как правило, используются ТА с тональным режимом набора номера. Однако в странах, где принят преимущественно декадный способ набора номера, развитие услуг сдерживается из-за необходимости замены парка ТА. Если даже разом заменить все аналоговые АТС на цифровые, то вряд ли удастся заставить всех абонентов заменить свои ТА, поэтому несколько теряется смысл введения ИС. Построение ИС с узлом типа SN позволяет решить проблему за счет более гибкой реализации функции узла SSP [7].
Следующей конфигурацией ИС, которую целесообразно рассмотреть, является архитектура с вынесенными из узла услуг функциями SSP (рисунок 4.10). Такое построение ИС позволит обеспечить обработку большего трафика и является хорошим решением по внедрению услуг ИС для тех операторов, которые имеют на своей сети станции с функциями SSP, обладающие протоколом INAP-R.
Здесь функции коммутации и управления вызовами выполняются станциями, а их взаимодействие с платформой ИС осуществляется по протоколу INAP. Такая архитектура выгодно отличается от структуры узла услуг экономией емкости коммутационного поля и числа речевых каналов при предоставлении услуг ИС. Она способна поддерживать большой пакет услуг без каких-либо заметных ограничений [7].

Рисунок 4.9 - Конфигурация ИС на базе узла услуг SN

Рисунок 4.10 - Архитектура ИС с вынесенными из платформы функциями SSP
Достаточно простым решением для внедрения таких услуг ИС, где отсутствует необходимость предоставления речевых уведомлений или существуют другие возможности их реализации, а ожидаемый трафик оценивается как средний, является конфигурация с вынесением функций IP из платформы (рисунок 4.11).
Функции контроля и административного управления ИС располагаются на единой платформе, а функции коммутации и управления вызовами выполняются в станциях. Специальные ресурсы обеспечиваются внешней интеллектуальной периферией IP или в ограниченном объеме могут предоставляться системами коммутации. В этом случае при росте трафика, числа абонентов или развитии услуг и необходимости перехода к более мощной системе не требуется каких-либо модификаций в спецификациях услуг ИС или в данных абонентов услуг.

Рисунок 4.11 - Архитектура ИС с вынесенными из платформы функциями SSP и IP
На первом этапе внедрения ИС целесообразно работать только с одним поставщиком оборудования. Поставщики программно-аппаратных средств ИС предлагают на рынке досконально проработанные алгоритмы предоставления услуг. Они облегчают изучение особенностей ИС и способствуют более быстрому внедрению новых услуг [12].
Сеть ИС ГТС целесообразно развивать поэтапно: от варианта наложенной сети с SSP, интегрированными в УСС, до полномасштабной реализации ИС с SSP на уровне оконечных цифровых АТС, позволяющей оптимально перераспределять трафик вызовов ИС и расширять перечень предоставляемых клиентам МГТС услуг, начиная от сравнительно небольшого их числа, рекомендуемого для первого этапа внедрения в Республике Казахстан, и заканчивая полным набором возможностей CS-1. Для г.Кокшетау, где сеть полностью цифровая доступна полномасштабная реализация ИС с SSP.
Основные преимущества ИС станут очевидными в процессе реализации возможностей CS-2, которые, кроме поддержки пользователей подвижной связи, будут способны обеспечить реальное взаимодействие между различными сетями по предоставлению услуг ИС.
4.5 Программное обеспечение ИС и создание интеллектуальных услуг
4.5.1 Создание услуг и испытательная среда для ИС
Для реализации гибких функций создания, предоставления и модификации услуг, являющихся неотъемлемой частью интеллектуальной сети, необходима не только среда, в которой услуга может быть создана и модифицирована, но также среда, в которой действие созданных услуг может быть подтверждено.
Создание услуги включает в себя построение глобальной логики обслуживания (GSL) посредством соединения определенных заранее программных функциональных блоков. В соответствии с рекомендациями CS-1, каждый из таких программных блоков, строится из SIB.
Другими словами, процесс создания услуги состоит из двух этапов: на первом этапе элементарные блоки необходимо соединить в цепь, образовав программный блок, реализующий какую-либо функцию услуги. На втором этапе следует объединение полученных блоков в услугу [6].
Для подтверждения работы услуги необходимо сначала верифицировать действие отдельных блоков услуг, а затем - действие самой услуги. Логическая проверка структуры услуги и составляющих ее блоков обеспечивается программным обеспечением SCEP. Однако этот уровень проверки не гарантирует корректности поведения каждого функционального объекта (FE) и физического объекта (РЕ), участвующего в процессе предоставления услуги, в результате чего непосредственное внедрение услуги в коммерческую сеть может быть сопряжено с риском. Для исключения такого риска необходима среда более высокого уровня, обеспечивающая моделирование работы отдельных функциональных и физических объектов [7].
4.5.2 Программное обеспечение ИС
Обычно интеллектуальные сети строятся на базе UNIX-систем, как наиболее адаптивных для сетевого взаимодействия. Кроме того, UNIX-системы обладают очень высокой степенью надежности и устойчивой защитой, что очень важно для ИС. Структура программного обеспечения SCP Alcatel 1425 приведена на рисунке 4.12. В его основе лежит многозадачная операционная система UNIX. Ядро программного обеспечения образуют операционная система, пользовательский интерфейс GUI, система управления файлами FMS и стеки протоколов ОКС-7 (для связи с SSP), Х.25 и TCP/IP (для связи с SMS). Над ядром находятся система управления реляционной базой данных ORACLE, которая содержит административные, постоянные и динамические данные, а также интерпретатор логики услуг SLI. Самый верхний уровень программного обеспечения образуют программы реализации логики услуг SLR [13].
ПО имеет высокий коэффициент готовности, возможность наращивания памяти процессоров в рабочем состоянии, коррекции без значительного снижения готовности, высокую производительность обработки вызовов и очень короткое время реакции. В результате, SCP обеспечивает устойчивую работу в сочетании со средствами обработки, ориентированными на транзакции, которые могут обработать большой объем внешних сообщений с минимальной задержкой.
Все программное обеспечение условно разделяется на слои.
Самый нижний уровень, собственно операционная система UNIX, предназначен для управления системными ресурсами (такими как процессор, жесткие диски и т.д). OMNI-платформа осуществляет функции связи с SSP.
Реализованные на втором уровне функции по администрированию баз данных и функциональных библиотек представляют базовые блоки обмена и управления данными, обработки вызовов.
Самый верхний уровень содержит приложения по общему управлению SCP, контролю обработки вызовов и обработке перегрузок [6].

Рисунок 4.12 - Программные слои SCP
Следует отметить, что при создании интеллектуальной сети на каждый ее узел (SCP, SMP, SCEP и т.д.) создается индивидуальное ПО. В зависимости от поставщика ИС, варьируется и набор ПО для сети.
4.5.3 Программное обеспечение создания услуг
Наиболее интересную часть программного комплекса интеллектуальной сети представляет собой ПО центра создания услуг. Именно здесь формируется сервисная логика будущей услуги. Поставщики оборудования постарались упростить этот процесс, предоставив пользователю среду визуального программирования. В результате этого, создание новой услуги превратилось в процесс построения взаимоувязанных иерархий услугонезависимых блоков - «дерева услуги». Интерфейс интуитивно понятен и не требует особых навыков работы при поставке платформы ИС, к тому же фирма-производитель проводит обучение будущих пользователей. При работе с программой пользователю предлагается стандартный графический интерфейс операционной системы, на базе которой установлено программное обеспечение, палитра услугонезависимых блоков и все необходимые для построения услуги панели инструментов.
На первом этапе создания сервисной логики при помощи стандартных функций drag&drop («перетащи и оставь»), подключая дополнительные SIB, можно расширить услугу новыми возможностями. Программное обеспечение большинства производителей платформ ИС предоставляет возможность повторного использования отдельных функциональных блоков услуг. Иными словами, программист может создать свой, независимый от услуги программный блок, выполняющий определенную функцию, и использовать его в дальнейшем без повторного конструирования. Часто такие блоки становятся предметом сделок купли-продажи между провайдерами ИС [7].
Следующим этапом проектирования услуги является установление связей между блоками и создание условных переходов.
После установления взаимосвязей между блоками есть возможность задать параметры каждого SIB или соединения между ними.
Так, на рисунке 4.13 схематично изображен фрагмент упрощенного «дерева услуги» по выполнению покупки в магазине через телефон, на котором прямоугольниками изображены услугонезависимые блоки, ромбами - условные переходы, а стрелками - взаимосвязи между ними. Каждый из блоков имеет управляющие параметры, позволяющие изменять их поведение в зависимости от потребностей пользователя и провайдера услуги. Так, условный переход «Проверить время» выбирает нужный путь дальнейшего выполнения услуги в зависимости от параметра «время закрытия магазина», значение которого устанавливается провайдером или абонентом услуги.

Рисунок 4.13 - Фрагмент «дерева услуги»
У большинства производителей система разработки услуг также включает в себя модуль проверки корректности «дерева услуги». Такая проверка не гарантирует работоспособности услуги, а лишь позволяет избежать элементарных ошибок. После такой проверки происходит компиляция (сборка) программы [7].
Однако следует отметить, что для того, чтобы создать принципиально новую услугу провайдеру, все же, приходится обращаться к производителю платформы с целью разработки дополнительных наборов SIB.
В процессе создания услуги параллельно с логикой создаются и таблицы баз данных, используемых для хранения служебной и пользовательской информации. Внесение необходимой информации в базу данных происходит на этапах внедрения и эксплуатации услуги. Если ранее при необходимости предоставления пользователю возможности актуализации баз данных ему приходилось устанавливать выделенный терминал, подключенный к платформе ИС, то с развитием Интернет эта функция стала доступна через WWW.
4.6 Реализация ИС на базе оборудования Alcatel 1000 S12
Конфигурация программно-аппаратных комплексов платформы IN компании Alcatel приведена на рисунке 4.14. Основными элементами архитектуры IN Alcatel, поставляемыми в настоящее время, являются SSP Alcatel 1000 S12, SCP Alcatel 1425 или 1420, SMP Alcatel 1435 или 1430, SCE Alcatel 1452. Оборудование Alcatel в разное время (начиная с 1990 г.) было использовано при построении сетей IN в Бельгии, Бразилии, Германии, Франции и других странах [11].

Рисунок 4.14 - Платформа IN компании Alcatel
4.6.1 Узел SSP на базе Alcatel 1000 S12
Узел SSP может быть реализован на основе станции Alcatel 1000 S12 любой версии простым добавлением ПО и оборудования без прерывания работы станции (рисунок 4.15). SSP обнаруживает запускающие события, которые указывают, что вызов требует доступа к услуге ИС. Средства запуска полностью зависят от вида услуг. Выбор типа запуска основан на ряде механизмов, определенных ITU-T в наборе CS-1, таких как коды специального доступа (набранные цифры), идентификация вызывающей или вызываемой стороны, идентификация входящего тракта, дополнительные услуги, на основе коммутации с управлением в ИС.

Рисунок 4.15 - Архитектура Alcatel 1000 S12
ТСЕ - Управляющий элемент модуля; НССМ - Модуль общего канала сигнализации; ASM - Модуль аналоговых абонентских линий; DIAM - Модуль автоответчика; ISM - Модуль абонентских линий ISDN; SCM - Модуль служебных комплектов; DTM - Модуль цифрового тракта ИКМ ; ЕСМ - Модуль эхозаградителей; DLM - Модуль звена данных; ТТМ - Модуль тестирования трактов; IPTM - Модуль коммутации пакетов; DCM - Модуль цифровой конференц-связи; IRIM - Модуль интерфейса выносного блока ISDN; P&L - Модуль периферии и загрузки; СТМ - Модуль тактовых и тональных частот.
Разработаны функции, которые взаимодействуют с базовой функцией обработки вызовов для управления разными фазами вызова ИС. Каждый такой вызов состоит из последовательности соединений [12].
Функции управления данными SSP позволяют SCP считывать и записывать информацию (например, данные таксации и измерения трафика).
Применяются специальные механизмы для защиты SCP от перегрузки или отказа узла (например, запрет или разрешение вызовов в определенный промежуток времени, постановка в очередь).
Для управления интерфейсом SSP/SCP расширена обработка сигнализации. Для обеспечения внедрения быстро меняющихся услуг в обычной сети, между пунктами доступа ИС, SSP и логикой управления услуг в SCP предусмотрены услугонезависимые интерфейсы. Протокол IN АР фирмы Alcatel, используемый в интерфейсе SSP/SCP, обеспечивает ряд услугонезависимых операций, согласованных в основном с версией ETSI Core INAP, предоставляет дополнительные возможности (например, манипуляция сторонами). Наряду с протоколом INAP фирма Alcatel, для взаимодействия в сетях с оборудованием от нескольких поставщиков, обеспечивает интерфейс с INAP ETSI (CS-1). Напомним, что протокол INAP является подсистемой 4-го уровня в системе сигнализации ОКС №7.
Функция специальных ресурсов (SRF), используемая при выполнении услуг под контролем интеллектуальных узлов, встроенная в станции Alcatel 1000 S12, peaлизована с помощью ряда модулей динамических интегрированных автоответчиков (DIAM) и модулей служебных комплектов (SCM).
4.6.2 Узел SСР платформы IN Alcatel
Компания Alcatel поставляет оборудование SCP двух типов - Alcatel 1420 и Alcatel 1425. Оборудование первого типа предназначено для корпоративных сетей и имеет специфические программно-аппаратные интерфейсы, в то время как Alcatel 1425 применяется для работы в сетях общего пользования в качестве узла управления услугами в составе открытой платформы и имеет стандартные интерфейсы.
SCP Alcatel 1425 представляет собой распределенную многопроцессорную программно-аппаратную платформу (рисунок 4.16), состоящую из процессоров переднего плана FEP и процессоров зад него плана ВЕР, объединенных локальной сетью Ethernet. Системные данные хранятся на накопителях на жестких дисках, подключенных к шине стандарта SCSI. Для загрузки системы используется CD-ROM. Объем памяти и число модулей FEP и ВЕР определяются обслуживаемой нагрузкой.
К процессорам переднего плана подключаются первичные тракты ИКМ, в которых организованы каналы ОКС-7. Процессоры FEP реализуют подсистемы МТР, SCCP и ТСАР. Процессоры ВЕР работают в режиме разделения нагрузки, содержат функциональные объекты SCF и SDF и реализуют протокол INAP.
Процессорный блок ВЕР выполнен на базе сервера Alfa 4100 компании DEC и содержит до 4 процессоров типа Alfa Processor с общим объемом оперативной памяти 8 Гбайт, объединенных 128-битной системной шиной со скоростью передачи 1.1 Гбайт/с. Отдельный модуль преобразует системную шину в 64-битовую шину стандарта PCI, к которой подключены внешние устройства (накопители, порты и контроллеры шин SCSI и EISA, а также контроллеры локальной сети) [7].

Рисунок 4.16 - Структура SCP Alcatel
Узел SCP Alcatel 1425 хранит логику и данные служб, требуемые для предоставления услуг ИС. SCP основан на мультипроцессорной системе связи Alcatel 8300 реального времени. Основное оборудование дублировано. ПО состоит из ОС реального времени и прикладного ядра для выполнения услуг и управления. Alcatel 8300 является базовым строительным блоком ряда изделий Alcatel в области ИС, пакетной коммутации, сетей подвижной связи и т.д.
Каждый блок Alcatel 1420 рассчитан на обработку более 100 попыток вызовов в секунду. При нормальных условиях он обрабатывает более 20000 одновременных вызовов. В условиях перегрузки, система может обеспечить ограниченное обслуживание до 500 попыток вызовов в секунду.
Основная функция SCP - выбор и исполнение программ логики услуги (ЛУ), запускаемых внутри (по распознаванию условий, таких как время суток или сочетание внутренних событий) или от функциональных внешних условий (например, по получению воздействий от SSP).
Обработка вызовов осуществляется SSP в реальном времени под управлением SCP и контролируется функциями ЛУ, включенными в ядро прикладных процессов. Такими процессами является интерпретатор ЛУ, предназначенный для связывания и мониторинга выполняемых действий, а также библиотека элементарных операций, состоящая из стандартных подпрограмм, выполняющих требуемую обработку для запрошенной услуги.
Управление обработкой вызовов дополнено прикладными процессами, основанными на специфичных элементарных операциях, и записью, которая определяет стандартные и специфичные операции, требуемые для услуги.
При запросе интерпретатор ЛУ анализирует запись вызванной услуги, запускает элементарные операции, указанные в записи, контролирует их выполнение и дистанционно контролирует SSP, использующий операции ИС.
Кроме управления обработкой вызовов, элементы управления обслуживают функции приобретения, используемые в административном управлении, администрации и техобслуживании.
Существуют механизмы для переноса данных из реляционной базы данных SMP в БД реального времени SCP. Общение между SMP и SCP происходит по протоколу Х.25. СУБД реального времени содержит все данные, требуемые для обработки вызовов и механизмов адаптации, а также проверки согласованности между SCP и SMP [6].
4.6.3 Узел SMP платформы IN Alcatel
SMP Alcatel 1435 обеспечивает управление узлами, обрабатывающими службами, используя различные функции, такие как управление услугой, доступ службы таксации, измерение трафика, функции доступа оператора или абонента услуги и контроль SCP.
Узел SMP представляет собой ПК с ОС UNIX. SMP и SCP общаются по протоколу Х.25 (рисунок 4.17). Платформа SMP определяет инфраструктуру управления и окружение для поддержки услуг ИС. В узле SMP расположена платформа общего ПО, используемая всеми услугами ИС, с тем, чтобы не производить разработку аналогичных функций для каждой новой услуги [12].
Эта платформа выполняет следующие функции:
- прикладные (для услуг) функции поддержки программирования, которые включают интерфейсы ОС, реляционной БД и связи с SCP и операторами;
- управление общими функциями, имеется услугонезависимая платформа, занимающаяся общими функциями SCP, такими как управление SCP, управление платформы SMP, ОС UNIX и административного управления ORACLE;
- управление конфигурацией, которое обеспечивает функции контроля, идентификации и сбора данных от SMP и посылки данных к SMP, а также обеспечивает возможность создания, считывания, модификации и удаления данных в SCP;
- управление параметрами, обеспечивающее оценку и индикацию показателей работы узлов ИС и услуг. Они собирают статистические данные для контроля и коррекции качества обслуживания в ИС;
- управление доступом, которое обеспечивает требуемую безопасность в отношении доступа пользователя. Когда пользователь подключается к системе, он получает уведомление о входе, в котором запрашивается идентификация пользователя и пароль для проверки права доступа;
- управление сбоями, обеспечивающее обнаружение, локализацию и коррекцию любых ненормальных действий службы ИС;
- управление измерениями, отвечающее за активацию, сбор, обработку и отображение результатов измерений показателей работы SCP и самого SMP.
Существуют постоянные измерения, которые после активации всегда присутствуют в SMP, и измерения по запросу, более детальные, которые делаются только по отдельному запросу.

Рисунок 5.17 - Структура SMP Alcatel
4.6.4 Узел SCE платформы IN Alcatel
SCE Alcatel 1452 реализована в виде специализированной программной среды, работающей в качестве прикладной программы под управлением операционной системы Windows. Среда обеспечивает возможность описания услуги с использованием палитры библиотечных блоков SIB, проверку алгоритма функционирования услуги посредством моделирования, описание графического интерфейса пользователя услуги для SMR конфигурирование конечных автоматов, прогнозирование показателей качества обслуживания и развития сети [7].
В каждом из блоков SIB, используемых при работе с редактором услуг, инкапсулировано несколько объектов и методов доступа к ним с целью их конфигурации (используются при создании части программного обеспечения услуги, необходимой для SMP) и с целью их применения (используются при создании части программного обеспечения услуги, необходимой для SCP).
В отдельном программном модуле содержится описание структуры сети - количество SCR SMP и их аппаратная конфигурация. Это обеспечивает возможность генерировать на этапе создания услуги конфигурационные файлы для каждого элемента сети. Другой модуль предназначен для выбора параметров собираемой статистики, определения обслуживаемой нагрузки и ресурсов платформы, отводимых для предоставления услуги [12].
4.6.5 Интеллектуальная периферия IP
Интеллектуальная периферия Alcatel предоставляет такие услуги, как передача фраз автоинформаторов, прием цифр (DTMF), синтез и распознавание речи, конференц-связь, а также передачу и прием факсов. Она может быть реализована как часть SSP или автономная система, в зависимости от требуемой емкости и предпочтений заказчика.
IP взаимодействует с сетью по ряду существующих интерфейсов абонентов и У АТС. Дополнительно можно использовать различные протоколы ПД для доступа к компьютеру, используемому как удаленная дистанционная БД.
IP используется, например, для указания вызывающей стороне набрать дополнительную информацию (например, номер кредитной карты или PIN код). В применении DTMF приемники тонов в IP декодируют ответы пользователей. Сегодня имеются системы распознавания речи, способные декодировать ограниченный набор слов. Они развиваются в мощные системы, способные к распознаванию ключевых слов в речевой фразе и распознаванию речи [7].
4.7 Конвергенция интеллектуальных и мобильных сетей
В последнее время все заметнее стала проявляться конвергенция интеллектуальных сетей, создаваемых на базе стационарных сетей связи и беспроводных сетей подвижной связи. Это обусловлено тем, что архитектура ИС и архитектура сетей подвижной связи очень сходны. При определении местоположения мобильного абонента между элементами сетей подвижной связи применяется сигнализация, основанная на принципах транзакций, похожая на ту, которая используется при запросе услуги ИС. Центр коммутации сети подвижной связи (MSC — Mobile switching center), к которому попадает вызов, направленный к абоненту обслуживаемой этим MSC сети, передает в регистр местоположения «домашних» абонентов (HLR — Home location register) запрос о том, где находится в данный момент этот абонент (рисунок 4.18). HLR постоянно обновляет информацию о местоположении абонента на основе данных, получаемых из последней «визитной» сети, в которой тот оказался, и по запросу MSC передает ему информацию, необходимую для маршрутизации.
Однако ни стационарные ИС, ни сети подвижной связи не обладают теми возможностями, какие могла бы иметь сеть, соединившая в себе свойства и тех, и других. Стационарные ИС-сети (как с набором CS-1, так и с набором CS-2) не владеют в полной мере механизмами поддержки мобильности, а сети подвижной связи не способны адекватно обеспечивать принцип независимости от услуг, присущий концепции ИС. Естественно, что операторы сетей подвижной связи стремятся овладеть преимуществами, предлагаемыми концепцией ИС, а операторы стационарных сетей ИС заинтересованы в услугах, поддерживающих мобильных абонентов [21].
Независимо от того, какой подход использован к формированию беспроводной интеллектуальной сети, она приобретает такие присущие сетям подвижной связи черты, как необходимость контроля передвижения мобильного абонента, специфика радиодоступа и проблемы роуминга услуг [7].
Возможны два основных подхода к конвергенции мобильных и интеллектуальных сетей. Первый - сформировать или «наложить» концепцию ИС на архитектуру существующих сетей подвижной связи; второй — дополнить свойствами поддержки мобильности концепцию ИС, ориентированную преимущественно на стационарные сети. Выбор того или другого подхода зачастую определяется заинтересованной стороной (т.е. администрацией сети подвижной связи или сети ИС).

Рисунок 4.18 - Архитектура ИС (1) и сети подвижной связи (2)
Второй подход, которому следует МСЭ-Т, предполагает, что организовать полную поддержку мобильности в ИС можно будет не ранее реализации набора CS 4, после завершения работ по спецификации систем связи третьего поколения. Первый подход более прагматичен и может быть реализован достаточно простыми средствами в ближайшем будущем. Однако его сторонники тоже разделились на две группы [6].
Первая группа придерживается мнения, что протоколы сигнализации, используемые в сетях подвижной связи (MAP IS-41 или MAP GSM), фактически уже являются протоколами ИС. Такая точка зрения основана на убеждении, что процесс доставки вызова к мобильному абоненту есть услуга ИС, и что сетевые объекты, которые выполняют эту функцию (HLR), по существу представляют собой специализированные пункты управления услугами (SCP). Сказанное подтверждает сравнение процедур запроса данных о местоположении мобильного терминала и запроса услуги ИС - обе процедуры приводят к обмену инструкциями, нужными для маршрутизации и для установления соединения. В связи с этим предлагается модифицировать существующий протокол подвижной связи в соответствии с концепцией ИС и адаптировать его к более унифицированным требованиям, после чего любое различие между запросами, специфическими для подвижной связи, и запросами услуг ИС будет «размыто».
Вторая группа признает схожесть прикладных протоколов сетей подвижной связи и сетей ИС, однако считает первые недостаточно общими для того, чтобы они могли поддерживать концептуальные идеи ИС. Поэтому предлагается рассматривать обращение к услуге ИС в сети подвижной связи как процесс, который происходит в значительной степени независимо от сигнализации, служащей для установления соединения, и свести к минимуму роль HLR в реализации услуг ИС. Доставка вызова мобильному абоненту считается основной функцией, а не услугой ИС. Операции, используемые для доставки вызова, не изменяются с введением операций ИС, поскольку последние не зависят от протокола установления соединения. Различие между сигнализацией, специфической для подвижной связи, и сигнализацией для поддержки услуги усиливается, поскольку та и другая остаются логически разными [21].
Учитывая потребность в конвергенции концепции ИС и свойств мобильности, организации, занимающиеся стандартизацией, разрабатывают стандарты в этой области.
Примеры услуг, ориентированных на мобильных абонентов.
Контроль использования (Control of Use). Данная услуга объединяет такие возможности, как:
- контроль доступа (Access control) к мобильной станции (MS);
- «экранирование» вызовов (Call screening).
Услуга контроля доступа состоит в том, что клиент получает персональный идентификационный номер (PIN), с помощью которого проводится процедура аутентификации и задания-снятия функций ограничения доступа. Основное преимущество - снижение риска несанкционированного использования и, соответственно, сокращение незапланированных расходов.
Услуга по «экранированию» вызовов касается ограничения, как входящих, так и исходящих звонков, причем существует возможность наложения ограничений на местонахождение, время, а также номер абонента. Последнее реализуется путем составления списков баз данных разрешенных и неразрешенных номеров. Данная услуга важна не только для сокращения расходов, но и для ограничения нежелательных вызовов [6].
Виртуальные частные сети (Virtual Private Network). Данная услуга предполагает создание внутри существующих сетей подвижной связи (GSM/DCS) частных виртуальных сетей (VPN) с выделенным планом нумерации для абонентов VPN.
Услуги по предоплате PPS (Pre Paid Service). Предварительно оплаченные услуги организованы таким образом, что абонент является доступным для входящих и исходящих вызовов до тех пор, пока на его счете имеется определенная сумма. Логика услуги осуществляет контроль за распределением средств на счете абонента PPS и обеспечивает возможность подсказок и предупреждений абонента в различных ситуациях с помощью воспроизведения соответствующих автоматических объявлений.
Внедрение услуг с предварительной оплатой доказало, что успех может быть достигнут незамедлительно. Во многих странах количество «предоплатных» абонентов составило 10% от всей абонентской базы уже в первые месяцы после внедрения услуги. Чем же данная услуга привлекательна для абонентов?
Не нужен долгосрочный контракт с тем или иным оператором сети.
Не нужно регулярно платить абонентскую плату.
Анонимная подписка.
Проще сменить оператора.
Данной услугой могут пользоваться абоненты с существующими терминалами и SIM-картами.
Описанные выше возможности являются лишь малой частью по сути неограниченных возможностей интеллектуальной сети. Достаточное количество подобного рода и прочих услуг предоставляется в зависимости от воображения клиента и потребностей рынка.
В рассмотренном примере отчетливо обозначена тенденция дальнейшего взаимопроникновения независимо развиваемых концепций ИС и систем подвижной связи [21].
5 Проверочный расчет числа межстанционных соединительных линий на ГТС по укрупненным показателям
5.1 Определение интенсивностей нагрузок между АМТС и РАТС
а) Интенсивность средней исходящей междугородной нагрузки [10]:
А>ми>=N·a>ЗСЛ>, Эрл (5.1)
где А>ми>- исходящая междугородная нагрузка, создаваемая абонентами проектируемой РАТС (в данном случае АТС-23, где намечается создание узла интеллектуальной сети); a>ЗСЛ> –удельная нагрузка на одну заказно-соединительную линию (ЗСЛ), создаваемая одним абонентом; а>ЗСЛ>=0,007 Эрл/АЛ. (Норма средней интенсивности нагрузки на ЗСЛ на одного абонента); N – емкость проектируемой РАТС [10].
Определяем интенсивность средней исходящей междугородной нагрузки:
- для РАТС-23, где N=5000:
А>ми23>=5000·0,007=25 Эрл
Расчеты по определению интенсивности средней исходящей междугородной нагрузки для остальных РАТС приведены в таблице 5.1.
б) Интенсивность средней входящей междугородной нагрузки:
А>мв>=N·a>СЛМ>, Эрл (5.2)
где А>мв>– интенсивность входящей междугородной нагрузки на СЛМ; a>СЛМ> – удельная входящая междугородная нагрузка на одну абонентскую линию. (a>СЛМ>=0,0075 Эрл/АЛ) [10].
Интенсивность средней входящей междугородной нагрузки для РАТС-23 составляет:
А>мв23>=1400·0,0075=37,5Эрл
Расчеты по определению интенсивности средней входящей междугородной нагрузки для остальных РАТС приведены в таблице 5.1.
5.2 Определение интенсивностей средних нагрузок между существующими и проектируемой РАТС
Определение нагрузки на выходе КП (проектируемой) РАТС.
В нашем случае за проектируемой РАТС считаем РАТС-23, так как в данной станции будет находиться узел интеллектуальной сети [10].
Расчет нагрузки на выходе КП определяется:
A>pi>=a·N>i>, Эрл (5.3)
где а – удельная нагрузка на выходе КП АТС, создаваемая одним абонентом a=0,05 Эрл/АЛ; N>i> – емкость i –той АТС; A>pi> – нагрузка на выходе КП i-той АТС, подлежащей распределению на сети.
Расчет нагрузки на выходе КП:
- для РАТС-23:
A>p>>23>=5000·0,05=250 Эрл
Расчеты по определению нагрузки на выходе КП остальных РАТС приведены на таблице 5.1.
Особое место занимает у абонентов ГТС выход к УСС. Нагрузка к УСС определяется с учетом a>СЛМ>=0,0015 Эрл/АЛ [10].
A>p>>усс>=N·0,0015 (5.4)
Определим нагрузку на УСС, который находится в РАТС-25:
A>p>>25усс>=5000·0,0015=7,5 Эрл
Результаты нагрузок от остальных РАТС к УСС приведены в таблице 5.1.
Таблица 5.1 – Проверочный расчет межстанционных СЛ
|
Станции |
Емкость станции, количество номеров |
А>ми>, Эрл |
А>мв>, Эрл |
А>pi>, Эрл |
А>p>>усс>, Эрл |
|
АТС-23 |
5000 |
35 |
37,5 |
250 |
7,5 |
|
АТС-25 |
12790 |
89,53 |
95,93 |
639,5 |
19,18 |
|
ПСЭ-260/261 |
2790 |
19,53 |
20,93 |
139,5 |
4,18 |
|
АТС-262 |
1300 |
9,1 |
9,75 |
65 |
1,95 |
|
ПСЭ-263 |
380 |
2,66 |
2,85 |
19 |
0,57 |
|
ПСЭ-264 |
770 |
5,39 |
5,77 |
38,5 |
1,15 |
|
ПСЭ-265 |
256 |
1,79 |
1,92 |
12,8 |
0,38 |
|
ПСЭ-266 |
2850 |
19,95 |
21,37 |
142,5 |
4,27 |
|
АТС-267/268 |
1400 |
9,8 |
10,5 |
70 |
2,1 |
|
АТС-42 |
6750 |
47,25 |
50,62 |
337,5 |
10,12 |
|
АТС-77 |
6790 |
47,53 |
50,92 |
339,5 |
10,18 |
|
ПСЭ-278 |
512 |
3,58 |
3,84 |
25,6 |
0,76 |
Определение межстанционных нагрузок на ГТС.
Определение межстанционных нагрузок на ГТС зависит от принципа построения. ГТС г.Кокшетау построена по принципу «каждая с каждой» с элементами узлообразования. Только в РАТС-25 применяется радиальное включение выносных концентраторов, поэтому для общего анализа можно пренебрегать элементами узлообразования, то есть считать сеть как «каждая с каждой». В качестве транспортной среды применяется оптический кабель [10].
Для определения нагрузок между РАТС используется метод пропорций:
(5.5)
где
-
средняя нагрузка от i
к j
РАТС;
-
средняя нагрузка, подлежащая распределению,
от j-той
РАТС;
-емкость
j-той
РАТС;
-
суммарная емкость всех АТС ГТС.
Нагрузка от РАТС-23 к РАТС-25:
A>23-25>=250*12790/41588=76,88 Эрл
Межстанционная нагрузка между РАТС-23 и другими РАТС приведена в таблице 5.2. На рисунке 5.1 изображено распределение нагрузки на АТС-23.
Таблица 5.2 – Сводная таблица межстанционной нагрузки
|
Станции |
АТС-23 |
АТС-25 |
ПСЭ-260/261 |
АТС-262 |
ПСЭ-263 |
ПСЭ-264 |
ПСЭ-265 |
АТС-267/268 |
АТС-42 |
АТС-77 |
ПСЭ-278 |
ПСЭ-266 |
|
АТС-23 |
- |
76,88 |
16,77 |
7,8 |
2,28 |
4,62 |
1,53 |
17,13 |
40,5 |
40,8 |
3,0 |
17,13 |
|
АТС-25 |
76,88 |
- |
42,9 |
19,9 |
5,84 |
11,8 |
3,9 |
21,52 |
103,79 |
104,4 |
7,87 |
43,82 |
|
ПСЭ-260/261 |
16,77 |
42,9 |
- |
4,36 |
1,27 |
2,58 |
0,86 |
4,69 |
22,64 |
22,77 |
1,7 |
9,56 |
|
АТС-262 |
7,8 |
19,99 |
4,36 |
- |
0,59 |
1,2 |
0,4 |
2,18 |
10,54 |
10,61 |
0,8 |
4,45 |
|
ПСЭ-263 |
2,28 |
5,84 |
1,27 |
1,27 |
- |
0,35 |
0,12 |
0,6 |
3,0 |
3,1 |
0,2 |
1,3 |
|
ПСЭ-264 |
4,6 |
11,8 |
2,58 |
1,20 |
0,35 |
- |
0,23 |
1,29 |
6,24 |
6,28 |
0,47 |
2,63 |
|
ПСЭ-265 |
1,53 |
3,93 |
0,85 |
0,4 |
0,11 |
0,23 |
- |
0,43 |
2,07 |
2,08 |
0,15 |
0,87 |
|
АТС-267/268 |
88,4 |
21,5 |
4,69 |
2,18 |
0,63 |
1,29 |
0,43 |
- |
11,36 |
11,42 |
0,86 |
4,79 |
|
АТС-42 |
40,57 |
103,79 |
22,64 |
10,55 |
3,08 |
6,24 |
2,07 |
11,36 |
- |
55,10 |
41,48 |
23,1 |
|
АТС-77 |
40,81 |
104,4 |
22,77 |
10,61 |
3,10 |
6,28 |
2,08 |
11,42 |
55,10 |
- |
4,18 |
23,26 |
|
ПСЭ-278 |
3,07 |
7,87 |
1,71 |
0,8 |
0,23 |
0,47 |
0,15 |
0,86 |
4,15 |
4,17 |
- |
1,75 |
|
ПСЭ-266 |
17,13 |
43,82 |
9,55 |
4,45 |
1,3 |
2,63 |
0,87 |
4,79 |
23,1 |
23,2 |
1,77 |
- |
5.3 Расчет числа соединительных линий
Расчет числа СЛ производится с учетом качества обслуживания вызовов и нагрузки, поступающей на СЛ.
Качество обслуживания вызовов задается нормой потерь вызовов (Р) и по рекомендации ВНТП 112-92 составляет на участке РАТС-РАТС Р=0,005, на участке РАТС-АМТС, РАТС-УСС, АМТС-РАТС Р=0,001 [10].
При расчете средняя нагрузка переводится в расчетную, учитывающую повышение нагрузки в ЧНН:
Y=1,03A+0,29
(5.6)
Для РАТС-23 расчетная нагрузка определяется с учетом формулы (5.6):
Y>ми23>=1,03х35+0,29
=42,26 Эрл
Y>мв23=>40,39 Эрл
Y> >>p>>23>=255,61 Эрл
Y> >>p>>23УСС>=8,51 Эрл
Расчетная нагрузка для остальных РАТС приведена в таблице 5.3.
Таблица 5.3 – Средняя и расчетная нагрузка
|
Наименование станции |
Емкость станции |
А>сред>, Эрл |
Y>расч>, Эрл |
||||||
|
А>ми>, Эрл |
А>мв>, Эрл |
А>pi>, Эрл |
А>p>>усс>, Эрл |
Y>ми>, Эрл |
Y>мв>, Эрл |
Y>pi>, Эрл |
Y>p>>усс>, Эрл |
||
|
АТС-23 |
5000 |
35 |
37,5 |
250 |
7,5 |
37,7 |
40,4 |
262,0 |
8,515 |
|
АТС-25 |
12790 |
89,53 |
95,93 |
639,5 |
19,18 |
91,63 |
99,2 |
661,5 |
22,2 |
|
ПСЭ-260/261 |
2790 |
19,53 |
20,93 |
139,5 |
4,18 |
22,3 |
24,7 |
144,5 |
5,12 |
|
АТС-262 |
1300 |
9,1 |
9,75 |
65 |
1,95 |
10,5 |
11,7 |
72,2 |
2,14 |
|
ПСЭ-263 |
380 |
2,66 |
2,85 |
19 |
0,57 |
2,79 |
2,95 |
22,7 |
1,20 |
|
ПСЭ-264 |
770 |
5,39 |
5,77 |
38,5 |
1,15 |
7,0 |
7,12 |
43,3 |
1,57 |
|
ПСЭ-265 |
256 |
1,79 |
1,92 |
12,8 |
0,38 |
2,13 |
2,51 |
15,5 |
1,15 |
|
ПСЭ-266 |
2850 |
19,95 |
21,37 |
142,5 |
4,27 |
22,05 |
25,9 |
167,1 |
6,33 |
|
АТС-267/268 |
1400 |
9,8 |
10,5 |
70 |
2,1 |
13,4 |
16,1 |
92,8 |
3,8 |
|
АТС-42 |
6750 |
47,25 |
50,62 |
337,5 |
10,12 |
53,3 |
57,8 |
360,8 |
15,10 |
|
АТС-77 |
6790 |
47,53 |
50,92 |
339,5 |
10,18 |
56,4 |
60,2 |
372,1 |
16,1 |
|
ПСЭ-278 |
512 |
3,58 |
3,84 |
25,6 |
0,76 |
5,15 |
5,91 |
33,7 |
1,05 |
Расчет числа СЛ от АТСЭ.
В ГТС г. Кокшетау все эксплуатируемые АТС цифровые. В данном случае СЛ включаются по полнодоступной схеме, т.е. расчет числа СЛ производится по первой формуле Эрланга с использованием таблиц Пальма. При расчете учитываются значение расчетной нагрузки и нормы потерь вызовов [10].
Количества СЛ для РАТС-23 :
v>ми23>= 65 СЛ. v>мв23>=60СЛ. v>23>=300 СЛ. V>усс>=20СЛ
Количества СЛ от остальных РАТС приведены в таблице 5.4.
Общее число соединительных линий РАТС-23:
Vобщ23=v>ми2>+v>мв2>+v>общ( от всех АТС)>+v>усс >(5.7)
Vобщ23=892 СЛ
Таблица 2.4 – Количество соединительных линий
|
АТС |
V – линий |
|||
|
V>м.исх.> |
V>м.в.> |
V>общ.> |
V>усс> |
|
|
АТС-23 |
35 |
37,5 |
250 |
|
|
АТС-25 |
120 |
130 |
800 |
38 |
|
ПСЭ-260/261 |
38 |
42 |
170 |
14 |
|
АТС-262 |
22 |
24 |
95 |
9 |
|
ПСЭ-263 |
10 |
10 |
36 |
7 |
|
ПСЭ-264 |
18 |
18 |
60 |
7 |
|
ПСЭ-265 |
9 |
9 |
26 |
7 |
|
ПСЭ-266 |
38 |
42 |
200 |
16 |
|
АТС-267/268 |
26 |
30 |
120 |
12 |
|
АТС-42 |
75 |
80 |
400 |
30 |
|
АТС-77 |
80 |
85 |
450 |
30 |
|
ПСЭ-278 |
14 |
15 |
48 |
6 |
Количество исходящих и входящих СЛ РАТС-23 приведены в таблице 5.5, 5.6.
Таблица 5.5 – Количество СЛ между РАТС-23 и существующими РАТС
|
АТС Нагрузка, кол-во СЛ |
АТС-23 |
АТС-25 |
ПСЭ-260/261 |
АТС-262 |
ПСЭ-263 |
ПСЭ-264 |
ПСЭ-265 |
АТС-267/268 |
АТС-42 |
АТС-77 |
ПСЭ-278 |
ПСЭ-266 |
УСС |
АМТС |
|
А>23> |
30,16 |
76,88 |
16,77 |
7,8 |
2,28 |
4,6 |
1,53 |
8,4 |
40,57 |
40,81 |
3,07 |
17,13 |
7,5 |
35 |
|
Y>23> |
80,20 |
19,2 |
10,2 |
3,45 |
6,1 |
2,15 |
9,8 |
42,12 |
42,91 |
5,00 |
19,2 |
8,515 |
37,7 |
|
|
V>23> |
110 |
32 |
20 |
10 |
14 |
7 |
20 |
60 |
60 |
12 |
32 |
18 |
60 |
Исходящих СЛ от РАТС-23 - 455 линий.
Таблица 5.6 – Количество СЛ между существующими РАТС и РАТС-23
|
АТС Нагрузка, кол-во СЛ |
АТС-23 |
АТС-25 |
ПСЭ-260/261 |
АТС-262 |
ПСЭ-263 |
ПСЭ-264 |
ПСЭ-265 |
АТС-267/268 |
АТС-42 |
АТС-77 |
ПСЭ-278 |
ПСЭ-266 |
АМТС |
|
А>23> |
30,16 |
76,82 |
16,77 |
7,8 |
2,28 |
4,6 |
1,53 |
8,4 |
40,57 |
40,81 |
3,07 |
17,13 |
37,5 |
|
Y>23> |
80,20 |
19,2 |
10,2 |
3,45 |
6,1 |
2,15 |
9,8 |
42,12 |
42,91 |
5,00 |
19,2 |
38,2 |
|
|
V>23> |
110 |
32 |
20 |
10 |
14 |
7 |
20 |
60 |
60 |
12 |
32 |
60 |
Входящих СЛ от РАТС-23 - 437 линий.
Количество СЛ других РАТС приведены в таблице 5.7.
Таблица 5.7 - Количество СЛ
|
Наименование АТС |
Общая исходящая нагрузка на станцию |
СЛ |
Общая входящая нагрузка на станцию |
СЛ |
V>общ> |
|
АТС-25 |
844,14 |
900 |
824,96 |
900 |
1800 |
|
ПСЭ-260/261 |
184,14 |
220 |
179,96 |
220 |
440 |
|
АТС-262 |
85,8 |
120 |
83,85 |
120 |
240 |
|
ПСЭ-263 |
25,08 |
42 |
24,51 |
42 |
84 |
|
ПСЭ-264 |
50,81 |
75 |
49,66 |
75 |
150 |
|
ПСЭ-265 |
16,89 |
32 |
16,51 |
32 |
64 |
|
ПСЭ-266 |
188,09 |
230 |
183,82 |
220 |
550 |
|
АТС-267/268 |
92,4 |
120 |
90,3 |
120 |
240 |
|
АТС-42 |
445,49 |
500 |
435,37 |
500 |
1000 |
|
АТС-77 |
448,13 |
500 |
437,95 |
500 |
1000 |
|
ПСЭ-278 |
33,78 |
60 |
33,02 |
60 |
120 |
5.4 Проверочные расчеты соответствия по транспортной сети
Для проверки соответствия существующих СЛ в ГТС определяем необходимое число систем передачи [10].
Количество систем передачи определяется по формуле:
(5.8)
p – коэффициент, учитывающий многократность каналов системы передачи. Для системы передачи SТМ-1: p=1920.
Для РАТС-23:
n>сист>=455+437/1920 =0,46=1
В этом случае у нас остались незадействованные каналы, которые мы оставляем на перспективу.
Проверочное требуемое число оптических волокон в ОК рассчитаем по формуле:
N>ob>=2N>cn>> >(5.9)> >
N>ob> =2 ∙ 1 = 2
Исходя из полученных результатов, можно сделать следующий вывод: эксплуатируемый кабель типа ОКЛС-03-8 (по 8 волокон) на транспортной сети ГТС вполне удовлетворяет спрос об интеллектуальных услугах (так как в настоящее время задействованы 2 волокна на прием, 2 волокна на передачу, 4 волокна резервные).
Для других РАТС в ГТС:
n>АТС-25 >=1800/1920 =0,9=1
В настоящее время эксплуатируется в приеме-передаче два SТМ-1.
n>АТС-267/268 >=240/1920 =0,12=1
n>АТС-42 >=1000/1920 =0,52=1
n>АТС-77 >=1000/1920 =0,52=1
Так как многие подстанции подключены через АТС-25, поэтому суммируем эту нагрузку:
Y>общ.25 >= А>АТС-25 >+ А>RSU>>-265 >+ А>RSU>>-264 >+ А>RSU>>-263 >+ А>RSU>>-262 >+ А>RSU>>-278 >+ А>RSU>>-266 >
(5.10)
Y>общ.25 >= 1800> >+ 240> >+ 84> >+ 150> >+ 64> >+ 550> >+ 120=3008> >
N>Общ.25 >=3008/1920 =1,56=2
5.5 Распределение нагрузок при обслуживании вызовов к ИСС.
Суммарная удельная нагрузка от 1 абонента в направлении ко всем услугам ИСС в соответствии составляет:
Y>in>> >= 0.000257 Эрл
Что в 97,5 раз меньше удельной абонентской нагрузки при пользовании услугой телефонии (0,05 Эрл), тогда [10]:
(5.11)
где Y>in>> >- возникающая нагрузка на выходе КП РАТС; Y>sub>>> >- удельная абонентская нагрузка.
Эрл
Эрл
Эрл
Эрл
Эрл
Эрл
Эрл
Эрл
Эрл
Эрл
Эрл
Эрл
В таблице 5.8 приведена нагрузка и необходимое количество СЛ на интеллектуальную сеть.
Таблица 5.8 – Нагрузка и необходимое количество СЛ на ИС
|
Номер станции |
Y>ср> |
Y>рас> |
V>л> |
|
1 |
2 |
3 |
4 |
|
АТС-23 |
2,56 |
3,10 |
11 |
|
АТС-25 |
6,56 |
7,49 |
18 |
|
ПСЭ-260/261 |
1,4 |
1,78 |
8 |
|
АТС-262 |
0,6 |
0,838 |
6 |
|
ПСЭ-263 |
0,2 |
0,33 |
4 |
|
ПСЭ-264 |
0,4 |
0,52 |
5 |
|
ПСЭ-265 |
0,13 |
0,21 |
4 |
|
ПСЭ-266 |
1,46 |
1,80 |
8 |
|
АТС-267/268 |
0,7 |
0,9 |
7 |
|
АТС-42 |
3,5 |
4,14 |
12 |
|
АТС-77 |
3,5 |
4,14 |
12 |
|
ПСЭ-278 |
0,3 |
0,4 |
4 |
Вывод:
Проделанные расчеты доказывают, что существующая транспортная сеть ГТС г.Кокшетау на базе STM-1 вполне справится с возникающей нагрузкой в сети, резерв каналов на сегодняшний день составляет 45,73%. Ниже в таблице 5.9 приведен процент задействованности каналов транспортной среды.
Таблица 5.9 – Процент задействованности каналов транспортной сети
|
Номер АТС |
Оборудование |
Количество |
Задействованная емкость |
Монтируемая емкость |
Необходимое число каналов к SSP |
Процент использования каналов |
Резерв, % |
|
АТС-23 |
STM-1 |
1 |
904 |
1920 |
11 |
47,1 |
52,9 |
|
АТС-25 |
STM-1 |
2 |
3078 |
3840 |
70 |
80,15 |
19,85 |
|
АТС-267/268 |
STM-1 |
1 |
247 |
1920 |
7 |
12,8 |
87,2 |
|
АТС-42 |
STM-1 |
1 |
1012 |
1920 |
12 |
52,1 |
47,9 |
|
АТС-77 |
STM-1 |
1 |
1012 |
1920 |
12 |
52,1 |
47,9 |
|
Всего |
6 |
6253 |
11520 |
54,27 |
45,73 |
Из таблицы видно, что в транспортной среде коэффициент использования каналов всего составляет 54,27%, а остальные каналы в количестве 5267 – просто бездействуют. Отсюда следует, что на базе существующей сети вполне можно организовать предоставление интеллектуальных услуг. Интеллектуальные сети создают предпосылки к созданию инфокоммуникационных сетей следующего покаления и сближают сети фиксированной и мобильной связи.
На рисунке 5.2 показано распределение нагрузки к SSP.
6 Расчет временных характеристик интеллектуальных сетей
6.1 Анализ временных задержек в ИС
Процесс предоставления «обобщенной» интеллектуальной услуги можно представить в виде последовательных действий: набор номера абонентом А; проключение соединения: Абонент А – SSP; функционирование IP (обмен речевой информацией с абонентом А); передача информации об услуге через сеть ОКС №7 с протоколом INAP из SSP в SCP; обработка информации в интеллектуальной надстройке и формирование управляющих воздействий в SSP; проключение разговорного тракта Абонент А - Абонент Б; функционирование IP; разговор абонентов; завершение разговора; передача информации о завершении разговора из SSP в SCP через сеть ОКС №7; разъединение абонентов; завершение выполнения услуги; освобождение SSP.
Следует обратить внимание на то, что такая последовательность верна только для усредненной или «обобщенной услуги». На самом деле, процесс обработки услуг может включать лишь часть из вышеописанных этапов.
Таким образом, необходимо рассмотреть задержки, вносимые в процессе выполнения перечисленных действий для того, чтобы затем иметь возможность сформировать результирующую задержку выполнения конкретной интеллектуальной услуги (ИУ) [7].
Рассмотрим подробнее содержание выполняемых действий.
1. Набор номера Абонентом А (вызывающей стороной). В общем случае эту задержку можно было бы не учитывать и отсчитывать время от момента нажатия последней цифры номера. В частном случае, при использовании АТС старых конструкций - например, декадно-шаговых АТС - время набора влияет на время установления соединения. Однако если сделать допущение, что вся первичная сеть межстанционных связей - цифровизирована, указанная сложность устраняется и время набора номера можно не учитывать.
2. Проключение соединения Абонент А - SSP. Задержка при передаче информации о необходимости установления соединения не является постоянной величиной и зависит как от конфигурации сети, так и от мгновенной загрузки каналов ОКС №7 и количества SSP на сети [19].
В случае если запрос услуги произошел на станции, обладающей функциями SSP, то время проключения Т пренебрежимо мало. В общем же случае при расчете Т не обойтись без применения вероятностно-временных характеристик и без применения теории массового обслуживания и распределения информации. Так как в ОКС №7 используется динамическая маршрутизация пакетов, то расчет этого времени - задача достаточно сложная, поэтому в каждом случае она решается с введением различного рода допущений. Иногда ее даже можно свести к вычислению формулы (6.1).
Т2=(N+1)*T>ОКС №7 >+ N*T> >>ROUTE>> >(6.1)
где T>ОКС №7 >- время передачи информации точка-точка между двумя смежными пунктами сигнализации сети ОКС с учетом ошибок в звене; N - среднее количество транзитных пунктов сигнализации; T> >>ROUTE> - время обработки сигнальной информации в транзитном пункте сигнализации.
3. Получение необходимых данных от пользователя. Эта операция осуществляется в диалоговом режиме («для получения информации – нажмите цифру 3...»). Со стороны интеллектуальной надстройки в этом диалоге принимает участие SSP, а если конкретно, то IP. Задержка на этом этапе в основном определяется временем проигрывания записанной информации-подсказки и временем реакции пользователя и количеством пар «вопрос-ответ».
4.Передача информации об услуге из SSP в SCP. При поступлении информации об услуге от абонента А в SSP, происходит передача ее в SCP через сеть ОКС №7 с использованием протокола INAP, который, как описано выше, используется для реализации услуг ИС. Задержка tinap также зависит от плотности вероятности возникновения ошибок в канале.
5. Обработка информации в интеллектуальной надстройке и формирование управляющих воздействий на SSP. При этом возможны следующие задержки [6]:
- время запуска программы логики услуги;
- чтение информации из БД - задержка кратна количеству чтений;
- запись информации в БД - задержка кратна количеству записываемых данных;
- время выполнения программы - логики услуги.
6. Передача данных из SCP в SSP через ОКС №7. Время задержки рассчитывается аналогично п.4.
7.Проключение разговорного тракта Абонент А - Абонент Б. Вносит задержку равную времени установления соединения SSP-Абонент Б (аналогично п.2) + время ожидания поднятия трубки Абонентом Б.
8. Информирование Абонента Б или Абонента А о начале тарификации и т.п. Аналогично п.З.
9. Разговор абонентов. Задержка полностью определяется характером услуги и субъективными характеристиками пользователей.
10. Завершение разговора. Передача информации о завершении разговора на SCP. Передается сигнальная информация о прекращении соединения от абонента А или абонента Б к SSP (см п.2). Передача информации о завершении процесса оказания услуги на SCP (задержка на передачу информации SSP-SCP).
11. Разъединение абонентов. Завершение услуги. Освобождение SSP. Отключение оставшегося абонента (время не учитывается, так как сигнал о разъединении соединения отсылается на станцию и больше от этого абонента ничего не зависит). Производится запись служебной информации (статистика, данные тарификации) SCP в БД. Завершение программы логики предоставления услуги [7].
6.2 Задержки вызова услуги в телефонной сети г.Кокшетау
Рассматриваемая телефонная сеть г.Кокшетау содержат лишь одну станцию, с функциональными возможностями SSP. Информация о вызове ИУ поступает от всех станций на SSP по заранее установленным маршрутам. На рисунке 6.1 показан фрагмент такой сети в виде дерева, в узлах которого расположены телефонные станции (ТС), а ветви соответствуют основным маршрутам прохождения сигнальных сообщений от ТС к SSP. Здесь не показаны обходные маршруты передачи сигнальных сообщений.
Считаем, что SSP расположен в станции, соответствующей корневому узлу Y>0>. Все остальные узлы Y>i> (i#0) являются концевыми, то есть каждый из них создает абонентскую нагрузку вызова ИУ.
Обозначим через
- среднее число заявок на ИУ,
поступающие в ЧНН от одного телефонного
абонентского номера в единицу времени,
N>i>
- число абонентских номеров для i-и
ТС [7].
В том случае, среднее число вызовов ИУ от каждой из станций в ЧНН:
>0
>* N>i>>
>(6.2)
Суммарная интенсивность поступления вызовов на SSP от всех ТС:
(6.3)
где М- общее число ТС, подключенных к SSP.

Рисунок 6.1 - Дерево маршрутов от телефонных станций к SSP
Обозначим через V>ij>- ветвь, соединяющую узлы Y>i> и Y>j> сети. Обозначим также участок сети, включающий в себя все ветви маршрута от узла Y>i> к корневому узлу - через B>i>. На рисунке 6.2, например, для узла Y>4> такой маршрут В>4> проходит через вершины 0, 1, 2, 3, 4 и включает ветви V>01>, V>13>, и V>34>.
Обозначим длину участка пути, соответствующего ветви V>ij> через L>ij>, а длину участка сети B>i>, включающего все ветви маршрута от узла Y>i> к корневому узлу - через L>i>:
(6.4)

Рисунок 6.2 - Маршрут от станции Y>4> к SSP
В рассматриваемом случае, например
(6.5)
(6.6)
(6.7)
Вероятность прохождения вызова ИУ по маршруту B>i> пропорциональна интенсивности заявок, поступающих от i-й ТС:
(6.8)
Средняя длина пути L>c> по которому сигнальная информация о вызове ИУ поступает от ТС на SSP, определяется соотношением:
(6.9)
Аналогично, определяется и среднее число ТС, через которые должна пройти сигнальная информация, следующая по маршруту B>i>:
(6.10)
где М>i> - число ТС, принадлежащих маршруту В>i>. Если принять скорость распространения сигнала на линейном участке сети V>c>, то средняя задержка времени распространения сигнала в линиях сети:
(6.11)
При поступлении запроса
от абонента на станцию, а также, при
прохождении этого запроса через все
транзитные ТС, в каждой из них возникают
временные задержки. Примем эти задержки
для всех ТС одинаковыми, и обозначим их
через
>ст>.
Средняя суммарная задержка сообщений при прохождении их через ТС сети:
(6.12)
Итак, с точки зрения временных задержек, разветвленная сеть условно может быть заменена эквивалентным неразветвленным звеном, характеризующимся средней задержкой времени распространения сигнала в линиях и средней суммарной задержкой сообщений в станциях сети [6].
6.3 Задержка на участке SSP-SCP
Взаимодействие SSP и SCP по оказанию ИУ начинается с момента поступления на станцию, содержащую SSP, последней цифры набора кода и номера услуги. SSP осуществляет анализ полученной информации, инициирует запрос услуги в виде сообщения IDP и передает его посредством протокола INAP в виде команды ТС-BEGIN по каналу ОКС №7 [19].
Сообщение, полученное SCP, анализируется, обрабатывается компьютерами, в результате чего SSP получает ответ из SCP, в котором содержится информация о том, как произвести услугу. В общем случае, подобный диалог может состоять из нескольких транзакций, т.е. из нескольких циклов запрос-ответ, обеспечивающих выполнение требуемой услуги. На рисунке 6.3 представлен диалог, содержащий две транзакции. Короткими стрелками показаны другие сообщения, циркулирующие в дуплексном канале ОКС №7 и не относящиеся к данной транзакции. Это могут быть либо сообщения других транзакций, либо служебные сигнальные единицы (СЕ), либо «пустые» СЕ, обеспечивающие синхронизацию работы канала ОКС №7 [7].
После получения сообщения BEGIN, инициирующего запрос на интеллектуальную услугу, SCP обрабатывает указанный запрос и, спустя некоторый промежуток времени, выдает в сторону SSP сообщение CONTINUE и другую информацию, необходимую для осуществления коммутации и обслуживания запрошенной услуги. После получения указанной информации, SSP сообщением END информирует SCP об окончании обмена, a SCP сообщением DEND подтверждает отсутствие ошибок и согласие на завершение обмена [9].

Рисунок 6.3 - Диалог между SSP и SCP через сеть ОКС-7
Временная задержка на участке SSP-SCP обусловлена задержками, связанными с передачей сообщений в обоих направлениях, а также существенно зависит от времени обработки запроса вычислительной системой SCP. Именно стремлением уменьшить среднее время задержки обработки сообщений, обусловлено выполнение вычислительной системы SCP в многопроцессорном виде [10].
Сообщения о вызываемой услуге, поступающие от телефонной сети на SSP, прежде, чем будут переданы в звено ОКС №7, анализируются вычислительными средствами SSP. Проанализированные сообщения могут образовывать очереди, ожидающие освобождения канала ОКС №7 в сторону SCP. После передачи сообщений по звену ОКС №7 от SSP к SCP, перед поступлением на обработку, они могут также образовывать очереди, ожидающие освобождения процессоров SCP. Наконец, результаты обработки запроса услуги, перед их передачей в обратном направлении - из SCP в SSP, могут также образовывать очереди, ожидающие освобождения звена ОКС №7 [16].
Поскольку все сообщения возникают в случайные моменты времени, процесс их обработки и передачи рассматривается как процесс массового обслуживания, а вычислительные системы SSP и SCP, а также канал ОКС №7 - как некоторые системы массового обслуживания (СМО).
Информация, поступающая в SSP в результате осуществления каждой транзакции, анализируется процессорной системой SSP в течение некоторого среднего промежутка времени t>ssp>. Так же, как и в случае SCP, указанный промежуток времени включает в себя не только время собственного анализа, но также и время ожидания в очередях SSP.
В отличие от SCP,
задержки в очередях SSP
практически мало зависят от интенсивности
запросов на интеллектуальные услуги,
поскольку эти задержки определяются
общим трафиком АТС, на которой реализованы
функции SSP.
6.4 Задержка сообщений в канале ОКС №7 при передаче от SSP к SCP
В звене ОКС №7 сообщения передаются с помощью пакетов, называемых сигнальными единицами - СЕ. Эти СЕ имеют различное назначение и переменную длину. Одно сообщение может передаваться с помощью нескольких СЕ [16].
Используется три типа СЕ:
1) значащие СЕ (ЗНСЕ) - их длина может быть до 273-х байтов;
2) сигнальные единицы состояния звена (СЗСЕ) используются для индикации состояния оконечных устройств и управления звеном сигнализации. Их длина может быть 7 или 8 байтов;
3) заполняющие СЕ (ЗПСЕ), которые имеют нулевую полезную длину, однако, наличие ЗПСЕ позволяет оперативно контролировать работоспособность звена сигнализации при отсутствии пользовательского сигнального трафика. Они передаются лишь в том случае, когда отсутствуют для передачи ЗНСЕ или СЗСЕ.
При передаче в ОКС №7 сигнальные единицы СЗСЕ имеют наивысший приоритет. Следующий приоритет принадлежит ЗНСЕ. При передаче СЕ используется дисциплина обслуживания с относительным приоритетом, ибо нельзя прервать начатую передачу СЕ [6].
Для достижения требуемой производительности и повышения надежности передачи сигнальных сообщений между SSP и SCP обычно используют одновременно несколько звеньев ОКС.
Допустим, что сеть предоставляет М>у> различных услуг.
Количество пользователей услуги y>i> составляет число N>yi>.
Количество запросов на
услуги y>i>
,поступающее от одного
пользователя в ЧНН, составляет
>i>
Таблица 6.1 - Исходные параметры
Параметры |
Услуги |
|||
|
1 |
2 |
3 |
||
Наименования |
Обозначения |
FPH |
CCC |
ACC |
Количество пользователей услуги, тыс |
N>yi> |
1,5 |
2,5 |
30 |
|
Количество звонков в ЧНН на одного пользователя |
∆>i> |
10 |
1,0 |
0,5 |
|
Число транзакций на одну услугу |
n>TPI> |
1 |
3 |
6,5 |
|
Процент услуг, требующих обработки статистики, % |
S>i> |
100 |
0 |
0 |
|
Среднее число обращений к памяти при записи |
n>ЗУ>>I> |
0 |
0 |
0,8 |
|
Среднее число обращений к памяти при чтении |
n>ЧУ>>I> |
1 |
1 |
2 |
|
Среднее время одного обращения к памяти, мс |
τ>ОБ> |
15 |
||
|
Число зеркальных дисков |
n>ЗД> |
3 |
||
|
Средняя длина одной транзакции, байт |
в>ТР> |
140 |
||
|
Средняя длина СЗСЕ, байт |
в>СЗ> |
8 |
||
|
Средняя длина ЗНСЕ, байт |
в>ЗН> |
53 |
||
|
Средняя длина ЗПСЕ, байт |
в>ЗП> |
6 |
||
|
Средняя интенсивность поступления СЗСЕ, 1/с |
λ>СЗ> |
2 |
||
|
Допустимый расчетный коэффициент загрузки канала ОКС-7 |
p>ОКС> |
0,2 |
||
|
Время обработки одной транзакции базовой процессорной системой, мс |
τ>ПБ> |
10 |
||
|
Коэффициент использования процессорного времени |
α>П> |
0,2 |
||
|
Коэффициент вариации длительности обработки транзакций процессорами |
v>ПД> |
1,0 |
||
|
Среднее время анализа ответа на каждую транзакцию в SSP, мс |
t>SSP> |
0.2 |
Интенсивности поступления запросов на услугу y>i> в ЧНН от всех N>yi> пользователей:
(6.13)
1/час;
1/час;
1/час.
Интенсивности поступления тех же запросов в одну секунду в течение ЧНН:
(6.14)
1/c
1/c
1/c
Суммарная интенсивность поступления запросов на все виды услуг, задействованных в сети:
(6.15)
1/c
Средняя интенсивность поступления запросов на ИУ, приходящаяся на каждое звено ОКС:
(6.16)
где n>к> - число дуплексных звеньев ОКС, соединяющих SSP с SCP.
Вероятности появления услуг y>i> [7]:
(6.17)



Среднее число транзакций на одну услугу:
(6.18)

транзакций/услугу.
где n>TPi> - число транзакций, обеспечивающих реализацию услуги y>i>.
Значения n>TPi> обычно задаются в исходных данных, исходя из имеющейся статистики [7].
Часть услуг требует для своего выполнения передачи некоторых статистических данных. Обозначим через S>i> процент каждой из услуг y>i> ,требующий передачи дополнительной статистической информации. Среднее число транзакций на одну услугу, с учетом необходимой передачи статистики:
(6.19)
транзакций/услугу.
Среднее число транзакций, осуществляемых в одну секунду, с учетом передачи статистических данных:
(6.20)
транзакций/услугу.
Указанная интенсивность осуществления транзакций служит основой для расчета требуемого числа звеньев системы ОКС №7 между SSP и SCP.
Допустим, что каждая транзакция включает в себя п>зн> ЗНСЕ, передаваемых в одном направлении по звену ОКС.
Из рисунка 6.3, например, следует, что для реализации вызова одной интеллектуальной услуги требуется передать 6 ЗНСЕ.
Учитывая, что в канале осуществляется дуплексная передача, в среднем, в каждом направлении необходимо передать 3 ЗНСЕ [19].
Средняя длительность группы ЗНСЕ, передаваемой в одном направлении в течение одной транзакции:
(6.21)

где
>зн>
- средняя длительность ЗНСЕ.
Обозначим через в>ТР> - среднюю длину пакета, передаваемого в течение одной транзакции в одном направлении канала ОКС №7, а через в>3Н> - среднюю длину ЗНСЕ, выраженные в байтах.
Количество n>3Н> значащих единиц, передаваемых в одном направлении в течение одной транзакции:
(6.22)

Значения в>ТР> и в>3Н> обычно задаются в пределах 140 и 53 байта соответственно, исходя из имеющихся статистических данных.
Следовательно, каждая транзакция осуществляет передачу в одном направлении, в среднем, 2,6 сигнальных единицы.
Среднюю длительность
одной ЗНСЕ обозначим через
>3Н>.
Помимо ЗНСЕ в канале
присутствует поток СЗСЕ с интенсивностью
>СЗ>,
практически не зависящей от
поступающих запросов на ИУ, и средним
временем передачи
>СЗ>
Указанные СЗСЕ используются для
управления сетью и имеют приоритет
выше, чем приоритет ЗНСЕ. Наконец, всё
оставшееся свободное время в канале
заполняется потоком ЗПСЕ, с интенсивностью
>ЗП>
и длительностью передачи
>
ЗП>
Длительности передачи СЕ зависят от их длины и скорости В>к> передачи информации в канале [7].
Если обозначить в>зн>, в>сз> и в>зп> соответствующие средние длины сигнальных единиц, выраженные в байтах, то:
(6.23)
(6.24)
(6.25)
Обычно скорость модуляции В>к> в канале ОКС №7 составляет 64 кбит/с. Если принять значения длин сигнальных единиц, соответственно: в>зн>=53 байтов, в>сз>=8 байтов, в>зп>=6 байтов, то получим следующие значения средних времен передачи СЕ [19]:
мс;
мс;
мс.
Если принять среднее число ЗНСЕ передаваемых в течение одной транзакции по каналу ОКС в одну сторону n>3П >=2,6, то среднее время передачи одной транзакции [7]:
, мс. (6.26)
мс.
Количество звеньев ОКС
№7 от SSP
к SCP
определяется исходя из требования
минимальной загрузки канала
,значение
которой выбирается в пределах
=0,2:
(6.27)

Значение n>к> округляется до ближайшего большего целого числа. Интенсивность поступления транзакций в расчете на одно звено ОКС №7:
(6.28)

является одной из основных характеристик работоспособности звена.
Предположим, что поступающие транзакции, а также СЗСЕ и ЗПСЕ образуют простейшие пуассоновские потоки [6].
На самом деле это не так. Однако принятие экспоненциального распределения обеспечивает некоторый дополнительный запас при расчетах.
Простейшая модель канала передачи данных между SSP и SCP и обратно, представляет одноканальную СМО, в которой обрабатываются три потока сообщений:
Z>1> - поток СЗСЕ, имеющих наивысший приоритет;
Z>2> - поток транзакций, реализующих запросы на ИУ;
Z>3> - поток ЗПСЕ, имеющих самый низший приоритет.
На рисунке 6.4 показана схема обслуживания указанных потоков заявок в одноканальной СМО.
Коэффициент загрузки канала сигнальными единицами СЗСЕ, образующими поток Z>1>:
(6.29)

Коэффициент загрузки канала сигнальными единицами ЗНСЕ, образующими поток Z>2> [7]:
(6.30)


Рисунок 6.4 - Обслуживание заявок в одноканальной СМО
Поскольку всё время канала, не занятое передачей транзакций и СЗСЕ, используется для передачи ЗПСЕ, суммарный коэффициент загрузки канала всегда равен 1, следовательно, коэффициент загрузки канала сигнальными единицами ЗПСЕ, образующими поток Z>3> [19]:
(6.31)

Заявки, поступившие в
канал и ожидающие передачи, заносятся
в соответствующие очереди О>1>,
О>2 >и О>3>.
В очередях заявки упорядочены
по времени их поступления. Когда в канале
заканчивается передача очередного
сообщения, то управление переходит к
программе «Диспетчер». Программа
выбирает для очередной передачи сообщение
с наивысшим приоритетом, если очереди
более старших приоритетов не содержат
сообщений (т.е. оказываются пустыми).
Выбранное для передачи сообщение
захватывает канал на все время его
передачи. Если в систему поступает N
простейших потоков сообщений
с интенсивностями
,
средние длительности передачи сообщений
каждого типа, соответственно, равны
,
и вторые начальные моменты
соответственно
,
то среднее время t>K>
ожидания в очереди сообщений,
имеющих приоритет К, определится
соотношением:
(6.32)
где
,
,
-
загрузки, создаваемые СЕ i-го
типа [7].
Используя понятие коэффициента вариации длины сообщений:
(6.33)
где
-
среднеквадратичное отклонение
времен передачи сообщений i-го
типа, получим соотношение:
(6.34)
В рассматриваемом конкретном случае анализа имеются всего N=3 типа передаваемых сообщений [6].
Для сообщений потока Z>1> (к=1):
(6.35)
Для сообщений потока Z>2> (к=2):
(6.36)
Для сообщений, образующих поток Z>3> (к=3):
>
>(6.37)
где
,
и
- коэффициенты вариации длин
сообщений для потоков СЗСЕ, транзакций
и ЗПСЕ соответственно [19].
При определении значений
коэффициентов вариации длин сообщений
необходимо учесть, что все сигнальные
единицы СЗСЕ и ЗПСЕ имеют практически
постоянную длину (
=0;
=0)
и, следовательно,
=0
и
=0.
Сообщения транзакций,
напротив, имеют информационные части
переменной длины. Если предположить,
что длины указанных сообщений распределены
по экспоненциальному закону, то
,
и коэффициент вариаций v>tp>
оказывается равным 1.
Учитывая все сказанное, определим значения времени ожидания в очередях для сообщений каждого типа [7].
Среднее время ожидания в очереди на передачу для СЗСЕ, имеющих наивысший приоритет:
(6.38)
Среднее время ожидания в очереди на передачу для сообщений транзакций, имеющих второй приоритет:
(6.39)

Среднее время ожидания в очереди на передачу для сообщений ЗПСЕ оказывается бесконечно большим. Очередь ЗПСЕ считается неограниченной, поскольку значение R>3>=l:
(6.40)
При определении характеристик ИС особый интерес представляют временные задержки в очередях передаваемых транзакций t>T>>РО> .Задержки в очередях сигнальных единиц СЗСЕ, имеющих наиболее высокий приоритет, оказываются меньшими, по сравнению с задержками транзакций, что способствует улучшению управляемости ИС [8].
Среднее время передачи и ожидания в очередях для одной транзакции:
(6.41)

В течение каждой транзакции указанное время повторяется дважды: при передаче информации от SSP к SCP и от SCP к SSP.
6.5 Задержка обработки запросов на интеллектуальную услугу в вычислительной системе SCP
Соединение на участке SSP - SCP посредством протоколов семейства IN АР является жизненно необходимой частью ИС. Отказ в работе SCP приводит к остановке всей системы в целом, и, как следствие, к отказу в обработке «интеллектуальных вызовов».
С целью предотвращения подобных аварийных ситуаций, обычно SCP выполняются в виде двух машинных кластеров. Компьютеры работают в режиме с разделением нагрузки.
Обозначим через t>SCP> - среднее время, затрачиваемое вычислительной системой SCP на обработку одной транзакции.
Указанное время зависит от производительности процессорной системы SCP. Следует отметить, что указанное время включает в себя не только время непосредственной обработки сообщений процессором SCP, но также и задержки в очередях SCP [6].
Для уменьшения влияния очередей на процесс обработки транзакций в SCP обычно используются высокопроизводительные многопроцессорные ВС.
Допустим, что некоторый однопроцессорный базовый вычислитель в состоянии отработать В>ПБ> транзакций в одну секунду.
Для повышения производительности вычислительной системы SCP обычно используют многопроцессорные ВС, имеющие производительность Вп транзакций в одну секунду и эквивалентные К>БС> базовым системам:
(6.42)
Обозначим через:
- время обработки
одной транзакции процессором базовой
системы,
-
время обработки одной
транзакции многопроцессорной системой:
(6.43)
>
>(6.44)
Тогда,
(6.45)
Допустим, что в рассматриваемой ИС задействовано множество М>у> различных ИУ.
Вероятность P>yi>
появления запроса на
интеллектуальную услугу y>i>
зависит от интенсивности
запросов
на указанную услугу:
(6.46)
В процессе выполнения услуги y>i> необходимо произвести n>з>>yi> обращений для записи на диски SCP, а также n>ч>>yi> обращений для чтения с дисков. Указанные значения для каждого типа услуг известны заранее из статистических данных и позволяют определить среднее число обращений п>з> - к записи и п>ч>- к чтению в течение одной транзакции, соответственно [7]:
(6.47)

(6.48)

С целью повышения производительности процесса чтения из дисковой памяти в ВС широко используются «зеркальные» диски (ЗД). Число одновременно работающих ЗД – п>зд> обычно выбирается равное 3. Информация, которая должна быть считана при каждом обращении, разбивается на п>зд> частей, записываемых на различные диски. При считывании, происходит обращение одновременно ко всем ЗД, в результате чего, время чтения уменьшается [19].
При этом среднее время
затрачиваемое
на запись и считывание одной транзакции:
(6.49)

Таким образом, при обработке
информации, соответствующей каждой
транзакции, процессорная система SCP
затрачивает промежуток времени
,
равный сумме промежутка
времени
,необходимого
для обращения к дискам памяти, и промежутка
времени
обработки одной транзакции многопроцессорной
ВС, как показано на рисунке 6.5 [7].
Коэффициент загрузки дисковой памяти в течение одной транзакции:
(6.50)

Коэффициент загрузки процессоров в течение одной транзакции:
(6.51)


Рисунок 6.5 - Загрузка вычислительной системы SCP в течение одной транзакции
Суммарный коэффициент загрузки процессорной системы:
(6.52)

определяет среднее время ожидания в очередях на обработку сообщений в SCP в течение каждой транзакции [7]:
(6.53)

где
-
коэффициент вариации
.
Для пуассоновского потока
.
Среднее время обработки одной транзакции в процессорной системе SCP:
(6.54)

Указанное время характеризует временные задержки, возникающие в процессорной системе SCP [19].
6.6 Выбор производительности процессорной системы SCP
Среднее время обработки одной транзакции в SCP существенно зависит от производительности В>п> многопроцессорной ВС, которая в свою очередь определяется числом К>БС> эквивалентных базовых систем, используемых в SCP [7].
Из рисунка 6.5 следует, что:
(6.55)
это максимально допустимое время обработки одной транзакции многопроцессорной системой SCP, при котором суммарный коэффициент загрузки R>ПД> становится равным 1, и система теряет устойчивость (время ожидания в очередях неограниченно возрастает).
Введем понятие
- коэффициент использования
процессорного времени:
(6.56)
Указанный коэффициент
характеризует долю времени, затрачиваемого
процессорами на обработку одной
транзакции, по отношению к максимально
допустимому времени. Для обеспечения
требуемого запаса устойчивости системы,
значения коэффициента
следует выбирать в пределах
= (0,2 - 0,3). Учитывая,
что [19]:
(6.57)

получим соотношение, определяющее требуемое число эквивалентных базовых систем, которое должно быть установлено в SCP:
(6.58)

Округлим К>БС> до целого числа
К>БС> = 3.
Чем меньше выбираемый
,
тем больше число эквивалентных
базовых процессорных систем требуется
установить в SCP
[7].
6.7 Задержки времени обслуживания запроса на интеллектуальную услугу на участке SSP - SCP
На рисунке 3.6 показана временная диаграмма, поясняющая последовательность временных задержек, возникающих при реализации одной транзакции на участке SSP-SCP.
Указанная последовательность образует временной промежуток одной транзакции – T>тр>:
(6.59)

Всего при реализации запроса на интеллектуальную услугу необходимо выполнить п>TRS> таких транзакций. Следовательно, полное время передачи и обработки запроса на ИУ на участке SSP-SCP, определится соотношением [6]:
(6.60)


Рисунок 6.6 - Задержки времени при реализации одной транзакции
При проектировании ИС необходимо производительность вычислительных средств и число звеньев ОКС выбирать исходя из того, чтобы значения Т>уп> удовлетворяли требованиям, предъявляемым к ИС [19].
6.8 Задержки запросов на интеллектуальные услуги в выходных регистрах SSP
Запросы на ИУ, поступающие в SSP из телефонной сети, не сразу направляются в звенья ОКС, соединяющие SSP с SCP, а некоторое время хранятся в выходных регистрах SSР, ожидая освобождения звеньев и образуя очереди запросов. Звенья ОКС, совместно с процессорными системами SCP и SSP, обслуживающими передачу, обработку и анализ запросов, представляют многоканальную СМО, с числом обслуживающих приборов, равным числу п>к> звеньев на участке SSP - SCP, как это показано на рисунке 6.7.
Среднее время, необходимое
для обслуживания запроса ИУ одним
прибором, равно определенному ранее
времени Т>уп>.
Коэффициент загрузки
многоканальной СМО -
определяется соотношением:
(6.61)


Рисунок 6.7 - Многоканальная система обслуживания запросов на ИУ
Он показывает среднее число приборов, непосредственно участвующих в обслуживании вызовов ИУ [19].
Коэффициент загрузки каждого из приборов, в среднем, определяется соотношением:
(6.62)

При реализации вызовов
на различные ИУ необходимо передавать
и обрабатывать различное число транзакций,
поэтому величина Т>УП>
носит случайный характер.
Если предположить, что значения этой
величины распределены по экспоненциальному
закону (
=
Т>уп>),
то коэффициент вариации
времени Туп окажется
равным единице (
=l).
Время ожидания начала запроса на ИУ в очереди определяется соотношением:
(6.63)

Полное время обслуживания запроса на ИУ, с учетом времени ожидания в очередях в регистрах SSP [7]:
(6.64)

Расчеты показывают, что,
несмотря на весьма малую загрузку
каналов ОКС между SSP
и SCP,
ввиду длительности процесса передачи
и обработки запросов на ИУ, в выходных
регистрах SSP
могут образовываться значительные
очереди запросов, приводящие к
существенному увеличению полного
времени обслуживания запросов со стороны
SSP
и SCP.
Даже незначительное увеличение
интенсивности
поступления запросов на ИУ, может
привести к возникновению весьма больших
очередей в выходных регистрах SSP
и потере управляемости всей системы в
целом. Единственным средством борьбы
с указанным явлением служит увеличение
числа звеньев ОКС - п>к>.
Однако при этом необходимо
иметь достаточно мощные вычислительные
системы в SCP,
с тем, чтобы увеличение интенсивности
поступающих сообщений не привело бы к
существенному увеличению времени
их
обработки SCP
[7].
7 Программный расчет
Значения рассчитываются на языке программирования Vbasic:
Option Base 1
Private sub> cmdEval_Click()
Dim Lam(3), Lamy(3)
Dim Ami(12), Amv(12), Api(12), Apycc(12)
Dim Ymi(12), Ymv(12), Ypi(12), Ypycc(12)
Dim Aij(12, 12) As Double
Dim i, j As Long
Dim Nsum As Long
Dim v, p As Long
Dim Nsys, Nov As Double
Dim Ain, Yin As Double
Dim Pi(12), Li(12), Mi(12)
'-------------------------- Исходные данные -----------------------------
Azsl = 0.007 'Erl/AL
Aslm = 0.0075 'Erl/AL
A_udel_vix_KP_ATS = 0.05
Aslm2 = 0.0015 '?Aycc?
Ni = Array(5000, 12790, 2790, 1300, 380, 770, 256, 2850, 1400, 6750, 6790, 512)
Ny = Array(1500, 2500, 30000)
Py = Array(0.46, 0.08, 0.46)
Delta = Array(10, 1#, 0.5)
S = Array(100, 0, 0)
nTP = Array(1, 3, 6.5)
n_rd = Array(1, 1, 2)
n_wr = Array(0, 0, 0.8)
tau_ob = 15
n_mirror_disks = 3
v_tr = 140
v_sz = 8
v_zn = 53
v_zp = 6
v_k = 64000
Lam_sz = 2
Poks = 0.2
Tau_pb = 0.01
Alpha_p = 0.2
v_pd = 1
t_SSP = 0.2
'--------------------------------------------------------------------------
'5 - Проверочный расчет числа МСЛ на ГТС
'5.1 - Определение интенсивностей нагрузок между АМТС и РАТС
'5.2 - Определение интенсивности средних нагрузок между существующимим и проектируемой РАТС
For i = 1 To 12
Ami(i) = Ni(i) * Azsl
Amv(i) = Ni(i) * Aslm
Api(i) = A_udel_vix_KP_ATS * Ni(i)
Apycc(i) = Aslm2 * Ni(i)
Prynt "Ami(" & i & ") = " & Ami(i) & " | "
Prynt "Amv(" & i & ") = " & Amv(i) & " | "
Prynt "Api(" & i & ") = " & Api(i) & " | "
Prynt "Apycc(" & i & ") = " & Apycc(i)
Nsum = Ni(i) + Nsum
Next
'Опредедение межстанционных нагрузок на ГТС
Prynt "Nc = " & Nsum
For i = 1 To 12
For j = 1 To 12
If i <> j Then
Aij(i, j) = Api(i) * (Ni(j) / Nsum)
Prynt Aij(i, j) & Chr(9)
Else
Prynt "- "
End If
Next
Prynt vbCrLf
Next
'5.3 - Расчет числа СЛ
For i = 1 To 12
Ymi(i) = 1.03 * Ami(i) + 0.29 * Sqr(Ami(i))
Ymv(i) = 1.03 * Amv(i) + 0.29 * Sqr(Amv(i))
Ypi(i) = 1.03 * Api(i) + 0.29 * Sqr(Api(i))
Ypycc(i) = 1.03 * Apycc(i) + 0.29 * Sqr(Apycc(i))
Prynt "Ymi(" & i & ") = " & Ymi(i) & " | "
Prynt "Ymv(" & i & ") = " & Ymv(i) & " | "
Prynt "Ypi(" & i & ") = " & Ypi(i) & " | "
Prynt "Ypycc(" & i & ") = " & Ypycc(i)
Next
'5.4 - Проверочные расчеты соответствия по транспортной сети
v = 455 + 437: p = 1920
Nsys = v / p
Nov = 2 * Nsys
Prynt "Nsys = " & Nsys & "; Nov = " & Nov
'5.5 - Распределение нагрузок при обслуживании вызовов к ИСС
For i = 1 To 12
Ain = Api(i) / 97.5
Yin = 1.03 * Ain + 0.29 * Sqr(Ain)
Prynt "Ain(" & i & ") = " & Ain & " Yin(" & i & ") = " & Yin
Next
'-----------------------------------------------------------
'6.1 - Анализ временных задержек в ИС
'T2 = (N+1) * Tccs7 + N * Troute
'6.2 - Задержки вызова услуги в телефонной сети
Lambda0 = 1
Dim Lambda(12) As Variant
LamSum = 0
For i = 1 To 12
Lambda(i) = Lambda0 * Ni(i)
LamSum = LamSum + Lambda(i)
Next
'L(i) = L(i) + Lij
L4 = L43 + L31 + L10
L3 = L31 + L10
L2 = L21 + L10
For i = 1 To 12
Pi(i) = Lambda(i) / LamSum
Lc = Lc + (Pi(i) * Li(i))
Mc = Mc + (Pi(i) * Mi(i))
Next
'Vc = ?
'TauL = Lc / Vc
'6.3 - Задержка на участке SSP - SCP
t_SSP = 0.2
'6.4 - Задержка сообщений в канале ОКС №7 при передаче от SSP к SCP
LamSum = 0
For i = 1 To 3
D = Ny(i) * Delta(i)
Prynt "Delta(" & i & ") = " & D
Lam(i) = D / 3600
Prynt "Lam(" & i & ") = " & Lam(i)
LamSum = LamSum + Lam(i)
Next
Prynt "LamSum = " & LamSum
For i = 1 To 3
Py(i) = Lam(i) / LamSum
n_TP_sum = n_TP_sum + (nTP(i) * Py(i))
Prynt "Py(" & i & ") = " & Py(i)
Next
Prynt "n_TP_sum = " & n_TP_sum
For i = 1 To 3
n_TP_avg = n_TP_avg + ((nTP(i) * Py(i) * S(i)) / 100)
Next
n_TP_avg = n_TP_avg + n_TP_sum
Prynt "n_TP_avg = " & n_TP_avg
Lam_TP = n_TP_avg * LamSum
Prynt "Lam_TP = " & Lam_TP
v_TP = 140
n_zn = v_TP / v_zn
Prynt "N_zn = " & n_zn
Tau_zn = (8 * v_zn) / v_k
Tau_sz = (8 * v_sz) / v_k
Tau_zp = (8 * v_zp) / v_k
Prynt "Tau_zn = " & Tau_zn
Prynt "Tau_sz = " & Tau_sz
Prynt "Tau_zp = " & Tau_zp
Tau_TP = Tau_zn * n_zn
Prynt "t_TP = " & Tau_TP
n_k = Round((Lam_TP * Tau_TP) / Poks) + 1
Prynt "n_k = " & n_k
Lam_TP_k = Lam_TP / n_k
Prynt "Lam_TP_k = " & Lam_TP_k
p1 = Lam_sz * Tau_sz
p2 = Lam_TP_k * Tau_TP
p3 = 1 - (p1 + p2)
Prynt "p1 = " & p1 & "; p2 = " & p2 & "; p3 = " & p3
'For i = 1 To 3
' sm = sm + (Lam(i) * Tau(i) ^ 2)
' Rk = Rk + p(i)
'Next
' Rk_1 = Rk - p(K)
' t_k = sm / (2 * (1 - Rk_1) * (1 - Rk))
'R1 = p1
t_szo = (p1 * Tau_sz + 2 * p2 * Tau_TP + p3 * Tau_zp) / (2 * (1 - R1))
t_tpo = (p1 * Tau_sz + 2 * p2 * Tau_TP + p3 * Tau_zp) / (2 * (1 - R1) * (1 - R2))
t_zpo = (p1 * Tau_sz + 2 * p2 * Tau_TP + p3 * Tau_zp) / (2 * (1 - R1) * (1 - R2) * (1 - R3))
Tau_TP = Tau_TP + t_tpo
Prynt "t_szo = " & t_szo
Prynt "t_tpo = " & t_tpo
Prynt "t_zpo = " & t_zpo
Prynt "t_tp = " & Tau_TP
'6.5 - Задержка обработки запросов на интеллектуальную услугу в ВС SCP
Tau_pb = 0.01
Kbs = 3
'Kbs = Vp / Vpb
'tau_pb = 1 / Vpb
'tau_p = 1 / Vp
tau_p = Tau_pb / Kbs
Prynt "tau_p = " & tau_p
For i = 1 To 3
n_write = n_write + (n_wr(i) * Py(i) / n_TP_sum)
n_read = n_read + (n_rd(i) * Py(i) / n_TP_sum)
Next
Prynt "n_read = " & n_read
Prynt "n_write = " & n_write
t_d = n_write * tau_ob + n_read * (tau_ob / n_mirror_disks)
t_d = t_d * 0.001
Prynt "t_d = " & t_d
p_D = Lam_TP * t_d
p_P = Lam_TP * tau_p
R_PD = p_P + p_D
Tau_PD = R_PD / Lam_TP
v_pd = 1
t_opd = (R_PD * Tau_PD * (1 + v_pd ^ 2)) / (2 * (1 - R_PD))
Prynt "p_D = " & p_D
Prynt "p_P = " & p_P
Prynt "R_PD = " & R_PD
Prynt "Tau_PD = " & Tau_PD
Prynt "t_opd = " & t_opd
t_SCP = t_opd + Tau_PD
Prynt "t_SCP = " & t_SCP
'6.6 - Выбор производительности процессорной системы SCP
t_ctr = 1: t_d = 0.129
t_pm = t_ctr - t_d
Kbs = Round(Lam_TP * Tau_pb / (Alpha_p * (t_ctr - t_d))) + 1
t_p = Tau_pb / Kbs
Prynt "t_pm = " & t_pm
Prynt "Kbs = " & Kbs
Prynt "t_p = " & t_p
'6.7 - Задержки времени обслуживания запроса на интеллектульную услугу на участке SSP - SCP
t_tp_gen = (2 * Tau_TP) + t_SCP + t_SSP
t_tp_gen = 0.05104
t_yp = t_tp_gen * n_TP_avg
Prynt "T_TP = " & t_tp_gen
Prynt "t_yp = " & t_yp
'6.8 - Задержки запросов на интеллектуальные услуги в выходных регистрах SSP
Betta = LamSum * t_yp
p_P = Betta / n_k
t_yo = (p_P * t_yp) / (1 - p_P)
t_y_gen = t_yo + t_yp
Prynt "Betta = " & Betta
Prynt "p_P = " & p_P
Prynt "t_yo = " & t_yo
Prynt "T_y = " & t_y_gen
End sub>
sub> Prynt(msg)
lstOut.AddItem msg
End sub>
8 Система защиты интеллектуальной сети. Угрозы и решения
8.1 Общий подход к построению системы защиты ИС
Спрос на защиту телекоммуникационных систем постоянно растет. Операторы сетей и провайдеры услуг больше не отказываются от применения систем защиты (СЗ) не только в связи с ростом компьютерного мошенничества, а также в связи требованиями государственных и международных законов, указывающих на необходимость применения соответствующих механизмов защиты.
Во многих существующих системах телекоммуникаций при подтверждении идентификации, для получения услуг, а также для управления ими используется только Персональный идентификационный номер (PIN) или пароль. Данная «слабая идентификация» - крайне ненадежна, поскольку велика вероятность подслушивания или замены PIN или пароля. Вместо этого целесообразнее использовать механизмы защиты, основанные на криптографических ключах и алгоритмах шифрования [6].
Однако идентификация пользователя не является единственным аспектом защиты сети. Детальные анализы угроз новым услугам ИС, таким как Универсальная персональная связь (Universal Personal Telecommunication, UPT) и Беспроводная подвижная связь (Cordless Terminal Mobility, CTM) свидетельствуют о том, что существует большое количество угроз, которые необходимо также принимать во внимание. Особенно в случаях, когда задействованы операторы и провайдеры услуг различных сетей, необходимо быть уверенным в том, что никто из них не нарушит доступ к объекту другой системы. Также необходимо предотвратить нелегальную регистрацию объекта, подслушивание или модификацию передаваемых данных. Все это подразумевает, в зависимости от оценки риска, такие меры защиты, как эквивалентная идентификация объекта, проверка сохранности данных, кодирование и другие.
В данной главе рассмотрены возможные угрозы интеллектуальным сетям и их услугам, и меры защиты, необходимые для предотвращения данных угроз. Также здесь рассматриваются решения по защите элементов ИС и передаче данных. Для UPT и СТМ описываются конкретные механизмы защиты услуг, особенно с точки зрения доступа пользователя. Рассмотрено решение безопасного доступа пользователя, основанное на загрузке карты (интеллектуальной карты) 1C (Intelligent Card) в прикладное программное обеспечение [17].
Основные группы международных организаций стандартизации, связанные с защитой ИС, и решаемые ими задачи, включают в себя:
1) ETSI STC NA6 (IN) / SEG (Группа экспертов по системам защиты):
построение системы защиты IN;
построение системы защиты UPT (в составе NA7); исследования по защите СТМ;
2) ETSI STC NA6 (IN)/UCG (Группа по разработке карты UPT):
интерфейс между картой 1C и устройством DTMF для карт UPT;
интерфейс между картой 1C и терминалом для карт UPT;
3) ITU-T: Q.29:
защита сети;
защита доступа.
Общий подход к построению системы защиты, как показано на рисунке 8.1 (с соответствующими модификациями), успешно использовался во многих исследовательских проектах и проектах по стандартизации (например, европейский проект Технология сохранности механизмов в IBCN в рамках программы RACE, стандарт ETSI для защиты UPT, а также исследования ITU-T по защите FPLMTS) [6].

Рисунок 8.1 - Подход к построению системы защиты
Структурная схема на рисунке 8.1 показывает логическую последовательность действий для спецификации построения системы защиты.
Необходимо особо подчеркнуть, что в качестве основы необходимо иметь общий вид построения системы, характеристик и процессов, относящихся к системе защиты. Кроме того, необходимо учитывать цели системы защиты всех задействованных групп.
На следующем этапе необходимо провести тщательный анализ всех угроз, включая оценку риска. Данный анализ угроз должен учитывать все представленные услуги ИС, задействованные группы и элементы системы, определенные в области системы защиты. Только на основе данного анализа угроз могут быть определены требования к системе защиты, а затем услуги, механизмы и алгоритмы.
Процедуру необходимо повторить во избежание неучтенных угроз.
После этого учитываются общие цели системы защиты и общие условия угрозы и защиты.
Для ИС в общем, обсуждаются решения, принятые на основе существующей технологии по безопасной коммуникации и защите компьютера. Затем, представляются конкретные решения для двух услуг ИС: UPT и СТМ. Данные примеры связаны в основном с защитой доступа пользователя. Отдельно рассматривается решение по защите доступа пользователя, основанное на использовании IC-карт и загрузке соответствующего программного обеспечения на терминалы [13].
8.2 Цели системы защиты
Цели, влияющие на защиту, вытекают из требований различных субъектов, а именно:
- подписчиков услуг и пользователей;
- провайдеров услуг и провайдеров сети;
- органов управления ИС.
К целям подписчиков услуг и пользователей услуг относятся аспекты, связанные с правильным функционированием и конфиденциальностью. Целью операторов сети и провайдеров услуг является получение хорошего годового дохода при работе в системе. У органов управления ИС существуют определенные требования, связанные с конфиденциальностью, хорошей защитой информации и инфраструктуры, ограничением использования криптографических методов и оправданностью действий [7].
Следующий перечень представляет примеры возможных целей вышеперечисленных субъектов, которые могут оказывать влияние на систему защиты (СЗ):
- доступность и правильное функционирование процессов сети, услуг и функций управления;
- правильная и поддающаяся проверке оплата без возможности мошенничества;
- доступность для входящих звонков;
- возможность и правильное функционирование исходящих звонков;
- сохранность и конфиденциальность всей хранимой или передаваемой информации;
- возможность анонимного использования услуги;
- безотказная работа всех процессов сети и всех действий управления;
- защита репутации (сохранность доверия всех клиентов и инвесторов);
- учитываемость (ведение журналов) всех действий;
- ПО, удовлетворяющее общим критериям сертификации.
Цели, перечисленные выше, могут быть уменьшены до одной или до комбинации следующих основных целей, касающихся услуг ИС или управления ИС:
- конфиденциальность данных;
- сохранность данных;
- учитываемость;
- доступность.
Для достижения поставленных целей необходимо предотвратить ряд угроз, рассмотренных ниже [6].
8.3 Потенциальные угрозы
Если система, ее элементы и линии связи недостаточно хорошо защищены, могут возникнуть следующие преднамеренные (нефизические угрозы).
Нелегальное проникновение в сеть (подлог) пользователя или системного элемента: объект может намеренно выступить в качестве другого объекта; это может послужить базой для возникновения других угроз, таких как несанкционированный доступ или подделка.
Несанкционированный доступ к элементам ИС: попытки объекта проникнуть в данные, что противоречит политике защиты [6].
Подслушивание на линиях связи: нарушение конфиденциальности, связанное с несанкционированным контролем сообщений.
Фальсификация информации: сохранность передаваемой информации подвергается опасности из-за несанкционированного удаления, вставки, модификации, переупорядочения, повторного проигрывания или задержки.
Отказ от подтверждения факта: объект, участвовавший в коммуникационном обмене, затем отказывается признать данный факт.
Подделывание: объект подделывает информацию и заявляет, что данная информация была получена от другого объекта или отправлена другому объекту [7].
Отказ от услуги: объект не в состоянии выполнить свою функцию или мешает другим объектам выполнить их функции.
Данные угрозы относятся к элементам ИС, а также к линиям связи. Потенциальное расположение данных угроз показано, в качестве примера, на рисунок 8.2, что касается управления ИС, и на рисунке 8.3, что касается использования услуг ИС.
На рисунке 8.2 SMP (узел администрирования услуг), например, может быть напрямую связан через LAN или ISDN с подписчиками, провайдерами услуг или Web-сервером. В связи с этим, возникает угроза нелегального проникновения подписчика, провайдера услуг или Web-сервера, которые могут

Рисунок 8.2 - Потенциальные угрозы системы управления ИС

Рисунок 8.3 - Потенциальные угрозы для услуг использования ИС
получить доступ к данным SMP несанкционированным способом. Передаваемая информация может быть подслушана или модифицирована [7].
Подписчик может связаться через Интернет с Web-сервером для контроля своих услуг ИС. Поэтому, возникает угроза нелегального проникновения подписчика или данные этого подписчика могут быть подслушаны или модифицированы в Интернет. Сеть управления (TMN) ИС включает управление конфигурациями, ошибками и рабочими характеристиками. Если во время передачи аварийный сигнал, являющийся частью данных управления ошибками, модифицируется, возникает возможность отказа от услуг ИС. Несанкционированный доступ к данным управления конфигурациями может привести к модификации конфигурации ИС для того, чтобы подключить враждебный SMP.
Во многих существующих системах ИС используется только PIN для определения подлинности подписчика услуг ИС. Данная «слабая идентификация» является крайне ненадежной, поскольку велика вероятность подслушивания или замены PIN [13].
Нелегальное проникновение SCP в SSP может иметь опасные последствия, такие, как фальшивые звонки, неправильные счета на оплату или отказ в предоставлении услуг ИС.
Перед внедрением механизмов защиты против потенциальной угрозы, данная угроза должна быть тщательно изучена. Всегда необходимо учитывать:
Какова вероятность угрозы (вероятность возникновения)?
Каков потенциальный ущерб (влияние)?
Какова стоимость предотвращения угрозы посредством СЗ?
Вероятность возникновения и влияние можно подразделять по трем категориям: категория 1 - низкая, категория 2 - средняя, категория 3 - высокая. Риск является следствием вероятности возникновения и влияния.
Только если риск представляется высоким, а потенциальный ущерб превышает стоимость адекватного решения СЗ против данной угрозы, данное решение будет приведено в действие [7].
Риск потенциальной угрозы сильно зависит от конкретной реализации ИС, а также от индивидуальной услуги ИС и от реализаций механизмов защиты (например, PIN или сложная идентификация, расположение идентификации, ключевое управление и т.д.).
На практике риск может возникнуть при частых попытках нарушения защиты сети и ее злоумышленного использования. Поэтому, можно определить следующие угрозы, представляющие собой наиболее опасные варианты риска: нелегальное проникновение другого пользователя (особенно с точки зрения оплаты услуг!), подслушивание секретной информации (например, PIN), модификация данных пользователя.
Выбор механизмов защиты может зависеть от индивидуальной услуги ИС, ввода в работу системы ИС, физического окружения, в котором находятся элементы системы, а также от взаимного доверия и отношений между задействованными организациями. Однако общее решение должно быть принято в кратчайшие сроки [6].
Группы стандартизации, а также производители рассматривают данный вопрос с целью улучшения защищенности систем ИС. Несмотря на то, что многие модификации уже внедрены, например, безопасный доступ к SCP и SMP, новые услуги и новые концепции построения всегда требуют нового рассмотрения и оценки угроз, и если необходимо, дополнительных модификаций [7].
8.4 Требования к системе защиты
На основе определенных целей, описанных угроз и вариантов риска, функциональные требования к системе защиты представлены для тех элементов и соединений, потенциальный риск которых оценивается как наиболее высокий. Данные требования показаны в таблице 8.1.
Таблица 8.1 – Требования к системе защиты
|
Для элементов ИС |
Для линий связи |
|
Подтверждение идентификации пользователя/подписчика (если возможно) |
Гарантия конфиденциальности данных |
|
Подтверждение идентификации коммуникационного партнера |
Гарантия сохранности данных |
|
Гарантия конфиденциальности данных |
|
|
Гарантия сохранности ПО и данных |
|
|
Не отказ от действий |
|
|
Определение попыток нарушения защиты |
В таблице 8.2 представлена зависимость между угрозами и функциональными требованиями к СЗ. Она составлена на основе результатов Группы защиты ETSI TMN.
Таблица 8.2 – Угрозы и требования к системе защиты
|
Требование к системе защиты |
Виды угроз |
||||||
|
Угрозы элементам ИС |
Угрозы во время передачи |
||||||
|
Нелегальное проникнове-ние |
Несанкциони-рованный доступ |
Отказ подтвержде-ния |
Мошенни-чество |
Отказ от выполнения услуг |
Подслушива- ние |
Фальсифи-кация |
|
|
Подтверждение идентификации |
+ |
+ |
+ |
+ |
+ |
||
|
Гарантия конфиденциаль- ности ХД |
+ |
+ |
|||||
|
Гарантия сохранности ХД и ПО |
+ |
+ |
|||||
|
Не отказ от действий |
+ |
+ |
+ |
||||
|
Определение попыток нарушения защиты |
+ |
++ |
+ |
+ |
+ |
+ |
+ |
|
Гарантия сохранности КД |
+ |
||||||
|
Гарантия конфиденциаль-ности КД |
+ |
Примечание: ХД – хранимые данные; КД – коммуникационные данные
.
8.5 Услуги и механизмы работы системы защиты
Каждое требование к СЗ должно быть выполнено посредством одной услуги защиты, из обозначенных в таблице 8.3.
Каждая услуга осуществляется за счет одного из механизмов СЗ. Например, механизмы экспертной идентификации объекта могут быть основаны на замене защищенного пароля, секретного ключа, общедоступного ключа или хэшированных технологий. Механизм индивидуальной идентификации применим к односторонней и взаимной идентификации. Односторонняя идентификация означает, что только одна из двух взаимодействующих сторон (вызывающая сторона) идентифицирована для другой стороны (принимающей стороны). При взаимной идентификации обе стороны идентифицируют друг друга [7].
Таблица 8.3 – Услуги защиты
|
Для элементов ИС |
Для линий связи |
|
Идентификация пользователя для провайдеров услуг и подписчиков |
Конфиденциальность |
|
Экспертная идентификация коммуникационного партнера |
Сохранность |
|
Контроль доступа к ПО и данным |
|
|
Безотказность |
|
|
Запись действий |
|
|
Регистрация аварийных сигналов СЗ |
|
|
Периодическая проверка СЗ |
Каждый механизм СЗ может использовать определенный алгоритм. Например, механизм идентификации, основанный на секретных ключах, может использовать один из следующих алгоритмов: DES, тройной DES или алгоритм FEAL и т.д.
Кроме того, могут быть полезными чисто организационные меры, например, управление качеством, контролируемый вход в помещение, ответственность сторон, оговоренная в контракте. Если риск продолжает представлять большую опасность, количество услуг должно быть уменьшено, а платежи ограничены определенными суммами [6].
8.6 Решения для системы защиты управления ИС
Решения СЗ, представленные на рисунке 8.4, основываются на следующих предположениях:
- SMP, SCP и OS (Operation System) вводятся в действие на стандартной платформе UNIX с элементами защиты UNIX.
На используемых линиях передачи (через LAN, ISDN, Интернет) не были реализованы услуги конфиденциальности и сохранности информации.
Для обеспечения безопасной связи между подписчиками / провайдерами услуг и SMP, можно использовать существующие криптоблоки.

Рисунок 8.4 - Решения системы защиты для управления ИС
Для идентификации пользователя допустимо заменить защищенные пароли или smart карты с проверкой местного PIN.
Эквивалентная идентификация объекта Web-сервера может быть осуществлена использованием повторяемых защищенных паролей, секретных ключей, общедоступных ключей или механизмами, основанными на хэш-технологиях.
Передачу информации в сетях общего пользования возможно защитить, используя защиту транспортного уровня (TLS) [13].
9 Охрана труда и техника безопасности
9.1 Режим работы оборудования и требования к обслуживающему персоналу в интеллектуальных сетях
При разработке требований к режиму работы оборудования и обслуживающему персоналу надо руководствоваться следующими принципами:
- режим работы оборудования должен быть круглосуточным, не допускающим перерыва в течение всего срока службы;
- среднемесячная норма рабочего времени при семичасовом рабочем дне принимается равной 173 ч;
- при проектировании оборудования технической эксплуатации не обходимо стремиться к круглосуточному необслуживаемому режиму;
- для обеспечения данного режима эксплуатации должны организовываться центры управления сетью;
- проектирование центров управления осуществляется при участии фирм-поставщиков оборудования;
- численность производственного штата по эксплуатации оборудования транспортных сетей, в т. ч. линейных сооружений, определяется в соответствии штатным расписаниям согласно нормативных документов.
Номенклатура, площади и размещение оборудования.
При проектировании размещения оборудования надо руководствоваться следующими принципами:
- здания размещения оборудования должны быть не ниже II степени огнестойкости. Оборудование шлюзов емкостью до 200 номеров возможно размещать в зданиях III степени огнестойкости;
- число эвакуационных выходов из здания и с каждого этажа следует принимать в соответствии с требованиями СНиП 2141-97;
- планировочные и конструктивные решения зданий связи, размеры дверных проемов, лестничных клеток и коридоров должны предусматривать возможность монтажа и демонтажа оборудования связи, электротехнического и санитарно-технического оборудования, как на период строительства, так и эксплуатации с учетом норм пожарной безопасности. Необходимость транспортных и монтажных проемов определяется технологией. Монтажные проемы в наружных стенах, как правило, совмещаются с оконными проемами. Монтажные проемы во внутренних стенах и перегородках, как правило, совмещаются со стандартным дверным заполнением [24];
- в многоэтажных зданиях связи высотой 1,5 м от планировочной отметки земли до отметки чистого пола верхнего этажа, требующих постоянного пребывания персонала, следует предусматривать грузопассажирские лифты, количество, размеры и грузоподъемность которых определяется грузопотоком, габаритами и массой мелкогабаритного транспортируемого оборудования. Разовый подъем крупногабаритного оборудования на этаже (при монтаже станции) может быть осуществлен посредством стационарного мачтового грузопассажирского подъемника или другого вида подъемного механизма, доставляемого к зданию на период монтажа оборудования;
- ограждающие конструкции зданий связи следует проектировать с учетом требований СНиП П-3-79;
- над помещениями, где устанавливается аппаратура связи или электроустановки, не допускается размещать помещения, связанные с потреблением воды (туалеты, умывальные, душевые, кондиционеры, столовые и буфеты);
- через помещения ввода кабелей не допускается прокладка силовых кабелей и транзитных инженерных коммутаций;
- технологические требования к помещению аккумуляторной, выпрямительной и дистилляторной принимаются в соответствии с Правилами устройств электроустановок (ПУЭ) и ВСН-332-93;
- междуэтажные перекрытия над помещениями ввода кабелей должны быть газонепроницаемыми, при этом следует учитывать технологические требования к указанным помещениям, регламентируемые «Временными рекомендациями по предотвращению попадания газа в помещения ввода кабелей предприятий связи» и «Руководством по герметизации вводов кабелей предприятий связи». Междуэтажное перекрытие над помещениями аккумуляторной, кислотной, электролитной и тамбуров к ним также должны быть газонепроницаемы;
- в помещениях справочного зала конструкция пола должна обеспечивать размещение подпольных коммуникаций (труб, каналов) [24];
- в технологических помещениях должны предусматриваться пылезащитные мероприятия. Чистые полы в производственных помещениях должны настилаться на несгораемое основание (цемент, песчаная стяжка и т.п.). Полы должны быть ровными, беспыльными, легко поддающимися очистке пылесосом и допускающими влажную уборку. Поверхность стен и потолков должна быть гладкая из материалов, не выделяющих пыль и допускающих систематическую очистку пыли. Заполнения оконных и дверных проемов должны быть герметизированы уплотняющими прокладками в притворах и фальцах;
- ограждающие конструкции производственных помещений должны обладать требуемой звукоизоляцией. Расчетные шумовые характеристики от технологически до технологического, электрического, санитарно-технического оборудования, а также внешних источников шумов (в городах, поселках) определяются в каждом конкретном случае при разработке проекта. Рабочие места обслуживающего персонала должны быть изолированы от автозала [24];
- допустимый уровень шума на рабочем месте в производственных помещениях должен соответствовать требованиям ГОСТ 12.1.003-83 и ведомственным нормам допустимого шума на предприятиях связи;
- при размещении оборудования в зданиях другого назначения ограждающие конструкции помещений следует принимать из условия снижения уровня шума в помещениях до допустимого уровня в соответствии со СНиП П-12-77 «Защита от шума»;
- в производственных помещениях количество выходов из них определяется в соответствии со СНиП 21-01-97 «Пожарная безопасность зданий и сооружений» п. 6.12, и СНиП 2.09.02-85 «Производственные здания», п. 2.26;
- естественная освещенность помещения для размещения оборудования принимается в соответствии с главой СНиП 23-05-95 «Естественное и искусственное освещения» и условиями максимальной изоляции технологического оборудования от наружной среды, защиты от инсоляции, проникновения пыли, продувания и т. п. В помещениях аккумуляторных батарей и выпрямительных должно быть исключено попадание солнечных лучей на выпрямители и аккумуляторы;
- чистое покрытие пола производственных помещений должно быть с антистатическим сопротивлением, обеспечивающим отекание и отвод электростатического электричества;
- производственные помещения должны отделяться от других помещений несгораемыми стенами или перегородками с пределом огнестойкости не менее 0,75 ч. Аналогичными стенами и перегородками должны быть отделены помещения от остальных помещений при размещении ее в административном или общественном здании [24];
- входы в помещения встроенных МСУ должны быть отдельными;
- в сейсмических районах здания предприятий связи должны быть запроектированы на расчетную сейсмическую нагрузку с учетом природных факторов, углубляющих сейсмическое воздействие (района строительства, неблагоприятных геологических условий, форму сооружения в плане и т.п.);
- отопление, вентиляцию и кондиционирование воздуха следует проектировать в соответствии с требованиями СНиП 2.04.05-91 по технологическому зданию;
- в зданиях следует, как правило, предусматривать центральное водяное отопление;
- для производственных помещений с теплоизбытками в холодный период следует предусматривать: устройства для отключения системы отопления; температуру на поверхности нагревательных приборов не более 95°С; нагревательные приборы с легко очищаемой поверхностью;
- в помещениях, где планируются пылезащитные мероприятия, следует предусматривать превышение притока над вытяжкой на 20%, но не более 1,5-кратного воздухообмена и не менее 100 м3/ч на каждую дверь помещения;
- в помещениях (кроме аккумуляторной) зданий с установкой оборудования суммарной емкостью 1000 номеров и менее, зданий отделений связи общим объемом 2500 м3 и менее должна предусматриваться естественная вентиляция в объеме кратного воздухообмена в час;
- для помещений с оборудованием следует предусматривать очистку приточного воздуха от пыли в соответствии с технологическими требованиями к чистоте воздуха. Для остальных помещений очистку приточного воздуха от пыли следует осуществлять в фильтрах III класса. Применение масляных фильтров не допускается;
- в помещениях ввода кабелей должна предусматриваться подача воздуха в нижнюю зону помещения. В холодный период воздух подается без подогрева. Удаление воздуха должно осуществляться из верхней зоны помещения. Установка заслонок и шиберов на воздуховодах не допускается. В помещениях ввода кабелей до пускается размещение датчиков определения загазованности, затопляемости и распределительных стативов с сигнализаторами аварийного расхода воздуха, выполняемыми во взрывозашищенном исполнении;
- расчет воздухообмена в аккумуляторной следует выполнять при обеспечении ПДК серной кислоты 1мг/м3 и водорода до 0,4% (0,1 от нижнего концентрированного предела распространения пламени) при заряде самой большой батареи и одновременном подзаряде всех остальных батарей. В тамбуре-шлюзе аккумуляторной категории «А» следует подпор воздуха согласно требованиям СНиП 2.04.05-91;
- категории помещений по взрывной, взрывопожарной и пожарной опасности должны определяться расчетом в каждом конкретном случае в соответствии с НПБ 105-95;
- категории технологических электроприемников предприятий проводной связи ГТС и СТС по обеспечению надежности их электроснабжения приведены в ВСН-332-93 таблице 3.1. Допускается применять более высокие категории электроснабжения;
- все помещения на первом этаже здания должны быть оборудованы автоматической охранной сигнализацией на разбитие стекол, входная дверь в здании - на открывание. На ГТС - с выводом на пульт охранной сигнализации, на СТС - без вывода с организацией наружной шумовой сигнализации;
- здания, подлежащие передаче под охрану органам внутренних дел, должны иметь систему укрепленности;
- группы санитарной характеристики производственных процессов для различных помещений должны соответствовать требованиям СНиП 2.09.04-87;
- перечень помещений, зданий ГТС и СТС, подлежащих оборудованию установками автоматического пожаротушения (АУПТ) и обнаружения пожара (АУОП), должен определяться в соответствии с НПБ 110-99;
- выбор средств пожаротушения определяется технологическими требованиями и технико-экономическими обоснованиями;
- для передачи пожарной сигнализации на центр приема пожарной сигнализации следует использовать возможности оборудования;
- для сообщения о возникновении пожара с целью организации своевременной эвакуации людей здание оборудуют системами звукового и светового оповещения о пожаре (СО). При проектировании СО следует руководствоваться НПБ 104-95;
- при проектировании систем пожарной сигнализации должно быть предусмотрено оборудование, обеспечивающее автоматическое отключение систем вентиляции и пуск системы дымоудаления при пожаре в защищаемых помещениях [24];
- сигналы о срабатывании автоматической охранной сигнализации выводятся на пульт охранной сигнализации, расположенной в помещении с круглосуточным нахождением персонала;
- уровни индустриальных радиопомех, создаваемых оборудованием связи, не должны превышать установленных в «Нормах» 8-95 и 9-93;
- оборудование проводной связи должно быть устойчиво к воздействию внешних электромагнитных помех согласно ГОСТ Р50 932 и рекомендациям К.20, К.21 МСЭ-Т;
- уровни внешних электромагнитных помех, воздействующих на оборудование станции в местах его установок, не должны превышать указанных в ГОСТ Р50 932, рекомендациях К.20, К.21 МСЭ-Т.
Внутристанционная проводка, заземление и защита.
Требования к внутристанционной проводке:
- марки применяемых станционных кабелей и проводов должны соответствовать требованиям действующих ГОСТ;
- межстоечные соединения цепей тональной частоты должны выполняться станционными низкочастотными кабелями в оболочке из пластиката пониженной горючести (типа ТСВнг);
- для аналоговых высокочастотных и цифровых цепей должны применяться высокочастотные экранированные кабели (типа КВСМ,КВМ ПЭВ, КВС ПЭВ и др.);
- для цепей с пакетной передачей должны применяться кабели свитой парой типа UTP Cat 5 4x2 или ВОК;
- сеть ремонтного освещения с напряжением не выше 42 В должна предусматриваться в производственных помещениях МСУ со стативным оборудованием для питания переносных светильников и электропаяльников;
- соединение низкочастотных цепей на промежуточных устройствах (кросс, промщиты, вводно-коммутационные устройства, стойки промежуточных переключений) должно производиться кроссовым проводом с медными жилами;
- составление схем кроссировок на промщитах должно производиться по действующим инструкциям;
- при поставке в комплексе импортного оборудования требования к внутристанционной проводке должны быть изложены в ТУ на конкретное оборудование;
- проектирование токораспределительной сети осуществляется в соответствии с ВСН 332-93.
Требования к заземлению:
- каркасы оборудования и металлические части кросса должны быть заземлены. Шины заземления прокладываются от щитка заземления до автозала, ЛАЦ и далее вдоль бокового прохода по конструкциям рядов;
- ребования по защите кабельных линий на станционной стороне.
При установке дополнительной защиты в кроссе следует руководствоваться требованиями нормативных документов:
- от опасных и мешающих напряжений и токов – ГОСТ 5238-81;
- от ударов молний – «Руководства по защите металлических кабелей от ударов молний», «Руководства по защите оптических кабелей от ударов молнии», «Правил технического обслуживания и ремонта линий кабельных, воздушных и смешанных местных сетей связи»;
- «Правил устройства электроустановок (ПУЭ)» – разд. ПЗ, 4 и 5,Главгосэнергонадзор, 1998 г.;
- ТУ на коммутационное оборудование конкретного типа.
В районах, классифицированных как «не подверженные влияниям» (низкая грозодеятельность, высокая удельная проводимость земли, прокладка АЛ и СЛ только в канализации и коллекторе, наличие подземных металлических конструкций, труб водопровода, бронированных кабелей и т, п.) дополнительная защита не требуется. Исключение составляют случаи, когда разработчик коммутационного оборудования требует установку электрической защиты в кроссе в соответствии с ТУ на коммутационное оборудование конкретного типа.
В регионах, классифицированных как «подверженные влияниям» (высокая грозодеятельность, низкая удельная проводимость земли, воздушные и/или смешанные физические АЛ и СЛ), требуется установка в кроссе дополнительной защиты по напряжению до уровней не более 1000 В (или до величины, указанной в ТУ на коммутационное оборудование конкретного типа).
Для повышения стойкости оборудования шлюзов, абонентские комплекты которых могут выходить из строя при аварийном попадании в цепь АЛ напряжения сети электропитания 230 В, по требованию заказчика в кроссе может устанавливаться дополнительная защита по току, в соответствии с ТУ на коммутационное оборудование конкретного типа, обеспечивающая отсутствие повреждения АК.
Обеспечение техники безопасности.
При проектировании интелектуальных сетей необходимо предусматривать:
- по станционным сооружениям:
- размещение оборудования в технических помещениях с обеспечением нормируемых проходов;
- наличие эвакуационных выходов из здания;
- заземление всех металлоконструкций здания, в котором размещается оборудование, а также заземление самого оборудования станции;
- естественное и искусственное освещение производственных, подсобных помещений, лестничных площадок, а также аварийное освещение;
- допустимый уровень шума в производственных помещениях. В помещениях, где уровень шума превышает допустимые пределы, необходимо предусмотреть звукопоглощающие покрытия стен и потолков;
- меры защиты помещений от пыли, позволяющие поддерживать запыленность воздуха в норме;
- установку необходимых вентиляционных и отопительных устройств;
- применение комплекса защитных средств: диэлектрических ковриков, перчаток, предупреждающих плакатов и др. для защиты обслуживающего персонала от поражения электрическим током [24];
- применение стремянок и т. п. для обслуживания оборудования на высоте;
- применение для проведения ремонтных и профилактических работ пониженного напряжения 42 В для переносных ламп и ручного инструмента;
- непревышение предельно допустимых уровней напряженности электромагнитных полей оборудования станции, установленных в СанПиН 2.2.4/2.1.8.055-96;
- заполнение свободного пространства, оставшегося после прокладки кабелей и проводов в проемах или трубах между помещениями, в том числе между этажами, легко удаляемыми негорючими материалами (минеральной ватой и др.) для предотвращения распространения пожара из помещения в помещение (проектная документация на строительство станционных сооружений связи).
- по линейным сооружениям – в соответствии с РД45.120-2000, п. 20.1.
9.2 Анализ условий труда
Интеллектуальная платформа будет установлена в здании действующей телефонной станции АТС-23 в г. Кокшетау Акмолинской области. Город Кокшетау находится в не сейсмоопасной зоне.
Помещение, где будет располагаться станция находится на втором этаже здания и удовлетворяет требованиям организации производственного процесса.
Его достоинством являются уже готовая подводка кабеля и электропитания к оборудованию. Электрические показатели: напряжение питания от сети переменной сети 220 В, 50 Гц и 48 В постоянного тока. Условия окружающей среды (температура окружающей среды влажность) от минус 10 0С до плюс 45 0С, от 20% до 90% [24].
Объем и площадь производственного помещения, которые должны приходиться на каждого работающего по существующим санитарным нормам ГОСТ 12.1.005 - 88,- не менее 15 м3 и 4,5 м2 , в данном помещений саблюдается. План помещений представлен на рисунке 9.1.
Охарактеризуем выбранное нами оборудование является составной частью S-12 и по степени относятся к опасным по поражению электрическим током. S-12 имеет напряжения питания 48 В постоянного тока, а ЭПУ данной системы могут питаться от 220В или 320 В f=50 Гц.
Рабочие места ИТР пространственно разделена на 3 блока: монитор, клавиатура и системный блок. В системном блоке используются значения напряжения 12 В и 5 В, но в первичной сети оборудования - от сети общего пользования до первичной обмотки трансформатора напряжение составляет 220 В.
Здание представляет собой двухэтажный дом, размеры которого следующие: длина 25,0 м ширина 14,0 м (рисунок 9.1)
9.3 Вопросы по электробезопасности
Нормы и правила проектирования заземляющих устройств.
Заземляющие устройства в установках связи различают рабочие, рабоче-защитные, защитные, линейно-защитные и измерительные.
Рабочее заземляющее устройство предназначено для соединения с землей аппаратуры проводной связи и радиотехнических устройств для использования земли в качестве одного из проводов электрической цепи.
Защитным заземляющим устройством называют устройство, предназначенное для соединения с землей оборудования, которое нормально не находится под напряжением, но может оказаться под напряжением при повреждении изоляции токоведущих проводов. Защитные заземляющие устройства выравнивают потенциал металлических частей оборудования с потенциалом 'земли и тем самым обеспечивают защиту обслуживающего персонала и аппаратуры от возникновения на них опасной разности потенциалов по отношению к земле. К защитному заземлению подсоединяют один из полюсов батареи связи для защиты от переходных токов в случае нарушения изоляции проводки абонентских пар.
Рабоче-защитное устройство служит одновременно как рабочим, так и защитным заземляющим устройством.
Линейно-защитное заземляющее устройство обеспечивает заземление металлических оболочек кабеля и бронепокровов по трассе кабеля и на станциях, куда подходят кабельные линии, а также на воздушных линиях для заземления молниеотводов, тросов, металлических оболочек, брони кабеля и т. д. В ряде случаев допускается объединять защитное и линейно-защитное устройства. Такое заземляющее устройство называют объединенным защитным [23].
Измерительное заземляющее устройство предназначено для контрольных измерений сопротивлений рабочего, защитного и рабоче-защитного заземляющих устройств.
Нормы и правила проектирования заземляющих устройств.
В узле связи, АТС к рабоче-защитному или защитному заземляющему устройству при помощи заземляющих проводов кратчайшим путем должны быть (подключены: один из полюсов электропитающей установки связи (« + » или «—»); сигнальные цепи реле соединительных линий аналоговых АТС и МТС; цепи телеграфной аппаратуры, если земля используется в качестве одного из проводов электрической цепи; полюсы блоков дистанционного питания (ДП) стоек СДП-К-60п при питании НУП-ов по схеме «провод — земля»; контакты блокирующих устройств; металлические части стативного и коммутаторного оборудования и стоек ЛАЗов; экраны аппаратуры и кабелей; металлические оболочки кабелей; элементы схем защиты; молниеотводы; металлические части силового оборудования (щиты и панели для ввода и распределения переменного тока, щиты и шкафы питающей установки, щит автоматики и корпус дизель-генератора резервной электростанции) [24].
К защитному заземляющему устройству должны быть подключены: каркасы релейных стативов, секции табло пульта-манипулятора, пульта диспетчера; стенд для проверки блоков; металлические оболочки кабелей связи, элементы схем защиты, молниеотводы; кабель-росты, кабельные шкафы, конструкции для прокладки кабелей в подполье; каркасы аппаратуры станционной связи; заземляющая проводка станционной и подвижной радиосвязи; полюсы источников постоянного тока для устройств связи; металлические части силового оборудования (щит выключения питания, кожуха силовых трансформаторов ТС, каркасы панелей питающей установки, щит автоматики и корпус дизель-генератора резервной электростанции).
Кроме того, к защитному и рабоче-защитному заземлению в узлах связи должны быть присоединены металлические трубопроводы водопровода и центрального отопления, арматура зданий и другие металлические конструкции внутри здания, за исключением трубопроводов горючих и взрывоопасных смесей, канализации, центрального отопления и бытового водопровода расположенных вне здания узла связи; провод нейтрали обмоток трансформаторов силовой трансформаторной подстанции и собственной резервной электростанции, питающей оборудование узла связи. При этом заземляющее устройство для трансформаторной подстанции может быть общим если трансформаторная подстанция расположена на территории узла связи. При совмещении в одном здании ОУП и АТС к рабоче-защитному или защитному заземляющему устройству подключают все устройства и цепи указанные выше.
Сопротивление заземляющих устройств узла связи должно соответствовать нормам для всех подключаемых устройств, в том числе для трансформаторной подстанции и резервной электростанции, питающих оборудование узла связи. Нормы сопротивления заземляющих устройств для ОП, ОУПов, НУПов приведены в таблице III.1 [24].
Нормируются и сопротивления заземляющих устройств для телефонных станций местной и междугородной связи, телеграфных станций.
Сооружение заземляющих устройств. Ввод и проводка заземления Конструкция заземляющих устройств.
Заземляющие устройства состоят из вертикальных заземлителей и соединяющих их горизонтальных полос (горизонтальных заземлителей). Вертикальные заземлители изготовляют из уголковой стали или из прутка диаметром от 12 до 20 мм. Вертикальные заземлители соединяют между собой при помощи сварки стальной полосой. При расположении заземлителей многорядными контурами последние соединяют между собой перемычками из такой же полосы [23].
Заземлители из прутка диаметром 12 мм и длиной до 10 м целесообразно погружать в землю перазрезными посредством ввертывания. Для ввертывания используют переносные вращательные станки, электрические сверлилки, электродрели с редукторной приставкой. Можно также применять двигатель от пилы «Дружба» и т. д. Для облегчения ввертывания конец прутка специальным образом видоизменяется. Заземлители из прутка диаметром 20 мм, длиной 10 и 15м делают из секций по 1,5—2,5 м. Для забивки используют вибромолот типа ВМ-2. Секции соединяют сваркой с помощью отрезка уголка. На верхний конец секции надевают съемный боек, предохраняющий при забивании торец секции от расплющивания.
Для уменьшения сопротивления заземляющих устройств при большом удельном сопротивлении грунта р производят обработку грунта поваренной солью, заполняют котлован грунтом-заполнителем или делают выносные заземления.
При обработке грунта поваренной солью в месте забивки электрода вырывают котлован глубиной 2,7 м, диаметром 0,8—1,0м или сечением 1x1 м2. В котлован укладывают поочередно толстые слои грунта и более тонкие поваренной соли. Слои смачивают водой и утрамбовывают. Расход соли принят 50 кг на электрод. В качестве грунта-заполнителя могут быть применены глина, торф, чернозем, суглинок, шлак и т, д. Обрабатывают солью только пространство, окружающее вертикальный электрод, но не траншеи для соединительной полосы. Так как соль со временем вымывается, то срок действия обработки грунта ограничен и через 2-4 года ее приходится повторять [23].
Котлованы с грунтом-заполнителем делают диаметром 2 м и глубиной, равной длине вертикального заземлителя. В качестве грунта-заполнителя может быть применен любой грунт, имеющий удельное сопротивление в 5-10 раз меньше удельного сопротивления основного грунта. Например, если заземление устраивают в песчаном или каменистом грунте, то заполнителями могут быть глина, торф, чернозем, суглинок, кокс, шлак и т. п.
В скальных и других грунтах, где рытье отдельных котлованов невозможно, следует при помощи взрывных работ сделать один общий котлован для всего контура заземления. Размеры котлована зависят от количества заземлителей.
При устройстве заземлений в тяжелых грунтах с грунтом-заполнителем Ррасч определяется по формуле:
Ррасч =р/К (9.1)
где К - коэффициент вертикальных заземлителей.
Значение коэффициента к для вертикальных заземлителей из угловой стали 50х50x5 длиной 2,5 м при размещении их в котлованах диаметром 2 и 4 м приведено в таблице III.3 [24].
Выносные заземления устраивают в местах с грунтом, имеющим значительно меньшее удельное сопротивление, чем в месте нахождения объекта, например в водоемах (прудах, озерах, реках), не промерзающих до дна.
Сопротивление соединительной линии (кабельной или воздушной) для выносных заземлений не должно превышать 10 % номинального сопротивления заземления. Для подземной соединительной линии рекомендуется одножильный кабель марки АВВБ. Сопротивление алюминиевой жилы такого кабеля 30 Ом-мм2/км.
Для воздушной подвески рекомендуется стале-алюминиевый провод марки АС, сопротивление которого 32 Ом-мм2/км.
При выборе конструкций заземляющих устройств рекомендуется применять устройство заземлений, из прутковых вертикальных заземлителей диаметром 12 мм, длиной 5м. В стесненных территориальных условиях, а также в местах с удельным сопротивлением грунтов р выше 300 Ом-м, кроме скальных грунтов и районов вечной мерзлоты, выполняют устройство заземлений из прутковых вертикальных заземлителей длиной 10 или 15 м. Длину прутковых заземлителей определяют в зависимости от нахождения грунтовых вод. Длина заземлителя должна быть выбрана таким образом, чтобы нижний конец его находился ниже на 0,5 м нижнего уровня грунтовых вод. В этом случае удельное сопротивление грунтов, определенное по таблицам в зависимости от геологических данных, уменьшают в 2,5 раза [24].
В скальных грунтах рекомендуется применять уголковые вертикальные заземлители длиной 2,5 м, помещаемые в котлованы с грунтом-заполнителем или выносные заземления.
Заземляющие устройства различного назначения на площадке технического здания размещают исходя из условий их удобного расположения на местности и исключения взаимного влияния между ними.
Рекомендуется основное заземляющее устройство располагать по периметру здания и выполнять его одновременно со строительными работами по установке фундаментов до засыпки котлованов. При расположении заземляющих устройств на прилегающих к служебным объектам площадках вертикальные заземлители могут быть расположены в ряд, по контуру или в виде многорядных контуров. Расположение заземлителей в ряд является преимущественным, так как при таком расположении коэффициент использования заземлителей лучше, чем при расположении их по контуру. Расстояние между отдельными неизолированными частями разных заземляющих устройств на участке до ввода в здание не должно быть менее 20 м [24].
Внутренняя проводка заземления.
Для заземления стативов, стоек и других металлоконструкций АТС, УАК, МЦК (АМТС) , станции ПД необходима прокладка от щитка трех земель или от общей шины в выпрямительной неизолированной стальной нетоковедущей шины из полосовой стали сечением 4x25 мм. Вдоль рядов аппаратуры прокладывают рядовые шины из стальной ленты сечением 4х16 мм, а отводы к аппаратуре выполняют кабелем АПВ 4.
Последовательное включение в заземляющую цепь каркасов или иных металлоконструкций не допускается. Все соединения стальных шин между собой выполняют при помощи сварки. В технологических помещениях шинная проводка проходит по кабель-ростам.
Для заземления каркасов, аппаратуры, питаемой от сети переменного тока, используют третью жилу питающей проводки, которую подключают к нулевой фазе в выпрямительной на щите ввода переменного тока.
Заземляющие шины прокладывают открыто: в сухих помещениях - непосредственно по стенам, в котельной - на расстоянии от стен не менее 10 мм, в аппаратной - в каналах под съемными щитами, в коридорах - по стенам ниже подшивного потолка. В релейной заземляющую шину прокладывают по стене на высоте 2,7-3,0 м от пола. У каждого ряда по шине по количеству стативов в ряду приваривают болты МВх40 с шагом 60 мм.
Открыто проложенные заземляющие проводники должны быть окрашены в черный цвет. Допускается окраска открытых заземляющих проводников в иные цвета в соответствии с оформлением помещения, но при этом они должны иметь в местах присоединений и ответвлений не менее чем две полосы черного цвета на расстоянии 150 мм друг от друга.
Для заземления каркасов однофазных электроприемников используют третью жилу питающей проводки. Заземление светильников 220 В выполняют присоединением арматуры к нулевому проводу групповой сети непосредственно в светильнике, а в помещениях аккумуляторной, кислотной и шлюзе заземление светильников выполняют отдельной жилой (третьей) в питающем кабеле [23].
9.4 Проверочный расчет защитного заземления
При расчете сопротивления заземляющих устройств из прутковых, трубчатых и уголковых стальных заземлителей число электродов заземлений зависит от заданных нормативных R>н> значений сопротивления заземлений и удельного сопротивления грунта р.
Удельное сопротивление грунта определяют измерением в месте устройства заземления с учетом повышающих коэффициентов на высыхание и промерзание грунта.
При расчете заземляющих устройств необходимо учитывать значения удельного сопротивления различных грунтов при положительной температуре и влажности 10—20 % [23].
В расчетах при определении удельного сопротивления грунта следует вводить поправочный коэффициент 1,75, принимаемый, одинаковым для всей территории СНГ, в том числе в нашей Республике. Этот коэффициент учитывается при расчете сопротивления вертикальных уголковых заземлителей k>1> длиной 2,5 м и горизонтальной соединительной полосы k>2> [23].
Сопротивление вертикального заземлителя определяется:
(9.2)
где k>1> – поправочный коэффициент; р – удельное сопротивление грунта, Ом*м; l – длина заземлителя, м; d – внешний диаметр трубы или прутка, м (для заземлителя, выполненного из уголка, d = 0,95b, где b ширина стороны уголка, м); h – расстояние от поверхности земли до верхнего конца вертикального заземлителя, м.
Сопротивление группы
вертикальных заземлителей, расположенных
в ряд
или по контуру:
>
>(9.3)
где
- коэффициенты использования вертикальных
заземлителей, расположенных соответственно
в ряд или по контуру; n
– количество вертикальных заземлителей.
Сoпpoтивление горизонтального заземлителя в виде вытянутой металлической полосы:
>
>(9.4)
где р – удельное сопротивление грунта, Ом*м; l>1> – длина заземлителя, м; k>2 >– поправочный коэффициент; b – ширина полосы, м; h – глубина прокладки полосы, м.
Сопротивление горизонтальных
заземлителей в ряду из вертикальных
и в контуре из вертикальных
,где
,
- коэффициенты использования горизонтальных
заземлителей соответственно в ряду и
в контуре из вертикальных [24].
Полное сопротивление R>об> вертикальных заземлителей, соединенных с помощью горизонтальных:
(9.5)
Количество вертикальных заземлителей, необходимое для оборудования заземляющего устройства с требуемым сопротивлением, приведено в таблице III.7.[25]
В рассматриваемом помещений АТС-23 г. Кокшетау применяется контурный тип заземления (заземлители располагаются по контуру вокруг здания.) Здание имеет следующие размеры: длинна – 25,0 м, ширина – 14 м.
При вводе к эксплуатаций нового оборудования телекоммуникаций необходимо измерение R>з> заземления на соответствие с нормированным значением. С измерением R>з> занимается специальный уполномоченный орган. Организация телекоммуникаций при вводе новых оборудовании должны дать соответствующую заявку на уполномоченный орган. Этот орган дает технический паспорт о соответствии R>з>. При не соответствии R>з> выполняется специальные работы (измерения удельного сопротивления грунта, искусственное увеличение удельного сопротивления грунта, замена несоответствующих электродов, расчеты и т. д.) В данном дипломном проекте проводим проверочные расчеты соответствия R>з>.
Контур в нашем случае состоит из вертикально расположеных электродов – стальных труб, длиной l>в >= 3 м, диаметром d = 50 мм, соединенных горизонтальной полосой длиной равной периметру контура (с учетом 0,5 м с разных сторон):
L>2> = P>к >= (А+В)·2+2 (9.6)
L>2> = P>к >= (25,0+14,0)·2+2 = 80 м
В качестве горизонтального электрода применены стальная полоса с сечением 404 мм. Глубина заложения электродов в землю t>0 >= 0,5м. Удельное сопротивление грунта P = 80 Ом·м. В качестве естественного заземлителя применяются железобетонная арматура сопротивлением R>C >= 20 Ом.
Ток замыкания на землю I>З> = 70 А.
Расчет производим по методу коэффициента использования.
Требуемое сопротивление растеканию заземлителя ПУЭ, [25]:
R>З> = 125 / I>З>,> >(9.7)
R>З> = 125 /70 = 1,78 Ом
Требуемое сопротивление неестественного заземлителя:
R>ТР> = (R>Е> * R>З> )/(R>Е> – R>З>), (9.8)
R>ТР> = (20 * 1,78 )/(20 – 1,78) = 1,95 Ом
Число вертикальных электродов:
n>в> = Р>к> / а (9.9)
где а – расстояние между вертикальными заземлителями, применяется по
условию а/ l>в> = 1;2;3, в нашем случае а=3 м.
Подставляя значения в формулу (9.9), получаем:
n>в> = 80/ 3 = 28 шт
Определяем расчетное удельное сопротивление грунта для вертикальных и горизонтальных электродов:
P>расч.в> = k>C>·P (9.10)
где k>C> – коэффициент сезонности, учитывающий промерзание и высыхание грунта и зависящий от климатической зоны для Казахстана – k>C>=1,4; k>C>' = 2,5 [25].
Подставляя значения в формулу (9.10) получим:
P>расч.в.> = 1,4·80 = 112 Ом·м
P>расч.г.> = 2,5·80 = 200 Ом·м
Расчетное сопротивление растеканию электродов – вертикального R>в>:
(9.11)

горизонтального электрода R>г>:
(9.12)

Определим по таблице 3.2 и 3.3 коэффициенты использования вертикального и горизонтального электродов: ŋ>в>=0,8; ŋ>г> =0,75 [25].
Найдем сопротивление растеканию принятого группового заземлителя:
R>гр> =(R>в> *R>г>)/( R>в>*ŋ>г>+ R>г>*n>в>*ŋ>в>), (9.13)
R>гр> =(17,4* 6,9)/(17,4*0,75 + 6,9*19*0,8) =1,01 Ом
Расхождение между требуемым и расчетным сопротивлением заземлителя равно:
ΔR = R>тр>- R>гр> = 1,95-1,01 = 0,94 Ом (9.14)
На рисунке 9.2 изображена схема расположения заземлителей. Расстояние между заземлителями а = 3 м, количество заземлителей n>в> = 28 шт. В качестве заземляющих проводников принимаем полосовую сталь сечением 48 мм2. Полученные расчетные значения соответствуют с существующими. Поэтому не требуется дополнительные мероприятия по обеспечению электробезопасности.
9.5 Производственное освещение
Нормирование освещения.
Основной целью нормирования освещения является обеспечение единого подхода в осуществлении оптимальных условий работы зрения и достижение необходимой видимости объектов различения. С целью получения требуемого уровня видимости установлены нормативы освещенности для зрительных работ разной точности. Чем меньше размер объекта, его контраст с фоном и коэффициент отражения освещаемой поверхности, тем больше должна быть освещенность.
Основным нормативным документом, регламентирующим требования к освещению, являются строительные нормы и правила по проектированию естественного и искусственного освещения (СНиП П-4-79). В этом документе объединены все требования к естественному, искусственному и совмещенному освещению.
По назначению освещение можно разделить на четыре основные группы: освещение производственных и вспомогательных помещений промышленных предприятий; освещение промышленных площадок предприятий и мест производства работ, расположенных вне зданий; освещение общественных и жилых зданий; освещение улиц, дорог и площадей населенных пунктов [24].
Основное требование к освещению производственных помещений заключается в создании условий освещения на рабочем месте, обеспечивающих необходимый уровень видимости объекта различия при выполнении различных технологических операций. Для освещения объектов второй группы предъявляются аналогичные характерные требования, но уровни количественных и качественных показателей более низкие. Освещение объектов третьей группы должно удовлетворять художественно-эстетическим требованиям. Требования к освещению объектов четвертой группы определяются особенностями зрительной работы водителей транспорта, которые должны различать объекты сравнительно больших угловых размеров в ограниченное время [25].
Согласно СНиП П-4-79 все помещения по условиям зрительной работы разделены на четыре группы. Основные помещения телекоммуникаций относятся к 1-группе.
Нормативы, установленные СНиП Н-4-79, предусматривают преимущественное использование газоразрядных ламп.
При невозможности или технико-экономической нецелесообразности использования газоразрядных ламп допускается применение ламп накаливания. Нормируемая освещенность, в этом случае, снижается по шкале освещенности, имеющей следующие ступени в лк: 0,2; 0,3; 0,5; 1; 2; 3; 5; 7; 10; 20; 30; 50; 75; 100; 150; 200; 300; 400; 500; 600; 750; 1000; 1250; 1500; 2000; 2500; 3000; 3500; 4000; 4500; 5000.
В зависимости от условий, осложняющих или, наоборот, облегчающих зрительную работу, характеризуемых повышенной вероятностью травматизма или улучшенными санитарно-гигиеническими условиями, нормативы освещенности могут быть, соответственно, повышены или понижены на одну ступень. Например, освещенность повышается на одну ступень, когда напряженная зрительная работа, характерная для I-IV разрядов, выполняется в течение всего рабочего дня (таблица 2.1) [25].
Естественное освещение.
Естественное освещение необходимо во всех помещениях, предназначенных для постоянного пребывания людей. Без такого освещения СниП II-4-79 разрешает проектировать: конференц-залы и залы заседаний, выставочные залы, раздевалки бань, душевые, гардеробные, коридоры, проходы и т.п.
В таблице 2.1 (графы 9-14) приведены нормы естественного и совмещенного освещения, которые нормируются коэффициентом естественной освещенности (КЕО), определяемым отношением естественной освещенности, создаваемой в некоторой точке заданной плоскости внутри помещения Е>вн> к одновременному значению наружной горизонтальной освещенности Е>нар >[25].
(9.15)
Естественное освещение подразделяется на боковое (светопроемы - окна, расположенные в стене помещения), верхнее (светопроемы -фонари, расположенные на крыше здания) и комбинированное (боковое + верхнее).
При одностороннем боковом естественном освещении нормируется минимальное значение КЕО в точке, расположенной на расстоянии 1 м от стены, наиболее удаленной от световых проемов и на высоте условной рабочей поверхности (0,8 м от пола) или на уровне пола. При двухстороннем симметричном боковом освещении нормируется минимальное значение КЕО в точке, расположенной посередине помещения на высоте условной рабочей поверхности или пола. При верхнем и комбинированном естественном освещении нормируется среднее значение КЕО в точках, расположенных на расстоянии 1 м от поверхностей стен и перегородок, на уровне условной рабочей поверхности или пола.
Норматив КЕО зависит от пояса светового климата. В СниП 11-4-79 приведена карта светового климата стран СНГ. Согласно карте, вся территория стран СНГ разделена на пять поясов светового климата. В таблице 2.1 представлены нормативы КЕО для третьего пояса светового климата е>н>ш. Нормируемые значения КЕО для I, II, IV и V поясов светового климата определяются по формуле [25]:
(8.16)
где m - коэффициент светового климата (таблица 9.1); с - коэффициент солнечности климата, учитывающий дополнительный световой поток, проникающий через световые проемы в помещения за счет прямого и отраженного от подстилающей поверхности солнечного света в течение года (таблица 2.3) [25].
Следует отметить, что вся территория Казахстана согласно СНиП П-4-79, расположена в зоне IV пояса светового климата.
Таблица 9.1 – Коэффициент светового климата
|
Пояс светового климата |
Пояс светового климата, m |
|
1 |
1,2 |
|
2 |
1,1 |
|
3 |
0,9 |
|
4 |
0,8 |
Для учета снижения КЕО и освещенности в процессе эксплуатации осветительных установок, вследствие загрязнения и старения световых проемов, ламп и светильников, а также снижения отражающих свойств поверхностей помещения, вводится коэффициент запаса К>3 >(таблица 2.4) [25]:
Предварительный расчет площади световых проемов производится:
а) при боковом освещении помещений по формуле:
(9.17)
б) при верхнем освещении по формуле:
(9.18)
где S>0>
- площадь световых проемов при боковом
освещении, м2;
S>n>
- площадь пола помещения, м2;
S>ф>
- площадь световых проемов при верхнем
освещении, м2;
е>н> -
нормированное значение КЕО с учетом
коэффициентов светового климата и
солнечности климата; К>3>
- коэффициент запаса; >
>
- световая характеристика окон (таблица
2.5); К>зд> -
коэффициент, учитывающий затенение
окон противостоящими зданиями (таблица
2.6); r>1>
- коэффициент, учитывающий повышение
КЕО при боковом освещении благодаря
свету, отраженному от поверхностей
помещения и подстилающего слоя,
прилегающего к зданию (таблица 2.7); >
ф>
- световая характеристика фонаря или
светового проема в плоскости покрытия
(таблицы 2.8 и 2.9); r>2>
- коэффициент, учитывающий повышение
КЕО при верхнем освещении, благодаря
свету, отраженному от поверхностей
помещения (таблица 2.10); К>ф>
- коэффициент, учитывающий тип фонаря
(таблица 2.11); >
>
- общий коэффициент светопропускания,
определяемый по формуле [25]:
(9.19)
где
-
коэффициент светопропускания материала
(таблица 2.12);
-
коэффициент, учитывающий потери света
в переплетах светопроема (таблица 2.12);
-
коэффициент, учитывающий потери света
в несущих конструкциях (таблица 2.12), при
боковом освещении
=1;
-
коэффициент, учитывающий потери света
в солнцезащитных конструкциях (таблица
2.13);
- коэффициент, учитывающий потери света
в защитной сетке, устанавливаемой под
фонарями, для верхнего освещения
=0,9,
для бокового освещения
=1.
При определении коэффициентов
и
по таблицам 2.7 и 2.10 необходимо знать
средневзвешенный коэффициент отражения
стен, потолка и пола, который рассчитывается
по формуле [25]:
(9.20)
где р>п>, р>пт>, р>ст>- коэффициенты отражения, соответственно, пола, потолка и стен, доли единицы; S>п>, S>пт>, S>ст>, - площади поверхностей, соответственно, пола, потолка и стен, м2.
Произведем расчет бокового одностороннего естественного освещения автозала помещения АТС-23. Размеры автозала длина стены с окнами 10 м, ширина – 7 м, высота - 3,2 м. Высота подоконника над полом 0,72 м. Окна выполнены из двойного листового стекла, со спаренными деревянными переплетами, загрязнение незначительное. Высота от уровня условной рабочей поверхности до верхнего края окна h>1 >- 1,82 м. Над окнами лаборатории установлены стационарные горизонтальные козырьки с защитным углом менее 30°. Коэффициенты отражения потолка р>пт>=0,7, стен р>ст>=0,5, пола р>п>=0,3. Световые проемы лаборатории имеют азимут 110°. Характеристика зрительной работы соответствует средней точности. Автозал расположен на 2 этаже, отношение расстояния от здания АТС до противостоящего здания Р к высоте расположения карниза противостоящего здания над подоконником окна автозала более 3.
По таблице 2.1 для зрительных работ средней точности при боковом освещении определяем норматив КЕО е>н>ш=1,5 [25].
2) По таблице 2.2 для IV пояса светового климата определяем коэффициент светового климата m=0,9. По таблице 2.3 для г.Кокшетау, расположенного южнее 50°с.ш. и азимута 110°, определяем коэффициент солнечности климата с=0,75 [25].
По формуле (9.16) определим нормированное значение КЕО для здания АТС:
3) Определим площади поверхностей пола и потолка:
(9.21)
4) По формуле (9.20) определим средневзвешенный коэффициент отражения потолка, пола и стен:

5) По таблице 2.4 для автозала - при вертикальном расположении световых проемов - коэффициент запаса К>3>=1,2 [25].
6) Зная отношение длины
помещения к его глубине L/B=12/6=2
и отношение глубины помещения к высоте
уровня условной рабочей поверхности
до верхнего края окна B/h>1>=6/1,82=3,3,
по таблице 2.5 ме тодом интерполяции
определяем световую характеристику
окна -
[25].
7) Поскольку отношение расстояния между зданием АТС и противостоящим зданием к высоте расположения карниза противо стоящего здания над подоконником окна лаборатории более 3, то по таблице 2.6 принимаем коэффициент К>зд>, учитывающий затенение окон противостоящим зданием, равным 1 [25].
8) Зная отношение B/h>1>=3,3,
отношение L/B=2
и р>ср>=0,5, по
таблице 2.7 определим значение коэффициента
учитывающего повышение КЕО благодаря
свету, отраженному от поверхностей
помещения, для l/В=5/6=0,833
методом интерполяции
=4,16,
где l
= 5 м расстояние от наружной стены до
расчетной точки, расположенной на
расстояниии 1 м от внутренней стены
[25].
9) По таблице 2.12, для
двойного листового стекла коэффициент
светопропускания
=0,8;
для деревянных спаренных окон коэффициент,
учитывающий потери света в переплетах
светопроемов
=0,7.
Для бокового освещения
=1
и
=1.
По таблице 2.13 для окон, имеющих
горизонтальные козырьки с защитным
углом не более 30°,
=0,8
[25].
10) По формуле (9.19) определим общий коэффициент светопропускания:

11) Преобразуя формулу (9.17) определим минимально необходимую площадь световых проемов:


12) В автозала установлены 3 окна размерами 1,95x2,7 м, что обеспечивает площадь световых проемов 3x1,95x2,7=21,06 м2.
Таким образом, естественное освещение в автозала соответствует требованиям организации естественного освещения. Более того, площадь световых проемов 21,06 м2 позволяет проводить в автозале работы наивысшей точности по характеристике зрительной работы [25].
Искусственное освещение.
Искусственное освещение по характеру выполняемых задач подразделяется на рабочее, аварийное, эвакуационное, дежурное и охранное. Рабочее освещение предусматривается для всех помещений зданий, а также на открытых территориях, предназначенных для работы, прохода людей и движения транспорта. Аварийное освещение необходимо в случае выхода из строя рабочего освещения, когда прекращение или нарушение обслуживания оборудования может вызвать пожар, взрыв, отравление людей и т.п. Минимальная освещенность рабочих поверхностей, требующих обслуживания в аварийном режиме, должна быть не менее 5% нормируемой освещенности при системе общего освещения [25].
Эвакуационное освещение (аварийное для эвакуации людей) выполняют в местах, опасных для передвижения людей (в проходах и на лестничных клетках), а также в помещениях, выход людей из которых при аварии освещения связан с опасностью травмирования. Наименьшая освещенность на уровне пола должна быть в помещениях 0,5 лк, а на открытых территориях - 0,2 лк. Для аварийного и эвакуационного освещения разрешается использовать только лампы накаливания. Люминесцентные лампы можно использовать лишь в помещениях с температурой воздуха не ниже +5°С, при условии питания ламп напряжением не менее 90% номинального. Светильники аварийного освещения должны отличаться от светильных приборов рабочего освещения.
Охранное освещение устраивают вдоль границ площадок предприятия, охраняемых в ночное время. При необходимости часть светильников любого освещения можно использовать для дежурного освещения.
По конструктивному исполнению рабочее освещение подразделяется на общее и комбинированное, для каждого из которых установлены соответствующие нормативы (таблица 2.1). При общем освещении все рабочие места в помещении освещаются с равномерным или локализованным размещением светильников. Если к общему освещению добавляют местное, сосредотачивающее световой поток непосредственно на рабочих местах, то такое освещение называют комбинированным [25].
Освещенность, создаваемая светильниками общего освещения в системе комбинированного, должна составлять не менее 10% нормируемой величины, но не менее 150 лк для газоразрядных ламп и 50 лк для ламп накаливания. Применение одного местного освещения не допускается, так как вызывает частую переадаптацию зрения, создает резкие и глубокие тени и обуславливает этим повышенную опасность травмирования и другие неблагоприятные последствия.
Методы светотехнических расчетов.
Основой любой осветительной установки являются электрические источники света. Электрическим источником света называют устройство, предназначенное для превращения электрической энергии в видимое излучение. По физической природе преобразования электрической энергии источники света делятся на тепловые и газоразрядные.
Все многообразие применяемых способов расчета освещения сводится к двум принципиально различным методам: точечному и методу коэффициента использования светового потока [24].
Метод коэффициента использования светового потока предназначен для определения средней горизонтальной освещенности с учетом отражения светового потока от поверхностей пола, потолка и стен помещения. Применение этого метода целесообразно во всех случаях, когда расчет ведется на среднюю освещенность, то есть для расчета общего равномерного освещения производственных, вспомогательно-бытовых и административно-конторских помещений.
Метод коэффициента использования получил наибольшее распространение в практике проектирования, так как позволяет быстро и с достаточной степенью точности определить необходимый световой поток лампы, исходя из размеров помещения и разряда зрительной работы, выполняемой в этих помещениях:
(9.22)
где Ф - расчетный световой
поток лампы, обеспечивающий уровень
нормируемой освещенности, лм; Е>н>
- минимальная нормируемая освещенность,
в соответствии с разрядом зрительной
работы, выполняемой в данном помещении
(таблица 2.1), лк; S
- освещаемая площадь, м2;
К>ч> - коэффициент
запаса, зависящий от типа ламп и
запыленности помещений; определяется
по таблице 2.4; Z
- коэффициент, учитывающий неравномерность
освещения; представляет собой отношение
средней освещенности к минимальной:
Z=E>cp>/E>M>>И>>H>,
для ламп накаливания и ДРЛ Z=l,15,
для люминесцентных ламп Z=
1,1;
-
коэффициент использования светового
потока (таблицы 2.19 и 2.20); п>св>
- число светильников, установленных в
помещении; п>л>
- число ламп в светильнике [25].
Коэффициент использования
светового потока
показывает, какая часть светового потока
светильника падает на рабочую поверхность.
Величина коэффициента
зависит от значений коэффициентов
отражения потолка р>пт>,
стен р>ст>,
расчетной поверхности р>р>
и индекса помещения i.
Ориентировочные значения коэффициентов отражения приведены в таблице 2.18. Индекс помещения i определяют по формуле [25]:
(9.23)
где А и В -длина и ширина помещения, м; h>p> - высота подвеса светильников над расчетной поверхностью, м;
(9.24)
где h>n> - высота рабочей поверхности, м; h>c> - свес светильника, то есть расстояние от потолка до лампы, м.
Высота рабочей поверхности зависит от характера работ, выполняемых в помещении (таблица 2.21). Свес для ламп накаливания обычно равен 0,5-0,7 м, для люминесцентных ламп 0,1-0,5 м [25].
По рассчитанному значению светового потока Ф и напряжению электрической сети выбирают ближайшую стандартную лампу (таблицы 2.14, 2.16, 2.17), световой поток (Ф>л>) которой не должен отличаться от расчетного, больше чем на (-10 - +20)%. При невозможности выбора лампы с таким отклонением светового потока корректируется либо число ламп в светильнике, либо число светильников [25].
Если число светильников неизвестно, то, преобразуя формулу (9.22) относительно п>св>, можно получить уравнение для определения числа светильников, ориентируясь на световой поток Ф>л>, какой-то определенной лампы [25]:
(9.25)
Расположение светильников определяет экономичность и качество освещения, а также удобство эксплуатации. Светильники с лампами накаливания и ДРЛ располагают обычно по вершинам квадратных, прямоугольных, ромбовидных или треугольных полей с отношением сторон не более 1,5. Светильники с люминесцентными лампами рекомендуется устанавливать рядами, параллельно длинной стороне помещения или стены с окнами.
Для различных типов
светильников определены наивыгоднейшие
отношения расстояния L
между светильниками к высоте подвеса
светильника над расчетной поверхностью
=L/h>p>.
Наивыгоднейшие значения
,
в зависимости от типа кривой силы света,
приведены в таблице 2.22. Следует отметить,
что все светильники люминесцентных
ламп, приведенные в таблице 2.20, имеют
кривую силы света типа Д. Светильники
ламп ДРЛ - кривые силы света типа Г или
К. Светильники ламп накаливания ППД -
типа Д, С>к>
- 3000 - типа Л, НСПО9 - типа Г [25].
Расстояние от крайних
светильников до стены принимается в
пределах (0,3-0,5)L,
в зависимости от наличия вблизи стен
рабочих мест. Причем величина L,
найденная по
(исходя из кривой силы света),
является оптимальной, но отнюдь не
обязательной. Главное при размещении
светильников обеспечить равномерное
освещение помещения.
В процессе проведения расчетов освещения люминесцентными лампами возможно получение различных ситуаций при сопоставлении суммарной длины п>св> светильников с длиной помещения:
суммарная длина светильников превышает длину помещения - не обходимо увеличить число рядов светильников или использовать более мощные лампы, что позволит снизить число светильников;
суммарная длина светильников равна длине помещения - установка непрерывного ряда светильников [24];
суммарная длина светильников
меньше длины помещения - прини мается
ряд с равномерно распределенными
разрывами (исходя из величины
)
между светильниками.
Таким образом, на основе технико-экономических сопоставлений между несколькими вариантами выбирают лучший.
Произведем расчет общего освещения автозала АТС. Размер помещений представлен на рисунке 9.3. Высота помещений Н=3,2 м. Для освещения использовать люминесцентные лампы, установленные в двухламповые светильники ЛСП 01-2х40. Потолок и стены в помещениях побелены.
1) Расчет помещения АТС, А=10 м, В=7 м. Согласно таблице 2.21 для помещения АТС при освещении люминесцентными лампами нормативная освещенность Е>н>=300 лк. Поскольку у нас стоит задача общего освещения помещения, то примем высоту расчетной поверхности h>n>=0,8 м. Свес для люминесцентных ламп h>c>> >=0,l м. По формуле 9.24 определим высоту подвеса светильников над расчетной поверхностью:

Индекс помещения (формула 9.23):

По таблице 2.18 для побеленного
потолка и стен коэффициенты отражения
р>пт>=0,1>ч>
р>ст>=0,5.
По индексу помещения i=1,79
и коэффициентам отражения для светильников
ЛСП 01-2х40 «Сигма-4», по таблице 2.20 методом
интерполяции определяем коэффициент
использования светового потока
=0,534
[25].
Поскольку светильники
люминесцентных ламп ЛСП 01-2х40 «Сигма-4»
имеют кривую силы света типа Д (
=1,4,
таблица 2.22), то зная h>р>,
определим оптимальное расстояние между
светильниками [25]:
(9.26)

Исходя из размеров помещения 10x7 и величины L>опт>, примем первоначально схему размещения — 2 ряда по 3 светильника в каждом, параллельно длинной стороне А.
По таблице 2.4 коэффициент запаса К>3>=1,5. Для люминесцентных ламп коэффициент неравномерности освещения Z=l,l. Используя полученные значения коэффициентов, по формуле 9.22 определим расчетный световой поток лампы [25]:

По таблице 2.16 выбираем для использования лампу ЛБ-80 со световым потоком Ф>л>=5220 лм.
Определим фактическую освещенность:
(9.27)

Поскольку фактическая освещенность отличается от нормативной на 3,5%, то окончательно принимаем для установки в помещении АТС шесть двухламповых светильников ЛСП 01-2х40 «Сигма-4» с лампами ЛБ-80.
Мощность осветительной установки Р>оу> составит:
(9.28)

Проведем корректировку расстояния между светильниками, Обеспечивающую равномерное освещение всего помещения:
(9.29)

(9.30)

Нанесем светильники на план-схему (рисунок 9.3). Очевидно, что L>A>> >И L>B> отличаются от L>onr> для светильников ЛСП 01-2х40 «Сигма-4» менее, чем на 10%.
9.6 Создание оптимальных условий труда оператора в автоматизированной системе управления
Автоматизация и компьютеризация систем связи привели к коренному изменению средств и характеристик трудовой деятельности, а следовательно, и условий труда. Труд облегчается, оздоровляются его условия, так как он переходит в сферу операторской деятельности, связанную с управлением и контролем за объектом (сеть связи) на основании модели сети и внешней обстановки. Однако, автоматизация и компьютеризация производства может иметь и определенные отрицательные социальные последствия, так как предъявляются повышенные требования к психофизиологическим возможностям человека-оператора он отвечает за эффективность функционирования системы, в том числе и в экстремальных ситуациях. Кроме того, для операторской деятельности характерным является снижение двигательной активности в процессе труда, что может повлиять на здоровье работающих. Поэтому, в условиях современного производства возникла задача согласования конструкции технической системы и условий их функционирования с психофизиологическими возможностями работающего человека (т.е. достижения эргономичности рабочего места). Конструкция рабочего места должна обеспечивать быстроту, безопасность, простоту и экономичность технического обслуживания, полностью отвечать функциональным требованиям и условиям эксплуатации. В тоже время рабочее место оператора АСУ (автоматизированная система управления) должно обеспечивать оптимальные условия труда, которые подразумевают [25]:
- достаточное рабочее пространство;
-остаточные физические, зрительные и слуховые связи между работающим человеком и оборудованием;
-необходимое естественное и искусственное освещение;
-допустимый уровень шума и вибрации;
- наличие необходимых средств защиты (защитные экраны на дисплеях и т.п.).
Естественно, что любая АСУ, помимо эргономичности, должна обеспечивать безопасность и здоровые условия труда.
Функционирование АСУ состоит в преобразовании информации в системе, включая деятельность оператора и функционирование машины [25].
Функционирование машины направлено на преобразование информации и состоит и упорядоченной совокупности машинных операций, предназначенных для решения предписанной задачи. Источником информации о состоянии объекта в АСУ является информационная модель, на основе которой оператор формирует образ реальной обстановки и осуществляет свою деятельность. Информационная модель должна обеспечивать заданную эффективность функционирования АСУ, выполнение возложенных на оператора функций с необходимой точностью, предотвращать появление ошибочных действий.
В процессе труда оператор воспринимает, удерживает в памяти и перерабатывает значительную по объему информацию о состоянии системы, принимает решение и управляет функционированием системы. Главное содержание трудовой деятельности оператора составляют умственные психические процессы — активное восприятие, запоминание, мышление.
Данные о состоянии объекта управления и результатах своей деятельности оператор получает с помощью средств отображения информации СОИ. При построении СОИ значительное место занимает зрительная индикация, которая должна удовлетворять определенным эргономическим требованиям. СОИ должны обеспечивать хорошее восприятие информации, включающее соответствующую читаемость, скорость и точность считывания.
В настоящее время в АСУ для отображения информации все большее применение находят электронно-лучевые трубки, на основе которых строятся алфавитно-цифровые и графические дисплеи. Достоинством такого рода индикаторов является их универсальность, обеспечивающая возможность получения цветных и полутоновых изображений, регулирование параметров изображения, выборочного стирания или изменения информации и т.д [25].
На качество восприятия информации с экрана дисплея значительное влияние оказывают индивидуальные характеристики оператора — характеристики зрения и скорость реакции на изменение изображения. Поэтому важную роль в оптимальной организации рабочего места оператора АСУ имеют расположение экрана и характеристики дисплея. Соответственно, СОИ должны обеспечивать возможность настройки этих параметров.
Значительная часть деятельности оператора АСУ состоит в наблюдении за состоянием системы. При этом некоторые параметры системы изменяются очень медленно или их изменение происходит случайно. Для контроля подобных характеристик объекта управления на рабочем месте следует предусмотреть дополнительные средства отображения информации — звуковую и световую сигнализацию, стрелочные индикаторы и т.д.
Оператор с помощью органов чувств воспринимает с СОИ предъявляемую информацию, на основе которой в его центральной нервной систем формируется внутренний оперативный образ (концептуальная модель), то есть совокупность представлений о состоянии объекта управления, внешней среды и способов воздействия на них. Этот образ является результатом осмысливания оператором сложившейся ситуации с учетом стоящей перед ним задач. Сравнивая оперативный образ с хранящимся в памяти требуемым (эталонным) состоянием объекта управления, оператор принимает решение об осуществлении управления. Приняв решение, оператор с помощью органов движения воздействует на органы управления машиной, то есть технического средства, предназначенные для передачи моторных управляющих воздействий от оператора к машине. Сигналы от органов управления через информационно-вычислительное устройство, где они подвергаются необходимым преобразованиям, поступают с объект управления.
Эффективность и качество работы оператора во многом определяются степенью согласования характеристик информационной модели, сформированной в машине, и его психофизиологическими возможностями по приему и переработке поступающей информации. Интегральная характеристика связи человека, машины, предмета деятельности и внешней среды, проявляющаяся при их возникновении в системе, обобщается понятием человеческий фактор. С точки зрения учета человеческого фактора система “человек-машина” обладает рядом эргономических свойств и показателей. Эргономичность системы характеризует ее эргономическую целостность и органически связана с показателями производительности, надежности и экономичности эксплуатации. Эргономичность обуславливается управляемостью, обслуживаемостью, освояемостью и обитаемостью.
Управляемость - соответствие распределения функций между человеком и машиной оптимальной структуре их взаимодействия при достижении поставленной цели, а также соответствие конструкции машины и организации рабочего места оптимальной психофизиологической структуре и процессу деятельности по ее управлению.
Обслуживаемость — соответствие конструкции машины и организации рабочего места оптимальной психофизиологической структуре и процессу деятельности при эксплуатации, обслуживании и ремонте.
Освояемость — заложенные в машине возможности ее освоения, требования к профессиональному уровню оператора, характеру и степени группового воздействия работающих.
Обитаемость — эргономической свойство системы, при выполнении которого условия функционирования техники являются оптимальными в отношении жизнедеятельности работающих, то есть соответствие условий функционирования биологически оптимальным параметрам рабочей среды.
Кроме этих характеристик эргономические свойства системы “человек-машина” характеризуются комплексом эргономических показателей.
Социально-психологические показатели учитывают соответствие конструкции машины и организации рабочего места характеру и степени группового воздействия, а также степень опосредования межличностных отношений с содержанием совместной деятельности по управлению машиной.
Комплекс психологических, физиологических, психофизиологических, антропометрических и гигиенических показателей обуславливает эффективность деятельности самого человека в системе “человек-машина”.
Психологические, физиологические и психофизиологические показатели отражают соответствие машины силовым, скоростным, энергетическим, зрительным, слуховым, осязательным и обонятельным возможностям и способностям человека [24].
Антропометрические показатели учитывают соответствие машины размерам и формам тела работающего человека, распределению его массы.
Гигиенические показатели (освещенность, температура, влажность, давление, напряженность электрического поля, токсичность, шумы, вибрации) характеризуют степень комфортности условий труда по отношению к возможным вредным и опасным производственным факторам, т.е. роль внешней среды.
На автоматизированном рабочем месте оператора в общем случае используются:
-средства отображения информации индивидуального пользования (дисплей);
- средства ввода информации (клвиатура, различные манипуляторы);
-средства связи и передачи информации (телефонный аппарат, модем);
- средства документирования и хранения информации (принтеры, накопители);
- вспомогательное оборудование.
На автоматизированном рабочем месте должны быть обеспечены информационная и конструктивная совместимость используемых технических средств, антропометричекое и психофизфологическое соответствие характеристикам человека-оператора.
При оптимизации процедур взаимодействия оператора с техническими средствами эргономические факторы выступают в качестве основных, обуславливая вероятностно-временные характеристики и напряженность работ. Эргономические факторы могут оказаться весьма чувствительными к вариациям индивидуально-личностных свойств оператора.
Размещение технических средств и кресла оператора в рабочей зоне должно обеспечивать удобный доступ к основным функциональным узлам и блокам аппаратуры, исключение случайного приведения в действие средств управления и ввода информации, удобную рабочую позу и позу отдыха [25].
Эскиз примерного размещения оборудования оператора АСУ представлен на рисунке 9.4. Дисплей размещается так, что расстояние от глаз оператора до экрана составляет до 700 мм. (Оптимально 450 - 500 мм.). Установлено, что наименьшая утомляемость при работе с дисплеем достигается когда экран расположен ниже уровня прямого видения человека. Поэтому угол между линией прямого видения и перпендикуляром из центра экрана составляет 20 градусов. Более точно, эти характеристики определяются из параметров изображения (угловые размеры знаков на экране) и пространственных характеристик дисплея (высота, размеры экрана), а также индивидуальных особенностей человека.

Рисунок 9.4 - Эскиз размещения оборудования оператора АСУ
Высота стола должна составлять 650 - 720 мм. При работе с клавиатурой наименьшая утомляемость рук оператора достигается когда угол между предплечьем и плечом оператора близок к прямому. Исходя из этого определяется высота кресла, которая составляет 400 - 500 мм. Для обеспечения возможности выбора удобной позы кресло должно иметь возможность изменения высоты. Желательно подставку для клавиатуры сделать выдвижной на уровне пояса человека, так как наиболее удобной является поза, при которой предплечья не выдвинуты вперед, а опущены вниз.
Средства документирования и другие нечасто используемые технические средства рекомендуется располагать справа от оператора в зоне максимальной досягаемости, а средства связи — слева, чтобы освободить правую руку для записей. Если деятельность оператора связана с частым использованием телефона, то в состав технических средств рабочего места следует включить микротелефонную гарнитуру.
Экран дисплея, документы и клавиатура должны располагаться так, чтобы перепад яркостей поверхностей, зависящий от их расположения относительно источника света, не превышал 1:10 (оптимально 1:3). При номинальном значении яркостей изображения на экране 50 - 100 кд/м2, освещенность документа должна составлять 300 - 500 лк [25].
10 Охрана окружающей среды на предприятиях связи
Предприятия и сооружения связи, в отличие от химических, нефтехимических, горнодобывающих, целлюлозно-бумажных и т.п. предприятий и сооружений, по своему отрицательному воздействию на биосферу, атмосферу, литосферу и гидросферу условно можно отнести к сравнительно “чистым”. Однако современные технологические процессы и оборудование, используемые в связи, все же являются источниками отрицательного воздействия на окружающую среду, производящими хотя и к незначительному, но нарушению экологического баланса. Так, предприятия и сооружения радиосвязи могут являться мощным источником электромагнитных полей, охватывающих значительные пространства и воздействующих на биологические объекты. Поэтому и в связи необходимо уделять серьезное внимание вопросам воздействия на окружающую среду и разработке природоохранных мероприятий [29].
При проектировании средств и сооружений объектов связи должны предусматриваться эффективные средства защиты окружающей среды от возможного загрязнения и экономное использование земли.
Предприятия связи представляют собой комплекс технических зданий (АТС, радиорелейных станций, радиоцентров, телецентров) и специальных сооружений (радиомачты или башни, кабельные и воздушные линии связи), размещенных на определенных участках земной поверхности.
Согласно существующему в стране законодательству предоставление земельных участков в пользование осуществляется в порядке отвода. В постановлениях или решениях указывается цель, для которой отводится участок, и основные условия пользования землей.
В системе мероприятий по охране окружающей среды существенную роль играют выбор площадки для сооружения объектов и планирования решения по их размещению. Согласно основам земельного законодательства для уменьшения отрицательного воздействия на экологический баланс почв, линии связи должны проводиться главным образом вдоль дорог, существующих трасс и т.п.
Особое внимание при сооружении предприятий уделяют взаимному расположению производственных зданий и жилых массивов. В пределах жилых районов допускается размещать только объекты с технологическими процессами, не эмиссирующими в атмосферу вредные вещества.
При сооружении и эксплуатации предприятий связи широко используется автотранспортная техника, а в качестве резервных источников электроэнергии - дизель-генераторные установки. Выбросы двигателей внутреннего сгорания (ДВС) представляют собой сложную смесь, содержащую токсические компоненты [29].
Дизельные ДВС при работе выбрасывают в атмосферу большое количество сажи, которая в чистом виде не токсична. Однако сажа обладает канцерогенным действием, а ее частицы - высокой адсорбционной способностью и могут нести на своей поверхности молекулы и частицы токсичных веществ. Сажа может длительное время находиться во взвешенном состоянии в воздухе, увеличивая тем самым время воздействия вредных веществ на биологические объекты. Выбросы от ДВС не должны создавать приземных концентраций, превышающих ПДК для населения, растительного и животного мира.
Источником загрязнения гидросферы при функционировании предприятий связи могут быть производственные, бытовые и атмосферные сточные воды, сбрасываемые в канализационную сеть. Вода широко используется для охлаждения различных элементов радиооборудования и хозяйственно-бытового обслуживания работающих. Атмосферные сточные воды образуются в результате смывания дождевыми, снеговыми и поливочными водами загрязнения, имеющегося на территории объектов связи, крышах и стенах зданий. Поэтому необходимо не допускать загрязнения канализационных стоков вредными примесями. Так, на предприятиях связи в качестве источников гарантированного питания постоянным током приборов и аппаратов, автоматического пуска дизель - генераторов широко используются стационарные аккумуляторные батареи (кислотные, щелочные). При эксплуатации аккумуляторных батарей неизбежна периодическая замена электролита. Согласно существующим правилам, для предотвращения загрязнение окружающей среды заменяемый электролит необходимо сливать не в канализацию, а в специальные сосуды для последующей его утилизации.
К нежелательным факторам, отрицательно воздействующим на биосферу, относятся производственные шумы. Источником производственного шума могут быть машины и механизмы (механический шум), потоки газов и жидкостей в трубопроводах, вентиляционных и компрессорных установках, колебания конструкций под действием ветра (аэродинамический шум). Кроме этого, составляющими шумового загрязнения являются транспортные и жилищно-бытовые шумы. Первые возникают при работе транспортных средств, а вторые - при работе санитарно-технического оборудования и радиотелевизионной аппаратуры бытового назначения. Шум, создаваемый промышленными предприятиями, технологическими установками, транспортными средствами в жилых и общественных зданиях и на их территориях не должен превышать установленных предельно допустимых значений [30].
Предприятия связи в определенной степени могут влиять и на состояние почвы в зонах их функционирования, так как в результате производственной деятельности могут появиться различные отходы в виде лома, пыли, промышленного мусора. Современная ликвидация и утилизация отходов, содержание в чистоте рабочей территории так же являются важнейшими мероприятиями в комплексе работ по защите окружающей среды. Защита от пыли является также необходимым условием для нормальной работы оборудования предприятий связи.
Основными источниками высокочастотной энергии в среде обитания человека - радио - и телепередающие центры и радиолокаторы. В связи с развитием радиовещания, телевидения, радиолокации увеличивается возможность воздействия ЭМП на население. Интенсивность этих полей зависит, прежде всего, от мощности объекта, конструктивных особенностей антенных систем и их установки, рельефа местности. Антенны передающих объектов являются источниками излучения электромагнитных волн радиочастот в населенных пункта.
При решении технических задач необходимо обращать серьезное внимание на вопросы взаимодействия производственной среды с окружающей природной средой. При внедрении новых технологий необходимо сводить к минимуму воздействие их на окружающую среду. Большое значение имеет также обеспечение работников предприятий информацией по вопросам экологии и защиты окружающей среды. Для этой цели на предприятиях, в частности на проектируемой станции предлагается создать «Уголок экологии», где рабочий персонал станции будет иметь возможность ознакомиться с законом об охране окружающей среды и Концепцией экологической безопасности Республики Казахстан, а также получить последние сведения в области экологии [30].
Охрана окружающей среды становится важнейшей социальной и экономической проблемой, и нашей задачей является обеспечение экологической безопасности - фундаментального компонента национальной безопасности страны.
11 Технико-экономическое обоснование проекта
11.1 Общие положения
Концепция интеллектуальной сети является сегодня одной из определяющих концепций развития современных сетей связи. Интеллектуальная сеть (IN – Intelligent Network) - это новый способ (архитектура, концепция) организации предоставления услуг на сети электросвязи, который облегчает введение новых дополнительных услуг и управление ими [6].
АО «Казахтелеком» продолжает активную работу по предоставлению своим абонентам современных услуг связи и внедряет услуги интеллектуальных сетей. «Казахтелеком» работает над созданием единой интеллектуальной сети, которая охватит все регионы Республики и позволит значительно расширить спектр услуг связи.
Внедрение интеллектуальных услуг и создание интеллектуальных сетей послужит построению сетей будущего - NGN, сближению фиксированных и мобильных сетей, интеграции традиционных сетей связи и сетей Internet [6].
В целом услуги интеллектуальной сети очень похожи на услуги ДВО и ЦСИО, но в отличие от них могут быть реализованы в рамках глобальной сети связи. К их числу относятся такие знакомые нам услуги, как сокращенный набор, бесплатный вызов, направленный вызов, конференц-связь и др. Всего набор CS1 включает 25 видов услуг, которые должны поддерживаться телефонными сетями, сетями ЦСИО и мобильными сетями. В нашей стране наиболее распространены следующие из них: предоплаченные услуги; тарификация вызовов; телеголосование; речевая почта [6].
В настоящем дипломном проекте предлагается организация интеллектуальной сети в г.Кокшетау на базе платформы оборудования S-12 Alcatel. Организация интеллектуальной сети позволит повысить доходы операторов при минимальных затратах, без изменения структуры сети и оборудования.
11.2 Экономическая эффективность новой техники и технологии
Прежде всего необходимо четко различать понятия экономический эффект и экономическая эффективность новой техники и технологии.
Экономический эффект – это конечный результат применения технологического новшества, измеряемый абсолютными величинами. Ими могут быть прибыль, снижение материальных, трудовых затрат, рост объемов производства или качества продукции, выражаемого в цене и другие показатели [26].
Экономическая эффективность – это показатель, определяемый соотношением экономического эффекта и затрат, породивших этот эффект, то есть, сопоставляется либо размер полученной прибыли, либо прирост национального дохода или валового внутреннего продукта (на уровне страны) с капитальными вложениями на осуществление данного технического мероприятия.
Внедрение новой техники, механизации и автоматизации процессов производства – является основой для улучшения качества продукции связи, развития и совершенствования средств связи. На базе достижений в области электроники, вычислительной техники, космической техники создаются новые современные средства связи – цифровые системы коммутации, цифровые системы передачи, имеющие более высокие показатели, качества работы и требующие меньших затрат на их обслуживание [27].
Услуги связи являются основным конечным продуктом отрасли связи, поэтому обеспеченность услугами связи населения и народного хозяйства страны представляется важнейшим показателем эффективности отрасли. Развивая сети связи, внедряя новые технические средства, отрасль стремится увеличить объем предоставляемых услуг, создать технические и организационные возможности для развития новых услуг. Пакет новых дополнительных услуг обеспечивается при создании интеллектуальных сетей.
Опыты внедрения IN услуг зарубежом, России и ряд других стран показывает актуальность и эффективность, во-первых создается конкурентоспособная среда в области телекоммуникации, во-вторых повышается доходность предприятий, самое главное создаются предпосылки создания сетей следующего поколения NGN [7].
11.3 Капитальные затраты
Единовременные капитальные затраты определяются по формуле:
К = Ц+К>тр >+ К>мон >+ К>лп >(11.1)> >
где Ц - цена оборудования; К>тр >– стоимость транспортировки оборудования к месту эксплуатации; К>мон >– стоимость монтажа оборудования системы; К>лп >– стоимость линейных сооружений и системы передачи системы уплотнения.
В данном разделе таблично приводится наименование, цена и общие затраты на оборудование (таблица 11.1).
Таблица 11.1 - Расчет капитальных затрат на оборудование и материалы
|
Наименование показателей |
Единица измерения |
Коли-чество |
Цена за единицу, тыс.тенге |
Стоимость, тыс.тенге |
|
|
1 |
2 |
3 |
4 |
5 |
|
|
Платформа IN Alcatel S-12 (с учетом резервной платы) |
плата |
2 |
6111,0 |
12222,0 |
|
|
Дополнительное программное обеспечение (до 70% от стоимости системы Alcatel S-12) |
% |
70 |
128331,0 |
||
|
Монтаж и тестирование (10-20% от стоимости системы Alcatel S-12) |
% |
10 |
18333,0 |
||
|
Итого: |
158886,0 |
11.4 Годовые эксплуатационные затраты
Годовые эксплуатационные расходы складываются из следующих статей затрат:
1. Заработанной платы штата основной деятельности с отчислениями на социальный налог.
2. Амортизационных отчислений.
3. Расходов на материалы и запасные части.
4. Затрат на электроэнергию, на производственные нужды.
5. Прочих производственных и административно-управленческих расходов.
Годовые эксплуатационные затраты определяются по формуле:
С = З>п>+А+М+Э>н>+С>ПР ТР> +С>АДМ >(11.2)
1) Основная заработная плата.
Основная заработная плата по штату составит:
З>осн> = З>Р >*1,4*12*N (11.3)
где З>осн> – заработанная плата определенного работника; 1,4 – коэффициент учета премий; 12 – число месяцев в году; N – количество работников [27].
Годовой фонд заработной платы приведен на таблице 11.2.
Таблица 11.2 - Годовой фонд заработной платы
|
Должность |
Количество |
Заработная плата в месяц, тыс.тг |
Заработная плата за год, тыс. тг. |
|
|
1 |
2 |
3 |
4 |
|
|
Инженер-программист |
2 |
80.0 |
11920,0 |
|
|
Инженер-системотехник |
1 |
70,0 |
840,0 |
|
|
Инженер I- категории |
2 |
55,0 |
1320,0 |
|
|
Оператор |
3 |
40,0 |
1440,0 |
|
|
Итого: |
15520,0 |
2) Отчисления на социальный налог определяются по формуле:
З>ос> = (З>осн> * 21%)/100 (11.3)
где 21% - ставка социального налога.
Общий фонд оплаты труда в год определяется по формуле:
З = З>осн> + З>ос >(11.4)
З>ос =>15520,0 * 21/100=3259,2 тыс. тенге
3) Амортизационные отчисления:
Величина амортизационных отчислений определяется исходя из первоначальной стоимости оборудования и сооружения связи и установленных норм амортизации.
Например: норма амортизации оборудования станции 15,0%, линейного сооружения 5%, измерительного оборудования 15%, на оборудование ЛАЗ – 10% от суммы капитального вложения. Амортизационные отчисления рассчитываются отдельно на каждую статью расходов по приобретению оборудования и затрат на строительство коммуникаций суммируя, затем общую величину [27].
Амортизационные отчисления:
Э>А >= К>общ> * 0,97 * 0,1 (11.5)
где 0,97 – коэффициент определяющий долю капитальных затрат, переходящих в основные производственные фонды (ОПФ); 0,1> >- средняя норма амортизации для основных фондов.
Э>А >= 158886,0 * 0,97 * 0,1= 15411,94 тыс.тенге
4) Материальные затраты:
Расходы на материалы, запасные части и текущий ремонт определяются из расчета 2% стоимости оборудования системы:
М= Ц*2/100 (11.6)
В нашем случае расходы на материалы и запчасти составляют 1% от стоимости 1-го комплекта:
Э >мат. изч.> = 0,01 * Ц * n> >(11.7)
где Ц - цена одного комплекта (платформы) – 6111,0 тыс. тенге; n- количество комплектов (платформы) - 2, тогда:
Э >мат. изч.> = 0,01 * 12222,0 * 30 = 3666,6 тыс. тенге
5) Затраты на электроэнергию:
Расходы на оплату электроэнергии определяются по формуле:
Э>н >= 0,06*W*24 (11.8)
где 0,06 – потребляемая мощность кВт-часа; W – расход электроэнергии; 24 – количество часов.
Расходы на электроэнергию в нашем случае: тариф на электроэнергию 3,3 тенге/кВт (комплект работает круглосуточно), средняя потребляемая мощность комплекта (платформы) = 0,06 кВт, тогда:
Э>эл> = 3,3 * 0,06 * 30 * 365 * 24 = 52034 тенге
6) Прочие производственные и транспортные расходы затраты на транспорт: амортизационные отчисления, расход горюче-смазочных материалов, заработная плата водителей и прочее, производится в размере 5% от трудозатрат [26].
С>ПР ТР> = (З>П >+А+М+Э>Н>) *5/100 (11.9)
С>ПР ТР> =(15520,0+15411,94+3666,6+54,034)*5/100 =1732,63 тыс. тенге
7) Прочие затраты:
Прочие административно-управленческие и эксплуатационно-хозяйственные расходы принимаются 10% от годового фонда оплаты труда.
С>АДМ> =ФОТ*10/100 (11.10)
С>АДМ =>15520,0 *10/100 =1552,0 тыс. тенге
Эксплуатационные расходы приведены в таблице 11.3.
Таблица 11.3 - Эксплуатационные расходы за год
|
Наименование показателей |
Единица измерения |
Сумма |
|
1 |
2 |
3 |
|
Фонд заработной платы |
тыс. тенге |
15520,0 |
|
Отчисления на социальный налог |
тыс. тенге |
3259,2 |
|
Амортизационные отчисления |
тыс. тенге |
15411,94 |
|
Материальные затраты |
тыс. тенге |
3666,6 |
|
Электроэнергии |
тыс. тенге |
52, 03 |
|
Прочие производственные и транспортные расходы |
тыс. тенге |
1732,63 |
|
Прочие затраты |
тыс. тенге |
1552,0 |
|
Итого |
41194,4 |
11.5 Доходы от основной деятельности
Годовая сумма собственных доходов, например после введения в эксплуатацию системы SDH состоит из арендной платы «S» за один канал двух Мб потока, количество «n» подключенных Мбит потока и количества каналов «r» в каждом потоке. В этом случае единовременный доход составит:
Д = n*r*s> >(11.11)> >
Годовая сумма собственных доходов будет:
Д>C> = Д*12 (11.12)
В другом случае, годовые тарифные доходы могут быть определены по формуле:
Д>Т> = 0,7*12*t*N> >(11.13)
где 0,7- коэффициент, учитывающий неравномерность использования абонентской линии в течении суток; t – установочный тариф использования абонентской линии; N – число абонентских линий, ориентировочное линий в первое время эксплуатации [27].
Расчет доходов от внедрения новой технологий складывается из разовой и текущих выручек (таблица 11.4)
Для этого необходимо знать структуру абонентов ГТС Кокшетау. Начало проекта ОТА физических лиц составляют - 67% (26899,16 абонентов, из них 10% - предприниматели, т.е. 2690), а юридические - 31% (12445,88 абонентов), таксофоны универсальные - 2% (803 – таксофонов).
Анализ тарифных доходов начинается с оценки выполнения плана и темпов роста в целом, а затем по подотраслям связи. Анализ производится на основе исходных данных. Сведем доходы в таблицу 11.4.
Таблица 11.4 - Расчет доходов
|
№ |
Наименование показателя |
Коли- чество |
Тариф с НДС, тенге |
Доход за месяц, тенге |
Доход за год, тыс. тенге |
|
Раздел А |
|||||
|
1 |
Абонентская плата: |
||||
|
1.1 |
- частные предприниматели; |
2690 |
700 |
1883000 |
22596,0 |
|
1.2 |
- юридические лица; |
12446 |
1093 |
13603478 |
163241,73 |
|
1.3 |
- физические лица. |
24209 |
440 |
10651960 |
127823,52 |
|
1.4 |
Интеллектуальные услуги (10% по разделу А) |
31366,125 |
|||
|
Итого по разделу А |
345027,37 |
11.6 Прибыль от реализации услуг
Прибыль предприятия связи от реализации услуг определяется как разность между доходами от основной деятельности (или собственными для предприятия) и эксплуатационными расходами, т.е.
П = Д>С> – С (11.14)
Д>С >=345027,37 тыс.тенге
П =345027,37 – 41194,4 = 303832,97 тыс. тенге
Прибыль (убытки), не связанные с осуществлением основного вида деятельности и входящие в итоговую прибыль, могут представлять собой результат продажи излишнего имущества и других разовых услуг.
Прочие доходы могут включать: проценты, дивиденды по ценным бумагам, принадлежащим предприятию, доходы от сдачи в аренду имущества и др [26].
Прибыль, которая останется после платежей в бюджет в виде налога, будет являться чистой прибылью предприятия.
П>чист>= П - Н тыс.тенге
П>чист>= 303832,97 – 91149,89 = 212683,08 тыс. тенге
11.7 Срок окупаемости
Для расчета экономической эффективности капитальных вложений могут быть использованы следующие выражения, т.е. через абсолютный срок окупаемости:
Т = (К +К >ОБ.СР>)/(Д>С> – С)> >(11.15)
или
Т = К>ВН> /Э>НТ>, при Т<Т>Н> (11.16)
где К, К>ВН> – капитальные вложения в основные производственные фонды; К >ОБ.СР> – суммы оборотных средств (5% от К); Т – срок окупаемости затрат, лет; Т>Н> – нормативный срок окупаемости (Т>Н >= 20 лет) [27].
Как правило, капитальные затраты на приобретение и внедрение нормой техники окупаются дополнительной прибылью, получаемой от реализации товаров, вырабатываемых этой новой техникой, за счет роста их цены при улучшении качества товаров, либо за счет роста их цены при улучшении качества товаров, которое обеспечивает новая, более экономичная техника. Таким образом, эффект может быть рассчитан как разница в цене:
Э>НТ> = (Ц>Н> – Ц>С>)Q (11.17)> >
где Ц>Н> – новая цена за единицу товара более высокого качества; Ц>С >- старая цена за единицу товара; Q – объем реализации за год; Э>НТ> – годовой эффект от внедрения новой техники, тенге.
Сопоставление К>ВН>, Э>НТ> дает возможность рассчитать срок окупаемости новой техники и отдачу с каждого рубля средств, затраченных предприятием на новую технику [27].
Коэффициент эффективности затрат на новую технику (показатель обратный сроку окупаемости):
Е = Э>НТ> / К>ВН> = 1/Т (11.18)
Последний показатель часто называют коэффициентом рентабельности капитальных вложений в новую технику.
Окупаемость установленного оборудования составит:
Т>кв>=К/П>чист >(11.19)
Т>кв>=238329/303832,97=0,78 =1 год
Рентабельность
В целом результативность деятельности любого предприятия может оцениваться с помощью абсолютных и относительных показателей. Так, абсолютным показателем является прибыль. Однако этот показатель не характеризует в полной мере экономическую эффективность производства. Он отражает использование ресурсов, с помощью которых данная прибыль получена. Поэтому в качестве критерия экономической эффективности производства и степени его прибыльности используется относительная величина были, называемая уровнем рентабельности [27].
В зависимости о того, какими показателями представлены эффект и затраты или ресурсы, исчисляются различные показатели рентабельности.
Рентабельность предприятия определяется как отношение прибыли к стоимости основных фондов по формуле:
Р = (Д>С> – С) /(К+К>ОБ.СР.>) *100% (11.20)
Р =303832,97/238329=127,48%
Рентабельность услуг (продукции) можно определить как отношение прибыли от реализации (П>РЕАЛ>) к эксплуатационным расходам Э (себестоимости услуг).
Рентабельность = П>РЕАЛ>*100 /Э (11.21)
11.9 Риски
В проектах необходимо отразить возможные препятствия, которые могут возникнуть при поставке оборудования, при монтаже оборудования, и другие причины которые могут помешать достижению цели проекта. Соответственно теме должны быть предусмотрены адекватные меры предосторожности: на стадии проведения тендера на поставку оборудования, при выборе продавца, при заключении договора, наличия соответствующего сертификата на оборудование и т.д.
Все форс-мажорные обстоятельства необходимо оговаривать в договорных обязательствах, предусмотреть страховку от возможных вышеуказанных обстоятельств и рисков.
Основные показатели экономической эффективности проекта показаны в таблице 11.5.
Таблица 11.5 - Показатели экономической эффективности проекта
|
№ п/н |
Наименование показателей |
Единица измерения |
Значение показателей |
|
1 |
Капитальные затраты |
тыс. тенге |
158886,0 |
|
2 |
Эксплуатационные затраты |
тыс. тенге |
41194,4 |
|
3 |
Доходы |
тыс. тенге |
345027,37 |
|
4 |
Прибыль |
тыс. тенге |
212683,08 |
|
5 |
Срок окупаемости |
лет |
1 |
На рисунке 11.1 показана диаграмма технико-экономических показателей.
Рисунок
11.1 – Диаграмма
Заключение
Концепция Интеллектуальной сети разрабатывается в МСЭ несколькими ИК. В прошлом исследовательском периоде МККТТ (1989-1992 годы) основной вклад в изучение принципов построения Интеллектуальной сети внесли ИК-XI и ИК-XVIII, именуемые в новой структуре МСЭ как ИК-11 и ИК-13 соответственно. Три первые рекомендации по Интеллектуальной сети имеют по два номера, каждый из которых соответствует их месту в сериях I и Q: 1.312/Q. 1201, содержащая определение и общие принципы создания Интеллектуальной сети; I.328/Q.1202, определяющая концептуальную модель Интеллектуальной сети; I.329/Q.1203, посвященная принципам формирования услуг в рамках Интеллектуальной сети.
Разработка следующих рекомендаций по Интеллектуальной сети будет, по всей видимости, проводиться в ИК-11, которая планирует выпуск одиннадцати новых рекомендаций серии Q.
Прежде всего следует подчеркнуть, что предложенное МСЭ понятие "Интеллектуальная сеть" относится не к привычному определению сети по виду передаваемой информации (телефонная, телеграфная, звукового вещания и т.п.), а к специфической архитектурной концепции. Эта концепция может быть реализована на сетях телефонной и телеграфной связи, передачи данных, интегральных (обычной и широкополосной) и на сетях связи с подвижными объектами. Интеллектуальная сеть поддерживает широкий спектр услуг, опираясь на существующие и перспективные возможности сетей электросвязи.
В рекомендации I.312/Q.1201 перечислены следующие характерные признаки Интеллектуальной сети как концептуальной модели:
- широкое применение различных способов обработки информации;
- эффективное использование сетевых ресурсов;
- модульность и многократное использование аппаратных и/или программных средств, реализующих функциональные возможности сети;
- создание и предоставление услуг посредством многократно используемых функциональных элементов, имеющих модульную структуру;
- гибкое размещение сетевых функций между физическими элементами сети;
- возможность перераспределения функций между элементами сети;
- стандартизованное взаимодействие между сетевыми функциями через независимые от вида предоставляемых услуг интерфейсы;
- управление со стороны пользователя рядом специфических атрибутов, характеризующих предоставляемые услуги;
- стандартизованное административное управление логикой предоставляемых услуг.
АО «Казахтелеком» предоставляет такие интеллектуальные услуги, как:
- Телеголосование - услуга, предоставляемая абонентам телефонной сети общего пользования, которая дает возможность посредством телефонного звонка выразить мнение абонента по тому или иному предложенному вопросу, имеющему ограниченное число заранее определенных ответов. Система телеголосования Интеллектуальной платформы представляет собой программно-аппаратное обеспечение, позволяющее автоматизировать процесс подготовки, проведения и обработки результатов телеголосования. Основные потребители услуги являются телевизионные компании; общественные организации (политические партии); потенциальные поставщики различных услуг, которые в целях продвижения своих услуг и товаров, будут организовывать различного рода лотереи, опросы.
- «Бесплатный вызов» реализуется на базе Интеллектуальной платформы и позволяет пользователю услуги осуществлять вызовы за счет вызываемого абонента (абонента/оператора услуги Интеллектуальной сети). При этом абонентский номер услуги по определенному алгоритму преобразуется в физический сетевой телефонный номер. Результат преобразования может зависеть от ряда параметров, определяемых самим абонентом услуги. Основной рынок данной услуги составляют: юридические компании; туристические компании; транспортные компании; религиозные организации; торговые организации; государственные учреждения (налоговая полиция, КНБ); студенты, (действует только по территории РК) командированные для связи с центральным офисом; родственники городских жителей, проживающие в сельской местности.
- Услуга с дополнительной оплатой (PRM) реализуется на базе Интеллектуальной платформы и позволяет оператору разделять оплату услуги между пользователем услуги и абонентом (оператором) услуги. При этом абонентский номер услуги может преобразовываться по определенному алгоритму в физический сетевой телефонный номер. Результат преобразования может зависеть от ряда параметров, определяемых самим абонентом услуги. Основной рынок данной услуги: частные консультанты консультации (гадалки, специалисты); банки, дающие специальную информацию; транспортные компании (справочная информация); юридические, медицинские и другие консультационные компании; компании, ориентированные на развлекательный бизнес (гороскопы, тесты, конкурсы и т.д.).
Учитывая мировой и российский опыты развития ИС, можно сделать вывод, что организация интеллектуальной сети в г.Кокшетау приведет:
- к созданию конкурентной среды в области телекоммуникаций;
- к конвергенции сетей фиксированной и мобильной связи;
- повысит доходы операторов;
- к созданию предпосылок перехода сетей ТфОП к NGN.
В конце хочу отметить актуальность проекта, т.к. данный проект окупается в течении одного года при технико-экономических показателях:
- капитальные затраты – 158886,0 тыс.тенге;
- эксплуатационные затраты – 41194,4 тыс.тенге;
- доходы – 345027,37 тыс.тенге;
- прибыль – 212683,08 тыс.тенге.
Список литературы
1 Кодекс Республики Казахстан о налогах и других обязательных платежах в бюджет (Налоговый кодекс).
2 Закон о труде Республики Казахстан.
3 Закон о связи Республики Казахстан.
4 Закон о поддержке предпринимательской деятельности Республики Казахстан.
5 Закон Республики Казахстан о государственной поддержки прямых инвестиций (28.02.1997г.).
6 Гольдштейн Б.С., Ехриель И.М., Рерле Р.Д. Интеллектуальные сети. – М.: Радио и связь, 2000. – 500 с.
7 Лихтциндер Б.Я., Кузякин М.А., Росляков А.В., Фомичев С.М. Интеллектуальные сети связи. – М.: - Эко-Тренз, 2000.
8 Колбанёв М. О., Яковлев С. А. Модели и методы оценки характеристик обработки информации в интеллектуальных сетях связи. - СПб.: Изд. СПбГУ, 2002. - 230 с.
9 Кучерявый А. Е. Интеллектуальные сети. — СПб.: ГУТ им. М.А, Бонч-Бруевича, 1999. — 68 с.
10 Лебединский А.К. и др. Системы телефонной коммутации.- М.:- Маршрут, 2003г. – 495с.
11 Аlcatel. Интеллектуальные сети.
12 Варакин Л.Е. Интеллектуальная сеть: эволюция сетей и услуг связи/Электросвязь, 1992, №1.
13 Гольдштейн Б.С., Ехриель И.М., Рерле Р.Д. Интеллектуальная сеть: подходы и альтернативы/Вестник связи, 1999, №5.
14 Ефимушкин В.А., Филюшин Ю.И. Модели взаимодействия узлов платформы интеллектуальной сети связи при обслуживании вызовов/Труды Международной Академии Связи, 1998, №3.
15 Прогноз рынка услуг интеллектуальных сетей/В мире телекоммуникаций, 1998, №8.
16 Росляков А.В. Общеканальная система сигнализации №7. – М.: Эко-Тренд, 1999.
17 Самуйлов К.Е., Филюшин Ю.И. Роль интеллектуальной сети в эволюции систем связи/Открытые системы, 1996, №2.
18 Шнепс-Шнеппе М. Интеллектуальные сети как основы конвнргенции систем связи/Вестник связи, 1999, №5.
19 Самуйлов К.Е. Филюшин Ю.И. Анализ характеристик времени отклика узла интеллектуальной сети в процессе обслуживания вызова//Сб. научных трудов ЦНИИС, 1996.
20 Аджемов А.С., Соловьев С.П. и др. Системный проект реализации ИС на ТфОП//Вестник связи, 1999, №5, с. 90-92.
21 Гольдштейн Б.С., Ехриель И.М., Рерле Р.Д. Конвергенция мобильных и интеллектуальных сетей//Вестник связи, 2000, №5, с. 70-74.
22 Шнепс-Шнеппе М.А. Интеллектуальная сеть: основные понятия, услуги IN CS-1, использование SS7 в протоколе INAP//Новые технологии связи. М.: Материалы КОМСЕТ, 1997.
23 Долин П.А. Основы техники безопасности в электроустановках. - М.: Энергоатомиздат, 1984.
24 Баклашов Н.И., Китаев Н.Ж., Терехов Б.Д. Охрана труда на предприятиях связи и охрана окружающей среды. - М.: Энергоатомиздат, 1984.
25 Омаров А.Д., Целиков В.В., и др. Инженерные решения по безопасности труда на транспорте. Справочник, Издательство «Бастау», Алматы: 2002. – 460с.
26 Горелик М.А. Основы экономики предприятий телекоммуникаций. – М.: Радио и связь, 1997.
27 Оганезов Э.С., Кузнецова С.Э. Сборник методический указаний к
выполнению курсовых проектов, курсовых и контрольных работ по экономическим дисциплинам для студентов очной и заочной форм обучения по специальности 380140 «Сети связи и системы коммутации». - К.: КарГТУ, 2004.
28 Энциклопедия Казахстана, 6-том. 2004г. Алмата.
1