Основы оптоэлектроники. Классификация оптоэлектронных устройств
Министерство образования Республики Беларусь
Учреждение образования
“Белорусский государственный университет
информатики и радиоэлектроники”
кафедра ЭВС
РЕФЕРАТ
На тему:
"Основы оптоэлектроники. Классификация оптоэлектронных устройств"
МИНСК, 2008
Оптоэлектроника является важной самостоятельной областью функциональной электроники и микроэлектроники. Оптоэлектронный прибор - это устройство, в котором при обработке информации происходит преобразование электрических сигналов в оптические и обратно.
Существенная особенность оптоэлектронных устройств состоит в том, что элементы в них оптически связаны, а электрически изолированы друг от друга.
Благодаря этому легко обеспечивается согласование высоковольтных и низковольтных, а также высокочастотных и низкочастотных цепей. Кроме того, оптоэлектронным устройствам присущи и другие достоинства: возможность пространственной модуляции световых пучков, что в сочетании с изменениями во времени дает три степени свободы (в чисто электронных цепях две); возможность значительного ветвления и пересечения световых пучков в отсутствие гальванической связи между каналами; большая функциональная нагрузка световых пучков ввиду возможности изменения многих их параметров (амплитуды, направления, частоты, фазы, поляризации).
Оптоэлектроника охватывает два основных независимых направления - оптическое и электронно-оптическое. Оптическое направление базируется на эффектах взаимодействия твердого тела с электромагнитным излучением. Оно опирается на голографию, фотохимию, электрооптику и другие явления. Оптическое направление иногда называют лазерным.
Электронно-оптическое направление использует принцип фотоэлектрического преобразования, реализуемого в твердом теле посредством внутреннего фотоэффекта, с одной стороны, и электролюминесценцией, с другой. В основе этого направления лежит замена гальванических и магнитных связей в традиционных электронных цепях оптическими. Это позволяет повысить плотность информации в канале связи, его быстродействие, помехозащищенность.
Для микроэлектроники представляет интерес в основном электронно-оптическое направление, которое позволяет решить одну из важных проблем интегральной микроэлектроники - существенное уменьшение паразитных связей между элементами как внутри одной интегральной микросхемы, так и между микросхемами. На оптоэлектронном принципе могут быть созданы безвакуумные аналоги электронных устройств и систем: дискретные и аналоговые преобразователи электрических сигналов (усилители, генераторы, ключевые элементы, элементы памяти, логические схемы, линии задержки и др.); преобразователи оптических сигналов - твердотельные аналоги электронно-оптических преобразователей, видиконов, электронно-лучевых преобразователей (усилители света и изображения, плоские передающие и воспроизводящие экраны); устройства отображения информации (индикаторные экраны, цифровые табло и другие устройства картинной логики).

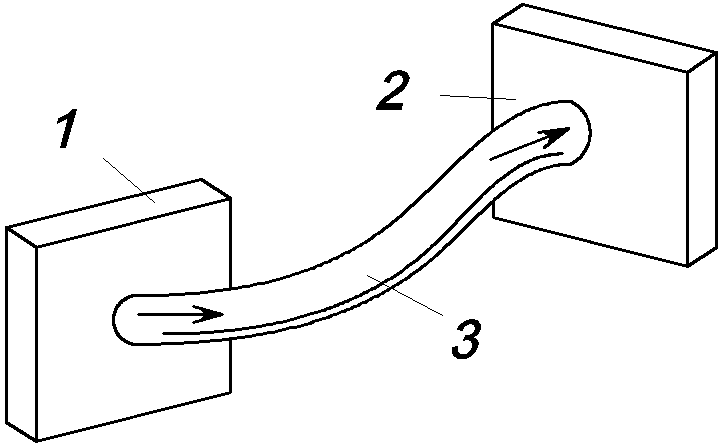
Рис.1. Оптрон с внутренней (а) и внешними (б) фотонными связями: 1, 6 – источники света; 2 – световод; 3, 4 – приемники света; 5 – усилитель.
Основным элементом оптоэлектроники является оптрон. Различают оптроны с внутренней (рис.1, а) и внешними (рис.1, б) фотонными связями. Простейший оптрон представляет собой четырехполюсник (рис.1, а), состоящий из трех элементов: фотоизлучателя 1, световода 2 и приемника света 3, заключенных в герметичном светонепроницаемом корпусе. При подаче на вход электрического сигнала в виде импульса или перепада входного тока возбуждается фотоизлучатель. Световой поток по световоду попадает в фотоприемник, на выходе которого образуется электрический импульс или перепад выходного тока. Этот тип оптрона является усилителем электрических сигналов, в нем внутренняя связь фотонная, а внешние - электрические.
Другой тип оптрона - с электрической внутренней связью и фотонными внешними связями (рис.1, б) - является усилителем световых сигналов, а также преобразователем сигналов одной частоты в сигналы другой частоты, например сигналов инфракрасного излучения в сигналы видимого спектра. Приемник света 4 преобразует входной световой сигнал в электрический. Последний усиливается усилителем 5 и возбуждает источник света 6.
В настоящее время разработано большое число оптоэлектронных устройств различного назначения. В микроэлектронике, как правило, используются только те оптоэлектронные функциональные элементы, для которых имеется возможность интеграции, а также совместимость технологии их изготовления с технологией изготовления соответствующих интегральных микросхем.
Фотоизлучатели. К источникам света оптоэлектроникой предъявляются такие требования, как миниатюрность, малая потребляемая мощность, высокие эффективность и надежность, большой срок службы, технологичность. Они должны обладать высоким быстродействием, допускать возможность изготовления в виде интегральных устройств.
Наиболее широкое распространение в качестве электролюминесцентных источников получили инжекционные светодиоды, в которых испускание света определяется механизмом межзонной рекомбинации электронов и дырок. Если пропускать достаточно большой ток инжекции через p-n-переход (в прямом направлении), то часть электронов из валентной зоны перейдет в зону проводимости (рис.2). В верхней части валентной зоны образуются свободные состояния (дырки), а в нижней части зоны проводимости - заполнение состояния (электроны проводимости).
Такая инверсная заселенность не является равновесной и приводит к хаотическому испусканию фотонов при обратных переходах электронов. Возникающее при этом в р-n-переходе некогерентное свечение и является электролюминесценцией.

Рис.2. К объяснению принципа действия инжекционного светодиода.
Фотон, испускаемый при люминесцентном переходе из заполненной части зоны проводимости в свободную часть валентной зоны, вызывает индуцированное излучение идентичного фотона, заставив еще один электрон перейти в валентную зону. Однако фотон такой же энергии (от ∆E=E2-E1 до ∆E=2δE) не может поглотиться, так как нижнее состояние свободно (в нем нет электронов), а верхнее состояние уже заполнено. Это означает, что p-n-переход прозрачен для фотонов такой энергии, т.е. для соответствующей частоты. Наоборот, фотоны с энергией, большей ∆E+2δE, могут поглощаться, переводя электроны из валентной зоны в зону проводимости. В то же время для таких энергий индуцированное испускание фотонов невозможно, так как верхнее исходное состояние не заполнено, а нижнее состояние заполнено. Таким образом, вынужденное излучение возможно в узком диапазоне около частоты, соответствующей энергии запрещенной зоны ∆Е с шириной спектра δE.
Наилучшими материалами для светодиодов являются арсенид галлия, фосфид галлия, фосфид кремния, карбид кремния и др. Светодиоды имеют высокое быстродействие (порядка 0,5 мкс), но потребляют большой ток (около 30 А/см2). В последнее время разработаны светодиоды на основе арсенида галлия - алюминия, мощности которых составляют от долей до нескольких милливатт при прямом токе в десятки миллиампер.К. п. д. светодиодов не превышает 1 - 3%.
Перспективными источниками света являются инжекционные лазеры, позволяющие концентрировать высокие энергии в узкой спектральной области при высоких к. п. д. и быстродействии (десятки пикосекунд). Эти лазеры можно изготовлять в виде матриц на одном базовом кристалле по той же технологии, что и интегральные микросхемы. Недостатком простых инжекционных лазеров является то, что они имеют приемлемые характеристики лишь при использовании охлаждения до очень низких температур. При нормальной температуре галлий-арсенидовый лазер имеет малую среднюю мощность, низкий к. п. д. (порядка 1%), небольшие стабильность работы и срок службы. Дальнейшее усовершенствование инжекционного лазера путем создания перехода сложной структуры с использованием гетеропереходов (гетеропереход - граница между слоями с одинаковыми типами электропроводности, но с разной шириной запрещенной зоны) позволило получить малогабаритный источник света, работающий при нормальной температуре с к. п. д.10 - 20% и приемлемыми характеристиками.
Фотоприемники. Для преобразования световых сигналов в электрические используют фотодиоды, фототранзисторы, фоторезисторы, фототиристоры и другие приборы.
Фотодиод представляет собой смещенный в обратном направлении p-n-переход, обратный ток насыщения которого определяется количеством носителей заряда, порождаемых в нем действием падающего света (рис.3). Параметры фотодиода выражают через значения тока, протекающего в его цепи. Чувствительность фотодиода, которую принято называть интегральной, определяют как отношение фототока к вызвавшему его световому потоку Фυ. Порог чувствительности фотодиодов оценивают по известным значениям интегральной (токовой) чувствительности и темнового тока Id, т.е. тока, протекающего в цепи в отсутствие облученности чувствительного слоя.
Основными материалами для фотодиодов являются германий и кремний. Кремниевые фотодиоды обычно чувствительны в узкой области спектра (от λ = 0,6 – 0,8 мкм до λ = 1,1 мкм) с максимумом при λ = 0,85 мкм, а германиевые фотодиоды имеют границы чувствительности λ = 0,4 - 1,8 мкм с максимумом при λ ≈ 1,5 мкм. В фотодиодном режиме при напряжении питания 20 В темновой ток кремниевых фотодиодов обычно не превышает 3 мкА, в то время как у германиевых; фотодиодов при напряжении питания 10 В он достигает 15-20 мкА.

Рис.3. Схема и вольт-амперные характеристики фотодиода.
Рис.4. Схема и вольт-амперные характеристики фототранзистора.
Фототранзисторы представляют собой приемники лучистой энергии с двумя или с большим числом р-п-переходов, обладающие свойством усиления фототока при облучении чувствительного слоя. Фототранзистор соединяет в себе свойства фотодиода и усилительные свойства транзистора (рис.4). Наличие у фототранзистора оптического и электрического входов одновременно позволяет создать смещение, необходимое для работы на линейном участке энергетической характеристики, а также компенсировать внешние воздействия. Для обнаружения малых сигналов напряжение, снимаемое с фототранзистора, должно быть усилено. В этом случае следует увеличить сопротивление выхода переменному току при минимальном темновом токе в цепи коллектора, создавая положительное смещение на базе.
Световоды. Между источником и приемником света в оптроне находится световод. Для уменьшения потерь при отражении от границы раздела светодиода и проводящей среды (световода) последняя должна обладать большим коэффициентом преломления. Такие среды называются иммерсионными. Иммерсионный материал должен обладать также хорошей адгезией к материалам источника и приемника, обеспечивать достаточное согласование по коэффициентам расширения, быть прозрачным в рабочей области и т.д. Наиболее перспективными являются свинцовые стекла с показателем преломления 1,8-1,9 и селеновые стекла с показателем преломления 2,4-2,6. На рис.5 показано поперечное сечение твердотельного оптрона с иммерсионным световодом.
В качестве световодов в оптоэлектронике находят применение тонкие нити стекла или прозрачной пластмассы. Это направление получило название волоконной оптики. Волокна покрывают светоизолирующими материалами и соединяют в многожильные световые кабели. Они выполняют те же функции по отношению к свету, что и металлические провода по отношению к току. С помощью волоконной оптики можно: осуществлять поэлементную передачу изображения с разрешающей способностью, определяемой диаметром световолокна (порядка 1 мкм); производить пространственные трансформации изображения благодаря возможности изгибания и скручивания волокон световода; передавать изображения на значительные расстояния и т.д. На Рис.6 показан световод в виде кабеля из светопроводящих волокон.
Интегральная оптика. Одним из перспективных направлений функциональной микроэлектроники является интегральная оптика, обеспечивающая создание сверхпроизводительных систем передачи и обработки оптической информации. Область исследований интегральной оптики включает распространение, преобразование и усиление электромагнитного излучения оптического диапазона в диэлектрических тонкопленочных волноводах и волоконных световодах. Основным элементом интегральной оптики является объемный или поверхностный оптический микроволновод. Простейший симметричный объемный оптический микроволновод представляет собой локализованную по одной или двум пространственным измерениям область с показателем преломления, превышающим показатель преломления окружающей оптической среды. Такая оптически более плотная область есть нечто иное, как канал или несущий слой диэлектрического волновода.


Рис.5. Разрез твердотельного оптрона с иммерсионным световодом: 1 – планарная диффузия; 2 - селеновое стекло; 3 – омические контакты; 4 – диффузионная мезаструктура; 5 – источник света; 6 – приемник света.
Рис.6. Световод в виде кабеля из светопроводящих волокон: 1 - источник света; 2 – приемник света; 3 – световой кабель.
Примером несимметричного поверхностного диэлектрического волновода может служить тонкая пленка оптически прозрачного диэлектрика или полупроводника с показателем преломления, превышающим показатель преломления оптически прозрачной подложки. Степень локализации электромагнитного поля, а также отношение потоков энергии, переносимых вдоль несущего слоя и подложки, определяются эффективным поперечным размером несущего слоя и разностью показателей преломления несущего слоя и подложки при заданной частоте излучения. Сравнительно простым и наиболее подходящим для твердотельных оптических устройств является оптический полосковый микроволновод, выполненный в виде тонкой диэлектрической пленки (рис.7), нанесенной на подложку методами микроэлектроники (например, вакуумным напылением). С помощью маски на диэлектрическую подложку можно наносить с высокой степенью точности целые оптические схемы. Применение электронно-лучевой литографии обеспечило успехи в создании как одиночных оптических полосковых волноводов, так и оптически связанных на определенной длине, а впоследствии расходящихся волноводов, что существенно для создания направленных ответвителей и частотно-избирательных фильтров в системах интегральной оптики.

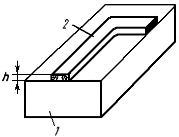
Рис 7. Оптический полосковый микроволновод с прямоугольным поперечным сечением: 1 – подложка; 2 – диэлектрическая пленка.
Оптоэлектронные микросхемы. На основе оптоэлектроники разработано большое число микросхем. Рассмотрим некоторые оптоэлектронные микросхемы, выпускаемые отечественной промышленностью. В микроэлектронике наиболее широко применяют оптоэлектронные микросхемы гальванической развязки. К ним относят быстродействующие переключатели, коммутаторы аналоговых сигналов, ключи и аналоговые оптоэлектронные устройства, предназначенные для использования в системах функциональной обработки аналоговых сигналов.
Основным элементом любой оптоэлектронной микросхемы является оптронная пара (рис.8, а, б), состоящая из источника света 1, управляемого входным сигналом, иммерсионной среды 2, оптически связанной с источником света, и фотоприемника 3. Параметрами оптронной пары являются сопротивление развязки по постоянному току, коэффициент передачи тока (отношение фототока приемника к току излучателя), время переключения и проходная емкость.
На базе оптоэлектронных пар создаются оптоэлектронные микросхемы различного назначения.

Рис.8. Схема и технологическое выполнение оптронной пары:
1 – источник света; 2 – иммперсионная среда; 3 – фотоприемник.
ЛИТЕРАТУРА
Петров К.С. Радиоматериалы, радиокомпоненты и электроника: Учебное пособие для вузов. – СПб: Питер, 2003. – 512 с.
Опадчий Ю.Ф. и др. Аналоговая и цифровая электроника: Учебник для вузов / Ю.Ф. Опадчий, О.П. Глудкин, А.И. Гуров; Под. ред. О.П. Глудкина. М.: Горячая Линия – Телеком, 2002. – 768 с.
Акимов Н.Н. и др. Резисторы, конденсаторы, трансформаторы, дроссели, коммутационные устройства РЭА: Справочник / Н.Н. Акимов, Е.П. Ващуков, В.А. Прохоренко, Ю.П. Ходоренок. Мн.: Беларусь, 2005. – 591 с.